патент
№ RU 2736229
МПК F16K5/06

Шаровой кран

Авторы:
Заславский Геннадий Александрович Шанаурин Анатолий Леонтьевич Чиняев Ильгиз Рашитович
Все (6)
Номер заявки
2019121450
Дата подачи заявки
05.07.2019
Опубликовано
12.11.2020
Страна
RU
Как управлять
интеллектуальной собственностью
Чертежи 
2
Реферат

Изобретение относится к области машиностроения, а именно к арматуростроению, и может быть использовано в нефтеперерабатывающей, химической и других отраслях промышленности, преимущественно для тяжелых условий эксплуатации. Шаровой кран содержит кольцевой корпус с размещенным в центре его внутренней полости с проточным каналом пробку, взаимодействующую с двух сторон с уплотнительными элементами седел, установленных в расточках патрубков, соединенных с кольцевым корпусом, и фланцы патрубков, сопрягаемые с кольцевым корпусом, выполнены с конусной наружной стенкой, взаимодействующей с ответными конусными поверхностями разъемной, охватывающей оба фланца рубашкой, состоящей из двух равных снабженных выемками половин, соединяемых друг с другом посредством крепежа, а разъем рубашки может быть расположен как в вертикальной, так и в горизонтальной плоскостях, при этом отверстия для соединения половин рубашек посредством крепежа расположены в углах половинок. Изобретение направлено на повышение потребительских свойств шарового крана, путем снижения времени на его разборку и сборку. 2 з.п. ф-лы, 4 ил.

Формула изобретения

1. Шаровой кран, содержащий кольцевой корпус с размещенным в центре его внутренней полости с проточным каналом пробку, взаимодействующую с двух сторон с уплотнительными элементами седел, установленных в расточках патрубков, соединенных с кольцевым корпусом, отличающийся тем, что фланцы патрубков, сопрягаемые с кольцевым корпусом, выполнены с конусной наружной стенкой, взаимодействующей с ответными конусными поверхностями разъемной, охватывающей оба фланца рубашкой, состоящей из двух равных снабженных выемками половин, соединяемых друг с другом посредством крепежа.

2. Шаровой кран по п. 1, отличающийся тем, что разъем рубашки может быть расположен как в вертикальной, так и в горизонтальной плоскостях.

3. Шаровой кран по п. 1, отличающийся тем, что отверстия для соединения половин рубашек посредством крепежа расположены в углах половинок.

Описание

[1]

Изобретение относится к области машиностроения, а именно к арматуростроению, и может быть использовано в нефтеперерабатывающей, химической и других отраслях промышленности, преимущественно для тяжелых условий эксплуатации.

[2]

Известен сегментный кран с рубашкой обогрева (см. RU 2521586 F16K 5/06), состоящий из фланцевого корпуса в проточной части которого расположен сегмент шаровой пробки закрепленной на двух соосных опорах и взаимодействующий при закрытии с седлом, закрепленным в патрубке корпуса. Внутренние стороны фланцев корпуса соединены герметичной рубашкой для обогрева корпуса.

[3]

К недостаткам данной конструкции относится одностороннее направление проводимой рабочей среды.

[4]

Известен также шаровой кран предназначенный для тяжелых условий эксплуатации (см. каталог итальянской фирмы PiBiViESSE «Шаровые клапаны для тяжелых условий эксплуатации» типа Е1 и E3) прототип, содержащий кольцевой корпус с размещенным в центре его внутренней полости с проточным каналом пробку взаимодействующую с двух сторон с уплотнительными элементами седел, установленных в проточках патрубков, соединенных с кольцевым корпусом посредством шпилек ввернутых в последний и закрепленных гайкой на наружной стороне фланца патрубка. При этом, чем больше диаметр крана и давление проводимой среды, тем больше количество шпилек применяемых для присоединения патрубков.

[5]

К недостаткам данной конструкции относятся низкие потребительские свойства, обусловленные длительным временем необходимым для разборки крана, например для замены седел, необходимо для скручивание гаек с двух сторон корпуса.

[6]

Технической задачей решаемой настоящим изобретением является повышение потребительских свойств шарового крана путем снижения времени на его разборку и сборку.

[7]

Поставленная задача решается тем, что шаровой кран содержащий кольцевой корпус с размещенным в центре его внутренней полости с проточным каналом пробку взаимодействующую с двух сторон с уплотнительными элементами седел установленных в расточках патрубков соединенных с кольцевым корпусом и фланцы патрубков сопрягаемые с кольцевым корпусом выполнены с конусной наружной стенкой взаимодействующей с ответными конусными поверхностями разъемной, охватывающей оба фланца, рубашкой состоящей из двух равных, снабженных выемками, половин соединяемых друг с другом посредством крепежа, а разъем рубашки может быть расположен, как в вертикальной, так и в горизонтальных плоскостях, при этом отверстия для соединения половин рубашек посредством крепежа расположены в углах.

[8]

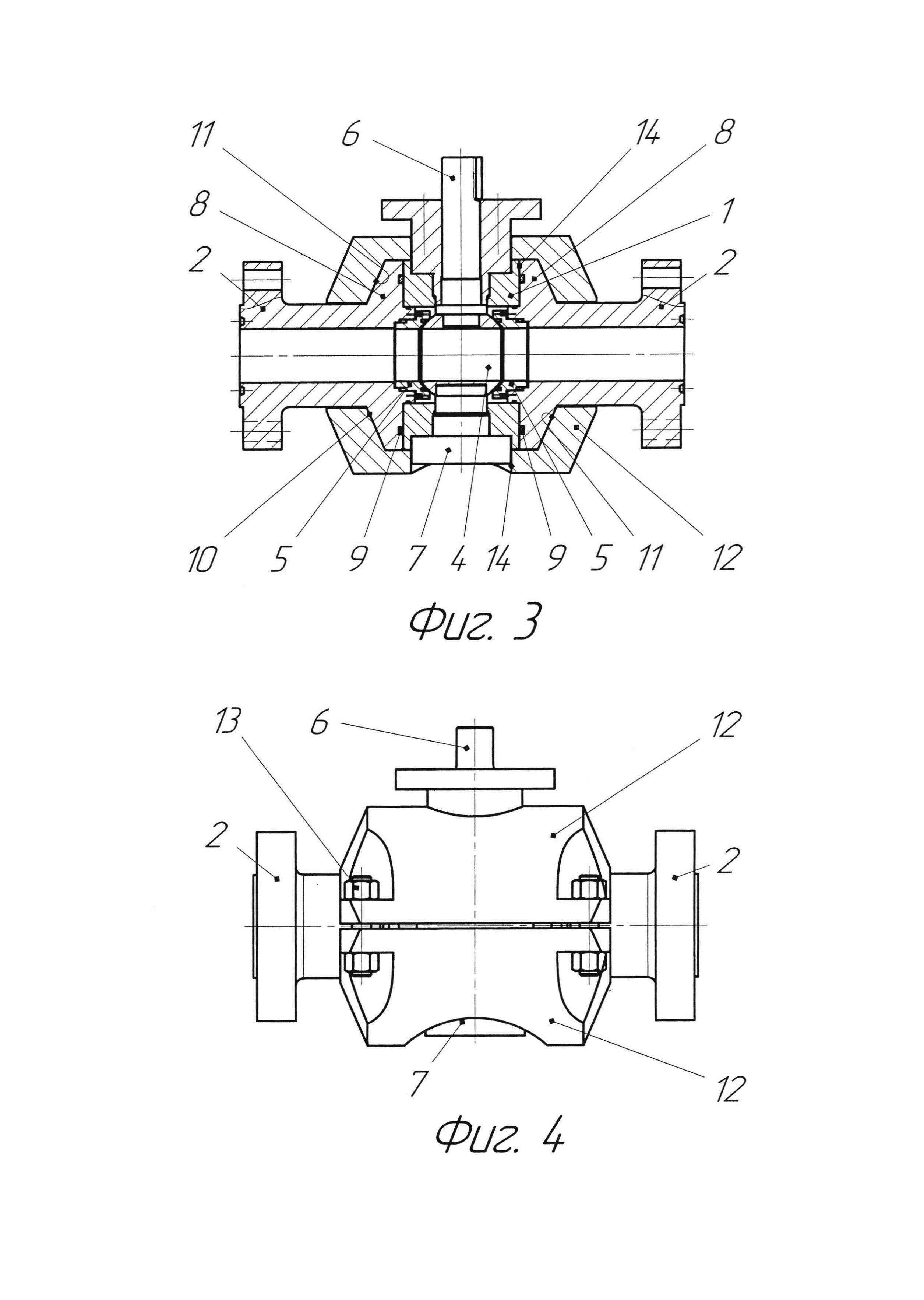
На фиг. 1 изображен продольный разрез шарового крана с вертикальным разъемом рубашки; на фиг. 2 вид сбоку на фиг. 1; на фиг. 3 изображен продольный разрез шарового крана с горизонтальным разъемом рубашки; на фиг. 4 вид сбоку на фиг. 3.

[9]

Шаровой кран состоит из кольцевого корпуса 1, двух одинаковых патрубков 2 внутри корпуса размещена шаровая пробка 3 с проточным каналом 4 соосным с седлами 5 и патрубками 2. Шаровая пробка 3 управляется шпинделем 6, а в нижней части опирается на опору 7.

[10]

Фланцы 8 патрубков 2 загерметизированы относительно корпуса 1 уплотнением 9, а их наружная сторона 10 выполнена конической и сопрягается с ответными поверхностями 11 двух половинок рубашки 12 соединяемых между собой посредством крепежного соединения 13, при этом половинки рубашки 12 снабжены выемками: для горизонтального разъема круглыми отверстиями 14, для вертикального разъема радиусными выемками 15.

[11]

Сборка шарового крана.

[12]

Во внутреннюю полость кольцевого корпуса 1 заводят шпиндель 6, шаровую пробку 3 и соединяют их между собой. Затем в кольцевой корпус 1 помещают опору 7. После чего помещают последовательно с каждой стороны кольцевого корпуса 1 патрубки 2 с седлами 5 и уплотнениями 9, закрепляя каждый патрубок одним технологическим элементом (на фиг. не показан). Затем собирают верхнее уплотнение шпинделя 6 и фиксируют с корпусом опору 7.

[13]

После этого ориентируясь по выемкам 14 или 15 монтируются две половинки рубашки 12 сопрягая наклонные поверхности 11 рубашки с наклонными сторонами 10 фланцев 8 парубков 2 и соединяем обе половинки рубашки 12 крепежным соединением 13 расположенных по углам рубашки 12.

[14]

При этом стяжное усилие от крепежа 13 по принципу бугельного разъемного соединения (см. Гост Р55429-20130) передается через наклонные поверхности 11 на сопрягаемые с ними наклонные

[15]

поверхности 10 фланцев 8 патрубков 2, обеспечивая при этом надежную фиксацию патрубков 2 с кольцевым корпусом 1.

[16]

Шаровой кран готов к работе.

[17]

Таким образом, благодаря тому, что крепление патрубков с корпусом производится по принципу бугельного разъемного соединения и всего четырьмя крепежными элементами шпильками, вместо 48 (см. прототип), то очевидно, что время отсоединения патрубков с кольцевого корпуса уменьшается более чем в 10 раз, с учетом того, что соединение половинок рубашки производится шпильками меньшего диаметра.

[18]

Более того для больших проходов и высоких давлений снижается также металлоемкость конструкции крана.

[19]

Все это, несомненно повышает потребительское свойство заявленного шарового крана.

Как компенсировать расходы
на инновационную разработку
Похожие патенты