патент
№ RU 2735456
МПК B60K15/07

Комплект газоиспользующего оборудования для самосвала БелАЗ-7547

Авторы:
Пасечник Дмитрий Валентинович
Номер заявки
2020103049
Дата подачи заявки
24.01.2020
Опубликовано
02.11.2020
Страна
RU
Как управлять
интеллектуальной собственностью
Реферат

Изобретение относится к транспортному машиностроению. Комплект газоиспользующего оборудования для самосвала БелАЗ-7547 содержит бак для сжиженного природного газа (СПГ), подрамник бака СПГ, узел трубопроводов, ящик системы управления подачей газового топлива, пульт управления, блок питания, гибкие трубопроводы, жесткие трубопроводы, кронштейны крепления выпускной трубы, кронштейны защиты выпускной трубы, а также преобразователь частоты вращения коленчатого вала самосвала, преобразователи температуры отработавших газов и преобразователь положения педали газа. Достигается возможность использования на самосвале смеси из жидкого природного газа и дизельного топлива. 7 з.п. ф-лы, 16 ил.

Формула изобретения

1. Комплект газоиспользующего оборудования для самосвала БелА3-7547, содержащий бак для сжиженного природного газа (бак СПГ), подрамник бака СПГ, ящик системы управления подачей газового топлива, узел трубопроводов, пульт управления, блок питания, гибкие трубопроводы, жесткие трубопроводы, кронштейн крепления выпускной трубы и кронштейны защиты выпускной трубы.

2. Комплект по п. 1, в котором бак СПГ включает несущую раму, на которой закреплен сосуд СПГ, арматура, и защитные панели, при этом подрамник бака СПГ выполнен с возможностью закрепления на раме самосвала и на нем установлены средства крепления в виде твистлоков, а на несущей раме бака СПГ выполнены ответные окна для размещения в них головок твистлоков с образованием быстроразъемного соединения подрамника с несущей рамой бака СПГ.

3. Комплект по п. 2, в котором арматура бака СПГ включает систему регазификации СПГ, а на защитной панели бака СПГ расположены быстроразъемные штуцеры линии выдачи природного газа в систему, линии газосброса системы безопасности бака и подачи теплоносителя на регазификатор СПГ.

4. Комплект по п. 1, в котором узел трубопроводов включает кожух, в котором размещены штуцеры подсоединения трубопроводов линий системы газоиспользующего оборудования и линии сброса газа, а также манометр давления в системе выдачи природного газа и разъем для подсоединения кабеля сигнала уровня сжиженного природного газа в баке СПГ.

5. Комплект по п. 1, в котором в ящике системы управления подачей газового топлива расположены контроллер управления подачей газа, датчики давления и температуры газа, регулятор давления газа, дозатор газа с электромагнитными клапанами, фильтр газа и датчик утечки метана, а с нижней стороны ящика расположены разъемы для кабелей электропроводов, штуцер ввода газа и штуцеры подачи газа в двигатель.

6. Комплект по п. 1, в котором пульт управления включает контроллер подсистемы взрывобезопасности, на корпусе пульта управления расположены индикатор контроллера пульта, выключатель питания системы КГО со световым индикатором состояния, переключатель выбора топлива со световым индикатором состояния, световые индикаторы обнаружения утечки метана и аварийного состояния системы управления подачей газового топлива, цифровой индикатор уровня СПГ в баке СПГ и электрический разъем для подключения кабеля.

7. Комплект по п. 1, в котором блок питания включает преобразователь напряжения бортовой сети самосвала в стабилизированное напряжение постоянного тока, на корпусе блока питания расположены разъемы кабелей системы контроля за утечкой метана, питания системы КГО и сигнальных цепей системы КГО, а также силовое реле и автоматический выключатель.

8. Комплект по п. 1, который дополнительно включает преобразователь частоты вращения коленчатого вала двигателя самосвала, преобразователи температуры отработавших газов и преобразователь положения педали газа.

Описание

[1]

Изобретение относится к транспортному машиностроению и может использоваться для монтажа на самосвал БелА3-7547 для осуществления его эксплуатации на смеси дизельного и газового топлив при сохранении возможности функционирования двигателя на штатном дизельном топливе.

[2]

Известно автомобильное шасси с газовым двигателем, для автомобилей КамАЗ, содержащее откидную кабину, под которой размещен двигатель, раму, выполненную из лонжеронов и поперечин, закрепленные на кабине сзади воздухозаборник и воздухоочиститель, ящик аккумуляторных батарей, установленный на раме слева за передним мостом, ресиверы, два из которых закреплены под ящиком аккумуляторных батарей, глушитель с выпускной трубой, раздаточную коробку, установленную в средней части рамы, при этом под кабиной размещен двигатель, работающий на газообразном топливе, сзади кабины над лонжеронами рамы установлена кассета с вертикально расположенными газовыми баллонами, а слева и справа между передним и средним мостами установлены кассеты с горизонтально расположенными газовыми баллонами, кроме того, внутри рамы на заднем свесе справа и слева и в средней зоне на левом лонжероне закреплено по одному ресиверу, а глушитель установлен горизонтально в средней части, справа под рамой и его выпускная труба выходит направо между средним и задним мостами (RU 103331 U1, 10/04/2011).

[3]

Недостаток известного оборудования заключается в использовании газового топлива в виде сжатого газа, что требует большого объема для размещения газовых баллонов.

[4]

Известно транспортное средство самосвал КамАЗ, работающий на газовом топливе, в котором баллон с сжиженным природным газом устанавливают на ложементе для штатного топливного бака, на раме за кабиной закреплены компоненты системы подачи газа в двигатель (см. КАМАЗы на жидком метане: все подробности. Страница в Интернете https.//avtospravochnaya.com/avtomobili/7001, опуб. 24.05.2017).

[5]

Такое решение предполагает работу двигателя только на газовом топливе и не позволяет осуществлять работу двигателя на смеси дизельного и газового топлив.

[6]

Наиболее близким к предложенному оборудованию является комплект газоиспользующего оборудования грузового автомобиля, содержащий бак с сжиженным газом, жидкостной трубопровод, блок управления подачей газа и газовый трубопровод, при этом бак с сжиженным газом устанавливают с одной стороны нижней части рамы автомобиля, а блок управления подачей газа - с другой стороны нижней части рамы автомобиля (CN 202528841 U, 14.11.2012).

[7]

Техническая проблема, решаемая изобретением, заключается в создании комплекта газоиспользующего оборудования (КГО), обеспечивающего возможность его установки на самосвал БелА3-7547 для осуществления эксплуатации техники на смеси дизельного и газового топлив при использовании в качестве газового топлива сжиженного природного газа.

[8]

Техническая проблема решается комплектом газоиспользующего оборудования для самосвала БелА3-7547, содержащим бак для сжиженного природного газа (бак СПГ), подрамник бака СПГ, ящик системы управления подачей газового топлива, узел трубопроводов, пульт управления, блок питания, гибкие трубопроводы, жесткие трубопроводы, кронштейн крепления выпускной трубы и кронштейны защиты выпускной трубы.

[9]

В предпочтительном варианте бак СПГ включает несущую раму, на которой закреплен сосуд СПГ, арматура, и защитные панели, при этом подрамник бака СПГ выполнен с возможностью закрепления на раме самосвала и на нем установлены средства крепления в виде твистлоков, а на несущей раме бака СПГ выполнены ответные окна для размещения в них головок твистлоков с образованием быстроразъемного соединения подрамника с несущей рамой бака СПГ.

[10]

Кроме того, арматура бака СПГ включает систему регазификации СПГ, а на защитной панели бака СПГ расположены быстроразъемные штуцеры линии выдачи природного газа в систему, линии газосброса системы безопасности бака и подачи теплоносителя на регазификатор СПГ.

[11]

Кроме того, узел трубопроводов включает кожух, в котором размещены штуцеры подсоединения трубопроводов линий системы газоиспользующего оборудования и линии сброса газа, а также манометр давления в системе выдачи природного газа и разъем для подсоединения кабеля сигнала уровня сжиженного природного газа в баке СПГ.

[12]

Кроме того, ящик системы управления подачей газового топлива включает корпус, в котором расположены контроллер управления подачей газа, датчики давления и температуры газа, регулятор давления газа, дозатор газа с электромагнитными клапанами, фильтр газа и датчик утечки метана.

[13]

Кроме того, пульт управления включает контроллер подсистемы взрывобезопасности, на корпусе пульта управления расположены индикатор контроллера пульта, выключатель питания системы КГО со световым индикатором состояния, переключатель выбора топлива со световым индикатором состояния, световые индикаторы обнаружения утечки метана и аварийного состояния системы управления подачей газового топлива, цифровой индикатор уровня СПГ в баке СПГ и электрический разъем для подключения кабеля.

[14]

Кроме того, блок питания включает преобразователь напряжения бортовой сети самосвала в стабилизированное напряжение постоянного тока, на корпусе блока питания расположены разъемы кабелей системы контроля за утечкой метана, питания системы КГО и сигнальных цепей системы КГО, а также силовое реле и автоматический выключатель.

[15]

Кроме того, комплект дополнительно включает преобразователь частоты вращения коленчатого вала двигателя самосвала, преобразователи температуры отработавших газов и преобразователь положения педали газа.

[16]

Изобретение поясняется чертежами.

[17]

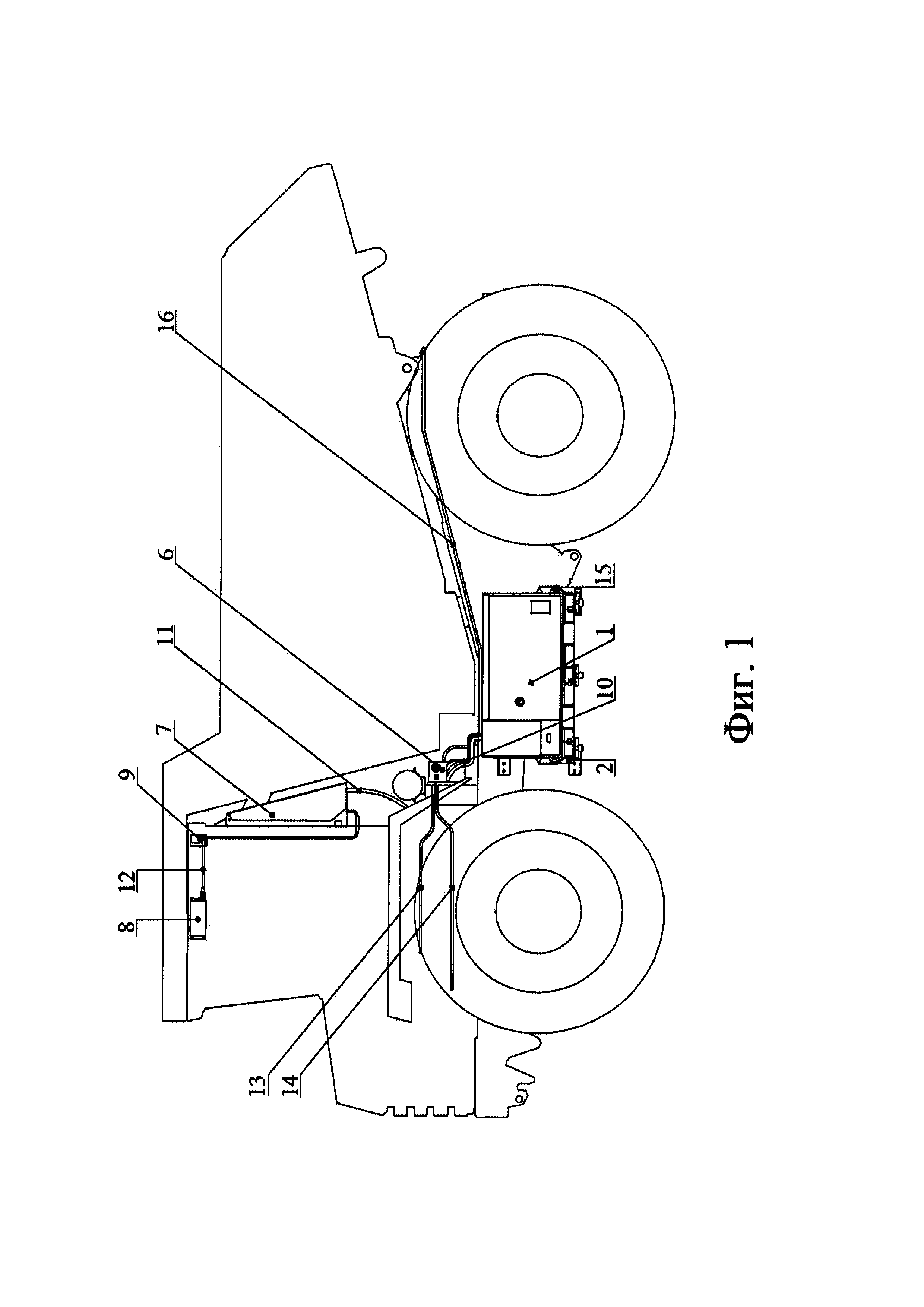
На фиг. 1 показана схема расположения компонентов КГО на самосвале, вид слева.

[18]

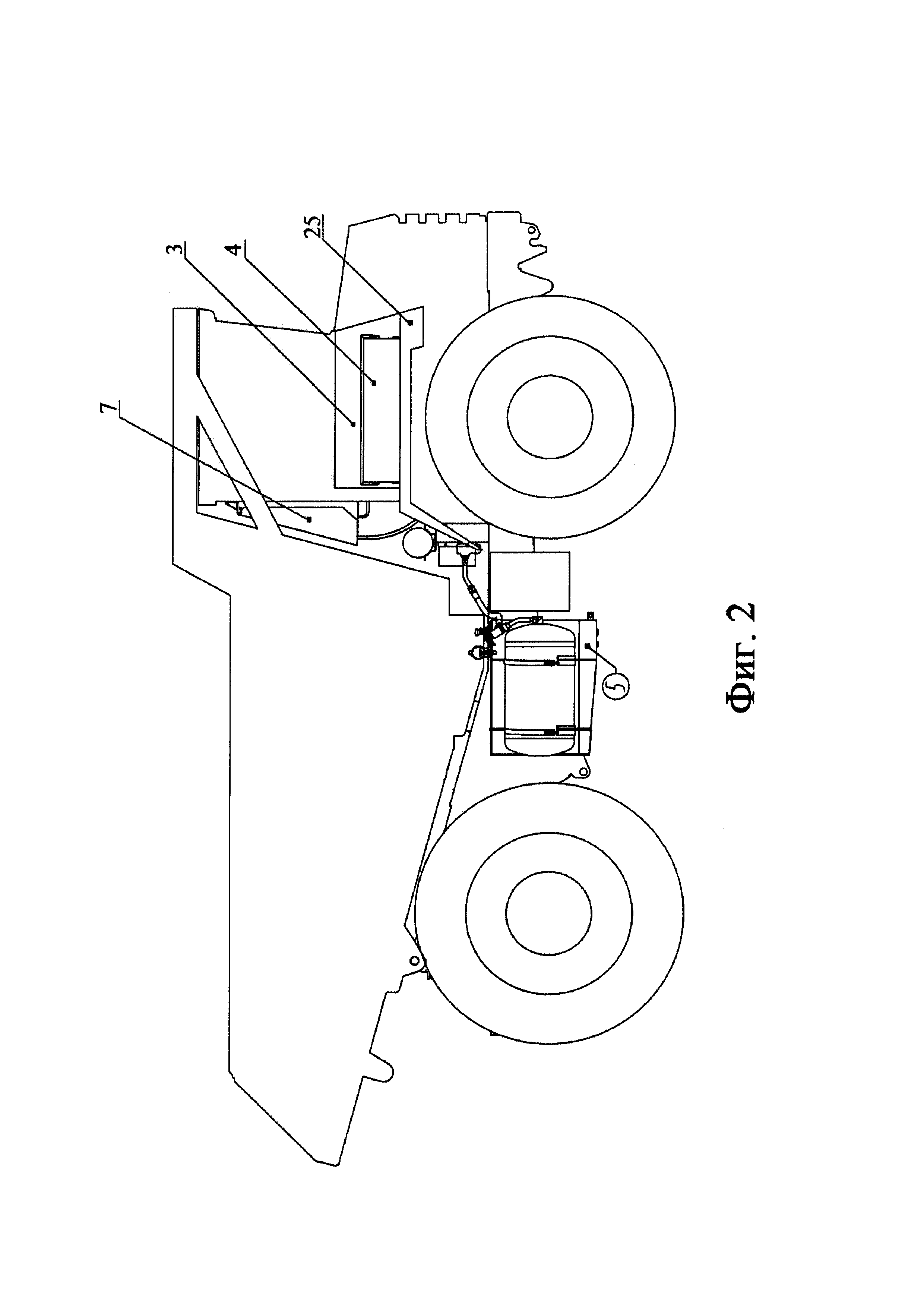
На фиг. 2 - то же, вид справа.

[19]

На фиг. 3 - бак СПГ.

[20]

На фиг. 4 - подрамник бака СПГ.

[21]

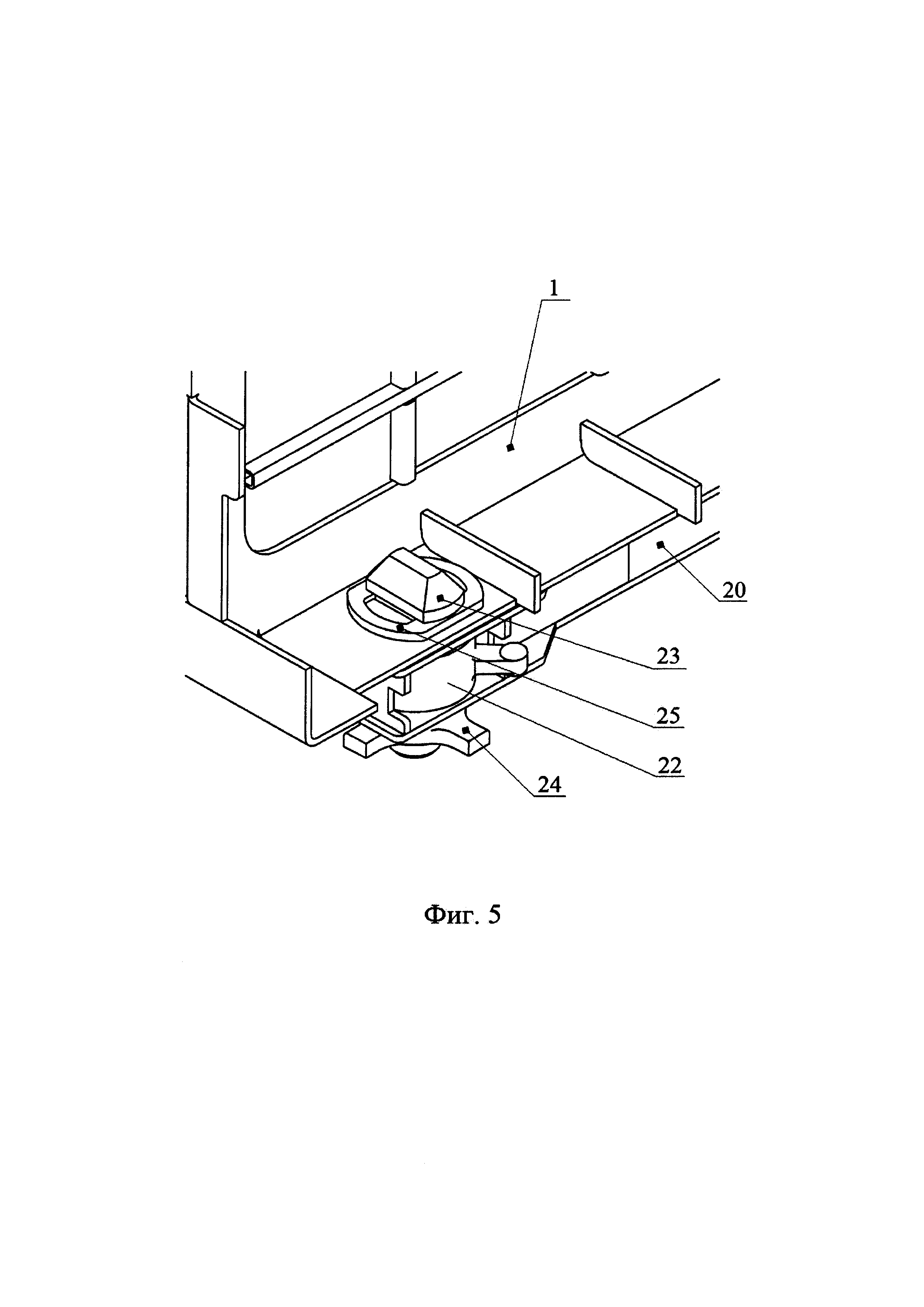
На фиг. 5 - фрагмент бака СПГ с твистлоком.

[22]

На фиг. 6 - капот.

[23]

На фиг. 7 - расположение капота и ящика АКБ на самосвале.

[24]

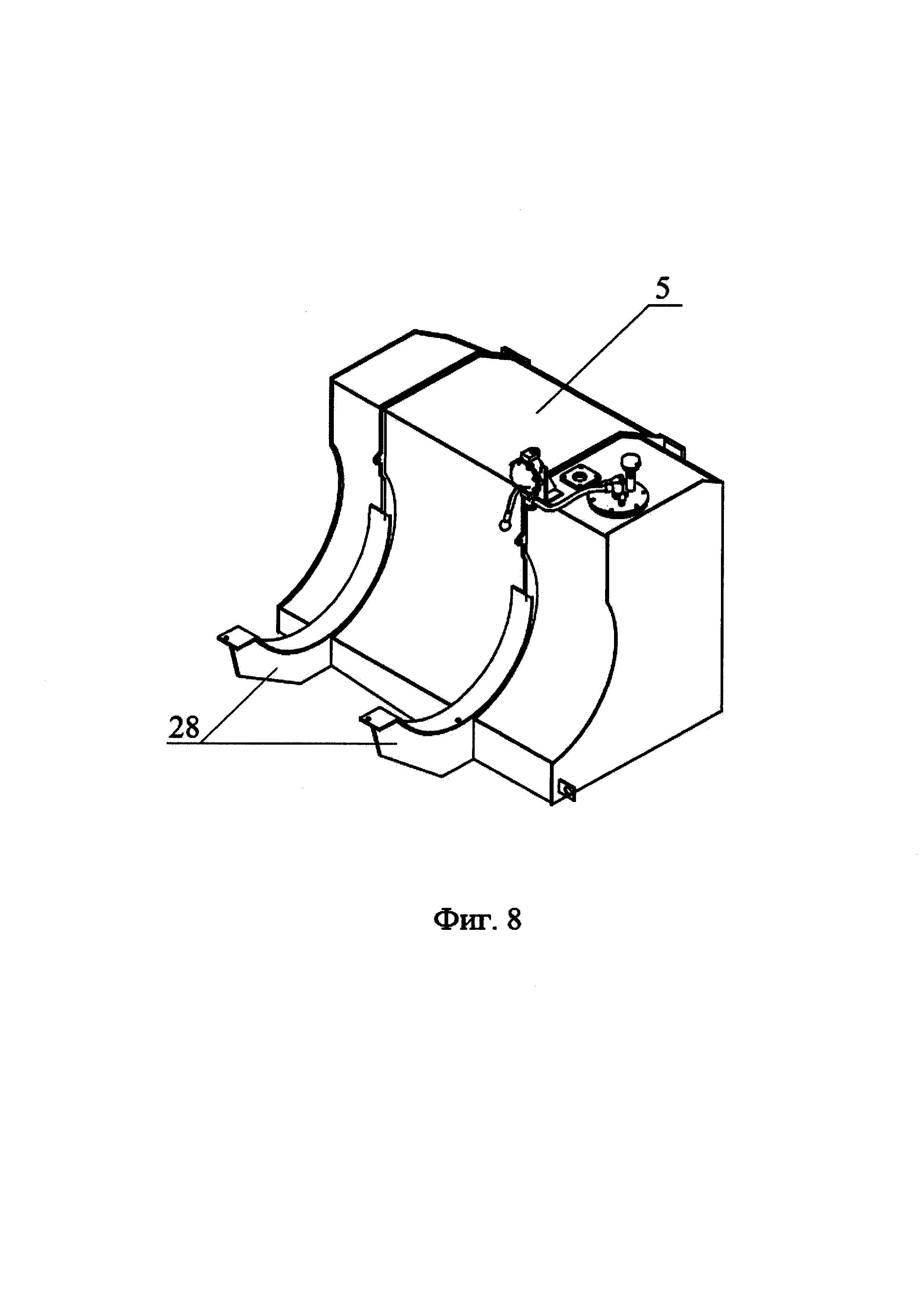
На фиг. 8 - бак ДТ.

[25]

На фиг. 9 - узел трубопроводов.

[26]

На фиг. 10 - ящик КГО с кронштейном.

[27]

На фиг. 11 - вид по стрелке А на фиг. 10.

[28]

На фиг. 12 - пульт управления.

[29]

На фиг. 13 - блок питания.

[30]

На фиг. 14 - кронштейн крепления выпускной трубы.

[31]

На фиг. 15 - кронштейн защиты выпускной трубы.

[32]

На фиг. 16 - расположение кронштейнов крепления выпускной трубы и кронштейнов защиты выпускной трубы на раме самосвала.

[33]

На схемах (фиг. 1 и фиг. 2), показаны бак 1 с сжиженным природным газом (бак СПГ), подрамник 2 бака СПГ, капот 3, ящик 4 защиты аккумуляторов (ящик АКБ), бак 5 дизельного топлива (бак ДТ), узел 6 трубопроводов, ящик 7 системы управления подачей газового топлива (ящик КГО), пульт 8 управления, блок 9 питания, гибкие трубопроводы 10 с быстроразъемными соединениями (БРС), гибкий трубопровод 11 подачи газового топлива в двигатель, кабели 12 электропроводов, гибкий трубопровод 13 подачи теплоносителя, гибкий трубопровод 14 возврата теплоносителя, точка 15 подключения заземления, жесткий трубопровод 16 сброса газа.

[34]

В состав бака 1 СПГ входит несущая рама 17 с защитными панелями, ложементами, на которых с помощью крепежных элементов установлен криогенный сосуд 18 СПГ (фиг. 3), арматура, трубопроводы и элементы обеспечения рабочих и аварийных режимов (не показаны). Арматура представляет собой систему регазификации СПГ в природный газ (ПГ) и включает теплообменник-испаритель (регазификатор СПГ), ресивер, манометр, систему вентилей, клапанов и регуляторов давления (на чертежах не показаны). Пневмогидравлическая схема регазификации СПГ бака 2 может быть любой известной из уровня техники.

[35]

На защитной панели бака 2 СПГ выведены быстроразъемные штуцеры линии выдачи природного газа в систему, линии газосброса системы безопасности бака и подачи теплоносителя на регазификатор СПГ.

[36]

Подрамник 2 бака СПГ (фиг. 4) для закрепления на раме самосвала выполнен в виде кронштейна, который включает раму 19, на которой закреплены спереди две консоли 20 («лапы»), а сзади - профильные элементы 21 для закрепления на раме самосвала. На каждой консоли 20 и между ними в средней части рамы 19 установлены средства крепления бака 1 СПГ в виде твистлоков 22, имеющих конусные головки 23 и винтовые зажимы 24 (фиг. 5). В нижней части несущей рамы 17 бака 1 СПГ выполнены ответные окна 25 для размещения в них конусных головок 23 твистлоков 22.

[37]

Капот 3 (боковой) (фиг. 6) отличается от штатного бокового капота тем, что он выполнен открывающимся со стороны кабины, а штатный капот - со стороны палубы 26 самосвала. Кроме того, боковая стенка капота перпендикулярна его верхней стенке, в то время как у штатного капота боковая стенка выполнена наклонной. Такое выполнение капота 6 позволяет освободить место для расположения ящика 4 АКБ на палубе 26 самосвала (фиг. 2, 7). В боковой стенке капота 3 выполнены отверстия 27 для крепления ящика 4 АКБ и для ввода кабеля АКБ.

[38]

Ящик 4 АКБ (фиг. 7) имеет прямоугольное поперечное сечение в отличие от штатного ящика АКБ, имеющего треугольное поперечное сечение. Это позволяет устанавливать ящик 4 АКБ на палубе 26 самосвала, а персоналу - проходить по его крышке.

[39]

Бак 5 ДТ (фиг. 8) отличается от штатного бака ДТ формой, адаптированной для крепления к нему штатного пневмобаллона (фиг. 2, 5), на штатное место которого должен крепиться бак 5 ДТ. Для этого бак 5 ДТ имеет боковую стенку с дугообразным в поперечном сечении углублением, и с закрепленными на ней скобами 28, образующим ложемент для пневмобаллона.

[40]

Узел 6 трубопроводов представляет собой кожух 29 (фиг. 9), в котором закреплены штуцеры для подсоединения гибких трубопроводов 11, 13, 14 подачи газового топлива, подачи и возврата теплоносителя и жесткого трубопровода 16 сброса газа соответственно и разъем для подсоединения кабеля 12 сигнала уровня СПГ в баке 1, а также соединенные внутри кожуха 29 с соответствующими штуцерами быстроразъемные соединения 30, 31, 32 (БРС) для подсоединения соответственно к линиям подачи газового топлива в двигатель, подачи и возврата теплоносителя к баку 1 СПГ и сброса газа из бака 1 СПГ, образованным гибкими трубопроводами 10 с БРС, и соединенный с указанным разъемом электрический разъем 33. Кроме того, на кожухе закреплен манометр 34 для измерения давления в системе выдачи природного газа.

[41]

Ящик 7 КГО имеет удлиненную форму (фиг. 10). Боковые стенки ящика 7 КГО имеют форму трапеции, так что он заужен вверху и расширен внизу, что позволяет разместить его между задней стенкой кабины и кузовом самосвала. В ящике 7 КГО находятся основные компоненты управления подачей газового топлива в двигатель: контроллер управления системой подачи газа, датчики давления и температуры газа, регулятор давления газа, дозатор газа с электромагнитными клапанами, фильтр газа и датчик утечки метана. В баке 1 СПГ и ящике 7 КГО расположены узлы и элементы системы подачи природного газа и системы управления подачей природного газа, известных из уровня техники, в частности, из патента RU 154 478 U1. С нижней стороны ящика 7 КГО (фиг. 11) расположены разъемы 35 для кабелей электропроводов, штуцер 36 ввода газа, штуцеры 37 подачи газа в двигатель.

[42]

Пульт 8 управления (фиг. 12) расположенный внутри корпуса контроллер подсистемы взрывобезопасности, который по сигналу от датчика утечки метана, расположенного в ящике КГО, отключает подачу газа в двигатель. На корпусе пульта 8 управления расположены индикатор 38 контроллера пульта, выключатель 39 питания системы КГО со световым индикатором состояния, переключатель 40 выбора топлива со световым индикатором состояния, световые индикаторы 41, 42 обнаружения утечки метана в системе управления подачей газового топлива и аварийного состояния системы управления подачей газового топлива, цифровой индикатор 43 уровня СПГ в баке 2, предохранители 44 питания пульта и электрический разъем 45 для подключения кабеля.

[43]

Блок 9 питания (фиг. 13) содержит преобразователь напряжения бортовой сети самосвала в стабилизированное напряжение постоянного тока. На корпусе блока 9 питания расположены разъемы 46, 47, 48 кабеля системы контроля за утечкой метана, кабеля питания системы КГО и кабеля сигнальных цепей системы КГО, а также предохранитель 49, силовое реле 50, главный вводной автоматический выключатель 51 и вторичный автоматический переключатель 52.

[44]

В состав КГО входит также комплект преобразователей (датчиков), устанавливаемых на двигатель: преобразователь частоты вращения коленчатого вала двигателя самосвала, преобразователи температуры отработавших газов (4 штуки), преобразователь положения педали газа (на чертежах не показаны).

[45]

В состав КГО также входят кронштейн 53 крепления выпускной трубы 54 (из двух частей) (фиг. 14, 16) и два кронштейна 55 защиты выпускной трубы 54 (каждый из двух частей) (фиг. 15, 16).

[46]

Гибкие трубопроводы 10, 11, 13, 14 выполнены из напорных рукавов МБС (маслобензиностойкие) с прямыми и/или угловыми штуцерами на концах. Гибкие трубопроводы 10 имеют на концах быстроразъемные соединения (БРС).

[47]

В состав КГО входит комплект медных трубок, из которых собирают жесткий трубопровод 16 (фиг. 1).

[48]

Ввиду того, что серийный самосвал не имеет выделенных мест для размещения узлов КГО, перед их монтажом самосвал необходимо подготовить.

[49]

Освобождают место для последующего крепления бака 5 ДТ. Для этого демонтируют штатный ящик АКБ, кронштейны ящика и пневмобаллон с кронштейнами системы запуска двигателя.

[50]

Демонтируют штатный (боковой) капот над двигателем. Капот 3 устанавливают на штатные места и крепят штатными болтами. Ящик 4 АКБ монтируют рядом на палубу 25 справа от кабины (фиг. 7). В ящик 4 АКБ устанавливают штатные АКБ (2 штуки), штатную розетку заряда и штатный прерыватель массы. Штатные электрические кабели укорачивают по месту.

[51]

Бак 5 ДТ монтируют на раму самосвала (справа) на штатные крепежные отверстия демонтированного пневмобаллона. Штатный пневмобаллон закрепляют на внешней стороне бака 5 ДТ с помощью штатной арматуры. Используют штатный датчик уровня ДТ.

[52]

Штатный кронштейн крепления выпускной трубы 54 (с левой стороны) демонтируют и монтируют на раму 56 самосвала новый кронштейн 53 (фиг. 16).

[53]

Монтируют подрамник 2 бака 1 СПГ на раму 56 самосвала с левой стороны на штатные кронштейны от бака ДТ штатным крепежом.

[54]

Монтируют кронштейны 55 защиты выпускной трубы 54 на раму 56 самосвала (фиг. 16).

[55]

На заднюю стенку кабины монтируют ящик 7 КГО со своим кронштейном (фиг. 1, 2).

[56]

Монтируют узел 6 трубопроводов (фиг. 1), для этого предварительно демонтируют штатный пневморесивер (с левой стороны) и на его кронштейн монтируют узел 6 трубопроводов со своим кронштейном. Штатный пневморесивер устанавливают на прежнее место.

[57]

Монтируют жесткий трубопровод 16 сброса газа. Монтируют гибкие трубопроводы 10, 11, 13, 14 подачи газового топлива, подачи теплоносителя.

[58]

Монтируют преобразователи (датчики) на двигатель. Монтируют в кабину оператора пульт 8 управления справа вверху и блок 9 питания - сзади в верхней части. Соединяют их друг с другом и с ящиком 7 КГО кабелями 12 электропроводов.

[59]

Бак 1 СПГ является быстросъемным. При установке бака 1 СПГ вводят вилы погрузчика в направляющие в нижней части несущей рамы 17 бака 1 до упора в ограничители, поднимают вилы на требуемую высоту, подвозят бак 1 СПГ к самосвалу, опускают бак 1 СПГ вниз до совмещения направляющих с консолями 20 подрамника 2. При опускании бака 1 СПГ происходит совмещение ответных окон 25 несущей рамы 17 бака 2 СПГ и конусных головок 23 твистлоков 22 (фиг. 5). Фиксируют винтовые зажимы 24 твистлоков 22. Конструкция подрамника 2 позволяет быстро устанавливать бак 1 СПГ на самосвал и быстро его снимать. Выполнение операций по многократному съему/установу бака 1 СПГ на раму самосвала в случае, например, выполнения планового технического обслуживания в помещениях (гаражах), не предназначенных для присутствия оборудования с наличием газового топлива. В случае снятия бака СПГ возможно его хранение на специальной площадке.

[60]

Позиции чертежей

[61]

1 - бак СПГ

[62]

2 - подрамник бака СПГ

[63]

3 - капот

[64]

4 - ящик АКБ 5-бак ДТ

[65]

6 - узел трубопроводов

[66]

7 - ящик КГО

[67]

8 - пульт управления

[68]

9 - блок питания

[69]

10, 11, 13, 14 - гибкие трубопроводы

[70]

12 - кабель электропроводов

[71]

15 - точка подключения заземления

[72]

16 - жесткий трубопровод

[73]

17 - несущая рама бака СПГ

[74]

18 - криогенный сосуд СПГ

[75]

19 - рама подрамника бака СПГ

[76]

20 - консоли

[77]

21 - профильные элементы

[78]

22 - твистлоки

[79]

23 - конусные головки твистлоков 22 ответные окна

[80]

24 - винтовой зажим

[81]

25 - ответное окно

[82]

26 - палуба

[83]

27 - отверстия в модифицированном капоте 3

[84]

28 - скобы

[85]

29 - кожух узла 6 трубопроводов

[86]

30, 31, 32 - быстроразъемные соединения (БРС)

[87]

33 - электрический разъем

[88]

34 - манометр

[89]

35 - разъемы кабелей электропроводов

[90]

36 - штуцер ввода газа

[91]

37 - штуцеры подачи газа в двигатель

[92]

38 - индикатор контроллера

[93]

39 - выключатель питания

[94]

40 - переключатель выбора топлива

[95]

41, 42 - световые индикаторы обнаружения утечки метана

[96]

43 - цифровой индикатор уровня СПГ

[97]

44 - предохранитель питания пульта

[98]

45-48 - электрические разъемы

[99]

49 - предохранитель

[100]

50 - силовое реле

[101]

51 - главный вводной автоматический выключатель

[102]

52 - вторичный автоматический выключатель

[103]

53 - кронштейн крепления выпускной трубы

[104]

54 - выпускная труба

[105]

55 - кронштейн защиты выпускной трубы

[106]

56 - рама самосвала

Как компенсировать расходы
на инновационную разработку
Похожие патенты