Изобретение относится к технологии сбора твердых частиц. Механический пробоотборник с конструкцией многоканального распределения потока, включающий рассекатель для рассеяния потока, который соединен с впускным отверстием пробоотборника, многоканальные коллекторные трубки соединены с нижней частью рассекателя для распределения потока, причем коллекторные трубки снабжены рассекателем, мембранный компонент, регулятор потока и пробоотборный насос, отличающийся тем, что рассекатель для распределения потока включает корпус, ударную трубку, ударную пластину и распределительную трубку, причем ударная пластина установлена внутри корпуса, ударная трубка установлена на верхней части корпуса, распределительные трубки установлены в нижней части корпуса, и ударная трубка и распределительные трубки заходят внутрь корпуса, и рассекатель включает комбинации перекрывающихся датчиков PM10, PM5, PM2.5 и PM1.0. Техническим результатом является предотвращение скопления пыли в устройстве для распределения потока и в соединительных трубках. 3 з.п. ф-лы, 3 ил.
1. Механический пробоотборник с конструкцией многоканального распределения потока, включающий рассекатель для рассеяния потока, который соединен с впускным отверстием пробоотборника, многоканальные коллекторные трубки соединены с нижней частью рассекателя для распределения потока, причем коллекторные трубки снабжены рассекателем, мембранный компонент, регулятор потока и пробоотборный насос, отличающийся тем, что рассекатель для распределения потока включает корпус, ударную трубку, ударную пластину и распределительную трубку, причем ударная пластина установлена внутри корпуса, ударная трубка установлена на верхней части корпуса, распределительные трубки установлены в нижней части корпуса, и ударная трубка и распределительные трубки заходят внутрь корпуса, и рассекатель включает комбинации перекрывающихся датчиков PM10, PM5, PM2.5 и PM1.0. 2. Механический пробоотборник с конструкцией многоканального распределения потока по п. 1, отличающийся тем, что ударная трубка и распределительные трубки расположены перпендикулярно ударной пластине. 3. Механический пробоотборник с конструкцией многоканального распределения потока по п. 1, отличающийся тем, что на ударной пластине расположен улавливатель, на дне улавливателя расположен выход для воды, на выходе для воды расположена выпускная трубка, и к выпускной трубке подсоединен сосуд для воды. 4. Механический пробоотборник с конструкцией многоканального распределения потока по п. 1, отличающийся тем, что рассекателем является комбинация перекрывающихся датчиков TSP, PM10, PM5, PM2.5 и PM1.0 или комбинация перекрывающихся датчиков PM10, PM5, PM2.5 и PM1.0.
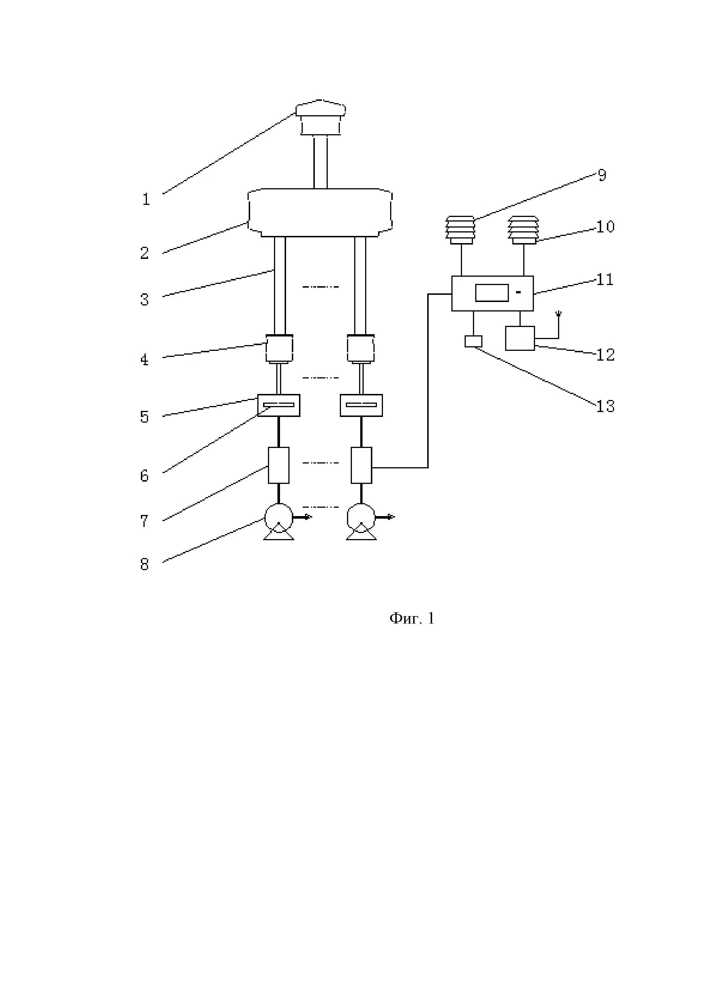
ПРЕДПОСЫЛКИ ДЛЯ СОЗДАНИЯ ИЗОБРЕТЕНИЯ [0001] 1. Область техники [0002] Изобретение относится к механическому пробоотборнику с конструкцией многоканального распределения потока и относится к области сбора твердых частиц. [0003] 2. Уровень техники [0004] Наиболее точным способом, признанным во всем мире, контроля за концентрацией твердых частиц в окружающем воздухе, является отбор проб атмосферы с помощью механического пробоотборника, то есть, забор атмосферной пробы с постоянным расходом, и после того, как проба газа пройдет через мембрану фильтра, определение прироста массы мембраны фильтра до и после сбора с последующим делением на объем собранного газа и, таким образом, получение концентрации твердых частиц. [0005] Самые ранние механические пробоотборники являются одноканальными конструкциями. После рассеивания рассекателем твердые частицы попадают непосредственно на мембрану по вертикальным трубкам, и, теоретически, накопления пыли не происходит. Для дальнейшего изучения результатов анализа твердых частиц требуется проанализировать собранные пробы после однородного отбора, поэтому для сбора проб требуется многоканальный механический пробоотборник для твердых частиц. Обычно многоканальный механический пробоотборник для твердых частиц включает впускное отверстие, рассекатель, устройство для распределения потока, соединительные трубки, пробоотборную мембрану, насос и контроллер, и в процессе реальной работы в устройстве для распределения потока и в соединительных трубках легко скапливается пыль, что приводит к искажению получаемых данных. РАСКРЫТИЕ ИЗОБРЕТЕНИЯ [0006] Для того, чтобы решить технические проблемы известного уровня техники, изобретение предлагает простой механический пробоотборник с конструкцией многоканального распределения потока, в котором использован аэродинамический принцип для измельчения твердых частиц путем ударного воздействия, чтобы избежать накопления пыли. [0007] Для того, чтобы достигнуть вышеуказанной цели, изобретение использует следующую техническую схему: механический пробоотборник с конструкцией многоканального распределения потока, включающий рассекатель для распределения потока, который соединен с впускным отверстием механического пробоотборника, многоканальные коллекторные трубки соединены с нижней частью рассекателя для распределения потока, причем коллекторные трубки снабжены рассекателем, мембранный компонент, регулятор расхода и пробоотборный насос, при этом рассекатель для распределения потока включает корпус, ударную трубку, ударную пластину и распределительную трубку, причем ударная пластина установлена внутри корпуса, ударная трубка установлена на верхней части корпуса, распределительные трубки установлены на нижней части корпуса, и ударная трубка и распределительные трубки заходят внутрь корпуса. [0008] Предпочтительно, ударная трубка и распределительные трубки расположены перпендикулярно ударной пластине. [0009] Предпочтительно, на ударной пластине расположен улавливатель, на дне улавливателя расположен выход для воды, на выходе для воды расположена выпускная трубка, и выпускная трубка соединена с сосудом для воды. [0010] По сравнению с известным уровнем техники изобретение имеет следующие технические эффекты: изобретение не использует отдельную конструкцию распределения потока, и твердые частицы, рассеянные рассекателем, распространяются непосредственно по равномерно распределенным распределительным трубкам, в результате попадая на мембрану по вертикальным соединительным трубкам, что полностью решает проблему накопления пыли, вызываемого устройством для распределения потока, и изогнутым трубкам механического пробоотборника с многоканальным распределением потока; одновременно изобретение выполняет требования по гомологичному отбору собираемых проб и повышает точность получаемых результатов. ОПИСАНИЕ ЧЕРТЕЖЕЙ [0011] ФИГ. 1 схема конструкции изобретения. [0012] ФИГ. 2 - схема конструкции рассекателя для распределения потока согласно изобретению. [0013] ФИГ. 3 - схема, показывающая принцип действия рассекателя для распределения потока согласно изобретению. ОПИСАНИЕ КОНКРЕТНЫХ ВАРИАНТОВ ОСУЩЕСТВЛЕНИЯ [0014] Ниже изобретение будет описано подробно со ссылками на прилагаемые чертежи и варианты осуществления. Необходимо понимать, что конкретные варианты осуществления, описанные в настоящем документе, предназначены только для иллюстрации изобретения и не предназначены для ограничения изобретения. [0015] Как показано на ФИГ. 1 и 2, механический пробоотборник с конструкцией многоканального распределения потока включает: рассекатель 2 для распределения потока, который соединен с впускным отверстием 1 механического пробоотборника, многоканальные коллекторные трубки 3, соединенные с нижней частью рассекателя для распределения потока, причем коллекторные трубки 3 снабжены рассекателем 4, мембранный компонент 5, регулятор расхода 7 и пробоотборный насос 8, которые все соединены с главной системой управления 11, причем главная система управления 11 также соединена с метеорологическим модулем 9 для отслеживания информации по погоде в реальном времени, модулем отслеживания температуры и влажности 10 для отслеживания температуры и влажности воздуха в реальном времени, GPS-модулем 12 для получения информации по положению в реальном времени и модулем радиочастотной идентификации 13 для отслеживания мембраны; рассекатель 2 для распределения потока включает корпус 15, ударную трубку 14, ударную пластину 16 и распределительную трубку 17, причем ударная пластина 16 установлена внутри корпуса 15, ударная трубка 14 установлена на верхней части корпуса 15, распределительные трубки 17 установлены в нижней части корпуса 15, и ударная трубка 14 и распределительные трубки 17 заходят внутрь корпуса 15. [0016] Рассекатель может включать комбинацию перекрывающихся датчиков TSP, РМ10, РМ5, РМ2.5 и РМ1. или комбинацию перекрывающихся датчиков РМ10, РМ5, РМ2.5 и РМ1.0. При использовании рассекатель для распределения потока рассеивает и распределяет собранные твердые частицы, используя главным образом аэродинамический принцип для рассеивания твердых частиц ударным воздействием. Инерция твердых частиц разной крупности разная, и при протекании в ударных трубках газа с твердыми частицами разной крупности большие твердые частицы рассеиваются и осаждаются на ударной пластине, сталкиваясь с ней из-за их большей инерции, тогда как малые твердые частицы проходят на следующую стадию вместе с газом. Изменяя расход газа и высоту ударной пластины и ударных трубок, можно рассеивать твердые частицы разной крупности и с аэродинамическим эквивалентным диаметром. Твердые частицы и газ, проходящие на следующую стадию после рассеивания, распределяются по равномерно распределенным распределительным трубкам, в результате чего можно получить гомологичные твердые частицы проб по нескольким каналам. Эти твердые частицы и газ подходят к мембране по вертикальным соединительным трубкам, что полностью решает проблему скопления пыли, вызываемую устройством для распределения потока и изогнутыми трубками механического пробоотборника с многоканальным распределением потока; изобретение выполняет требования по гомологичному отбору собираемых проб и повышает точность получаемых результатов. [0017] При рассеивании и распределении твердых частиц вычисляется размер d рассеиваемых твердых частиц. Теоретическая формула для определения размера частиц: где: k - безразмерный коэффициент, D - диаметр ударной трубки, ρ - массовая концентрация твердых частиц, С - индекс Каннингема для разреженного потока, U - расход в ударной трубке. По этой формуле можно определить подходящий размер частиц, чтобы повысить точность получаемых результатов. Кроме того, ударная трубка 14 и распределительные трубки 17 расположены перпендикулярно ударной пластине 16, что значительно повышает эффект рассеивания и распределения. Улавливатель 19 расположен на ударной пластине 16, на дне улавливателя 19 расположен выход для воды, на выходе для воды расположена выпускная трубка 20, и выпускная трубка соединена с сосудом для воды 18. Улавливатель используется для сбора воды твердых частиц, и эта вода поступает в сосуд для воды через выход для воды, что обеспечивает повышенное удобство в использовании. [0018] Выше описан только предпочтительный вариант осуществления изобретения, который не предназначен для ограничения изобретения. Любые модификации, эквиваленты и усовершенствования, выполненные в рамках сущности и объема изобретения, должны быть включены в объем изобретения.