патент
№ RU 2733416
МПК H04W72/04

СПОСОБ ПЕРЕДАЧИ ДАННЫХ И УСТРОЙСТВО

Авторы:
ЛИНЬ, Янань (CN)
Номер заявки
2019124857
Дата подачи заявки
06.01.2017
Опубликовано
01.10.2020
Страна
RU
Как управлять
интеллектуальной собственностью
Чертежи 
8
Реферат

Изобретение относится к области беспроводной связи. Технический результат заключается в сокращении задержки передачи данных. Способ передачи данных включает: передачу (201) оконечным устройством данных восходящего канала без обнаружения разрешения; обнаружение (204) оконечным устройством информации о разрешении во временном окне и генерирование результата обнаружения, причем указанная информация о разрешении предназначена для указания конфигурационной информации о канале передачи данных; и определение (205) оконечным устройством необходимости повторной передачи данных восходящего канала на основании указанного результата обнаружения. 2 н. и 13 з.п. ф-лы, 14 ил.

Формула изобретения

1. Способ передачи данных, характеризующийся тем, что он включает:

передачу (201) оконечным устройством данных восходящего канала без обнаружения разрешения;

обнаружение (204) оконечным устройством информации о разрешении во временном окне и генерирование результата обнаружения, причем указанная информация о разрешении предназначена для указания конфигурационной информации о канале передачи данных; и

определение (205) оконечным устройством необходимости повторной передачи данных восходящего канала на основании указанного результата обнаружения.

2. Способ по п.1, также включающий

прием оконечным устройством указывающей информации, предназначенной для указания длительности временного окна и/или позиции начала временного окна.

3. Способ по п.2, согласно которому позиция начала временного окна является любым из следующего:

позицией конца данных восходящего канала,

позицией конца временного блока для данных восходящего канала,

позицией начала А-го временного блока после временного блока для данных восходящего канала, и

позицией начала В-го блока передачи управляющей информации нисходящего канала после данных восходящего канала,

причем A и В являются положительными целыми числами.

4. Способ по любому из пп.1-3, согласно которому

временное окно содержит L блоков передачи управляющей информации нисходящего канала, выполненных с возможностью передачи управляющей сигнальной информации нисходящего канала, причем L является положительным целым числом.

5. Способ по любому из пп.1-4, согласно которому

информация о разрешении предназначена для диспетчеризации передачи данных восходящего канала или

информация о разрешении предназначена для диспетчеризации передачи данных нисходящего канала.

6. Способ по любому из пп.1-4, согласно которому определение оконечным устройством необходимости повторной передачи данных восходящего канала на основании результата обнаружения включает

определение оконечным устройством отсутствия необходимости повторной передачи данных восходящего канала в ответ на определение оконечным устройством результата обнаружения, согласно которому информация о разрешении принята и значение информационного поля в информации о разрешении является заданным значением,

причем, когда значение информационного поля в информации о разрешении является заданным значением, оконечное устройство определяет, что сетевое устройство осуществляет правильный прием данных восходящего канала.

7. Способ по любому из пп.1-4, согласно которому определение оконечным устройством необходимости повторной передачи данных восходящего канала на основании результата обнаружения включает:

определение оконечным устройством результата обнаружения, согласно которому информация о разрешении не принята; и определение оконечным устройством неправильного приема сетевым устройством данных восходящего канала; или

определение оконечным устройством неправильного приема сетевым устройством данных восходящего канала в ответ на определение оконечным устройством результата обнаружения, согласно которому информация о разрешении принята и значение информационного поля в информации о разрешении не равно заданному значению; или

определение оконечным устройством результата обнаружения, согласно которому информация о разрешении не принята, и определение оконечным устройством необходимости повторной передачи данных восходящего канала; или

определение оконечным устройством необходимости повторной передачи данных восходящего канала в ответ на определение оконечным устройством результата обнаружения, согласно которому информация о разрешении принята и значение информационного поля в информации о разрешении не равно заданному значению,

причем, когда значение информационного поля в информации о разрешении является заданным значением, оконечное устройство определяет, что сетевое устройство осуществляет правильный прием данных восходящего канала.

8. Оконечное устройство, характеризующееся тем, что оно содержит: блок (302) обработки и блок (303) связи, причем блок обработки выполнен с возможностью:

передачи данных восходящего канала посредством блока связи без обнаружения разрешения;

обнаружения информации о разрешении во временном окне и генерирования результата обнаружения, причем информация о разрешении предназначена для указания конфигурационной информации о канале передачи данных; и

определения на основании указанного результата обнаружения необходимости повторной передачи данных восходящего канала.

9. Оконечное устройство по п.8, в котором блок обработки также выполнен с возможностью приема посредством блока связи указывающей информации, предназначенной для указания длительности временного окна и/или позиции начала временного окна.

10. Оконечное устройство по п.9, в котором позиция начала временного окна является любым из следующего:

позицией конца данных восходящего канала;

позицией конца временного блока для данных восходящего канала;

позицией начала А-го временного блока после временного блока для данных восходящего канала и

позицией начала В-го блока передачи управляющей информации нисходящего канала после данных восходящего канала,

причем A и В являются положительными целыми числами.

11. Оконечное устройство по любому из пп.8-10, в котором

временное окно содержит L блоков передачи управляющей информации нисходящего канала, причем блок передачи управляющей информации нисходящего канала выполнен с возможностью передачи управляющей сигнальной информации нисходящего канала и L является положительным целым числом.

12. Оконечное устройство по любому из пп.8-11, в котором

информация о разрешении предназначена для диспетчеризации передачи данных восходящего канала или

информация о разрешении предназначена для диспетчеризации передачи данных нисходящего канала.

13. Оконечное устройство по любому из пп.8-11, в котором блок обработки выполнен с возможностью определения результата обнаружения, согласно которому информация о разрешении принята, и определения правильного приема сетевым устройством данных восходящего канала.

14. Оконечное устройство по любому из пп.8-11, в котором блок обработки выполнен с возможностью определения отсутствия необходимости повторной передачи данных восходящего канала в ответ на результат обнаружения, согласно которому информация о разрешении принята и значение информационного поля в информации о разрешении является заданным значением;

причем, когда значение информационного поля в информации о разрешении является заданным значением, оконечное устройство определяет, что сетевое устройство осуществляет правильный прием данных восходящего канала.

15. Оконечное устройство по любому из пп.8-11, в котором блок обработки выполнен с возможностью:

определения результата обнаружения, согласно которому информация о разрешении не принята, и определения неправильного приема сетевым устройством данных восходящего канала; или

определения неправильного приема сетевым устройством данных восходящего канала в ответ на результат обнаружения, согласно которому информация о разрешении принята и значение информационного поля в информации о разрешении не является заданным значением; или

определения результата обнаружения, согласно которому информация о разрешении не принята, и определения необходимости повторной передачи данных восходящего канала или

определения необходимости повторной передачи данных восходящего канала в ответ на результат обнаружения, согласно которому информация о разрешении принята и значение информационного поля в информации о разрешении не является заданным значением,

причем, когда значение информационного поля в информации о разрешении является заданным значением, оконечное устройство определяет, что сетевое устройство осуществляет правильный прием данных восходящего канала.

Описание

[1]

ОБЛАСТЬ ТЕХНИКИ

[2]

[0001] Настоящее изобретение относится к области средств связи и, в частности, к способу передачи данных и устройству.

[3]

УРОВЕНЬ ТЕХНИКИ

[4]

[0002] В настоящее время реализована широкая зона покрытия мобильных сетей связи четвертого поколения (4G), таких как сеть долгосрочного развития (стандарта LTE). Сети 4G отличаются высокой скоростью передачи данных, широким спектром сети, гибкостью связи и другими преимуществами. С появлением сетевых требований, таких как сеть "Интернет вещей" и сеть "Интернет транспортных средств", у пользователей возникают все более высокие требования к сети мобильной связи следующего поколения, т.е. сети мобильной связи пятого поколения (5G), например, такие как скорость передачи данных для взаимодействия с пользователем 100 Мбит/с в непрерывной широкой области покрытия, скорость передачи данных для взаимодействия с пользователем 1 Гбит/с для беспроводных точек доступа (hotspots), задержка радиоинтерфейса в пределах 1 мс, сквозная задержка в пределах 100 мс, а также гарантированная надежность.

[5]

[0003] В современной системе 5G (NR, New Radio) реализована передача по восходящему каналу без разрешения, т.е., когда оконечное устройство имеет данные, предназначенные для передачи, эти данные могут быть переданы без ожидания разрешения от базовой станции. Этот режим передачи является предпочтительным с точки зрения сокращения непроизводительных расходов ресурсов управляющей сигнальной информации системы, сквозной задержки и энергопотребления оконечного устройства. Таким образом, такой режим передачи лучше всего подходит для сервисов с небольшими пакетами и низкими частотами, а также сервисов с требованиями низкой задержки. Одна из проблем, с которыми сталкивается этот режим передачи, состоит в том, как оконечное устройство определяет правильность приема базовой станцией данных восходящего канала от оконечного устройства.

[6]

РАСКРЫТИЕ СУЩНОСТИ ИЗОБРЕТЕНИЯ

[7]

[0004] Согласно различным вариантам реализации настоящего изобретения предложены способ передачи данных и устройство, обеспечивающие способ определения необходимости повторной передачи после передачи оконечным устройством данных способом без разрешения.

[8]

[0005] В первом аспекте предложен способ передачи данных согласно одному варианту реализации настоящего изобретения, включающий:

[9]

передачу оконечным устройством данных восходящего канала способом без разрешения;

[10]

обнаружение оконечным устройством информации о разрешении во временном окне и генерирование результата обнаружения, причем указанная информация о разрешении предназначена для указания конфигурационной информации о канале передачи данных; и

[11]

определение оконечным устройством необходимости повторной передачи данных восходящего канала на основании указанного результата обнаружения.

[12]

[0006] Согласно второму аспекту предложен способ передачи данных согласно одному варианту реализации настоящего изобретения, включающий:

[13]

прием сетевым устройством данных восходящего канала, передаваемых оконечным устройством способом без разрешения; и

[14]

передачу сетевым устройством во временном окне информации о разрешении, предназначенной для сообщения оконечному устройству о правильном приеме сетевым устройством данных восходящего канала и указания конфигурационной информации о канале передачи данных.

[15]

[0007] Согласно третьему аспекту предложено оконечное устройство согласно одному варианту реализации настоящего изобретения, имеющее средства для осуществления функций, выполняемых оконечным устройством в представленном выше способе. Указанные функции могут быть реализованы аппаратными средствами или программным обеспечением, осуществленным с использованием аппаратных средств. Аппаратные средства или программное обеспечение могут включать в себя один или более модулей, соответствующих представленным выше функциям соответственно.

[16]

[0008] Согласно одному варианту реализации оконечное устройство может содержать процессор, выполненный с возможностью поддержки выполнения оконечным устройством соответствующих функций, описанных в представленном выше способе. Кроме того, оконечное устройство также может содержать приемопередатчик, выполненный с возможностью поддержки связи между оконечным устройством и сетевым устройством. Кроме того, оконечное устройство также может содержать память, выполненную с возможностью связи с процессором и хранения программных команд и данных, необходимых для оконечного устройства.

[17]

[0009] Согласно четвертому аспекту предложено сетевое устройство согласно одному варианту реализации настоящего изобретения, имеющее функции для осуществления этапов, выполняемых сетевым устройством в представленном выше способе. Функции могут быть осуществлены аппаратными средствами или программным обеспечением, осуществляемым посредством аппаратных средств. Аппаратные средства или программное обеспечение могут включать в себя один или более модулей, соответствующих представленным выше функциям соответственно.

[18]

[0010] Согласно одному варианту реализации сетевое устройство может содержать процессор, выполненный с возможностью поддержки сетевого устройства при выполнении соответствующих функций в представленном выше способе. Кроме того сетевое устройство также может содержать приемопередатчик, выполненный с возможностью поддержки связи между сетевым устройством и оконечным устройством. Кроме того, сетевое устройство также может содержать память, выполненную с возможностью связи с процессором и хранения программных команд и данных, необходимых для оконечного устройства.

[19]

[0011] Следует отметить, что согласно различным вариантам реализации настоящего изобретения оконечное устройство может уменьшать задержку ожидания при подготовке к передаче данных между оконечным устройством и сетевым устройством, своевременно передавать данные восходящего канала без обнаружения разрешения и точно определять необходимость повторной передачи данных восходящего канала, что является предпочтительным с точки зрения сокращения задержки при передаче данных, повышения эффективности, точности и надежности передачи данных.

[20]

КРАТКОЕ ОПИСАНИЕ ЧЕРТЕЖЕЙ

[21]

[0012] Ниже кратко описаны сопроводительные чертежи, используемые в описании вариантов реализации или известных технологий, на которых:

[22]

[0013] На ФИГ. 1 изображена схема структуры сети возможной системы связи согласно одному варианту реализации настоящего изобретения;

[23]

[0014] На ФИГ. 2A схематически изображена функциональная схема способа передачи данных согласно одному варианту реализации настоящего изобретения;

[24]

[0015] На ФИГ. 2B схематически изображена схема позиции начала временного окна согласно одному варианту реализации настоящего изобретения;

[25]

[0016] На ФИГ. 2C схематически изображена схема, изображающая процесс передачи сетевым устройством данных восходящего канала во временном окне согласно одному варианту реализации настоящего изобретения;

[26]

[0017] На ФИГ. 2D изображена еще одна принципиальная схема, изображающая процесс передачи сетевым устройством данных восходящего канала во временном окне согласно одному варианту реализации настоящего изобретения;

[27]

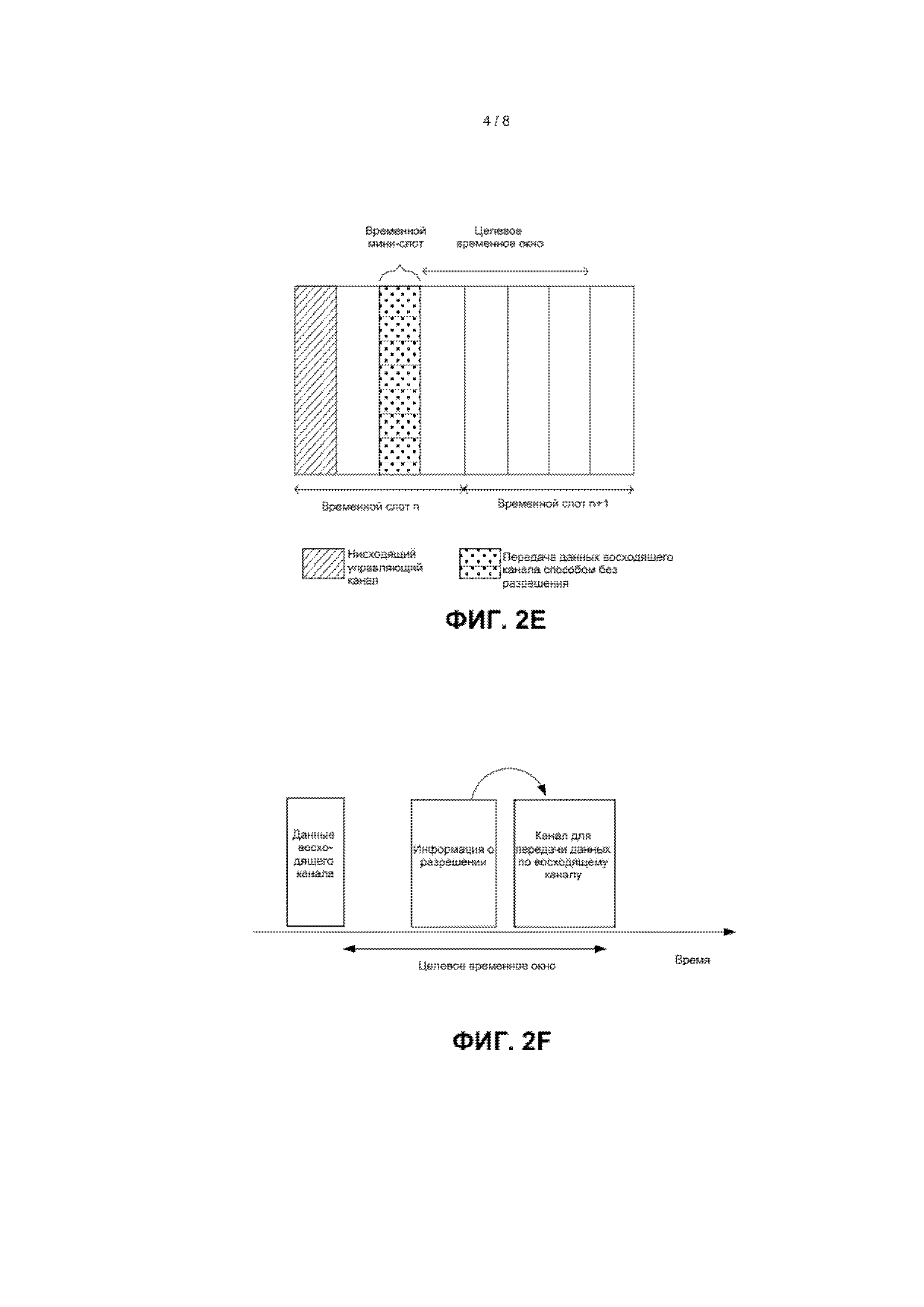
[0018] На ФИГ. 2E изображена еще одна принципиальная схема, изображающая, процесс передачи сетевым устройством данных восходящего канала во временном окне согласно одному варианту реализации настоящего изобретения;

[28]

[0019] На ФИГ. 2F схематически изображена схема, изображающая процесс правильного приема сетевым устройством данных восходящего канала согласно одному варианту реализации настоящего изобретения;

[29]

[0020] На ФИГ. 2G изображена еще одна принципиальная схема, изображающая процесс правильного приема сетевым устройством данных восходящего канала согласно одному варианту реализации настоящего изобретения;

[30]

[0021] На ФИГ. 2H схематически изображена схема, изображающая процесс определения оконечным устройством необходимости повторной передачи данных восходящего канала согласно одному варианту реализации настоящего изобретения;

[31]

[0022] На ФИГ. 3A изображена блок-схема структуры функциональных блоков оконечного устройства согласно одному варианту реализации настоящего изобретения;

[32]

[0023] На ФИГ. 3B схематически изображена структурная схема оконечного устройства согласно одному варианту реализации настоящего изобретения;

[33]

[0024] На ФИГ. 4A изображена блок-схема структуры функциональных блоков сетевого устройства согласно одному варианту реализации настоящего изобретения;

[34]

[0025] На ФИГ. 4B схематически изображена структурная схема сетевого устройства согласно одному варианту реализации настоящего изобретения; и

[35]

[0026] На ФИГ. 5 схематически изображена структурная схема еще одного оконечного устройства согласно одному варианту реализации настоящего изобретения.

[36]

ОСУЩЕСТВЛЕНИЕ ИЗОБРЕТЕНИЯ

[37]

[0027] Ниже в соединении с сопроводительными чертежами описаны технические решения различных вариантов реализации настоящего изобретения.

[38]

[0028] На ФИГ. 1 показана возможная структура сети согласно одному варианту реализации настоящего изобретения. Структура сети включает в себя сетевое устройство и оконечное устройство. Когда оконечное устройство имеет доступ к мобильной сети связи, обеспеченной сетевым устройством, оконечное устройство и сетевое устройство могут связываться посредством беспроводной линии связи. Например, сетевое устройство может быть базовой станцией в сети 5G или гибридной системе сетей 5G и 4G. Согласно различным вариантам реализации настоящего изобретения термины "сеть" и "система" часто являются взаимозаменяемыми при использовании, и значения этих терминов понятны специалистам. Оконечное устройство, используемое в настоящем изобретении, может относиться к устройствам с функцией беспроводной связи, таким как переносные устройства, устройства, установленные на транспортных средствах, носимые устройства и вычислительные устройства, или другие обрабатывающие устройства, соединяемые беспроводным модемом, или пользовательское устройство (UE), мобильная станция (MS), оконечные устройства и т.п., выполненные в различных формах. Для простоты описания все указанные выше устройства и оборудование называются оконечными устройствами.

[39]

[0029] На ФИГ. 2A показан способ передачи данных согласно одному варианту реализации настоящего изобретения. Способ передачи данных применен к мобильной сети связи, которая содержит сетевое устройство и оконечное устройство. Сетевое устройство может быть связано с оконечным устройством. Способ описан со стороны оконечного устройства и включает в себя следующие этапы: 201-203.

[40]

[0030] На этапе 201 оконечное устройство передает данные восходящего канала способом без разрешения.

[41]

[0031] На этапе 202 сетевое устройство правильно принимает данные восходящего канала, передаваемые оконечным устройством способом без разрешения.

[42]

[0032] На этапе 203 сетевое устройство передает во временном окне информацию о разрешении, сообщающую оконечному устройству о правильном приеме сетевым устройством данных восходящего канала и указывающую конфигурационную информацию о канале передачи данных.

[43]

[0033] На этапе 204 оконечное устройство обнаруживает информацию о разрешении во временном окне и генерирует результат обнаружения информации о разрешении, предназначенной для указания конфигурационной информации о канале передачи данных.

[44]

[0034] На этапе 205 оконечное устройство на основании результата обнаружения определяет необходимость повторной передачи данных восходящего канала.

[45]

[0035] Следует отметить, что согласно данному варианту реализации настоящего изобретения оконечное устройство может уменьшать задержку ожидания при подготовке к передаче данных между оконечным устройством и сетевым устройством, своевременно передавать данные восходящего канала без разрешения от сетевого устройства и точно определять необходимость повторной передачи данных восходящего канала, что является предпочтительным для сокращения задержки передачи данных и повышения эффективности, точности и стабильности передачи данных.

[46]

[0036] Согласно одному возможному варианту реализации способ также может включить в себя следующую операцию.

[47]

[0037] Сетевое устройство передает указывающую информацию, предназначенную для указания длительности временного окна и/или позиции начала временного окна.

[48]

[0038] Согласно одному возможному варианту реализации способ также может включать в себя следующую операцию.

[49]

[0039] Оконечное устройство принимает указывающую информацию, предназначенную для указания длительности временного окна и/или позиции начала временного окна.

[50]

[0040] Согласно одному возможному варианту реализации позиция начала временного окна может быть любым из следующего:

[51]

позиции конца данных восходящего канала, позиции конца временного блока для данных восходящего канала, позиции начала А-ого временного блока после временного блока для данных восходящего канала, и позиции начала В-ого блока передачи управляющей информации нисходящего канала после данных восходящего канала, где A и В являются положительными целыми числами.

[52]

[0041] Например, как изображено на ФИГ. 2B, может быть предположено, что сетевое устройство правильно принимает данные восходящего канала, передаваемые способом без разрешения во временном слоте n оконечным устройством. Временной слот (n+1) следует после временного слота n и предназначен для передачи управляющей сигнальной информации нисходящего канала, с использованием которой сетевое устройство может передавать информацию о разрешении во временном слоте (n+1).

[53]

[0042] Согласно одному возможному варианту реализации временное окно может включать в себя L блоков передачи управляющей информации нисходящего канала, выполненных с возможностью передачи управляющей сигнальной информации нисходящего канала, причем L является положительным целым числом.

[54]

[0043] Например, как изображено на ФИГ. 2C, может быть предположено, что временное окно включает в себя четыре блока передачи управляющей информации нисходящего канала, и что сетевое устройство правильно принимает данные восходящего канала, передаваемые способом без разрешения во временном слоте n оконечным устройством, так что сетевое устройство может передавать информацию о разрешении в любом из четырех блоков передачи управляющей информации нисходящего канала, как изображено на ФИГ. 2C.

[55]

[0044] Согласно одному возможному варианту реализации временное окно может включать в себя N временных блоков, и длительность каждого из указанных N временных блоков равна длительности временного блока, в котором оконечное устройство передает данные восходящего канала способом без разрешения, причем N является положительным целым числом.

[56]

[0045] Например, как изображено на ФИГ. 2D, может быть предположено, что временное окно включает в себя четыре временных блока, длительность временного блока составляет один временной слот, и сетевое устройство правильно принимает данные восходящего канала, передаваемые оконечным устройством способом без разрешения во временном слоте n, так что сетевое устройство может передавать информацию о разрешении во временном окне, состоящем из временного слота (n+1), временного слота (n+2), временного слота (n+3) и временного слота (n+4).

[57]

[0046] Согласно одному возможному варианту реализации временное окно может включать в себя N временных блоков, и длительность каждого из N временных блоков равна длительности блока передачи данных нисходящего канала, причем блок передачи управляющей информации нисходящего канала выполнен с возможностью передачи сетевым устройством данных нисходящего канала.

[58]

[0047] Например, как изображено на ФИГ. 2E, может быть предположено, что временное окно включает в себя четыре временных блока, длительность блока передачи данных нисходящего канала составляет один временной мини-слот, и сетевое устройство правильно принимает данные восходящего канала, передаваемые способом без разрешения во временном слоте n оконечным устройством, так что сетевое устройство может передавать информацию о разрешении во временном окне, состоящем из четырех временных мини-слотов, следующих после временного блока.

[59]

[0048] Согласно одному возможному варианту реализации информация о разрешении может быть предназначена для диспетчеризации передачи данных восходящего канала; или указанная информация о разрешении может быть предназначена для диспетчеризации передачи данных восходящего канала, причем длительность временного интервала для передачи данных восходящего канала равна длительности временного блока, в котором оконечное устройство передает данные восходящего канала способом без разрешения.

[60]

[0049] Согласно одному возможному варианту реализации информация о разрешении может быть предназначена для передачи данных нисходящего канала.

[61]

[0050] Согласно одному возможному варианту реализации процесс определения оконечным устройством необходимости повторной передачи данных восходящего канала на основании результата обнаружения может включать в себя следующую операцию.

[62]

[0051] Оконечное устройство определяет результат обнаружения, согласно которому информация о разрешении принята, и сетевое устройство правильно принимает данные восходящего канала.

[63]

[0052] Согласно одному конкретному варианту реализации, как изображено на ФИГ. 2F, процесс определения оконечным устройством результата обнаружения, согласно которому информация о разрешении принята, и сетевое устройство правильно принимает данные восходящего канала, может включать в себя следующее.

[64]

[0053] Оконечное устройство определяет результат обнаружения, согласно которому информация о разрешении, предназначенная для диспетчеризации передачи данных восходящего канала, принята, и сетевое устройство правильно принимает данные восходящего канала.

[65]

[0054] Согласно одному конкретному варианту реализации, как изображено на ФИГ. 2G, процесс определения оконечным устройством результата обнаружения, согласно которому информация о разрешении принята, и сетевое устройство правильно принимает данные восходящего канала, может включать в себя следующую операцию.

[66]

[0055] Оконечное устройство определяет результат обнаружения, согласно которому принята информация о разрешении, предназначенная для диспетчеризации передачи данных нисходящего канала, и сетевое устройство правильно принимает данные восходящего канала.

[67]

[0056] Согласно одному возможному варианту реализации процесс определения оконечным устройством необходимости повторной передачи данных восходящего канала на основании результата обнаружения может включать в себя следующую операцию.

[68]

[0057] В случае определения оконечным устройством результата обнаружения, согласно которому информация о разрешении принята, и значение информационного поля в информации о разрешении является заданным значением, оконечное устройство определяет, что сетевое устройство правильно принимает данные восходящего канала.

[69]

[0058] Например, в случае, когда значение информационного поля составляет 1, это указывает, что сетевое устройство правильно принимает данные восходящего канала.

[70]

[0059] Согласно одному возможному варианту реализации процесс определения оконечным устройством необходимости повторной передачи данных восходящего канала на основании результата обнаружения может включать в себя любую из следующих операций:

[71]

определение оконечным устройством результата обнаружения, согласно которому информация о разрешении не принята, и сетевое устройство неправильно принимает данные восходящего канала; или в случае определения оконечным устройством результата обнаружения, согласно которому информация о разрешении принята, но значение информационного поля в информации о разрешении не равно заданному значению, определение оконечным устройством неправильного приема сетевым устройством данных восходящего канала; или,

[72]

как изображено на ФИГ. 2H, или в случае определения оконечным устройством результата обнаружения, согласно которому информация о разрешении не принята, определение необходимости повторной передачи данных восходящего канала; или в случае определения оконечным устройством результата обнаружения, согласно которому информация о разрешении принята, но значение информационного поля в информации о разрешении не равно заданному значению, определение оконечным устройством необходимости повторной передачи данных восходящего канала.

[73]

[0060] Согласно одному возможному варианту реализации конфигурационная информация является недействительной информацией, используемой оконечным устройством для определения того, что канал передачи данных, указанный информацией о разрешении, не диспетчеризует передачу данных.

[74]

[0061] В случае, когда значение конкретного информационного поля в информации о разрешении является заданным значением, конфигурационная информация, указанная информацией о разрешении, является недействительной информацией.

[75]

[0062] Технические решения вариантов реализации в настоящем изобретении описаны с точки зрения обмена данными между каждым из элементов сети, указанных выше. Следует понимать, что каждое из оконечного устройства и сетевого устройства для осуществления представленных выше функций может содержать соответствующие аппаратные структуры и/или программные модули, предназначенные для выполнения этих функции. Специалисты в данной области техники должны хорошо понимать, что настоящее изобретение может быть осуществлено в форме аппаратных средств или сочетания аппаратных средств и компьютерной программы в соединении с блоками и этапами алгоритма в примерах, описанных в вариантах реализации настоящего изобретения. Реализация этих функций в форме аппаратных средств или управляемых компьютерной программой аппаратных средств зависит от конкретных случаев применения и конструктивных ограничений технических решений. Специалисты в данной области техники могут реализовать описанные функции для каждого конкретного случая применения различными способами, но такие варианты реализации не должны рассматриваться вне объема охраны настоящего изобретения.

[76]

[0063] Согласно различным вариантам реализации настоящего изобретения оконечное устройство и сетевое устройство могут быть разделены на функциональные блоки на основании представленных выше примеров способа. Например, каждый функциональный блок может быть разделен в соответствии с каждой функцией, и две или более функций могут быть встроены в один блок обработки. Объединенный блок может быть осуществлен в форме функционального блока программного обеспечения или аппаратных средств. Следует отметить, что подразделение блоков согласно различным вариантам реализации настоящего изобретения является схематическим и является только логическим подразделением функций, и в практическом варианте реализации могут быть выполнены другие подразделения.

[77]

[0064] Случай использования объединенного блока изображен на ФИГ. 3A, показывающем возможную схематическую структурную схему первого устройства базовой сети согласно представленным выше вариантам реализации. Оконечное устройство 300 содержит блок 302 обработки и блок 303 связи. Блок 302 обработки выполнен с возможностью управления и распоряжения работой оконечного устройства, например, блок 302 обработки выполнен с возможностью поддержки оконечного устройства при выполнении этапов 201, 204 и 205, показанных на ФИГ. 2A, и/или других этапов способа, описанных в настоящей заявке. Блок 303 связи выполнен с возможностью поддержки связи между оконечным устройством и другими устройствами, такой как связь между оконечным и сетевым устройствами, показанными на ФИГ. 1. Оконечное устройство также может содержать блок 301 хранения, выполненный с возможностью хранения программных кодов и данных оконечного устройства.

[78]

[0065] Блок 302 обработки может быть процессором или контроллером, таким как центральный процессор (CPU), процессором общего назначения, процессором цифровых сигналов (DSP), прикладной специализированной интегральной схемой (ASIC), программируемой пользователем вентильной матрицей (FPGA) или другими программируемыми логическими устройствами, транзисторными логическими устройствами, аппаратными компонентами или любым сочетанием вышеуказанного. Блок 302 обработки может осуществлять или выполнять различные приведенные в качестве примера логические блоки, модули и схемы, описанные в соединении с информационными наполнениями настоящего изобретения. Процессор также может быть сочетанием средств для осуществления вычислительных функций, таким как сочетание одного или более микропроцессоров, сочетание цифрового сигнального процессора и микропроцессоров и т.п. Блок 303 связи может быть приемопередатчиком, приемопередающей схемой и т.п., и блок 301 хранения может быть памятью.

[79]

[0066] Блок 302 обработки может быть выполнен с возможностью: передачи данных восходящего канала посредством блока 303 связи способом без разрешения; обнаружения информации о разрешении во временном окне; и генерирования результата обнаружения информации о разрешении, предназначенной для указания конфигурационной информации о канале передачи данных; и определения необходимости повторной передачи данных восходящего канала на основании результата обнаружения.

[80]

[0067] Согласно одному возможному варианту реализации блок 302 обработки также может быть выполнен с возможностью приема посредством блока 303 связи указывающей информации, предназначенной для указания длительности временного окна и/или позиции начала временного окна.

[81]

[0068] Согласно одному возможному варианту реализации позиция начала временного окна может быть любым из следующего:

[82]

позицией конца данных восходящего канала, позицией конца временного блока для данных восходящего канала, позицией начала А-ого временного блока после временного блока для данных восходящего канала и позицией начала В-ого блока передачи управляющей информации нисходящего канала после данных восходящего канала, где A и В являются положительными целыми числами.

[83]

[0069] Согласно одному возможному варианту реализации временное окно может включать в себя L блоков передачи управляющей информации нисходящего канала, выполненных с возможностью передачи управляющей сигнальной информации нисходящего канала, где L является положительным целым числом.

[84]

[0070] Согласно одному возможному варианту реализации информация о разрешении может быть предназначена для передачи данных восходящего канала; или информация о разрешении может быть предназначена для передачи данных восходящего канала, причем длительность временного интервала для передачи данных восходящего канала равна длительности временного блока, в котором оконечное устройство передает данные восходящего канала способом без разрешения.

[85]

[0071] Согласно одному возможному варианту реализации информация о разрешении может быть предназначена для передачи данных нисходящего канала.

[86]

[0072] Согласно одному возможному варианту реализации блок 302 обработки, в частности, может быть выполнен с возможностью определения результата обнаружения, согласно которому информация о разрешении принята, и сетевое устройство правильно принимает данные восходящего канала.

[87]

[0073] Согласно одному возможному варианту реализации блок 302 обработки, в частности, может быть выполнен с возможностью определения правильного приема сетевым устройством данных восходящего канала в случае определения результата обнаружения, согласно которому информация о разрешении принята, и значение информационного поля в информации о разрешении является заданным значением.

[88]

[0074] Согласно одному возможному варианту реализации блок 302 обработки, в частности, может быть выполнен с возможностью: определения результата обнаружения, согласно которому информация о разрешении не принята, и сетевое устройство неправильно принимает данные восходящего канала; или определения неправильного приема сетевым устройством данных восходящего канала в случае определения результата обнаружения, согласно которому информация о разрешении принята, но значение информационного поля в информации о разрешении не является заданным значением; или определения результата обнаружения, согласно которому информация о разрешении не принята, и определения необходимости повторной передачи данных восходящего канала; или определения необходимости повторной передачи данных восходящего канала в случае определения результата обнаружения, согласно которому информация о разрешении принята, но значение информационного поля в информации о разрешении не является заданным значением.

[89]

[0075] Согласно одному возможному варианту реализации временное окно может включать в себя N временных блоков, длительность каждого из которых равна длительности временного блока, в котором оконечное устройство передает данные восходящего канала способом без разрешения, причем N является положительным целым числом; или временное окно может включать в себя N временных блоков, длительность каждого из которых равна длительности блока передачи данных по нисходящему каналу, выполненного с возможностью передачи данных нисходящего канала сетевым устройством.

[90]

[0076] Согласно одному возможному варианту реализации конфигурационная информация может быть недействительной информацией, используемой оконечным устройством для определения того, что канал передачи данных, указанный информацией о разрешении, не диспетчеризует передачу данных.

[91]

[0077] В случае, когда блок 302 обработки является процессором, блок 303 связи является интерфейсом связи, и блок 301 хранения является памятью, оконечное устройство, используемое согласно данному варианту реализации настоящего изобретения, может быть оконечным устройством, изображенным на ФИГ. 3B.

[92]

[0078] Как изображено на ФИГ. 3B, оконечное устройство 310 содержит процессор 312, интерфейс 313 связи и память 311. При необходимости оконечное устройство 310 также может содержать шину 314. Интерфейс 313 связи, процессор 312 и память 311 могут быть соединены друг с другом посредством шины 314. Шина 314 может быть шиной стандарта интерфейса периферийных устройств (PCI) или шиной расширенного промышленного стандарта архитектуры (EISA) и т.п. Шина 314 может содержать адресную шину, шину передачи данных, управляющую шину и т.п. Для простоты изложения, как показано на ФИГ. 3B, только одна толстая линия используется для представления указанной шины, но это не означает, что в данном случае используется только одна шина или шина только одного типа.

[93]

[0079] Оконечное устройство, показанное на ФИГ. 3A или 3B, также может быть понято как оборудование для оконечного устройства, что не является ограничением вариантов реализации настоящего изобретения.

[94]

[0080] Для случая использования объединенного блока на ФИГ. 4 схематически изображена возможная структурная схема сетевого устройства, используемая в представленном выше варианте реализации. Сетевое устройство 400 содержит блок 402 обработки и блок 403 связи. Блок 402 обработки выполнен с возможностью управления и распоряжения работой сетевого устройства, например, блок 402 обработки выполнен с возможностью поддержки сетевого устройства при выполнении этапа 401, изображенного на ФИГ. 2A, и/или других этапов способа, описанного в настоящей заявке. Блок 403 связи выполнен с возможностью поддержки связи между сетевым устройством и другими устройствами, такой как связь между сетевым устройством и оконечным устройством, как изображено на ФИГ. 1. Сетевое устройство также может содержать блок 401 хранения, выполненный с возможностью хранения программных кодов и данных сетевого устройства.

[95]

[0081] Блок 402 обработки может быть выполнен с возможностью: правильного приема посредством блока 403 связи данных восходящего канала, передаваемых оконечным устройством способом без разрешения; передачи во временном окне информации о разрешении, предназначенной для сообщения оконечному устройству о правильном приеме сетевым устройством данные восходящего канала и указания конфигурационной информации о канале передачи данных.

[96]

[0082] Согласно одному возможному варианту реализации блок 402 обработки также может быть выполнен с возможностью передачи посредством блока 403 связи указывающей информации, предназначенной для указания длительности временного окна и/или позиции начала временного окна.

[97]

[0083] Согласно одному возможному варианту реализации позиция начала временного окна может быть любым из следующего:

[98]

позицией конца данных восходящего канала, позицией конца временного блока для данных восходящего канала, позицией начала А-ого временного блока после временного блока для данных восходящего канала и позицией начала В-ого блока передачи управляющей информации нисходящего канала после данных восходящего канала, где A и В являются положительными целыми числами.

[99]

[0084] Согласно одному возможному варианту реализации временное окно может включать в себя L блоков передачи управляющей информации нисходящего канала, выполненных с возможностью передачи управляющей сигнальной информации нисходящего канала, причем L является положительным целым числом.

[100]

[0085] Согласно одному возможному варианту реализации информация о разрешении может быть предназначена для передачи данных восходящего канала; или информация о разрешении может быть предназначена для передача данных восходящего канала, и длительность временного интервала для передачи данные восходящего канала равна длительности временного блока, в котором оконечное устройство передает данные восходящего канала способом без разрешения.

[101]

[0086] Согласно одному возможному варианту реализации информация о разрешении может быть предназначена для передачи данных нисходящего канала.

[102]

[0087] Согласно одному возможному варианту реализации значение информационного поля в информации о разрешении может быть заданным значением.

[103]

[0088] Согласно одному возможному варианту реализации временное окно может включать в себя N временных блоков, длительность каждого из которых равна длительности временного блока, в котором оконечное устройство передает данные восходящего канала способом без разрешения, причем N является положительным целым числом; или временное окно может включать в себя N временных блоков, длительность каждого из которых равна длительности блока передачи данных нисходящего канала, выполненного с возможностью передачи данных нисходящего канала сетевым устройством.

[104]

[0089] Согласно одному возможному варианту реализации конфигурационная информация может быть недействительной информацией, используемой оконечным устройством для определения того, что канал передачи данных, указанный информацией о разрешении, не диспетчеризует передачу данных.

[105]

[0090] В случае, когда блок 402 обработки является процессором, блок 403 связи является интерфейсом связи, и блок 401 хранения является памятью, сетевое устройство, используемое согласно данному варианту реализации настоящего изобретения, может быть сетевым устройством, изображенным на ФИГ. 4B.

[106]

[0091] Как изображено на ФИГ. 4B, сетевое устройство 410 содержит: процессор 412, интерфейс 413 связи и память 411. При необходимости сетевое устройство 410 также может содержать шину 414. Интерфейс 413 связи, процессор 412 и память 411 могут быть соединены друг с другом посредством шины 414. Шина 414 может быть шиной стандарта интерфейса периферийных устройств (PCI) или шиной расширенного промышленного стандарта архитектуры (EISA) и т.п. Шина 414 может содержать адресную шину, шину передачи данных, управляющую шину и т.п. Для простоты изложения, как показано на ФИГ. 4B, только одна толстая линия используется для представления указанной шины, но это не означает, что в данном случае используется только одна шина или шина только одного типа.

[107]

[0092] Сетевое устройство, показанное на ФИГ. 4A или 4B, также может быть понято как оборудование для сетевого устройства, что не является ограничением вариантов реализации настоящего изобретения.

[108]

[0093] Согласно данному варианту реализации настоящего изобретения также предложено еще одно оконечное устройство, изображенное на ФИГ. 5, на котором для простоты описания показаны только его некоторые части, относящиеся к различным вариантам реализации настоящего изобретения. Описание конкретных технических подробностей, не показанных в данном случае, может быть найдено в описании вариантов реализации способа согласно настоящему изобретению. Оконечное устройство может быть мобильным телефоном, планшетом, персональным цифровым помощником (PDA), точкой продажи (POS), бортовым компьютером или другими оконечными устройствами. Мобильный телефон в настоящей заявке приведен только в качестве примера оконечного устройства.

[109]

[0094] На ФИГ. 5 изображена блок-схема, показывающая структуру части мобильного телефона, относящегося к оконечному устройству, согласно одному варианту реализации настоящего изобретения. Как изображено на ФИГ. 5, мобильный телефон содержит: радиочастотную (RF) схему 510, память 520, блок 530 ввода, дисплейный блок 540, датчик 550, звуковую схему 560, модуль 570 беспроводной локальной сети (WiFi), процессор 580, источник 590 питания и другие компоненты. Специалисты в данной области техники могут понимать, что структура мобильного телефона, показанная на ФИГ. 5, не должен являться ограничением для указанного мобильного телефона. В данной схеме могут быть использованы большее или меньшее количество компонентов, в отличие от показанных на ФИГ. 5, причем некоторые компоненты могут быть объединены или могут быть расположены иным образом.

[110]

[0095] Ниже со ссылкой на ФИГ. 5 подробно описаны компоненты мобильного телефона.

[111]

[0096] Радиочастотная схема 510 может быть выполнена с возможностью приема и передачи информации. В целом радиочастотная схема 510 содержит помимо прочего антенну, по меньшей мере один усилитель, приемопередатчик, блок связи, малошумящий усилитель (LNA), антенный переключатель и т.п. Кроме того, радиочастотная схема 510 также может связываться с сетью и другими устройствами посредством беспроводной связи. Представленная выше беспроводная связь может использовать любой стандарт или протокол связи, включая помимо прочего глобальную систему мобильной связи (GSM), общую службу пакетной радиосвязи (GPRS), систему множественного доступа с кодовым разделением (CDMA), систему широкополосного множественного доступа с кодовым разделением (WCDMA), систему долгосрочного развития (стандарта LTE), электронную почту, службу обмена краткими сообщениями (SMS) и т.п.

[112]

[0097] Память 520 может быть выполнена с возможностью хранения программ и программных модулей, и процессор 580 может исполнять различные функциональные приложения и обработку данных мобильного телефона при работе программ и программных модулей, хранящихся в памяти 520. Память 520 в основном может включать в себя область памяти для программ и область хранения данных. В области памяти для программ могут храниться операционная система, прикладная программа, необходимая по меньшей мере для одной функции, и т.п.; в области хранения данных могут храниться данные, создаваемые во время использования мобильного телефона, и т.п. Кроме того, память 520 может включать в себя быстродействующее оперативное запоминающее устройство и также может содержать долговременную память, такое как по меньшей мере одно накопительное устройство на основе магнитного диска, устройство флэш-памяти или другое энергозависимое твердотельное накопительное устройство.

[113]

[0098] Блок 530 ввода может быть выполнен с возможностью приема вводимой цифровой или символьной информации и генерирования ввода сигнала с ключом, относящегося к настройкам пользователя и управлению функциями мобильного телефона. В частности, блок 530 ввода может содержать модуль 531 идентификации отпечатка пальца и другие устройства 532 ввода. Модуль 531 идентификации отпечатка пальца может захватывать данные отпечатка пальца пользователя. В дополнение к модулю 531 идентификации отпечатка пальца, блок 530 ввода также может содержать другие устройства 532 ввода. В частности, другие устройства 532 ввода могут включать в себя помимо прочего один или более сенсорных экранов, физическую клавиатуру, функциональную кнопку (такую как кнопка регулятора громкости, кнопка переключателя и т.п.), шаровой манипулятор, мышь, джойстик и т.п.

[114]

[0099] Дисплейный блок 540 может быть выполнен с возможностью отображения информации, введенной пользователем, или информации, предназначенной для пользователя, и различных меню мобильного телефона. Дисплейный блок 540 может содержать экран 541 дисплея. При необходимости экран 541 дисплея может быть выполнен с использованием жидких кристаллов (LCD), органических светоизлучающих диодов (OLED) или тому подобного. Несмотря на то, что показанный на ФИГ. 5 модуль 531 идентификации отпечатка пальца и экран 541 дисплея выполнены в форме двух независимых компонентов, для осуществления функций ввода и воспроизведения данных мобильного телефона согласно некоторым вариантам реализации модуль 531 идентификации отпечатка пальца и экран 541 дисплея могут быть объединены в один блок для осуществления функций ввода и воспроизведения данных мобильного телефона.

[115]

[00100] Мобильный телефон также может содержать датчик 550 по меньшей мере одного типа, такой как светочувствительный датчик, датчик движения и другие датчики. В частности, светочувствительный датчик может включать в себя датчик наружной освещенности и датчик близости. Датчик наружной освещенности может регулировать яркость экрана 541 дисплея на основании яркости окружающего света, и датчик близости может выключать экран 541 дисплея и/или подсвечивать, когда мобильный телефон приближают к уху. В качестве датчика одного из типов датчиков движения может быть использован датчик акселерометра, который может обнаруживать значения ускорения во всех направлениях (в целом по трем осям) и обнаруживать значение и направление гравитационной силы в случае, когда мобильный телефон остается неподвижным, и может быть выполнен с возможностью идентификации положения мобильного телефона (например, для переключения между горизонтальным экраном и вертикальным экраном, между соответствующими играми, а также для калибровки пространственного положения магнитометра) и может быть выполнен с возможностью вибрационной индикации соответствующих функций (таких как шагомер, нажатие на физическую и виртуальную клавишу) и т.п. Другие датчики, такие как гироскопы, барометры, гигрометры, термометры, инфракрасные датчики, которые также могут быть использованы в мобильном телефоне, не описаны в данном случае, чтобы избежать повторений.

[116]

[00101] Звуковая схема 560, громкоговоритель 561 и микрофон 562 могут обеспечивать звуковой интерфейс между пользователем и мобильным телефоном. Звуковая схема 560 может передавать принятый электрический сигнал, преобразуемый из звуковых данных для громкоговорителя 561, и громкоговоритель 561 может преобразовывать указанный электрический сигнал в звуковой сигнал для воспроизведения. Кроме того, микрофон 562 может преобразовывать захваченный звуковой сигнал в электрический сигнал, и звуковая схема 560 может принимать указанный электрический сигнал и преобразовывать его в звуковые данные. После обработки процессором 580 указанные звуковые данные могут быть переданы другому мобильному телефону посредством радиочастотной схемы 510 или могут быть сохранены в памяти 520 для дальнейшей обработки.

[117]

[00102] Wi-Fi является технологией беспроводной передачи малой дальности. Модуль 570 WiFi мобильного телефона представляет пользователю возможность передавать и принимать электронные почтовые сообщения, просматривать веб-страницы и иметь доступ к потоковым носителям, таким образом обеспечивая для пользователя беспроводной широкополосный доступ к сети Интернет. Несмотря на то, что на ФИГ. 5 показан модуль 570 WiFi, следует понимать, что он не является необходимым для мобильного телефона, но может быть исключен при необходимости без отступления от объема охраны принципа настоящего изобретения.

[118]

[00103] Процессор 580 является центром управления мобильного телефона и может быть соединен с различными частями мобильного телефона посредством различных интерфейсов и линий связи. Процессор 580 может исполнять различные функции мобильного телефона и обрабатывать данные мобильного телефона при запуске или исполнении программ и/или программных модулей, хранящихся в памяти 520, и при использовании данных, хранящихся в памяти 520, таким образом, путем отслеживания мобильного телефона в целом. При необходимости процессор 580 может включать в себя один или более блоков обработки; в качестве примера, процессор 580 может включать в себя встроенный процессор приложений и процессор модема, причем процессор приложений в основном предназначен для поддержки операционной системы, пользовательского интерфейса, приложений и т.п., а процессор модема в основном предназначен для поддержки беспроводной связи. Следует понимать, что представленный выше процессор модема также может быть отдельным блоком, не встроенным в процессор 580.

[119]

[00104] Мобильный телефон также может содержать источник 590 питания для питания каждого компонента (такой как батарея). Например, источник питания может быть логически соединен с процессором 580 посредством системы управления питанием для осуществления управления зарядкой и разрядкой, энергопотреблением и другими функциями посредством системы управления питанием.

[120]

[00105] Мобильный телефон также может содержать камеру, модуль Bluetooth и т.п., которые не будут описаны в данном случае и которые не показаны на ФИГ. 5.

[121]

[00106] В представленных выше вариантах реализации, показанных на ФИГ. 2A, процесс работы оконечного устройства на каждом этапе способа может быть осуществлен на основании структуры мобильного телефона.

[122]

[00107] В представленных выше вариантах реализации, показанных на ФИГ. 3A-3B, функция каждого блока может быть осуществлена на основании структуры мобильного телефона.

[123]

[00108] Согласно одному варианту реализации настоящего изобретения также предложен компьютерный носитель. В компьютерном носителе может храниться программа. При исполнении программы могут быть реализованы часть или все операции любого из способов передачи данных, описанных в вариантах реализации настоящего изобретения, представленных выше.

[124]

[00109] Этапы способов или алгоритмы, описанные в вариантах реализации настоящего изобретения, могут быть осуществлены аппаратными средствами или процессором путем исполнения инструкций программного обеспечения. Инструкции программного обеспечения могут состоять из программных модулей, которые могут храниться в оперативном запоминающем устройстве (ОЗУ), флэш-памяти, постоянном запоминающем устройстве (ПЗУ), стираемом программируемом постоянном запоминающем устройстве (СППЗУ), электрически стираемом программируемом постоянном запоминающем устройстве (ЭСППЗУ), регистре, на жестком диске, сменном жестком диске, запоминающем устройстве на основе компакт-дисков (CD-ROM) или носителях любых других типов, известных в данной области техники. Приведенный в качестве примера носитель может быть соединен с процессором таким образом, что процессор может считывать информацию из носителя и записывать информацию в носитель. Очевидно, носитель также может быть частью процессора. Процессор и носители могут быть расположены в прикладной специализированной интегральной схеме (ASIC). Кроме того, прикладная специализированная интегральная схема (ASIC) может быть расположена в шлюзовом устройстве или элементе управления мобильностью. Очевидно, процессор и носители также могут быть расположены в шлюзовом устройстве или элементе управления мобильностью в форме дискретных компонентов.

[125]

[00110] Специалистам в данной области техники понятно, что в одном или более из представленных выше примеров функции, описанные согласно данному варианту реализации настоящего изобретения, могут быть осуществлены с использованием аппаратных средств, программного обеспечения, микропрограммных средств или любого сочетания вышеперечисленного. Функции, осуществляемые с использованием программного обеспечения, могут храниться в компьютерочитаемом носителе или могут быть переданы в форме одной или более инструкций или кодов в компьютерочитаемый носитель. Компьютерочитаемый носитель может включать в себя компьютерный носитель и носитель связи. Носитель связи может включать в себя любой носитель, который может обеспечить передачу компьютерной программы из одного места в другое место. Носитель может быть любым доступным носителем, к которому могут иметь доступ общие или выделенные компьютеры.

[126]

[00111] Выше были подробно описаны объекты, технические решения и предпочтительные эффекты настоящего изобретения согласно различным вариантам его реализации. Следует понимать, что выше представлены только конкретные варианты реализации настоящего изобретения, не предназначенные для ограничения объема охраны вариантов реализации настоящего изобретения. Любые изменения, эквивалентная замена или усовершенствование на основании технических решений вариантов реализации настоящего изобретения попадают в объем охраны настоящего изобретения.

Как компенсировать расходы
на инновационную разработку
Похожие патенты