Изобретение относится к технике высоких напряжений и может быть использовано для очистки газов от экологически вредных примесей, обеззараживания воздуха и стерилизации при помощи низкотемпературной плазмы, создаваемой импульсными стримерными коронными разрядами. Для этого предлагается электрофизическое устройство, содержащее по меньшей мере один заземленный электрод и по меньшей мере один высоковольтный электрод, содержащий инициаторы импульсных стримерных коронных разрядов по меньшей мере с одной из его сторон, с образованием между соседними заземленным и высоковольтным электродами реакторной камеры, в которой расположены инициаторы импульсных стримерных коронных разрядов, а также генератор импульсного напряжения, к которому подключен высоковольтный электрод. При этом инициаторы импульсных стримерных коронных разрядов, расположенные на высоковольтном электроде, выполнены в форме полуэллипсоидов вращения. Изобретение обеспечивает повышение КПД устройства. 6 з.п. ф-лы, 7 ил.
1. Электрофизическое устройство для очистки газов от экологически вредных примесей, обеззараживания воздуха и стерилизации при помощи низкотемпературной плазмы, создаваемой импульсными стримерными коронными разрядами, содержащее по меньшей мере один заземленный электрод и по меньшей мере один высоковольтный электрод, содержащий инициаторы импульсных стримерных коронных разрядов по меньшей мере с одной из его сторон, с образованием между соседними заземленным и высоковольтным электродами реакторной камеры, в которой расположены инициаторы импульсных стримерных коронных разрядов, а также генератор импульсного напряжения, к которому подключен высоковольтный электрод, отличающееся тем, что инициаторы импульсных стримерных коронных разрядов, расположенные на высоковольтном электроде, выполнены в форме полуэллипсоидов вращения. 2. Устройство по п. 1, отличающееся тем, что при радиусе кривизны высоковольтного электрода больше 3 см инициаторы импульсных стримерных коронных разрядов размещены на расстоянии больше 3 мм между их вершинами, длина большой полуоси эллипсоида вращения, образующего полуэллипсоид вращения, больше 1 см, а сотношение малой и большой полуосей эллипсоида вращения, образующего полуэллипсоид вращения, составляет от 0,2 до 0,6. 3. Устройство по п. 1, отличающееся тем, что заземленный и высоковольтный электроды выполнены в виде плоских пластин. 4. Устройство по п. 1, отличающееся тем, что заземленный и высоковольтный электроды выполнены в виде пластин, образованных частью боковой поверхности цилиндра. 5. Устройство по п. 1, отличающееся тем, что заземленный и высоковольтный электроды выполнены цилиндрическими и установлены коаксиально. 6. Устройство по п. 1, отличающееся тем, что содержит установленные поочередно n заземленных электродов и n высоковольтных электродов, содержащих инициаторы импульсных стримерных коронных разрядов с одной стороны, где n≥2. 7. Устройство по п. 1, отличающееся тем, что содержит установленные поочередно n заземленных электродов и n-1 высоковольтных электродов, содержащих инициаторы импульсных стримерных коронных разрядов с двух сторон, где n≥2.
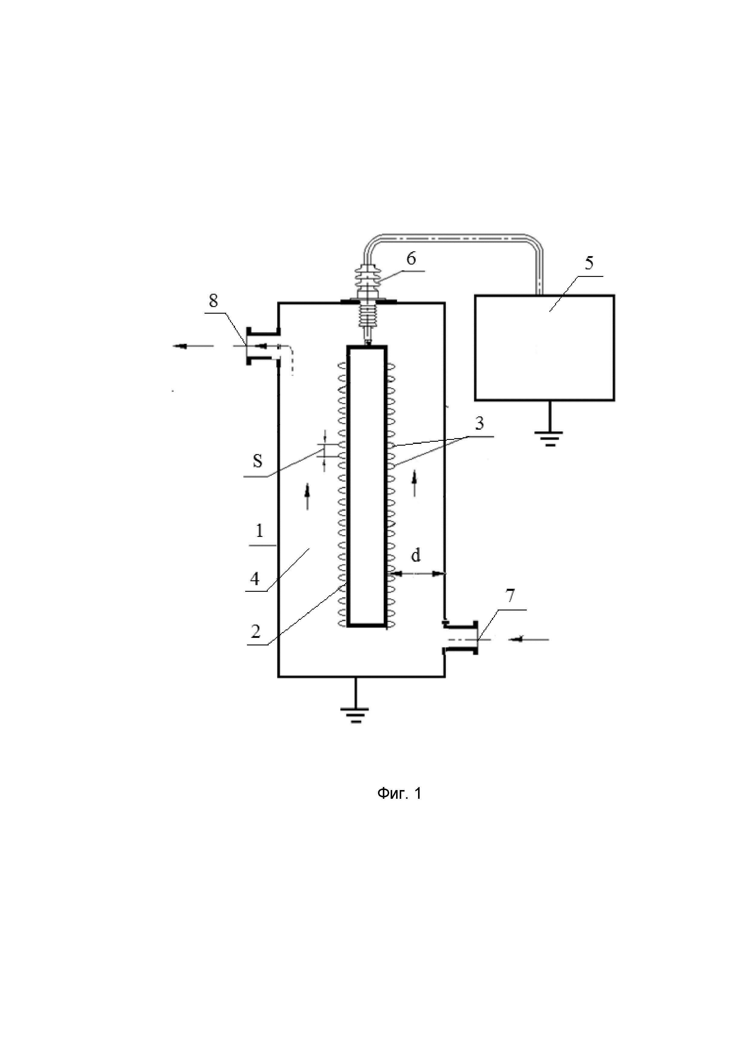
Изобретение относится к технике высоких напряжений, в частности – к электрофизическому устройству для очистки газов от экологически вредных примесей (газообразных примесей, а также пылевых и мелкодисперсных аэрозольных частиц), для обеззараживания воздуха (снижения обсемененности воздуха патогенными микроогранизмами и вирусами до безопасного уровня), стерилизации как воздуха, так и диэлектрических и металлических предметов при помощи низкотемпературной плазмы, создаваемой импульсными стримерными коронными разрядами. Известны устройства [Masuda S., Nakao H. Removal of NOx in the exhaust gas from a diesel engine using pulsed plasma. //IEEE-IAS Annual Conference. 1986. Denver. P. 1173.3., А. З. Понизовский, С. Г. Гостеев, О. С. Кужель, А. С. Смирнов. Промышленные установки для очистки воздуха с помощью низкотемпературной неравновесной плазмы газового разряда. Химическая безопасность 2018г. Том 2 №2, с:212-228.], в которых с помощью импульсного стримерного коронного разряда осуществляется очистка воздуха от экологически вредных газообразных примесей, пылевых и мелкодисперсных аэрозольных частиц. Эти устройства состоят из реакторных камер, через которые проходит поток воздуха, ограниченных коаксиально или плоско расположенными высоковольтными и заземленными электродами. Высоковольтные электроды подключаются к высоковольтному импульсному генератору, который генерирует импульсы напряжения наносекундной длительности. Под действием импульсов в пространстве между высоковольтным и заземленным электродом возникает стримерный коронный разряд, создающий низкотемпературную плазму. Низкотемпературная плазма характеризуется значительными плотностями и энергиями электронов, способных создать в разрядном промежутке высокие концентрации активных промежуточных частиц (атомарного кислорода, ионов и радикалов), которые вступают в радиационно-химические реакции с молекулами-загрязнителями. В результате реакций происходит конверсия газообразных примесей в экологически безвредные газы или аэрозоли [Понизовский А.З. Очистка вент выбросов с помощью импульсного и постоянного коронных разрядов. Экологические системы и приборы. 2007г. №11 с.9-14]. Мелкодисперсный аэрозоль, пыль и продукты, образующиеся под действием коронного разряда, за счет постоянного коронного разряда, имеющего место в паузе между импульсами, оседают на заземленном электроде, откуда смываются водой. Кроме того, в генерируемой импульсным стримерным коронным разрядом низкотемпературной плазме за счет большой плотности энергии электронов, радикалов, атомарного кислорода, озона и ультрафиолетового излучения происходит обеззараживание воздуха от микроорганизмов и вирусов [T.Xia1, A.Kleinhekse, E.M. Lee, Z.Qiao, K.R.Wigginton H.L.Clack. Inactivation of airborne viruses using a packed bed non-thermal plasma reactor. J. Phys. D: Appl. Phys. 52 (2019) 255201 (12pp)]. Аналогично в зоне действия низкотемпературной плазмы имеет место и стерилизация объектов [J Ehlbeck, U Schnabe, M Polak, J Winter, Th von Woedtke, R Brandenburg, T von dem Hagen, K-D Weltmann Low temperature atmospheric pressure plasma sources for microbial decontamination. J. Phys. D: Appl. Phys. 44 (2011) 013002 (18pp)]. Наиболее близким к предлагаемому изобретению является устройство, описанное в патенте США № 6224653, содержащее реакторную камеру, образованную между цилиндрическим заземленным электродом и концентрично установленным внутри него цилиндрическим высоковольтным электродом, содержащим большое количество острий. Острия на этом электроде предназначены для точечного усиления поля, позволяющего создать условия для возникновения стримерного коронного разряда. Высоковольтный электрод подключается к многоступенчатому генератору Фитча, который создает высокое импульсное напряжение. В результате между остриями и заземленным электродом возникают многоточечные стримерные коронные разряды. Недостатком описанного устройства является его низкий КПД ввиду того, что конструкция высоковольтного электрода не учитывает специфику его работы при генерации наносекундного импульсного стримерного коронного разряда. Задачей заявляемого изобретения является создание электрофизического устройства для очистки газов от экологически вредных примесей, обеззараживания воздуха и стерилизации при помощи низкотемпературной плазмы, создаваемой импульсными стримерными коронными разрядами, конструктивное исполнение которого обеспечило бы достижение технического результата, заключающегося в повышении КПД устройства. Поставленная задача решается тем, что разработано электрофизическое устройство для очистки газов от экологически вредных примесей, обеззараживания воздуха и стерилизации при помощи низкотемпературной плазмы, создаваемой импульсными стримерными коронными разрядами, содержащее по меньшей мере один заземленный электрод и по меньшей мере один высоковольтный электрод, содержащий инициаторы импульсных стримерных коронных разрядов по меньшей мере с одной из его сторон, с образованием между соседними заземленным и высоковольтным электродами реакторной камеры, в которой расположены инициаторы импульсных стримерных коронных разрядов, а также генератор импульсного напряжения, к которому подключен высоковольтный электрод, при этом инициаторы импульсных стримерных коронных разрядов выполнены в форме полуэллипсоидов вращения. Под соседними высоковольтным и заземленным электродами в контексте данного описания подразумеваются высоковольтный и заземленный электроды, между которыми отсутствуют любые другие электроды, при этом реакторную камеру может образовать только та пара соседних заземленного и высоковольтного электродов, в которой высоковольтный электрод содержит инициаторы импульсного стримерного коронного разряда со стороны соответствующего ему заземленного электрода (обращенной к соответствующему заземленному электроду). Под полуэллипсоидами вращения в контексте данного описания следует понимать часть поверхности эллипсоида вращения, отсеченную плоскостью, проходящей через малые полуоси (одной длины) указанного эллипсоида вращения. При этом ось указанного полуэллипсоида вращения проходит через большую полуось эллипсоида вращения, которым он образован. Указанная ось полуэллипсоида вращения является перпендикулярной поверхности высоковольтного электрода. Известно, что КПД работы электрофизических устройств для очистки газов от экологически вредных примесей, обеззараживания воздуха и стерилизации определяется внедряемой в газ энергией, которая, в свою очередь, прямо пропорциональна заряду, внедренному в межэлектродный промежуток стримерами, стартующими от инициаторов импульсного стримерного коронного разряда (острий) [А. З. Понизовский, С. Г. Гостеев, О. С. Кужель, А. С. Смирнов. Промышленные установки для очистки воздуха с помощью низкотемпературной неравновесной плазмы газового разряда. Химическая безопасность 2018г. Том 2 №2, стр: 212-228.]. Там же показано, что в существующих установках по очистке воздуха наносекундным имульсным стримерным коронным разрядом из-за излишней остроты коронирующих точек на инициаторах импульсного стримерного коронного разряда стримеры стартуют задолго до амплитудного значения импульса. Базируясь на экспериментальных данных о стримерном коронном разряде [Базелян Э.М., Райзер Ю.П. Искровой разряд М.Изд-во МФТИ 1997, 320 с., Б.Пек Моделирование лавинно-стримерного перехода в пакете Comsol 17.с. https://tehnick.github.io/seminar/streamers3/streamer_in_Air.pdf Понизовский А.З., Гостеев С.Г. Зондовые измерения параметров стримеров частотного наносекундного коронного разряда. Ядерная физика и инжиниринг. 2016 7(5):462-470, Д.В.Разевиг, М.В. Соколова Расчет начальных и разрядных напряжений газовых промежутков М.-Энергия,1970 200 с.] и рассчитанных характеристиках электрических полей, авторами данного изобретения было установлено, что увеличить величину начального напряжения стримера и, тем самым, повысить КПД устройства, можно за счет уменьшения остроты коронирующих точек, в частности – за счет выполнения инициаторов импульсного стримерного коронного разряда в форме эллипсоидов. Очевидно, что распределение коронирующих точек инициаторов импульсных стримерных коронных разрядов, выполненных в форме эллипсоидов вращения, по поверхности высоковольтного электрода, а, соответственно, и размеры указанных инициаторов в каждом конкретном исполнении устройства должны быть различными и могут быть расчитаны. Так, для генерации наносекундного импульсного стримерного коронного разряда с максимально возможной внедряемой в газ энергией необходимо выполнение следующих условий. Во-первых, импульсная напряженность электрического поля Емах на расстоянии не менее 0,5 мм от высоковольтного электрода должна быть больше 30 кВ/см (Емах > 30 кВ/см). Во-вторых, среднее значение импульсного электрического поля Еср, которое рассчитывается по формуле Еср=Up/d, (1) где Up – амплитуда импульсного напряжения, d – межэлектродное расстояние, должно находиться в пределах между 5кВ/см и 10кВ/см (5кВ/см < Еср< 10кВ/см) (нижний предел Еср соответствует минимальному значению для развития стримера, верхний предел Еср соответствует электрическому пробою разрядного промежутка). В-третьих, в момент старта стримеров потенциал высоковольтного электрода Ust должен быть близок к Up (Ust≈ Up), т.к. заряд, внедряемый стримером в межэлектродное простарнство, рассчитывается по формуле Q=4πε0rhUst(2), где rh- радиус головки стримера. В-червертых, объемный заряд, внедряемый от каждого коронирующего инициатора импульсного стримерного коронного разряда (острия), не должен резко снижать электрическое поле на соседнем коронирующем острие, тем самым препятствуя возникновению стримера. Эти условия можно выполнить, если инициаторы импульсного стримерного коронного разряда, расположенные на высоковольтном электроде такого радиуса, при котором при заданных параметрах импульса напряжения на его поверхности Емах < 25 кВ/см, имеют форму полуэллипсоидов вращения. Опираясь на вышеперечисленные условия, были рассчитаны наиболее предпочтительные геометрические параметры инициаторов стримерного коронного разряда, в частности при радиусе кривизны высоковольтного электрода больше 3 см инициаторы импульсных стримерных коронных разрядов размещены на расстоянии больше 3 мм между их вершинами, длина большой полуоси эллипсоида вращения, образующего полуэллипсоид вращения, в форме которого выполнен инициатор импульсного стримерного коронного разряда, больше 1 см, а сотношение малой и большой полуосей эллипсоида вращения, образующего полуэллипсоид вращения, в форме которого выполнен инициатор импульсного стримерного коронного разряда, составляет от 0,2 до 0,6. Расчет указанных оптимальных геометрических параметров инициаторов стримерного коронного разряда приведен ниже со ссылками на прилагаемые фигуры. Заявляемое устойство может характеризоваться различными конкретными вариантами реализации, отличиющимися количеством заземленных и высоковольтных электродов, их формой и расположением. В одном из вариантов осуществления заявляемого изобретения заземленный и высоковольтный электроды выполнены в виде плоских пластин. В другом варианте осуществления заявляемого изобретения заземленный и высоковольтный электроды выполнены в виде изогнутых пластин, в частности – образованных частью боковой поверхности цилиндра. В еще одном предпочтительном варианте осуществления заявляемого изобретения заземленный и высоковольтный электроды выполнены цилиндрическими и установлены коаксиально. Помимо варианта реализации устройства с двумя электродами (одним заземленным и одним высоковольтным), устройство может содержать установленные поочередно n заземленных электродов и n высоковольтных электродов, содержащих инициаторы импульсных стримерных коронных разрядов с одной стороны, где n≥2. При этом очевидно, что инициаторы импульсных стримерных коронных разрядов на каждом из высоковольтных электродов расположены со стороны соответствующего ему заземленного электрода. Такое исполнение подразумевает наличие в устройстве двух и более реакторных камер, каждая из которых ограничена отдельной парой электродов, включающей заземленный и высоковольтный электрод. Заземленные и высоковольтные электроды могут быть установлены и непоочередно, однако в любом случае попарно (например, заземленный-высоковольтный-высоковольтный-заземленный), при этом инициаторы импульсных стримерных коронных разрядов на высоковольтных электродах расположены со стороны соответствующих заземленных электродов. В еще одном предпочтительном варианте осуществления устройство содержит установленные поочередно (начиная с заземленного электрода) n заземленных электродов и n-1 высоковольтных электродов, содержащих инициаторы импульсных стримерных коронных разрядов с двух сторон, где n≥2. Такое исполнение устройства также подразумевает наличие в устройстве двух и более реакторных камер, однако в данном варианте каждая из камер ограничена отдельным заземленным электродом и одним общим на две смежные камеры высоковольтным электродом. Альтернативно устройство может содержать установленные поочередно (начиная с высоковольтного электрода) n высоковольтных электродов и n-1 заземленных электродов, где n≥2. В таком варианте реализации заземленные электроды установлены между парами высоковольтных электродов, при этом крайние высоковольтные электроды содержат инициаторы импульсных стримерных коронных разрядов с одной стороны, в частности – со стороны соответствующих им заземленных электродов, а внутренние высоковольтные электроды (в случае их наличия, т.е. если n>2) содержат инициаторы импульсных стримерных коронных разрядов с двух сторон. Два последних вышеописанных варианта исполнения заявляемого устройства являются менее металлоемкими, если сравнивать с металлоемкостью устройств с одной реакторной камерой, необходимых для обеспечения той же производительности, а, следовательно, более экономичными. В вариантах исполнения, где заявляемое устройство содержит две и более реакторные камеры, последние могут быть соединены между собой последовательно или же, наоборот, воздух или другой газ проходит по ним параллельно. Первый вариант исполнения целесообразен, например, при работе устройства с потоком воздуха или другого газа, подлежащим максимальной степени обработки (очистки, обеззараживания), когда в последующей по потоку камере поток воздуха или другого газа дообрабатывается. Второй вариант исполнения целесообразен, например, при необходимости повышения производительности устройства, т.е. обработки большего объема воздуха или другого газа за единицу времени, или при выполнении заявляемым устройством функции стерилизации предметов, когда прохождение их через несколько реакторных камер исключается. Как правило, генератор импульсного напряжения содержит регулятор зарядного напряжения. При этом высоковольтный электрод подключен к генератору импульсного напряжения посредством проходного изолятора через заземленную часть устройства, обеспечивающего изоляцию токопроводящих элементов от корпуса устройства, через который они проходят. В случае если крайними наружными электродами являются заземленные электроды, они могут также выполнять функцию корпуса устройства. Такой вариант исполнения является наиболее оптимальным с точки зрения металлоемкости, а, следовательно, экономичности. Также следует отметить, что крайний внутренний электрод в случае выполнения электродов цилиндрическими вне зависимости от его типа (заземленный или высоковольтный) может быть выполнен как полым (т.е. трубчатым или, другими словами, в форме полого цилиндра, как и все остальные электроды), так и сплошным, т.е. без осевого отверстия. Осадок, который может образовываться на соответствующей стенке заземленного электрода, может быть удален, например, посредством оснащения заявляемого устройства устройством подвода воды к верхней части рабочей поверхности заземленного электрода для смыва осадка, а также отверстием для слива, выполненным в заземленной части корпуса, или любым другим подходящим образом, известным из уровня техники. Таким образом, существуют различные варианты исполнения заявляемого утсройства, отличающиеся количеством реакторных камер, количеством электродов, которые их образуют, месторасположением указанных электродов, а также их исполнением. Более того, возможны также варианты осуществления устройства, например в случае, когда электроды выполнены цилиндрическими, где заявляемое устройство будет представлять собой батарею, содержащую несколько некоаксиальных реакторных камер или же несколько групп коаксиальных реакторных камер, реакторные камеры каждой из которых являются некоаксиальными реакторным камерам другой группы или групп. Все реакторные камеры при необходимости могут быть объединены в одном корпусе, а все высоковольтные электроды батареи могут быть подключены к одному генератору импульсного напряжения. Однако в любом вышеописанном варианте исполнения или любом другом подпадающим под независимый пункт формулы заявляемого изобретения варианте исполнения инициаторы стримерных коронных разрядов на высоковольтном электроде будут иметь форму полуэллипсоидов вращения, а их геометрические параметры, в свою очередь, будут зависеть от конкретного исполнения устройства. Заявляемое изобретение будет более детально раскрыто со ссылками на следующие графические материалы: фиг. 1 – схематический вид в разрезе одного из предпочтительных вариантов осуществления заявляемого изобретения; фиг. 2 – схематический увеличенный вид в разрезе одного инициатора импульсного стримерного коронного разряда, расположенного между высоковольтным и заземленным электродами; фиг. 3 – зависимость напряженности поля в точке расчета поля при средней напряженности электрического поля 9 кВ/см в межэлектродном промежутке в зависимости от соотношения полуосей эллипсоида вращения, образующего полуэллипсоид вращения, в форме которого выполнен инициатор импульсного стримерного коронного разряда; фиг.4 – зависимость напряженности поля в точке расчета поля при средней напряженности электрического поля 7 кВ/см в межэлектродном промежутке в зависимости от соотношения полуосей эллипсоида вращения, образующего полуэллипсоид вращения, в форме которого выполнен инициатор импульсного стримерного коронного разряда; фиг.5 – зависимость напряженности поля в точке расчета поля при средней напряженности электрического поля 6 кВ/см в межэлектродном промежутке в зависимости от соотношения полуосей эллипсоида вращения, образующего полуэллипсоид вращения, в форме которого выполнен инициатор импульсного стримерного коронного разряда; фиг. 6 – зависимость напряженности поля в точке расчета поля при средней напряженности электрического поля 5 кВ/см в межэлектродном промежутке в зависимости от соотношения полуосей эллипсоида вращения, образующего полуэллипсоид вращения, в форме которого выполнен инициатор импульсного стримерного коронного разряда; фиг.7 – зависимость напряженности электрического поля заряда головки стримера от расстояния до нее. На фиг. 1 проиллюстрирован схематический вид электрофизического устройства для очистки газов от экологически вредных примесей, обеззараживания воздуха и стерилизации при помощи низкотемпературной плазмы, создаваемой импульсными стримерными коронными разрядами. Указанное устройство содержит установленные коаксиально один цилиндрический заземленный электрод 1 и один цилиндрический высоковольтный электрод 2, содержащий инициаторы 3 импульсных стримерных коронных разрядов с одной его стороны, обращенной к заземленному электроду 1. Указанные инициаторы 3 выполнены в форме полуэллипсоидов вращения. На фиг. 1 видно, что указанные электроды 1 и 2 установлены коаксиально, при этом между ними образована реакторная камера 4. Высоковольтный электрод 2 подключен к генератору 5 импульсного напряжения через проходной изолятор 6. На фиг. 1 видно, что заземленный электрод 1 является корпусом устройства. Позициями 7 и 8 обозначены вход и выход газа/воздуха в и из реакторной камеры 4 соответственно. Альтернативно или совместно с указанными входом и выходом устройство может быть оборудовано отверстием для помещения в реакторную камеру 4 предмета для его стерилизации. Заземленный 1 и высоковольтный 2 электроды расположены на расстоянии d друг от друга. Стрелками на фиг. 1 показано направление движения подаваемого в устройство газа/воздуха. Инициаторы 3 стримерного коронного разряда расположены на расстоянии S между их вершинами. На фиг. 2 представлен схематический увеличенный вид в разрезе одного инициатора 3 импульсного стримерного коронного разряда, расположенного между высоковольтным 2 и заземленным 1 электродами. Как c обозначен один из фокусов эллипсоида вращения, в форме которого, в свою очередь, выполнен инициатор 3 импульсного стримерного коронного разряда; указанный фокус c находится на указанном инициаторе 3. На фиг. 2 с целью приведения дальнейшего расчета оптимальных геометрических параметров инициаторов 3 обозначена длина 2q малой оси эллипсоида вращения, образующего полуэллипсоид вращения, в форме которого выполнен инициатор 3 импульсного стримерного коронного разряда, а также длина q соответственно малой полуоси и длина t большой полуоси указанного эллипсоида вращения. Как Δx обозначено расстояние от вершины 9 полуэллипсоида вращения до точки 10 расчета поля. Ниже приведен пример расчета оптимальных геометрических параметров конструктивных элементов заявляемого устройства (в частности – инициаторов 3 в форме полуэллипсоидов вращения), которое согласно одному из предпочтительных вариантов осуществления содержит цилиндрический заземленный 1 и высоковольтный 2 электроды больших радиусов кривизны (т.е. таких радиусов, при которых при заданных параметрах импульса напряжения на поверхности высоковольтного электрода Емах < 25 кВ/см). Рассматривается крайний случай, когда электрическое поле между плоскими высоковольтным 2 и заземленным 1 электродами, которые изображены на фиг. 2 как прямые линии, однородное. Поскольку длина t инициатора 3 импульсного стримерного коронного разряда намного меньше, чем расстояние d между заземленным 1 и высоковольтным 2 электродами, то для расчетов оптимальных параметров инициатора 3 можно использовать формулу для распределения электрического поля в промежутке полуэллипсоид вращения между двух плоскостей, как изображено на фиг. 2. На фиг. 2 инициатор 3 в форме полуэллипсоида вращения с большой полуосью t, малой полуосью q и фокусом c эллипсоида вращения, образующего указанный полуэллипсоид вращения, находится между плоскими заземленным 1 и высоковольтным 2 электродами, отдаленными друг от друга на расстояние d. Выражение (1) позволяет рассчитать напряженность электрического поля E(t) в точке, удаленной на расстояние Δх для данной геометрии в зависимости от значений t, q, Up, d: E(t) = где c = A(t) = b(t) = c(t) = a(t) = t + Δx B(t) = 0,5 η = t/c. Поскольку для возникновения импульсного стримерного коронного разряда необходима зона с полем Емах> 30 кВ/см протяженностью Δх ≥ 1 мм, то на фиг. 3-6 представлен расчет поля по (3) при Δx = 0,1 см для полуэллипсоидов различной высоты c соотношением полуосей для значений Еср5, 6, 7, 9 кВ/см. Результаты расчетов показывают, что первое условие Емах > 30 кВ/см для Δх = 0,1 см и 5 кВ/см≤Еср<10 кВ/см выполняются для t > 1 см и 0,2 < q/t. Из фиг. 2 следует, что третье условие Ust ≈ Up будет выполняться при t > 1 см и 0,6 < q/t. Таким образом, оптимальными параметрами эллипсоида вращения являются t > 1 см и 0,2 < q/t < 0,6. Если устройства проектируются под определенные значения Up и d в диапазоне 5 кВ/см ≤ Еср < 10 кВ/см, то результаты расчета позволяют определить оптимальные значения параметров полуэллипсоида вращения t = 150/(Up/d)2.5, q = 3dt/Up/d для электродов с радиусом кривизны R > 3 см. Для выполнения условия 4 необходимо, чтобы внедряемый объемный заряд Q от одной коронирующей точки не экранировал соседнюю коронирующую точку. Исходя из имеющихся экспериментальных данных, с каждой коронирующей точки стартуют стримеры с суммарным зарядом ∑Q ≈ Анализ экспериментальных данных показывает, что за счет выполнения инициаторов 3 в форме полуэллипсоидов вращения и правильного выбора значений t, q и S КПД работы существующих устройств импульсного стримерного коронного разряда можно поднять более чем на 20%. Работа заявляемого устройства описана ниже на примере реализации им функции очистки газов от экологически вредных газообразных примесей или обеззараживания воздуха. Загрязненный газ подают в реакторную камеру 4 устройства, после чего при помощи генератора 5 импульсного напряжения генерируют импульсы напряжения наносекундной длительности. При помощи указанных импульсов в пространстве между заземленным электродом 1 и инициаторами 3 импульсного стримерного коронного разряда, расположенными на высоковольтном электроде 2, создают импульсный стримерный коронный разряд, создающий, в свою очередь, низкотемпературную плазму, в результате чего происходит конверсия газообразных примесей в экологически безвредные газы или аэрозоли или обеззараживание воздуха при наличии в нем биологических объектов. Таким образом, разработано электрофизическое устройство для очистки газов от экологически вредных примесей, обеззараживания воздуха и стерилизации при помощи низкотемпературной плазмы, создаваемой импульсными стримерными коронными разрядами, конструктивное исполнение которого обеспечивает достижение технического результата, заключающегося в повышении КПД устройства. Должно быть понятно, что заявляемое электрофизическое устройство, как оно определено в прилагаемой формуле изобретения, не обязательно ограничено конкретными признаками и вариантами осуществления, описанными выше. Напротив, конкретные признаки и варианты осуществления, описанные выше, раскрыты в качестве примеров, реализующих формулу, и другие эквивалентные признаки могут быть охвачены формулой данного изобретения.
, (3)



ln
10-8 Кл. Расчет электрического поля (фиг. 7) от такого заряда показывает, что экранировка практически отсутствует при расстоянии 3 мм от этого заряда до вершины соседнего полуэллипсоида. Таким образом, можно распологать инициаторы 3 импульсных стримерных коронных разрядов в форме полуэллипсоидов вращения на расстоянии S > 3 мм между их вершинами.