патент
№ RU 2731231
МПК A61F13/494

ВПИТЫВАЮЩЕЕ ИЗДЕЛИЕ

Авторы:
МАЦУСИМА, Юта (JP)
Правообладатель:
Номер заявки
2020111424
Дата подачи заявки
26.02.2018
Опубликовано
31.08.2020
Страна
RU
Дата приоритета
15.12.2025
Номер приоритета
Страна приоритета
Как управлять
интеллектуальной собственностью
Чертежи 
7
Реферат

Впитывающее изделие (1) включает в себя впитывающую основную часть (10), включающую в себя впитывающее тело (121) и стенки (50), защищающие от утечки, переднюю поясную часть (20) и заднюю поясную часть (30). Впитывающее тело (121) включает в себя узкую часть (121n), и каждая из стенок (50), защищающих от утечки, включает в себя закрепленные части (55) и поднимающуюся часть (56). Поясная часть (20), расположенная с одной стороны, перекрывается в направлении вверх-вниз узкой частью (121n) с не обращенной к коже стороны узкой части (121n). Адгезив (121На, 121Hb) нанесен на, по меньшей мере, любую одну из той поверхности части (122а) листа, расположенной со стороны, обращенной к коже, и предусмотренной во впитывающей основной части (10), которая расположена со стороны, не обращенной к коже, и той поверхности части (122b) листа, расположенной со стороны, не обращенной к коже, и предусмотренной во впитывающей основной части (10), которая расположена со стороны, обращенной к коже. Нанесение выполнено в зоне, которая находится снаружи узкой части (121n) и выше нижнего конца поясной части (20), расположенной с данной одной стороны. Закрепленные части (55) перекрывают сторону впитывающей основной части (10), обращенную к коже. При использовании точки (121u) пересечения между нижним концом поясной части (20), расположенной с данной одной стороны, и боковым концом (121s) узкой части (121n) в качестве контрольной величины часть (59), в которой начинается подъем поднимающейся части (56), расположена снаружи в направлении влево-вправо по отношению к точке (121u) пересечения. 2 н. и 11 з.п. ф-лы, 11 ил.

Формула изобретения

1. Впитывающее изделие, имеющее направление вверх-вниз, направление влево-вправо и направление вперед-назад, которые пересекаются друг с другом, при этом впитывающее изделие содержит:

впитывающую основную часть, включающую в себя впитывающее тело, часть листа, расположенную со стороны, обращенной к коже, часть листа, расположенную со стороны, не обращенной к коже, и две стенки, защищающие от утечки,

- при этом впитывающее тело имеет полимер со сверхвысокой впитывающей способностью,

- часть листа, расположенная со стороны, обращенной к коже, расположена со стороны впитывающего тела, обращенной к коже,

- часть листа, расположенная со стороны, не обращенной к коже, расположена со стороны впитывающего тела, не обращенной к коже,

- каждая из двух стенок, защищающих от утечки, имеет эластичный элемент стенки, защищающей от утечки;

переднюю поясную часть; и

заднюю поясную часть,

при этом впитывающее тело включает в себя узкую часть, которая имеет боковой конец, определяемый в направлении влево-вправо и имеющий углубленную часть,

каждая из стенок, защищающих от утечки, включает в себя закрепленную часть и поднимающуюся часть,

- при этом закрепленная часть не способна подниматься по направлению к стороне кожи,

- поднимающаяся часть выполнена с возможностью подъема по направлению к стороне кожи, вне передней поясной части и задней поясной части,

- не обращенная к коже сторона узкой части перекрывает, по меньшей мере, расположенную с одной стороны поясную часть, расположенную с одной стороны,

- по меньшей мере, расположенная с одной стороны поясная часть перекрывается в направлении вверх-вниз по меньшей мере частью узкой части,

адгезив нанесен на, по меньшей мере, любую одну из поверхности части листа, расположенной со стороны, обращенной к коже, которая расположена со стороны, не обращенной к коже, и поверхности части листа, расположенной со стороны, не обращенной к коже, которая расположена со стороны, обращенной к коже,

- при этом нанесение выполнено в зоне, которая находится снаружи узкой части и выше нижнего конца поясной части, расположенной с одной стороны,

по меньшей мере часть закрепленной части перекрывается со стороной впитывающего тела, обращенной к коже,

при использовании пересечения между нижним концом поясной части, расположенного с одной стороны, и боковым концом узкой части в качестве контрольного значения

- часть, в которой начинается подъем поднимающейся части, расположена снаружи в направлении влево-вправо по отношению к пересечению.

2. Впитывающее изделие по п.1, в котором

поясная часть, расположенная с данной одной стороны, имеет поясной эластичный элемент, который проходит в направлении влево-вправо, и

по меньшей мере часть поясного эластичного элемента расположена по обе стороны бокового конца узкой части в направлении влево-вправо.

3. Впитывающее изделие по п.2, в котором

по меньшей мере часть поясного эластичного элемента перекрещивается с эластичным элементом стенки, защищающей от утечки.

4. Впитывающее изделие по п.1, в котором

поясная часть, расположенная с данной одной стороны, имеет поясной эластичный элемент, который проходит в направлении влево-вправо, и

в растянутом состоянии, в котором поясной эластичный элемент и эластичный элемент стенки, защищающей от утечки, растянуты,

- для верхнего конца углубленной части, который представляет собой верхний конец расположенной с данной одной стороны и углубленной части бокового конца, имеет место то, что

- поясной эластичный элемент, который расположен ниже верхнего конца углубленной части, не находится внутри в направлении влево-вправо по отношению к верхним концам углубленных частей, когда верхний конец углубленной части используется в качестве контрольной величины.

5. Впитывающее изделие по любому из пп.1-4, в котором

в растянутом состоянии, в котором эластичный элемент стенки, защищающей от утечки, растянут,

- для верхнего конца углубленной части, который представляет собой верхний конец расположенной с данной одной стороны и углубленной части бокового конца, имеет место то, что

- расстояние в направлении вверх-вниз от верхнего конца углубленной части до нижнего конца поясной части, расположенной с данной одной стороны,

- длиннее, чем

- расстояние в направлении влево-вправо от верхнего конца углубленной части до пересечения между нижним концом поясной части, расположенной с одной стороны, и боковыми концами.

6. Впитывающее изделие по любому из пп.1-5, в котором

в растянутом состоянии, в котором эластичный элемент стенки, защищающей от утечки, растянут,

- для верхнего конца углубленной части, который представляет собой верхний конец расположенной с данной одной стороны и углубленной части бокового конца, имеет место то, что

- участок бокового конца имеет наклон относительно направления вверх-вниз, при этом данный участок бокового конца расположен между верхним концом углубленной части и нижним концом поясной части, расположенной с данной одной стороны.

7. Впитывающее изделие по любому из пп.1-6, в котором

на данной одной стороне верхний конец узкой части расположен ниже нижнего конца закрепленной части.

8. Впитывающее изделие по любому из пп.1-7, в котором

в растянутом состоянии, в котором эластичный элемент стенки, защищающей от утечки, растянут,

- внутренний конец каждой из стенок, защищающих от утечки, расположен внутри в направлении влево-вправо по отношению к данной точке пересечения.

9. Впитывающее изделие по любому из пп.1-8, в котором

в растянутом состоянии, в котором эластичный элемент стенки, защищающей от утечки, растянут,

- каждая из стенок, защищающих от утечки, имеет адгезионную часть для предотвращения подъема закрепленной части по направлению к стороне кожи, и

- адгезионная часть расположена внутри по отношению к боковым концам впитывающего тела.

10. Впитывающее изделие по любому из пп.1-9, в котором

в растянутом состоянии, в котором эластичный элемент стенки, защищающей от утечки, растянут,

- каждая из стенок, защищающих от утечки, имеет адгезионную часть для предотвращения подъема закрепленной части по направлению к стороне кожи, и

- площадь адгезионных частей больше площади закрепленных частей за вычетом площади адгезионных частей.

11. Впитывающее изделие по любому из пп.1-10, в котором

поясная часть, расположенная с данной одной стороны, имеет множество поясных эластичных элементов, которые проходят в направлении влево-вправо, и

в растянутом состоянии, в котором поясные эластичные элементы и эластичный элемент стенки, защищающей от утечки, растянуты,

- для первого поясного эластичного элемента, который представляет собой один из множества поясных эластичных элементов и который расположен наиболее низко в поясной части, расположенной с данной одной стороны, и

- для второго поясного эластичного элемента, который представляет собой один из множества поясных эластичных элементов и который является соседним в вертикальном направлении по отношению к первому поясному эластичному элементу, имеет место то, что

- расстояние от нижнего конца поясной части, расположенной с данной одной стороны, до первого поясного эластичного элемента длиннее, чем расстояние между первым поясным эластичным элементом и вторым поясным эластичным элементом.

12. Впитывающее изделие по любому из пп.1-11, в котором

в растянутом состоянии, в котором эластичный элемент стенки, защищающей от утечки, растянут,

- эластичный элемент стенки, защищающей от утечки, включает в себя первый эластичный элемент стенки, защищающей от утечки, и второй эластичный элемент стенки, защищающей от утечки, в поднимающихся частях, и

- первый эластичный элемент стенки, защищающей от утечки, и второй эластичный элемент стенки, защищающей от утечки, отделены друг от друга.

13. Впитывающее изделие, имеющее направление вверх-вниз, направление влево-вправо и направление вперед-назад, которые пересекаются друг с другом, при этом впитывающее изделие содержит:

впитывающую основную часть, включающую в себя впитывающее тело, часть листа, расположенную со стороны, обращенной к коже, часть листа, расположенную со стороны, не обращенной к коже, и две стенки, защищающие от утечки,

- при этом впитывающее тело имеет полимер со сверхвысокой впитывающей способностью,

- часть листа, расположенная со стороны, обращенной к коже, расположена со стороны впитывающего тела, обращенной к коже,

- часть листа, расположенная со стороны, не обращенной к коже, расположена со стороны впитывающего тела, не обращенной к коже,

- каждая из двух стенок, защищающих от утечки, имеет эластичный элемент стенки, защищающей от утечки;

переднюю поясную часть; и

заднюю поясную часть,

при этом впитывающее тело включает в себя узкую часть, которая имеет боковой конец, определяемый в направлении влево-вправо и имеющий углубленную часть,

каждая из стенок, защищающих от утечки, включает в себя закрепленную часть и поднимающуюся часть,

- при этом закрепленная часть не способна подниматься по направлению к стороне кожи,

- поднимающаяся часть выполнена с возможностью подъема по направлению к стороне кожи, вне передней поясной части и задней поясной части;

- не обращенная к коже сторона узкой части перекрывает, по меньшей мере, расположенную с одной стороны поясную часть, расположенную с одной стороны,

- по меньшей мере, расположенная с данной одной стороны поясная часть перекрывается в направлении вверх-вниз по меньшей мере частью узкой части,

по меньшей мере часть закрепленной части перекрывает сторону впитывающего тела, обращенную к коже,

поясная часть, расположенная с данной одной стороны, имеет поясной эластичный элемент, который проходит в направлении влево-вправо,

при использовании пересечения между нижним концом поясной части, расположенной с данной одной стороны, и боковым концом узкой части в качестве контрольной величины

- часть, в которой начинается подъем поднимающейся части, расположена снаружи в направлении влево-вправо по отношению к данному пересечению,

по меньшей мере часть поясного эластичного элемента расположена по обе стороны бокового конца узкой части в направлении влево-вправо.

Описание

[1]

[Область техники, к которой относится изобретение]

[2]

[0001]

[3]

Настоящее изобретение относится к впитывающему изделию.

[4]

[Предшествующий уровень техники]

[5]

[0002]

[6]

Традиционно известны впитывающие изделия, такие как натягиваемые одноразовые подгузники. Существует стремление уменьшить стоимость впитывающих изделий, и одним способом снижения стоимости впитывающего изделия является, например, способ уменьшения поверхностной плотности впитывающих жидкость волокон (например, целлюлозных волокон) впитывающего тела (впитывающей сердцевины). Например, в качестве одного примера в патентном литературном источнике 1 раскрыто техническое решение, заключающееся в выполнении суженной части 5с во впитывающей сердцевине 5 натягиваемого одноразового подгузника 1 для уменьшения размера скопления волокон, таких как целлюлозные волокна, во впитывающей сердцевине 5.

[7]

[Перечень ссылок]

[8]

[Патентная литература]

[9]

[0003]

[10]

[Патентный литературный источник 1] Публикация заявки на патент Японии № 2013-13683

[11]

[Сущность изобретения]

[12]

[Техническая проблема]

[13]

[0004]

[14]

Однако при использовании натягиваемого одноразового подгузника 1 по патентному литературному источнику 1 существуют ситуации, когда выделения не могут быть в достаточной степени впитаны впитывающей сердцевиной 5, которая имеет уменьшенное количество волокон, впитывающих жидкости, и существует риск утечки выделений из натягиваемого одноразового подгузника 1.

[15]

[0005]

[16]

Настоящее изобретение было сделано с учетом традиционных проблем, таких как описанные выше, и задача настоящего изобретения состоит в уменьшении количества волокон, впитывающих жидкости, или тому подобного во впитывающем теле при одновременном дополнительном снижении также риска утечки выделений из впитывающего изделия.

[17]

[Решение проблемы]

[18]

[0006]

[19]

Основным аспектом настоящего изобретения, обеспечивающим решение вышеописанной задачи, является впитывающее изделие, имеющее направление вверх-вниз, направление влево-вправо и направление вперед-назад, которые пересекаются друг с другом,

[20]

при этом впитывающее изделие включает в себя:

[21]

впитывающую основную часть, включающую в себя впитывающее тело, часть листа, расположенную со стороны, обращенной к коже, часть листа, расположенную со стороны, не обращенной к коже, и две стенки, защищающие от утечки,

[22]

- при этом впитывающее тело имеет полимер со сверхвысокой впитывающей способностью,

[23]

- часть листа, расположенная со стороны, обращенной к коже, расположена со стороны впитывающего тела, обращенной к коже,

[24]

- часть листа, расположенная со стороны, не обращенной к коже, расположена со стороны впитывающего тела, не обращенной к коже,

[25]

- каждая из двух стенок, защищающих от утечки, имеет эластичный элемент стенки, защищающей от утечки;

[26]

переднюю поясную часть; и

[27]

заднюю поясную часть,

[28]

при этом впитывающее тело включает в себя узкую часть, которая имеет боковой конец, определяемый в направлении влево-вправо и имеющий углубленную часть,

[29]

каждая из стенок, защищающих от утечки, включает в себя закрепленную часть и поднимающуюся часть,

[30]

- при этом закрепленная часть не может подниматься по направлению к стороне кожи,

[31]

- поднимающаяся часть выполнена с возможностью подъема по направлению к стороне кожи, вне передней поясной части и задней поясной части,

[32]

- не обращенная к коже сторона узкой части перекрывает, по меньшей мере, расположенную с одной стороны, поясную часть, расположенную с одной стороны,

[33]

- по меньшей мере, расположенная с одной стороны, поясная часть перекрывается в направлении вверх-вниз, по меньшей мере, частью узкой части,

[34]

адгезив нанесен на, по меньшей мере, любую одну из той поверхности части листа, расположенной со стороны, обращенной к коже, которая расположена со стороны, не обращенной к коже, и той поверхности части листа, расположенной со стороны, не обращенной к коже, которая расположена со стороны, обращенной к коже,

[35]

- при этом нанесение выполнено в зоне, которая находится снаружи узкой части и выше нижнего конца поясной части, расположенной с данной одной стороны,

[36]

по меньшей мере, часть закрепленной части перекрывает сторону впитывающего тела, обращенную к коже,

[37]

при использовании точки пересечения между нижним концом поясной части, расположенной с данной одной стороны, и боковым концом узкой части в качестве контрольной величины

[38]

- часть, в которой начинается подъем поднимающейся части, расположена снаружи в направлении влево-вправо по отношению к данной точке пересечения.

[39]

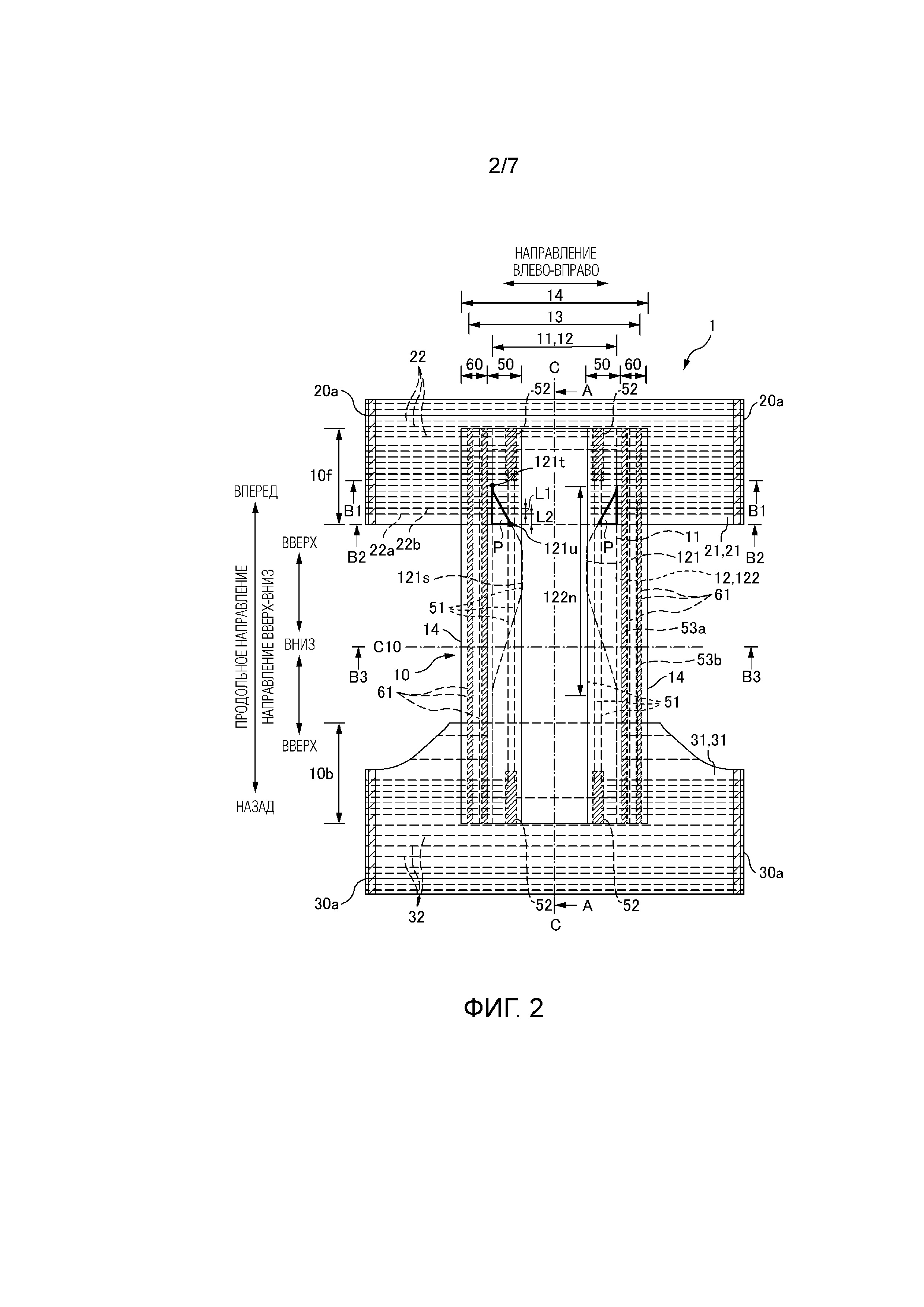
Признаки настоящего изобретения, отличные от вышеуказанных, станут очевидными при чтении описания в настоящем описании со ссылкой на сопровождающие чертежи.

[40]

[Предпочтительные эффекты от изобретения]

[41]

[0007]

[42]

В соответствии с конструкцией данного впитывающего изделия с формой трусов даже при впитывании выделений впитывающим телом, имеющим узкую часть в зоне, в которой впитывающая основная часть и поясная часть перекрываются друг с другом в направлении толщины, существует возможность снижения риска утечки выделений из впитывающего изделия.

[43]

[Краткое описание чертежей]

[44]

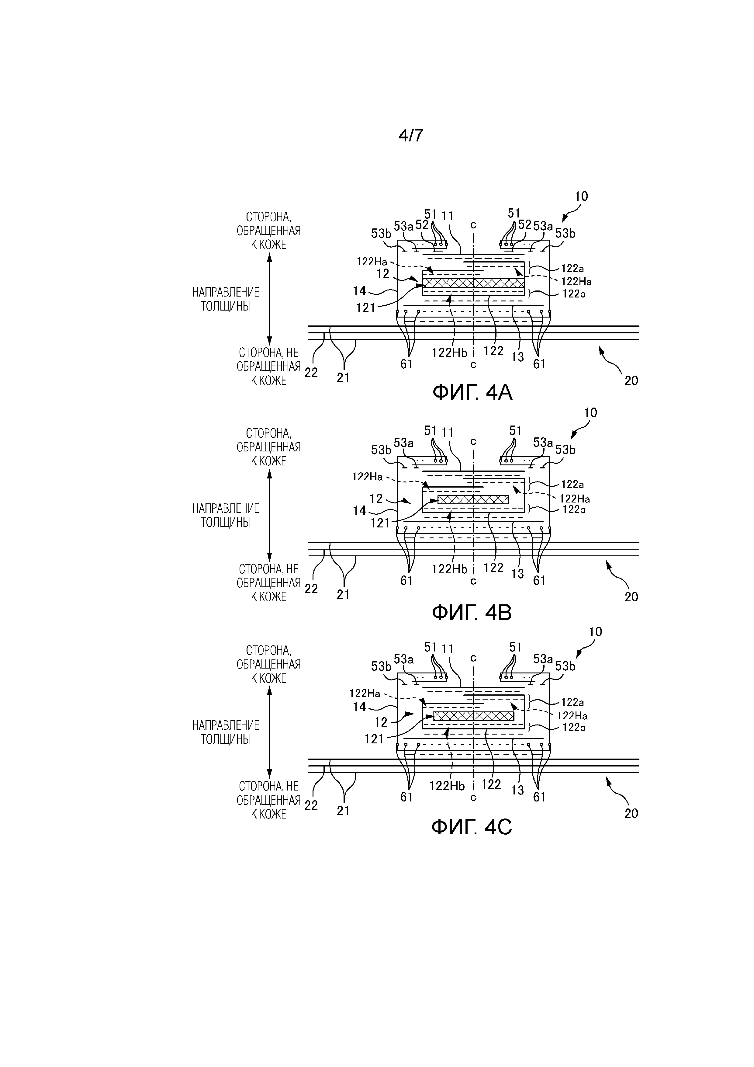
[0008]

[45]

Фиг.1 представляет собой схематический вид в перспективе натягиваемого одноразового подгузника 1.

[46]

Фиг.2 представляет собой схематический вид в плане подгузника 1 в расправленном и растянутом состоянии, если смотреть со стороны поверхности, обращенной к коже.

[47]

Фиг.3 представляет собой схематический вид в разрезе, выполненном по линии А-А на фиг.2.

[48]

Фиг.4А представляет собой схематический вид в разрезе, выполненном по линии В1-В1 на фиг.2.

[49]

Фиг.4В представляет собой схематический вид в разрезе, выполненном по линии В2-В2 на фиг.2.

[50]

Фиг.4С представляет собой схематический вид в разрезе, выполненном по линии В3-В3 на фиг.2.

[51]

Фиг.5 представляет собой схематическое изображение, иллюстрирующее конфигурацию на схематическом виде в плане по фиг.2.

[52]

Фиг.6А представляет собой схематическое изображение, иллюстрирующее способ формирования впитывающей основной части 10 и частей 60, размещаемых вокруг ног.

[53]

Фиг.6В представляет собой схематический вид в разрезе, выполненном по линии D-D на фиг.6А.

[54]

Фиг.7А представляет собой иллюстративное схематическое изображение, иллюстрирующее состояния до и после впитывания выделений впитывающей основной частью 10 в зоне, обозначенной линией В1-В1 на фиг.2.

[55]

Фиг.7В представляет собой иллюстративное схематическое изображение, иллюстрирующее состояния до и после впитывания выделений впитывающей основной частью 10 в зоне, обозначенной линией В2-В2 на фиг.2.

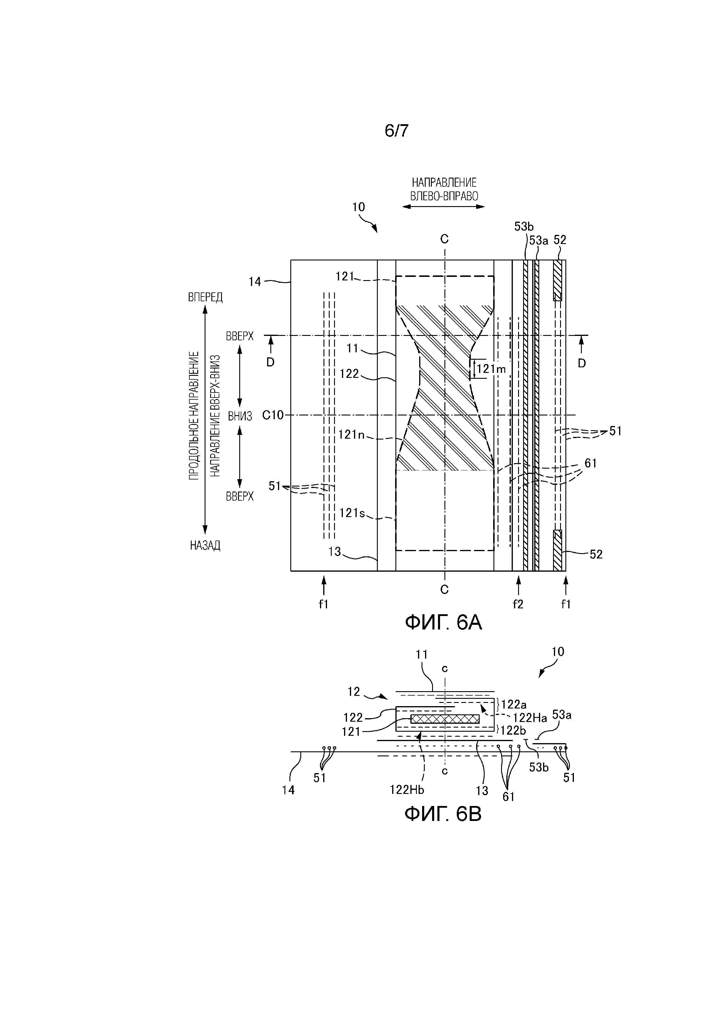
[56]

[Описание вариантов осуществления]

[57]

[0009]

[58]

По меньшей мере, нижеследующие объекты станут ясными посредством описания в данном описании и приложенных чертежей.

[59]

Впитывающее изделие, имеющее направление вверх-вниз, направление влево-вправо и направление вперед-назад, которые пересекаются друг с другом,

[60]

при этом впитывающее изделие включает в себя:

[61]

впитывающую основную часть, включающую в себя впитывающее тело, часть листа, расположенную со стороны, обращенной к коже, часть листа, расположенную со стороны, не обращенной к коже, и две стенки, защищающие от утечки,

[62]

- при этом впитывающее тело имеет полимер со сверхвысокой впитывающей способностью,

[63]

- часть листа, расположенная со стороны, обращенной к коже, расположена со стороны впитывающего тела, обращенной к коже,

[64]

- часть листа, расположенная со стороны, не обращенной к коже, расположена со стороны впитывающего тела, не обращенной к коже,

[65]

- каждая из двух стенок, защищающих от утечки, имеет эластичный элемент стенки, защищающей от утечки;

[66]

переднюю поясную часть; и

[67]

заднюю поясную часть,

[68]

при этом впитывающее тело включает в себя узкую часть, которая имеет боковой конец, определяемый в направлении влево-вправо и имеющий углубленную часть,

[69]

каждая из стенок, защищающих от утечки, включает в себя закрепленную часть и поднимающуюся часть,

[70]

- при этом закрепленная часть не может подниматься по направлению к стороне кожи,

[71]

- поднимающаяся часть выполнена с возможностью подъема по направлению к стороне кожи, из передней поясной части и задней поясной части

[72]

- не обращенная к коже сторона узкой части перекрывает, по меньшей мере, расположенную с одной стороны, поясную часть, расположенную с одной стороны,

[73]

- по меньшей мере, расположенная с данной одной стороны, поясная часть перекрывается в направлении вверх-вниз, по меньшей мере, частью узкой части,

[74]

адгезив нанесен на, по меньшей мере, любую одну из той поверхности части листа, расположенной со стороны, обращенной к коже, которая расположена со стороны, не обращенной к коже, и той поверхности части листа, расположенной со стороны, не обращенной к коже, которая расположена со стороны, обращенной к коже,

[75]

- при этом нанесение выполнено в зоне, которая находится снаружи узкой части и выше нижнего конца поясной части, расположенной с данной одной стороны,

[76]

по меньшей мере, часть закрепленной части перекрывает сторону впитывающего тела, обращенную к коже,

[77]

при использовании точки пересечения между нижним концом поясной части, расположенной с данной одной стороны, и боковым концом узкой части в качестве контрольной величины

[78]

- часть, в которой начинается подъем поднимающейся части, расположена снаружи в направлении влево-вправо по отношению к данной точке пересечения.

[79]

[0010]

[80]

В соответствии с конструкцией данного впитывающего изделия с формой трусов даже при впитывании выделений впитывающим телом, имеющим узкую часть в зоне, в которой впитывающая основная часть и поясная часть перекрываются друг с другом в направлении толщины, существует возможность снижения риска утечки выделений из впитывающего изделия.

[81]

[0011]

[82]

В таком впитывающем изделии желательно,

[83]

чтобы поясная часть, расположенная с данной одной стороны, имела поясной эластичный элемент, который проходит в направлении влево-вправо, и

[84]

чтобы, по меньшей мере, часть поясного эластичного элемента была расположена по обе стороны бокового конца узкой части в направлении влево-вправо.

[85]

[0012]

[86]

В соответствии с конструкцией данного впитывающего изделия можно уменьшить риск того, что относительно жесткая впитывающая основная часть будет сгибаться так, что она будет выступать в сторону, не обращенную к коже, в части, приблизительно центральной в направлении влево-вправо, и сделать более вероятным прилегание впитывающей основной части к телу носителя.

[87]

[0013]

[88]

В таком впитывающем изделии желательно, чтобы,

[89]

по меньшей мере, часть поясного эластичного элемента перекрещивалась с эластичным элементом стенки, защищающей от утечки.

[90]

[0014]

[91]

В соответствии с конструкцией данного впитывающего изделия можно дополнительно уменьшить риск того, что относительно жесткая впитывающая основная часть будет сгибаться так, что она будет выступать в сторону, не обращенную к коже, в части, приблизительно центральной в направлении влево-вправо, и сделать более вероятным прилегание впитывающей основной части к телу носителя.

[92]

[0015]

[93]

В таком впитывающем изделии желательно,

[94]

чтобы поясная часть, расположенная с данной одной стороны, имела поясной эластичный элемент, который проходит в направлении влево-вправо, и

[95]

чтобы в растянутом состоянии, в котором поясной эластичный элемент и эластичный элемент стенки, защищающей от утечки, растянуты,

[96]

- для верхнего конца углубленной части, который представляет собой верхний конец расположенной с данной одной стороны и углубленной части бокового конца, имело место то, что

[97]

-- поясной эластичный элемент, который расположен ниже верхнего конца углубленной части, не будет находиться внутри в направлении влево-вправо по отношению к верхним концам углубленных частей, когда верхний конец углубленной части используется в качестве контрольной величины.

[98]

[0016]

[99]

В соответствии с конструкцией данного впитывающего изделия границы зон (в дальнейшем также называемых «зонами предотвращения утечки») определяются поднимающимся частями со стороны, наружной в направлении влево-вправо, и узкой частью со стороны, внутренней в направлении влево-вправо, и определяются поднимающимися частями со стороны, обращенной к коже, и расположенной с данной одной стороны, поясной частью со стороны, не обращенной к коже, и существует возможность уменьшения риска того, что данные зоны будут сплющиваться и не смогут больше удерживать выделения.

[100]

[0017]

[101]

В таком впитывающем изделии желательно, чтобы

[102]

в растянутом состоянии, в котором эластичный элемент стенки, защищающей от утечки, растянут,

[103]

- для верхнего конца углубленной части, который представляет собой верхний конец расположенной с данной одной стороны и углубленной части бокового конца, имело место то, что

[104]

-- расстояние в направлении вверх-вниз от верхнего конца углубленной части до нижнего конца поясной части, расположенной с данной одной стороны,

[105]

-- будет длиннее, чем

[106]

-- расстояние в направлении влево-вправо от верхнего конца углубленной части до точки пересечения между нижним концом поясной части, расположенной с данной одной стороны, и боковыми концами.

[107]

[0018]

[108]

В соответствии с конструкцией данного впитывающего изделия можно уменьшить риск того, что выделения, удерживаемые в зоне предотвращения утечки, будут вытекать по направлению к промежности носителя.

[109]

[0019]

[110]

В таком впитывающем изделии желательно, чтобы

[111]

в растянутом состоянии, в котором эластичный элемент стенки, защищающей от утечки, растянут,

[112]

- для верхнего конца углубленной части, который представляет собой верхний конец расположенной с данной одной стороны и углубленной части бокового конца, имело место то, что

[113]

-- участок бокового конца будет иметь наклон относительно направления вверх-вниз, при этом данный участок бокового конца расположен между верхним концом углубленной части и нижним концом поясной части, расположенной с данной одной стороны.

[114]

[0020]

[115]

В соответствии с конструкцией данного впитывающего изделия в зоне предотвращения утечки длина бокового конца впитывающего тела больше, чем в случае, когда боковой конец впитывающего тела параллелен направлению вверх-вниз. Это обеспечивает возможность увеличения площади контакта между выделениями и впитывающим телом и, следовательно, более легкого впитывания выделений.

[116]

[0021]

[117]

В таком впитывающем изделии желательно, чтобы

[118]

на данной одной стороне верхний конец узкой части был расположен ниже нижнего конца закрепленной части.

[119]

[0022]

[120]

В соответствии с конструкцией данного впитывающего изделия размер зон предотвращения утечки может увеличиться при увеличении объема впитывающего тела вследствие впитывания выделений.

[121]

[0023]

[122]

В таком впитывающем изделии желательно,

[123]

чтобы в растянутом состоянии, в котором эластичный элемент стенки, защищающей от утечки, растянут,

[124]

- внутренний конец каждой из стенок, защищающих от утечки, был расположен внутри в направлении влево-вправо по отношению к данной точке пересечения.

[125]

[0024]

[126]

В соответствии с конструкцией данного впитывающего изделия стенка, защищающая от утечки, закрывает впитывающее тело вплоть до места, которое находится снаружи в направлении влево-вправо по отношению к концам впитывающего тела. Это обеспечивает возможность уменьшения риска утечки выделений, впитанных впитывающим телом, из впитывающего изделия.

[127]

[0025]

[128]

В таком впитывающем изделии желательно, чтобы

[129]

в растянутом состоянии, в котором эластичный элемент стенки, защищающей от утечки, растянут,

[130]

- каждая из стенок, защищающих от утечки, имела адгезионную часть для предотвращения подъема закрепленной части по направлению к стороне кожи, и

[131]

- адгезионная часть была расположена внутри по отношению к боковым концам впитывающего тела.

[132]

[0026]

[133]

В соответствии с конструкцией данного впитывающего изделия зоны предотвращения утечки могут быть образованы легче при увеличении объема впитывающего тела вследствие впитывания выделений.

[134]

[0027]

[135]

В таком впитывающем изделии желательно, чтобы

[136]

в растянутом состоянии, в котором эластичный элемент стенки, защищающей от утечки, растянут,

[137]

- каждая из стенок, защищающих от утечки, имела адгезионную часть для предотвращения подъема закрепленной части по направлению к стороне кожи, и

[138]

- площадь адгезионных частей была больше площади закрепленных частей за вычетом площади адгезионных частей.

[139]

[0028]

[140]

В соответствии с конструкцией данного впитывающего изделия зоны предотвращения утечки могут быть образованы легче при увеличении объема впитывающего тела вследствие впитывания выделений по сравнению со случаем, в котором площадь адгезионных частей меньше площади закрепленных частей за вычетом площади адгезионных частей.

[141]

[0029]

[142]

В таком впитывающем изделии желательно,

[143]

чтобы поясная часть, расположенная с данной одной стороны, имела множество поясных эластичных элементов, которые проходят в направлении влево-вправо, и

[144]

чтобы в растянутом состоянии, в котором поясные эластичные элементы и эластичный элемент стенки, защищающей от утечки, растянуты,

[145]

- для первого поясного эластичного элемента, который представляет собой один из множества поясных эластичных элементов и который расположен наиболее низко в поясной части, расположенной с данной одной стороны, и

[146]

- для второго поясного эластичного элемента, который представляет собой один из множества поясных эластичных элементов и который является соседним в вертикальном направлении по отношению к первому поясному эластичному элементу, имело место то, что

[147]

-- расстояние от нижнего конца поясной части, расположенной с данной одной стороны, до первого поясного эластичного элемента будет длиннее, чем расстояние между первым поясным эластичным элементом и вторым поясным эластичным элементом.

[148]

[0030]

[149]

В соответствии с конструкцией данного впитывающего изделия расстояние от нижнего конца поясной части, расположенной с данной одной стороны, до первого поясного эластичного элемента длиннее, чем расстояние между первым поясным эластичным элементом и вторым поясным эластичным элементом, и поэтому выделения могут легче поступать в зону предотвращения утечки. С другой стороны, более короткое расстояние между первым поясным эластичным элементом и вторым поясным эластичным элементом также обеспечивает возможность дополнительного уменьшения риска утечки выделений, находящихся в зоне предотвращения утечки.

[150]

[0031]

[151]

В таком впитывающем изделии желательно, чтобы

[152]

в растянутом состоянии, в котором эластичный элемент стенки, защищающей от утечки, растянут,

[153]

- эластичный элемент стенки, защищающей от утечки, включал в себя первый эластичный элемент стенки, защищающей от утечки, и второй эластичный элемент стенки, защищающей от утечки, в поднимающихся частях, и

[154]

- первый эластичный элемент стенки, защищающей от утечки, и второй эластичный элемент стенки, защищающей от утечки, были отделены друг от друга.

[155]

[0032]

[156]

В соответствии с конструкцией данного впитывающего изделия множество эластичных элементов стенки, защищающей от утечки, которые предусмотрены в отдельных местах, увеличивают вероятность того, что стенки, защищающие от утечки, будут находиться в поверхностном контакте с кожей носителя, когда эластичные элементы стенок, защищающих от утечки, находятся в поднятом состоянии, что обеспечивает возможность улучшения текстуры кожи.

[157]

[0033]

[158]

Впитывающее изделие, имеющее направление вверх-вниз, направление влево-вправо и направление вперед-назад, которые пересекаются друг с другом,

[159]

при этом впитывающее изделие включает в себя:

[160]

впитывающую основную часть, включающую в себя впитывающее тело, часть листа, расположенную со стороны, обращенной к коже, часть листа, расположенную со стороны, не обращенной к коже, и две стенки, защищающие от утечки,

[161]

- при этом впитывающее тело имеет полимер со сверхвысокой впитывающей способностью,

[162]

- часть листа, расположенная со стороны, обращенной к коже, расположена со стороны впитывающего тела, обращенной к коже,

[163]

- часть листа, расположенная со стороны, не обращенной к коже, расположена со стороны впитывающего тела, не обращенной к коже,

[164]

- каждая из двух стенок, защищающих от утечки, имеет эластичный элемент стенки, защищающей от утечки;

[165]

переднюю поясную часть; и

[166]

заднюю поясную часть,

[167]

при этом впитывающее тело включает в себя узкую часть, которая имеет боковой конец, определяемый в направлении влево-вправо и имеющий углубленную часть,

[168]

каждая из стенок, защищающих от утечки, включает в себя закрепленную часть и поднимающуюся часть,

[169]

- при этом закрепленная часть не может подниматься по направлению к стороне кожи,

[170]

- поднимающаяся часть выполнена с возможностью подъема по направлению к стороне кожи, из передней поясной части и задней поясной части

[171]

- не обращенная к коже сторона узкой части перекрывает, по меньшей мере, расположенную с одной стороны, поясную часть из передней поясной части и задней поясной части, расположенную с одной стороны,

[172]

- по меньшей мере, расположенная с данной одной стороны, поясная часть перекрывается в направлении вверх-вниз, по меньшей мере, частью узкой части,

[173]

по меньшей мере, часть закрепленной части перекрывает сторону впитывающего тела, обращенную к коже,

[174]

поясная часть, расположенная с данной одной стороны, имеет поясной эластичный элемент, который проходит в направлении влево-вправо,

[175]

при использовании точки пересечения между нижним концом поясной части, расположенной с данной одной стороны, и боковым концом узкой части в качестве контрольной величины

[176]

- часть, в которой начинается подъем поднимающейся части, расположена снаружи в направлении влево-вправо по отношению к данной точке пересечения,

[177]

по меньшей мере, часть поясного эластичного элемента расположена по обе стороны бокового конца узкой части в направлении влево-вправо.

[178]

[0034]

[179]

В соответствии с конструкцией данного впитывающего изделия с формой трусов даже при впитывании выделений впитывающим телом, имеющим узкую часть в зоне, в которой впитывающая основная часть и поясная часть перекрываются друг с другом в направлении толщины, существует возможность снижения риска утечки выделений из впитывающей основной части.

[180]

[0035]

[181]

Варианты осуществления

[182]

Ниже описаны варианты осуществления впитывающего изделия согласно настоящему изобретению на примере «натягиваемого одноразового подгузника». Натягиваемый одноразовый подгузник по представленному варианту осуществления может быть использован для младенцев или взрослых людей. Кроме того, помимо одноразового подгузника впитывающее изделие с формой трусов согласно настоящему изобретению может представлять собой, например, гигиеническую прокладку типа трусиков.

[183]

[0036]

[184]

Базовая конфигурация натягиваемого одноразового подгузника

[185]

Фиг.1 представляет собой схематический вид в перспективе натягиваемого одноразового подгузника 1 (в дальнейшем также называемого «подгузником 1»). Фиг.2 представляет собой схематический вид в плане подгузника 1 в расправленном и растянутом состоянии, если смотреть со стороны поверхности, обращенной к коже. Фиг.3 представляет собой схематический вид в разрезе, выполненном по линии А-А на фиг.2. «Расправленное/разложенное состояние» представляет собой состояние, в котором боковые части 20а передней поясной части 20 (также называемой «поясной частью, размещаемой со стороны живота») и боковые части 30а задней поясной части 30 (также называемой «поясной частью, размещаемой со стороны спины»), расположенные на двух боковых сторонах подгузника 1, отделены друг от друга и раскрыты для размещения всего подгузника 1 в плоско разложенном состоянии. «Растянутое состояние» представляет собой состояние, при котором эластичные элементы, предусмотренные в подгузнике 1, растянуты так, что складки невозможно больше увидеть в подгузнике 1. В частности, это состояние, при котором подгузник 1 растянут так, что размеры его составляющих элементов (например, описанной позднее, передней поясной части 20) соответствуют размерам таких элементов как отдельных элементов самих по себе или близки к данным размерам. Линия С-С на фиг.2 представляет собой линию, центральную в направлении влево-вправо. Адгезив не показан на фиг.3 для удобства.

[186]

[0037]

[187]

Как показано на фиг.1, натягиваемый подгузник 1 имеет направление вверх-вниз, направление влево-вправо и направление вперед-назад, и подгузник 1 имеет отверстие ВН для талии и два отверстия LH для ног. В направлении вверх-вниз сторона отверстия ВН для талии представляет собой верхнюю сторону, и сторона, соответствующая промежности носителя, представляет собой нижнюю сторону. Направление вверх-вниз подгузника 1 в состоянии по фиг.2 (расправленном и растянутом состоянии) будет также упоминаться как «продольное направление», одна сторона и другая сторона в продольном направлении будут также упоминаться соответственно как «передняя сторона» и «задняя сторона», и сторона, соответствующая стороне части С10, приблизительно центральной в продольном направлении, будет также названа «нижней стороной». В направлении вперед-назад сторона, соответствующая животу носителя, представляет собой переднюю сторону, и сторона, соответствующая спине носителя, представляет собой заднюю сторону. Подгузник 1 также имеет направление толщины, показанное на фиг.3, и та сторона в направлении толщины, которая входит в контакт с носителем, представляет собой сторону, обращенную к коже, и сторона, противоположная ей, представляет собой сторону, не обращенную к коже.

[188]

[0038]

[189]

Подгузник 1 представляет собой подгузник так называемого трехкомпонентного типа и имеет впитывающую основную часть 10, переднюю поясную часть 20 и заднюю поясную часть 30. Передняя поясная часть 20 закрывает зону живота носителя, и задняя поясная часть 30 закрывает зону спины носителя. Впитывающая основная часть 10 является приблизительно прямоугольной на виде в плане. Как показано на фиг.3, передняя верхняя концевая часть 10f и задняя верхняя концевая часть 10b впитывающей основной части 10 соответственно наложены на поверхности поясных частей 20 и 30, расположенные со стороны, обращенной к коже. Следует отметить, что передняя верхняя концевая часть 10f представляет собой переднюю концевую часть впитывающей основной части 10 и представляет собой часть, которая перекрывает поясную часть 20. Задняя верхняя концевая часть 10b представляет собой расположенную с задней стороны, концевую часть впитывающей основной части 10 и представляет собой часть, которая перекрывает заднюю поясную часть 30. Передняя поясная часть 20 и задняя поясная часть 30 являются приблизительно прямоугольными на виде в плане, и их продольное направление соответствует направлению влево-вправо.

[190]

[0039]

[191]

Как показано в разложенном состоянии на фиг.2, форма подгузника 1 имеет лево-правую симметрию относительно центральной линии С-С. Поверхности передней верхней концевой части 10f и задней верхней концевой части 10b впитывающей основной части 10, расположенные со стороны, не обращенной к коже, присоединяют соответственно к поверхностям поясных частей 20 и 30, расположенным со стороны, обращенной к коже, посредством использования адгезива или тому подобного (не показано). Кроме того, впитывающую основную часть 10, находящуюся в расправленном состоянии, показанном на фиг.2, затем складывают один раз так, чтобы передняя поясная часть 20 и задняя поясная часть 30 оказались расположенными напротив друг друга, и две части 20а передней поясной части 20, боковые в направлении влево-вправо, присоединяют к двум частям 30а задней поясной части 30, боковым в направлении влево-вправо, посредством чего получают натягиваемый подгузник 1.

[192]

[0040]

[193]

Каждая из передней поясной части 20 и задней поясной части 30 включает в себя два мягких листа (21 и 21, 31 и 31), образованных из нетканого материала или тому подобного, и соответственно включает в себя множество поясных эластичных элементов 22 и 32 (эластичных жилок или тому подобного), которые растягиваются и стягиваются в направлении влево-вправо. Поясные эластичные элементы 22 и 32 расположены рядом друг с другом с зазорами между ними в направлении вверх-вниз и закреплены между двумя соответствующими листами (21 и 21, 31 и 31), будучи растянутыми в направлении влево-вправо. Следовательно, передняя поясная часть 20 и задняя поясная часть 30 могут растягиваться и стягиваться в направлении влево-вправо и прилегать к талии носителя.

[194]

[0041]

[195]

Фиг.4А представляет собой схематический вид в разрезе, выполненном по линии В1-В1 на фиг.2. Фиг.4В представляет собой схематический вид в разрезе, выполненном по линии В2-В2 на фиг.2. Фиг.4С представляет собой схематический вид в разрезе, выполненном по линии В3-В3 на фиг.2. На фиг.4А, 4В и 4С размеры элементов были при необходимости изменены для облегчения понимания конфигурации по отношению к направлению толщины. Как показано на фиг.4А, 4В и 4С, впитывающая основная часть 10 включает в себя верхний лист 11, комплект 12 с впитывающим телом, задний лист 13 и наружный лист 14, расположенные в данном порядке от стороны, обращенной к коже, в направлении толщины, и эти элементы склеены посредством использования адгезива, такого как термоплавкий адгезив. Верхний лист 11 может представлять собой проницаемый для жидкостей лист любого типа, и его примеры включают лист гидрофильного нетканого материала, скрепленного пропусканием воздуха насквозь, и лист фильерного нетканого материала. Задний лист 13 может представлять собой не проницаемый для жидкостей лист любого типа, и его примеры включают лист полиэтиленовой пленки, лист полипропиленовой пленки и лист гидрофобного нетканого материала со структурой SMS (слой (S), полученный фильерным способом, - слой (М), полученный аэродинамическим способом из расплава, - слой (S), полученный фильерным способом). Верхний лист 11 и задний лист 13 имеют размер, достаточный для закрывания всего комплекта 12 с впитывающим телом. Наружный лист 14 может представлять собой лист, проницаемый для жидкостей, или лист, не проницаемый для жидкостей, и одним примером его является лист гидрофобного нетканого материала со структурой SMS. Следует отметить, что части 50, представляющие собой стенки, защищающие от утечки, образованы наружным листом 14 в представленном варианте осуществления, и, следовательно, предпочтительно, чтобы наружный лист 14 был образован из материала, не проницаемого для жидкостей.

[196]

[0042]

[197]

Комплект 12 с впитывающим телом является приблизительно прямоугольным на виде в плане и включает в себя впитывающую сердцевину (также называемую просто «впитывающим телом») 121, которая впитывает жидкости, и лист 122 для обертывания сердцевины, который закрывает наружные периферийные поверхности впитывающей сердцевины 121. В качестве одного примера материал, впитывающий жидкости, образован из волокон (например, целлюлозных волокон), которые впитывают жидкости и удерживают полимер со сверхвысокой впитывающей способностью (так называемый SAP). Лист 122 для обертывания сердцевины представляет собой, например, лист, проницаемый для жидкостей, который образован из тонкой бумаги, нетканого материала или тому подобного.

[198]

[0043]

[199]

Лист 122 для обертывания сердцевины имеет адгезивные части 122На, расположенные со стороны, обращенной к коже, которые предусмотрены на части 122а листа, которая расположена со стороны, обращенной к коже, и которая расположена на обращенной к коже стороне впитывающей сердцевины 121, и адгезивные части 122Нb, расположенные со стороны, не обращенной к коже, которые предусмотрены на части 122b листа, которая расположена со стороны, не обращенной к коже, и которая расположена на не обращенной к коже стороне впитывающей сердцевины 121. В представленном варианте осуществления адгезивные части 122На, расположенные со стороны, обращенной к коже, предусмотрены приблизительно на всей протяженности части 122а листа, расположенной со стороны, обращенной к коже, и адгезивные части 122Нb, расположенные со стороны, не обращенной к коже, предусмотрены приблизительно на всей протяженности части 122b листа, расположенной со стороны, не обращенной к коже. Однако необязательно, чтобы данные адгезивные части Ha и Нb были предусмотрены на всей протяженности соответствующих частей 122а и 122b листа. Возможна конфигурация, при которой, по меньшей мере, или часть 122а листа, расположенная со стороны, обращенной к коже, или часть 122b листа, расположенная со стороны, не обращенной к коже, будет предусмотрена с адгезивными частями 122На или 122Нb. Кроме того, в представленном варианте осуществления возможна конфигурация, в которой адгезивные части 122На, расположенные со стороны, обращенной к коже, и адгезивные части 122Нb, расположенные со стороны, не обращенной к коже, предусмотрены, по меньшей мере, в зоне, которая находится выше нижнего конца передней поясной части 20 и снаружи узкой части 121n (описанной позднее). Другими словами, возможна конфигурация, в которой адгезивные части 122На или 122Нb предусмотрены, по меньшей мере, снаружи впитывающей сердцевины 121, которая включает в себя узкую часть 121n, в зоне, находящейся сверху по отношению к нижнему концу передней поясной части 20, как показано на фиг.4В. Следует отметить, что предпочтительно, чтобы часть 122а листа, расположенная со стороны, обращенной к коже, и часть 122b листа, расположенная со стороны, не обращенной к коже, были приклеены к впитывающей сердцевине 121 в такой степени, чтобы можно было уменьшить риск того, что отделение частей 122а и 122b листа от впитывающей сердцевины 121 вызовет плохое прилегание при ношении подгузника или приведет к тому, что впитывающая сердцевина 121 утратит заданную форму.

[200]

[0044]

[201]

Впитывающую сердцевину 121 получают посредством придания заданной формы материалу, впитывающему жидкости. В частности, как показано на фиг.2, часть впитывающей сердцевины 121, центральную в продольном направлении, делают более узкой, чтобы она имела меньшую длину в направлении влево-вправо, в результате чего образуют узкую часть 121n, боковые концы 121s которой, определяемые в направлении влево-вправо, выполнены углубленными, и, следовательно, впитывающая сердцевина 121 имеет форму, приблизительно соответствующую форме песочных часов. Узкая часть 121n образована так, чтобы она была в большей степени расположена с передней стороны, чем с задней стороны, и самая узкая часть 121m узкой части 121n расположена над частью С10, приблизительно центральной в продольном направлении. Верхние концы 121t углубленных частей боковых концов 121s впитывающей сердцевины 121, которые представляют собой верхние концы углубленных частей, расположены в местах, которые находятся выше нижнего конца передней поясной части 20 и ниже нижних концов концевых соединяющих частей 52 (описанных позднее). Кроме того, точки 121u пересечения между нижним концом передней поясной части 20 и боковыми концами 121s впитывающей сердцевины 121 расположены внутри в направлении влево-вправо по отношению к верхним концам 121t углубленных частей.

[202]

[0045]

[203]

Поверхность узкой части 121n, расположенная со стороны, не обращенной к коже, наложена на поверхность передней поясной части 20, расположенную со стороны, обращенной к коже, и передняя поясная часть 20 будет также упоминаться как «поясная часть, расположенная с одной стороны». Кроме того, узкая часть 121n не наложена на заднюю поясную часть 30.

[204]

[0046]

[205]

Впитывающая основная часть 10 также включает в себя две части 50, представляющие собой стенки, защищающие от утечки, и части 60, размещаемые вокруг ног. Хотя это подробно описано позднее, в представленном варианте осуществления, как показано на фиг.4А-4С, 5А и тому подобных фигурах, две части наружного листа 14, боковые в направлении влево-вправо, загнуты, и в загнутых частях наружного листа 14 концевые части, внутренние в направлении влево-вправо, образуют части 50, представляющие собой стенки, защищающие от утечки (также называемые «стенками 50, защищающими от утечки»), и концевые части, наружные в направлении влево-вправо, образуют части 60, размещаемые вокруг ног.

[206]

[0047]

[207]

Две части 50, представляющие собой стенки, защищающие от утечки, представляют собой так называемые барьерные манжеты и расположены на частях комплекта 12 с впитывающим телом, боковых в направлении влево-вправо, при этом они проходят вдоль продольного направления впитывающей основной части 10. Каждая из частей 50, представляющих собой стенки, защищающие от утечки, включает в себя: две концевые соединяющие части 52, которые соединяют наружный лист 14, образующий часть 50, представляющую собой стенку, защищающую от утечки, с верхним листом 11 и задним листом 13, множество эластичных элементов 51, которые предусмотрены в стенках, защищающих от утечки, и стягиваются и растягиваются в продольном направлении (направлении вверх-вниз подгузника 1), закрепленные части 55, которые не могут подниматься по направлению к стороне кожи, и поднимающиеся части 56, которые могут подниматься по направлению к стороне кожи. Кроме того, каждая из частей 60, размещаемых вокруг ног, включает в себя боковые соединяющие части 53 и эластичные элементы 61 для ног, растягивающиеся и стягивающиеся в продольном направлении.

[208]

[0048]

[209]

Фиг.5 представляет собой схематическое изображение, иллюстрирующее конфигурацию на схематическом виде в плане по фиг.2. Фиг.5 показывает вид, на котором поясные эластичные элементы 22 и 32 и тому подобные элементы были исключены из схематического вида в плане по фиг.2. Две концевые соединяющие части 52 и две боковые соединяющие части 53 представляют собой части, которые были присоединены посредством использования адгезива, такого как термоплавкий адгезив. Следует отметить, что присоединение концевых соединяющих частей 52 и боковых соединяющих частей 53 не ограничено прикреплением посредством использования адгезива, и такое прикрепление может быть выполнено посредством сдавливания, соединения прессованием или тому подобного.

[210]

[0049]

[211]

Две концевые соединяющие части 52 расположены в зоне двух частей впитывающей основной части 10, концевых в продольном направлении, и представляют собой «адгезионные части» для предотвращения подъема закрепленных частей 55 по направлению к стороне кожи. Концевые соединяющие части 52 проходят в продольном направлении от конца впитывающей основной части 10 до мест, перекрывающих верхнюю концевую часть комплекта 12 с впитывающим телом.

[212]

[0050]

[213]

Боковые соединяющие части 53 проходят от одного конца впитывающей основной части 10, определяемого в продольном направлении, до другого конца в продольном направлении и предусмотрены в виде пар на обеих боковых сторонах снаружи в направлении влево-вправо по отношению к концевым соединяющим частям 52. Каждая боковая соединяющая часть включает в себя боковую соединяющую часть 53а, расположенную со стороны, внутренней в направлении влево-вправо, и боковую соединяющую часть 53b, расположенную со стороны, наружной в направлении влево-вправо. Части 50, представляющие собой стенки, защищающие от утечки, могут подниматься вследствие стягивания эластичных элементов 51 стенок, защищающих от утечки, по направлению к носителю (к стороне кожи в направлении толщины) от частей, которые находятся внутри в направлении влево-вправо и рядом с боковыми соединяющими частями 53а. Каждая из частей 50, представляющих собой стенки, защищающие от утечки, имеет закрепленную часть 55, которая проходит от верхнего конца передней поясной части 20 до нижнего конца концевой соединяющей части 52 с данной стороны, и закрепленную часть 55, которая проходит от верхнего конца задней поясной части 30 до нижнего конца концевой соединяющей части 52 с данной стороны. Другими словами, поднимающаяся часть 56 представляет собой ту зону части 50, представляющей собой стенку, защищающую от утечки, которая находится ниже нижнего конца концевой соединяющей части 52 со стороны передней поясной части 20 и выше нижнего конца концевой соединяющей части 52 со стороны задней поясной части 30. Части 50, представляющие собой стенки, защищающие от утечки, останавливают поток выделений в боковом направлении. Следует отметить, что части 50, представляющие собой стенки, защищающие от утечки, могут быть образованы посредством одного эластичного элемента 51 стенки, защищающей от утечки, но предпочтительно, чтобы множество эластичных элементов 51 стенки, защищающей от утечки, были расположены на расстоянии друг от друга, как в подгузнике 1. Использование множества эластичных элементов 51 стенки, защищающей от утечки, способствует осуществлению поверхностного контакта между частями 50, представляющими собой стенки, защищающие от утечки, и кожей носителя, когда части 50, представляющие собой стенки, защищающие от утечки, находятся в поднятом состоянии, посредством чего обеспечивается возможность улучшения текстуры кожи.

[214]

[0051]

[215]

Следует отметить, что, несмотря на то, что шнуровидные эластичные элементы, такие как эластичные жилки, проиллюстрированы в качестве эластичных элементов (22, 32, 51 и 61), предусмотренных в передней поясной части 20, задней поясной части 30, частях 50, представляющих собой стенки, защищающие от утечки, и частях, размещаемых вокруг ног, это не является ограничением. Вместо эластичных жилок можно использовать один или более листообразных эластичных элементов, образованных из растягивающейся пленки, растягивающегося нетканого материала или тому подобного. На чертежах показаны только те части эластичных элементов, которые обладают способностью к растягиванию (так называемые эффективные участки длины). Следовательно, снаружи проиллюстрированных частей эластичного элемента в продольном направлении эластичные элементы могут иметь части, которые не проявляют способности к растягиванию. Кроме того, число и схема расположения эластичных элементов также не ограничены конфигурацией, показанной на чертежах.

[216]

[0052]

[217]

Способ образования частей 50, представляющих собой стенки, защищающие от утечки, и частей 60, размещаемых вокруг ног

[218]

Способ образования двух частей 50, представляющих собой стенки, защищающие от утечки, и предусмотренных во впитывающей основной части 10, кратко описан ниже со ссылкой на фиг.6А и 6В. Фиг.6А представляет собой схематическое изображение, иллюстрирующее способ формирования впитывающей основной части 10 и части 60, размещаемой вокруг ноги. Фиг.6В представляет собой схематический вид в разрезе, выполненном по линии D-D на фиг.6А.

[219]

[0053]

[220]

На фиг.6А зона узкой части 121n впитывающей сердцевины 121 показана группами, состоящими из трех линий, проходящих диагонально вниз и вправо. Часть 121m узкой части 121n, имеющая наименьшую длину в направлении влево-вправо, расположена с передней стороны по отношению к части С10, приблизительно центральной в продольном направлении.

[221]

[0054]

[222]

Сначала, как показано с левой стороны на фиг.6А и 6В, три эластичных элемента 51 стенки, защищающей от утечки, которые предназначены для части 50, представляющей собой стенку, защищающую от утечки, закрепляют в каждой из двух внутренних в направлении влево-вправо, боковых частей наружного листа 14 в состоянии, в котором эластичные элементы 51 растянуты в продольном направлении. После этого данные две части наружного листа 14, боковые в направлении влево-вправо, загибают по направлению к стороне, обращенной к коже, в направлении толщины (внутрь в направлении влево-вправо) в местах f1 сгиба, которые представляют собой места расположения в направлении влево-вправо, в которых были закреплены эластичные элементы 51 стенок, защищающих от утечки, предназначенные для частей 50, представляющих собой стенки, защищающие от утечки.

[223]

[0055]

[224]

Далее, как показано с правой стороны на фиг.6А и 6В, адгезив, предназначенный для образования концевых соединяющих частей 52 и боковых соединяющих частей 53 каждой части 50, представляющей собой стенку, защищающую от утечки, наносят на те участки поверхности стороны двухслойных частей наружного листа 14, обращенной к коже, которые находятся снаружи в направлении влево-вправо по отношению к месту f2 сгиба. После этого три эластичных элемента 61 для ног прикрепляют к тем участкам поверхности стороны наружного листа 14, обращенной к коже, которые находятся внутри в направлении влево-вправо по отношению к боковым соединяющим частям 53, в состоянии, в котором эластичные элементы 61 для ног растянуты в продольном направлении. После этого задний лист 13 и комплект 12 с впитывающим телом, имеющий верхний лист 11, размещенный на нем, накладывают на часть наружного листа 14, центральную в направлении влево-вправо, и присоединяют к ней.

[225]

[0056]

[226]

В завершение, две части наружного листа 14, боковые в направлении влево-вправо, загибают в местах f2 сгиба, которые находятся между комплектом 12 с впитывающим телом и боковыми соединяющими частями 53b, расположенными со стороны, внутренней в направлении влево-вправо, по направлению к стороне, обращенной к коже, в направлении толщины относительно верхнего листа 11, посредством чего получают впитывающую основную часть 10, показанную на фиг.2 и тому подобных фигурах. Части 60, размещаемые вокруг ног, образованы зонами загнутого наружного листа 14, которые находятся снаружи по отношению к внутренним боковым концам боковых соединяющих частей 53а, находящихся внутри в направлении влево-вправо. Кроме того, части 50, представляющие собой стенки, защищающие от утечки, образованы зонами, которые находятся внутри по отношению к внутренним концам боковых соединяющих частей 53а.

[227]

[0057]

[228]

Особенности впитывающей основной части 10 после впитывания выделений

[229]

Фиг.7А представляет собой иллюстративное схематическое изображение, иллюстрирующее состояния до и после впитывания выделений впитывающей основной частью 10 в зоне, обозначенной линией В1-В1 на фиг.2. Фиг.7В представляет собой иллюстративное схематическое изображение, иллюстрирующее состояния до и после впитывания выделений впитывающей основной частью 10 в зоне, обозначенной линией В2-В2 на фиг.2. Фиг.7А показывает сечение впитывающей основной части 10 в зоне нижних концов концевых соединяющих частей 52 (закрепленных частей 55), и фиг.7В показывает сечение впитывающей основной части в зоне нижнего конца передней поясной части 20. На фиг.7А и 7В левая сторона показывает впитывающую основную часть 10 перед впитыванием выделений, и правая сторона показывает впитывающую основную часть 10 после впитывания выделений. Следует отметить, что фиг.7А и 7В представляют собой иллюстративные схематические изображения, и размеры элементов, масштаб и тому подобные характеристики необязательно являются точными.

[230]

[0058]

[231]

Обычно, когда носитель (младенец или тому подобный носитель) подгузника 1 выделяет выделения во время ношения подгузника 1, выделения впитываются комплектом 12 с впитывающим телом вблизи промежностной области носителя. Имеются случаи, когда количество впитывающих жидкости волокон (например, целлюлозных волокон) впитывающей сердцевины 121 или тому подобного уменьшают для снижения стоимости подгузника 1, и, как показано на фиг.2 и тому подобных фигурах, имеются случаи, в которых впитывающая сердцевина 121 имеет форму, приблизительно соответствующую форме песочных часов, и имеет узкую часть 121n, которая имеет углубленные концы, боковые в направлении влево-вправо. Формирование узкой части 121n во впитывающей сердцевине 121 имеет преимущество, заключающееся в уменьшении риска того, что относительно жесткая впитывающая сердцевина 121 ограничит движения ног носителя в зоне его промежности.

[232]

[0059]

[233]

Однако, если количество волокон, впитывающих жидкости, уменьшено, существует риск того, что выделения будут не полностью впитаны впитывающей сердцевиной 121 в промежностной части, и того, что выделения будут вытекать по направлению к передней поясной части 20 или задней поясной части 30. В частности, существовал риск того, что быстротекущие выделения будут вытекать из частей, в которых впитывающая основная часть 10 перекрывает переднюю поясную часть 20 или заднюю поясную часть 30, проходить через стенки, защищающие от утечки, и вытекать наружу из подгузника.

[234]

[0060]

[235]

С учетом этого в подгузнике 1 по представленному варианту осуществления риск утечки выделений из подгузника 1 может быть уменьшен за счет образования зоны Р предотвращения утечки, показанной на фиг.7В. Зона Р предотвращения утечки будет описана ниже.

[236]

[0061]

[237]

Как показано с левой стороны на фиг.7А и 7В, перед впитыванием выделений впитывающая сердцевина 121 подгузника 1 не находится в расширенном состоянии вследствие того, что она не впитала выделения или тому подобное. При этом, как показано с левой стороны на фиг.7А, каждая часть 50, которая представляет собой стенку, защищающую от утечки, и которая расположена поверх комплекта 12 с впитывающим телом в направлении толщины, включает в себя закрепленную часть 55, которая образована посредством концевой соединяющей части 52 (фиг.5). Другими словами, часть 50, представляющая собой стенку, защищающую от утечки, прикреплена к комплекту 12 с впитывающим телом в закрепленной части 55. Следует отметить, что узкая часть 121n не предусмотрена в той зоне впитывающей сердцевины 121, которая показана на фиг.7А.

[238]

[0062]

[239]

С другой стороны, как показано с левой стороны на фиг.7В, часть 50, которая представляет собой стенку, защищающую от утечки, и которая расположена поверх комплекта 12 с впитывающим телом в направлении толщины, включает в себя поднимающуюся часть 56, которая не закреплена посредством концевой соединяющей части 52 и может подниматься по направлению к стороне кожи. За счет подъема по направлению к стороне кожи часть 50, представляющая собой стенку, защищающую от утечки, образует стенку, которая останавливает поток выделений. Кроме того, узкая часть 121n предусмотрена в данном месте и имеет меньшую длину в направлении влево-вправо, чем впитывающая сердцевина 121, показанная на фиг.7А. По этой причине в надетом или тому подобном состоянии поднимающаяся часть 56 поднимается по направлению к стороне кожи, образуя тем самым зону Рx предотвращения утечки; зона Рx предотвращения утечки ограничена в направлении влево-вправо поднимающейся частью 56 с наружной стороны и узкой частью 121n с внутренней стороны и ограничена поднимающейся частью 56 со стороны, обращенной к коже, и передней поясной частью 20 со стороны, не обращенной к коже. Другими словами, эта зона Рx предотвращения утечки представляет собой зону, которая ограничена частью 50, представляющей собой стенку, защищающую от утечки, впитывающей сердцевиной 121 и передней поясной частью 20. Следует отметить, что в подгузнике 1, показанном на фиг.7В, наружный лист 14 приклеен к передней поясной части 20 и образует одно целое с ней, и, следовательно, также можно утверждать, что зона Рx предотвращения утечки, которая ограничена частью 50, представляющей собой стенку, защищающую от утечки, впитывающей сердцевиной 121 и наружным листом 14, ограничена частью 50, представляющей собой стенку, защищающую от утечки, впитывающей сердцевиной 121 и передней поясной частью 20. Следует отметить, что на фиг.1, 2 и 5 сплошные линии показывают места расположения зон Р предотвращения утечки, которые образованы, когда поднимающиеся части 56 подняты.

[240]

[0063]

[241]

Кроме того, предпочтительно, чтобы зоны, в которых части листа 122 для обертывания сердцевины склеены вместе, были предусмотрены снаружи в направлении влево-вправо по отношению к узкой части 121n. В частности, предпочтительно, чтобы часть 122а листа, расположенная со стороны, обращенной к коже, и часть 122b листа, расположенная со стороны, не обращенной к коже, были склеены вместе посредством использования адгезива. Часть 122а листа, расположенная со стороны, обращенной к коже, и часть 122b листа, расположенная со стороны, не обращенной к коже, необязательно должны быть склеены вместе при изготовлении подгузника 1. Достаточно того, чтобы часть 122а листа, расположенная со стороны, обращенной к коже, и часть 122b листа, расположенная со стороны, не обращенной к коже, оказались склеенными вместе, когда подгузник 1 надет, и в одной иллюстративной конфигурации часть 122а листа, расположенная со стороны, обращенной к коже, и часть 122b листа, расположенная со стороны, не обращенной к коже, являются отдельными, когда подгузник 1 изготовлен, и затем склеиваются под действием давления при размещении подгузника 1 в упаковке или посредством контакта с кожей носителя, когда подгузник надет.

[242]

[0064]

[243]

Следует отметить, что части 59, в которых начинается подъем, относятся к границам между частями 50, представляющими собой стенки, защищающие от утечки, и частями 60, размещаемыми вокруг ног, или, более конкретно, к частям, которые находятся рядом с внутренними концами боковых соединяющих частей 53 с внутренней стороны в направлении влево-вправо и внутри по отношению к ним. Части 50, представляющие собой стенки, защищающие от утечки, поднимаются по направлению к стороне кожи от частей 59, в которых начинается подъем. Части 59, в которых начинается подъем, представляют собой части, которые проходят вдоль продольного направления на всей длине поднимающихся частей 56. Как показано на фиг.5, 7В и тому подобных фигурах, части 59, в которых начинается подъем, расположены снаружи по отношению к точкам 121u пересечения между нижним концом передней поясной части 20 и боковыми концами 121s впитывающей сердцевины 121 (узкой части 121n). Кроме того, в подгузнике 1 в зоне, в которой передняя поясная часть 20 и впитывающая основная часть 10 наложены друг на друга, части 59, в которых начинается подъем, расположены снаружи в направлении влево-вправо по отношению к боковым концам впитывающей сердцевины 121 (узкой части 121n).

[244]

[0065]

[245]

Как показано на схематическом изображении с левой стороны на фиг.7В, при использовании точки 121u пересечения как контрольной величины, вследствие того, что части 59, в которых начинается подъем поднимающейся части 56, расположены снаружи в направлении влево-вправо по отношению к точке 121u пересечения, заданное пространство может быть обеспечено между боковым концом узкой части 121n и частью 59, в которой начинается подъем части 50, представляющей собой стенку, защищающую от утечки, в направлении влево-вправо. Если некоторое пространство не образовано между боковым концом 121s впитывающей сердцевины 121 и частью 59, в которой начинается подъем, невозможно образовать зону Р предотвращения утечки или обеспечить, например, ее достаточный размер. По этой причине часть 59, в которой начинается подъем, расположена снаружи в направлении влево-вправо по отношению к точке 121u пересечения, посредством чего обеспечивается возможность гарантирования достаточного размера зоны Р предотвращения утечки.

[246]

[0066]

[247]

Далее, когда впитывающая основная часть 10 подгузника 1 впитает выделения, впитывающая сердцевина 121 увеличивается в объеме вследствие впитанных выделений или тому подобного, как показано с правой стороны на фиг.7А и 7В. В представленном варианте осуществления впитывающая сердцевина 121 содержит целлюлозные волокна или тому подобное и полимер со сверхвысокой впитывающей способностью (SAP) и, следовательно, имеет тенденцию к увеличению объема при впитывании выделений.

[248]

[0067]

[249]

Как показано с правой стороны на фиг.7А, в сечении впитывающей основной части 10, выполненном в направлении влево-вправо в зоне нижних концов концевых соединяющих частей 52, впитывающая сердцевина 121 увеличилась в объеме вследствие впитывания выделений. Как показано на фиг.2 и тому подобных фигурах, каждая из частей 50, представляющих собой стенки, защищающие от утечки, представляет собой листовой элемент, который является непрерывным в продольном направлении (направлении вверх-вниз), и, следовательно, когда одна часть части 50, представляющей собой стенку, защищающую от утечки, поднимается по направлению к стороне кожи, поднимающаяся часть 56 поднимается по направлению к стороне кожи от части 59, в которой начинается подъем. При этом в отличие от фиг.7А часть 50, представляющая собой стенку, защищающую от утечки, и показанная на фиг.7В, не прикреплена к впитывающей сердцевине 121, и, следовательно, часть 50, представляющая собой стенку, защищающую от утечки, не поднимается непосредственно из-за увеличения объема впитывающей сердцевины 121. Однако вследствие того, что закрепленная часть 55 прикреплена к впитывающей сердцевине 121, в том случае, если часть части 50, представляющей собой стенку, защищающую от утечки, поднимается по направлению к стороне коже, поднимающаяся часть 56, расположенная рядом с нижним концом передней поясной части 20, поднимается по направлению к стороне кожи, и размер зоны предотвращения утечки может быть увеличен до размера зоны Py предотвращения утечки.

[250]

[0068]

[251]

Если часть 50, представляющая собой стенку, защищающую от утечки, не прикреплена к комплекту 12 с впитывающим телом (к впитывающей сердцевине 121), только впитывающая сердцевина 121 и комплект 12 с впитывающим телом, которые впитали выделения, поднимаются по направлению к стороне кожи, и часть 50, представляющая собой стенку, защищающую от утечки, не может быть поднята по направлению к стороне кожи. Следовательно, даже если впитывающая сердцевина 121 увеличивается в объеме вследствие впитывания выделений, размер зоны Р предотвращения утечки не может быть увеличен.

[252]

[0069]

[253]

В подгузнике 1 часть 50, представляющая собой стенку, защищающую от утечки, поднимается по направлению к стороне кожи, в результате чего обеспечивается возможность формирования такой зоны Рy предотвращения утечки, которая больше зоны Рx предотвращения утечки, сформированной до впитывания выделений, и, следовательно, даже если выделения быстро проходят, например, по направлению к передней поясной части 20, большее количество выделений может скапливаться в зоне Рy предотвращения утечки, в результате чего обеспечивается возможность уменьшения риска утечки выделений из подгузника 1.

[254]

[0070]

[255]

При этом часть 122а листа, расположенная со стороны, обращенной к коже, и часть 122b листа, расположенная со стороны, не обращенной к коже, в комплекте 12 с впитывающим телом приклеены друг к другу, что обеспечивает возможность подавления расширения впитывающей сердцевины 121 в направлении влево-вправо. Соответственно, зона Рy предотвращения утечки, ограниченная частью 50, представляющей собой стенку, защищающую от утечки, впитывающей сердцевиной 121 и наружным листом 14, может быть образована с бóльшим размером в направлении влево-вправо, что создает возможность увеличения размеры зоны Рy предотвращения утечки и возможность удерживания большего количества выделений.

[256]

[0071]

[257]

Кроме того, если впитывающая сердцевина 121 впитает определенное количество выделений или большее количество и увеличится в объеме или если адгезионная способность адгезива (например, термоплавкого адгезива) уменьшится под действием влаги, часть 122а листа, расположенная со стороны, обращенной к коже, и часть 122b листа, расположенная со стороны, не обращенной к коже, могут отсоединиться друг от друга. При этом впитывающая сердцевина 121 также расширяется в направлении влево-вправо, и существует вероятность более быстрого впитывания выделений, удерживаемых в зоне Р предотвращения утечки, впитывающей сердцевиной 121.

[258]

[0072]

[259]

При удерживании выделений в зоне Р предотвращения утечки можно уменьшить риск утечки выделений из передней поясной части 20. Следует отметить, что выделения, удерживаемые в зоне Р предотвращения утечки, с течением времени могут быть впитаны соседними частями впитывающей сердцевины 121. Также следует отметить, что вследствие того, что зона Р подгузника 1, предназначенная для предотвращения утечки, предусмотрена в зоне, которая перекрывает переднюю поясную часть 20, в направлении вперед-назад, в случае вытекания выделений в зону Р предотвращения утечки впитыванию таких выделений в соседние части впитывающей сердцевины 121 будет способствовать сдавливание под действием передней поясной части 20 и тела носителя.

[260]

[0073]

[261]

Кроме того, предпочтительно, чтобы части поясных эластичных элементов 22 подгузника 1 были расположены по обе стороны боковых концов узкой части 121n в направлении влево-вправо. В подгузнике 1 в нижней концевой части, расположенной с данной одной стороны передней поясной части 20 в направлении влево-вправо, поясные эластичные элементы 22 проходят от той части передней концевой части 20, которая является концевой в направлении влево-вправо, до места, которое находится внутри в направлении влево-вправо по отношению к боковому концу узкой части 121n. Кроме того, при этом более предпочтительно, чтобы части поясных эластичных элементов 22 перекрещивались с эластичными элементами 51 стенок, защищающих от утечки. Соответственно, когда подгузник 1 надет, стягивание поясных эластичных элементов 22 может подавить возникновение ситуации, в которой относительно жесткая впитывающая основная часть 10 сгибается так, что она выступает в сторону, не обращенную к коже, в части, приблизительно центральной в направлении влево-вправо.

[262]

[0074]

[263]

Кроме того, как показано на фиг.5, если при рассмотрении подгузника 1, находящегося в растянутом состоянии, обозначить расстояние в направлении вверх-вниз от верхнего конца 121t углубленной части впитывающей сердцевины 121 до нижнего конца передней поясной части 20 буквой Т и обозначить расстояние в направлении влево-вправо от точки 121u пересечения между нижним концом передней поясной части 20 и боковым концом 121s впитывающей сердцевины 121 до верхнего конца 121t углубленной части буквой S, предпочтительно, чтобы расстояние Т было больше расстояния S (Т > S). Другими словами, предпочтительно, чтобы длина зоны Р предотвращения утечки, определяемая в направлении вверх-вниз, была больше ее длины в направлении влево-вправо. По этой причине выделения, которые скопились в зоне Р предотвращения утечки, скорее всего будут проходить в зону, длина которой в направлении влево-вправо меньше, вследствие явления капиллярности. Следовательно, существует вероятность того, что выделения будут удерживаться выше в направлении вверх-вниз. Следовательно, это обеспечивает возможность уменьшения риска того, что выделения, которые вытекли из промежностной части в зону Р предотвращения утечки, вернутся в промежностную часть.

[264]

[0075]

[265]

Кроме того, как показано на фиг.2, если в подгузнике 1, находящемся в растянутом состоянии, поясные эластичные элементы 22 передней поясной части 20 включают первый поясной эластичный элемент 22а и второй поясной эластичный элемент 22b, расположенные в данном порядке от нижней стороны, предпочтительно, чтобы расстояние L2 между первым поясным эластичным элементом 22а и нижним концом передней поясной части 20 было больше расстояния L1 между первым поясным эластичным элементом 22а и вторым поясным эластичным элементом 22b (L1 < L2). В соответствии с данной конфигурацией расстояние между нижним концом передней поясной части 50 и первым поясным эластичным элементом 22а больше расстояния между первым поясным эластичным элементом 22а и вторым поясным эластичным элементом 22b, и, следовательно, выделения будут с большей вероятностью поступать в зону Р предотвращения утечки. С другой стороны, вследствие того, что первый поясной эластичный элемент 22а и второй поясной эластичный элемент 22b расположены ближе друг к другу, существует возможность дополнительного снижения риска утечки выделений, которые поступили в зону Р предотвращения утечки, наружу.

[266]

[0076]

[267]

Как показано на фиг.2 и тому подобных фигурах, предпочтительно, чтобы в подгузнике 1, находящемся в растянутом состоянии, участки боковых концов 121s впитывающей сердцевины 121, находящиеся между нижним концом передней поясной части 20 и верхним концом 121t углубленной части впитывающей сердцевины 121, имели наклон относительно направления вверх-вниз. В подгузнике 1 боковые концы 121s на участке между верхними концами 121t углубленных частей и точками 121u пересечения имеют такой наклон, что они проходят внутрь в направлении влево-вправо и одновременно проходят вниз, и, следовательно, имеют бóльшую длину, чем в случае, когда они проходят параллельно направлению вверх-вниз. Соответственно, как показано на фиг.5 и тому подобных фигурах, площадь той поверхности впитывающей сердцевины 121, которая обращена к зоне, соответствующей зоне Р предотвращения утечки, может быть увеличена, что обеспечивает возможность увеличения размера той зоны впитывающей сердцевины 121, которая входит в контакт с выделениями, находящимися в зоне Р предотвращения утечки, и облегчает впитывание выделений.

[268]

[0077]

[269]

Кроме того, как показано на фиг.2 и тому подобных фигурах, предпочтительно, чтобы внутренние концы частей 50, представляющих собой стенки, защищающие от утечки, находились внутри в направлении влево-вправо по отношению к точкам 121u пересечения в подгузнике 1, находящемся в растянутом состоянии. Другими словами, предпочтительно, чтобы боковые концы 121s впитывающей сердцевины 121 были закрыты частями 50, представляющими собой стенки, защищающие от утечки, в зоне, находящейся выше точек 121u пересечения. Следовательно, это позволяет уменьшить риск утечки выделений, впитанных впитывающей сердцевиной 121, из подгузника 1.

[270]

[0078]

[271]

Кроме того, предпочтительно, чтобы верхний конец узкой части 121n (то есть верхние концы 121t углубленных частей) был (-и) расположен (-ы) ниже нижних концов концевых соединяющих частей 52. Верхние концы 121t углубленных частей представляют собой части, которые служат в качестве верхних концов зон Р предотвращения утечки (см. фиг.5 и тому подобные фигуры). Кроме того, те зоны частей 50, представляющих собой стенки, защищающие от утечки, которые перекрывают концевые соединяющие части 52 в направлении вверх-вниз, представляют собой закрепленные части 55. Соответственно, если верхние концы 121t углубленных частей расположены, например, выше нижних концов концевых соединяющих частей 52, зоны Р предотвращения утечки станут фиксированными за счет закрепленных частей 55, что приводит к риску уменьшения размера зон Р предотвращения утечки. С учетом этого верхние концы 121t углубленных частей расположены ниже нижних концов концевых соединяющих частей 52, и поэтому при увеличении объема впитывающей сердцевины 121 вследствие впитывания выделений уменьшается риск того, что зоны Р предотвращения утечки окажутся «заблокированными» впитывающей сердцевиной 121, увеличившейся в объеме, и размер зон Р предотвращения утечки может быть увеличен.

[272]

[0079]

[273]

Кроме того, как показано на фиг.2 и тому подобных фигурах, предпочтительно, чтобы концевые соединяющие части 52 подгузника 1, находящегося в растянутом состоянии, были расположены внутри по отношению к боковым концам 121s впитывающей сердцевины 121. В подгузнике 1 концевые соединяющие части 52 находятся внутри по отношению к боковым концам 121s в верхней части впитывающей сердцевины 121, и, следовательно, увеличивается вероятность формирования зон Р предотвращения утечки, когда впитывающая сердцевина 121 увеличивается в объеме вследствие впитывания выделений.

[274]

[0080]

[275]

Кроме того, как показано на фиг.6, для каждой из концевых соединяющих частей 52 подгузника 1, находящегося в растянутом состоянии, предпочтительно, чтобы площадь концевых соединяющих частей 52 была больше площади закрепленной части 55 за вычетом площади концевой соединяющей части 52 (площадь концевой соединяющей части 52 > площадь закрепленной части 55 - площадь концевой соединяющей части 52). По сравнению со случаем, в котором площадь концевой соединяющей части 52 меньше площади закрепленной части 55 за вычетом площади концевой соединяющей части 52, увеличивается вероятность формирования зоны Р предотвращения утечки, когда впитывающая сердцевина 121 увеличивается в объеме вследствие впитывания выделений.

[276]

[0081]

[277]

Кроме того, подгузник 1 включает в себя: переднюю поясную часть 20, которая имеет поясные эластичные элементы 22; заднюю поясную часть 30; впитывающую сердцевину 121; часть 122а листа, расположенную со стороны, обращенной к коже; часть 122b листа, расположенную со стороны, не обращенной к коже, и две части 50, которые представляют собой стенки, защищающие от утечки, и которые имеют эластичные элементы 51 стенок, защищающих от утечки. Впитывающая сердцевина 121 имеет узкую часть 121n. Каждая из частей 50, представляющих собой стенки, защищающие от утечки, включает в себя закрепленные части 55 и поднимающуюся часть 56. Сторона узкой части 121n, не обращенная к коже, перекрывает переднюю поясную часть 20, и, кроме того, часть узкой части 121n перекрывает переднюю поясную часть 20 в направлении вверх-вниз. Сторона впитывающей сердцевины 121, обращенная к коже, перекрывает часть каждой из закрепленных частей 55. Кроме того, если принять, что точки 121u пересечения между нижним концом передней поясной части 20 и узкой частью 121n служат в качестве контрольных величин, то части 59, в которых начинается подъем поднимающихся частей 56, расположены снаружи в направлении влево-вправо по отношению к точкам 121u пересечения, и части поясных эластичных элементов 22 расположены по обе стороны боковых концов 121s в направлении влево-вправо. Соответственно, даже когда в подгузнике 1 выделения впитываются впитывающей сердцевиной 121, имеющей узкую часть 121n в зоне, в которой передняя поясная часть 20 и впитывающая основная часть 10 перекрываются в направлении толщины, существует возможность подавления утечки выделений из подгузника 1. Кроме того, это уменьшает риск того, что часть относительно жесткой впитывающей основной части 10, приблизительно центральная в направлении влево-вправо, будет сгибаться так, что она будет выступать в сторону, не обращенную к коже, и делает более вероятным прилегание впитывающей основной части 10 к телу носителя.

[278]

[0082]

[279]

Другие варианты осуществления

[280]

Несмотря на то, что варианты осуществления настоящего раскрытия изобретения были описаны выше, вышеприведенные варианты осуществления настоящего раскрытия изобретения предназначены просто для облегчения понимания настоящего раскрытия изобретения, и их никоим образом не следует рассматривать как ограничивающие настоящее раскрытие изобретения. Настоящее раскрытие изобретения может быть изменено различным образом или в него могут быть внесены изменения без отхода от его сущности, и оно охватывает его эквиваленты. Например, возможна модификация, которая будет описана ниже.

[281]

[0083]

[282]

Несмотря на то, что зоны Р предотвращения утечки сформированы со стороны передней поясной части 20 для подавления утечки выделений в варианте осуществления, описанном выше, это не является ограничением. Зоны Р предотвращения утечки могут быть сформированы в задней поясной части 30 как поясной части, расположенной с данной одной стороны, или зоны Р предотвращения утечки могут быть сформированы как в передней поясной части 20, так и в задней поясной части 30. Формирование зон Р предотвращения утечки в задней поясной части 30 обеспечивает возможность предотвращения утечки выделений в задней поясной части 30.

[283]

[0084]

[284]

Несмотря на то, что в варианте осуществления, описанном выше, поясные эластичные элементы 22 расположены как выше, так и ниже верхних концов 121t углубленных частей, это не является ограничением. Возможна конфигурация, в которой в зоне, находящейся ниже верхних концов 121t углубленных частей в подгузнике 1, находящемся в растянутом состоянии, поясные эластичные элементы 22 не размещены в зоне, внутренней в направлении влево-вправо по отношению к верхним концам 121t углубленных частей. Другими словами, возможна конфигурация, в которой поясные эластичные элементы 22 не размещены в зонах, которые перекрываются в направлении вперед-назад зонами Р предотвращения утечки. Следовательно, это позволяет уменьшить риск того, что зоны Р предотвращения утечки будут сплющиваться под действием поясных эластичных элементов 22, и риск невозможности удерживания выделений в зонах Р предотвращения утечки.

[285]

[Перечень ссылочных позиций]

[286]

[0085]

[287]

1 подгузник (натягиваемый одноразовый подгузник, впитывающее изделие),

[288]

10 впитывающая основная часть,

[289]

10f передняя верхняя концевая часть, 10b задняя верхняя концевая часть,

[290]

11 верхний лист

[291]

12 комплект с впитывающим телом

[292]

121 впитывающая сердцевина,

[293]

121n узкая часть, 121s боковой конец,

[294]

121t верхний конец углубленной части, 121u точка пересечения,

[295]

122 лист для обертывания сердцевины,

[296]

122а часть листа, расположенная со стороны, обращенной к коже, 122b часть листа, расположенная со стороны, не обращенной к коже,

[297]

122На адгезивная часть, расположенная со стороны, обращенной к коже, 122Нb адгезивная часть, расположенная со стороны, не обращенной к коже,

[298]

13 задний лист, 14 наружный лист,

[299]

20 передняя поясная часть (поясная часть, расположенная с одной стороны), 20а боковая часть,

[300]

21 лист, 22 поясной эластичный элемент,

[301]

30 задняя поясная часть, 30а боковая часть,

[302]

31 лист, 32 поясной эластичный элемент,

[303]

50 часть, представляющая собой стенку, защищающую от утечки (стенка, защищающая от утечки), 51 эластичный элемент стенки, защищающей от утечки,

[304]

52 концевая соединяющая часть (адгезионная часть), 53 боковая соединяющая часть

[305]

55 закрепленная часть, 56 поднимающаяся часть,

[306]

59 часть, в которой начинается подъем,

[307]

60 часть, размещаемая вокруг ноги, 61 эластичный элемент для ноги

[308]

LH отверстие для ноги, ВН отверстие для талии

[309]

Р зона предотвращения утечки

Как компенсировать расходы
на инновационную разработку
Похожие патенты