патент
№ RU 2730905
МПК A62B7/08

РЕГЕНЕРАТИВНЫЙ ПАТРОН ИЗОЛИРУЮЩЕГО ДЫХАТЕЛЬНОГО АППАРАТА

Авторы:
Иванов Андрей Михайлович Антонов Антон Олегович Николаев Максим Васильевич
Все (5)
Номер заявки
2019145496
Дата подачи заявки
30.12.2019
Опубликовано
26.08.2020
Страна
RU
Как управлять
интеллектуальной собственностью
Чертежи 
9
Реферат

Изобретение относится к регенеративным патронам изолирующих дыхательных аппаратов (ИДА) на химически связанном кислороде, предназначенных для защиты органов дыхания в аварийной ситуации. Регенеративный патрон, содержит корпус, в котором помещен регенеративный продукт (2) в виде зерненого надпероксида калия, пусковое устройство (3), содержащее заключенные в корпус пусковой брикет (4) и ампулу с инициирующей жидкостью, и теплогазораспределительное устройство (6). При этом регенеративный патрон дополнительно снабжен воздуховодом, корпус регенеративного патрона выполнен в виде обечайки с сетчатыми перегородками и заглушками на торцах. Корпус пускового устройства (3) размещен в средней части боковой поверхности обечайки. Теплогазораспределительное устройство (6) выполнено в виде размещенного в регенеративном продукте (2) пакета пластин, соединенных между собой в средней части и делящих полость обечайки корпуса регенеративного патрона на сегменты, симметрично расположенные относительно оси пускового устройства (3). Обеспечивается комфортность дыхания, повышение степени отработки регенеративного продукта и повышение надежности работы ИДА за счет более надежного запуска регенеративного патрона. 6 з.п. ф-лы, 16 ил.

Формула изобретения

1. Регенеративный патрон изолирующего дыхательного аппарата на химически связанном кислороде, содержащий корпус, в котором помещен регенеративный продукт в виде зерненого надпероксида калия, пусковое устройство, содержащее заключенные в корпус пусковой брикет и ампулу с инициирующей жидкостью, и теплогазораспределительное устройство, отличающийся тем, что регенеративный патрон дополнительно снабжен воздуховодом, корпус регенеративного патрона выполнен в виде обечайки с сетчатыми перегородками и заглушками на торцах, корпус пускового устройства размещен в средней части боковой поверхности обечайки, теплогазораспределительное устройство выполнено в виде размещенного в регенеративном продукте пакета пластин, соединенных между собой в средней части и делящих полость обечайки корпуса регенеративного патрона на сегменты, симметрично расположенные относительно оси пускового устройства.

2. Регенеративный патрон по п. 1, отличающийся тем, что при использовании корпус регенеративного патрона соединяется одним торцом с дыхательным мешком, а вторым - с воздуховодом.

3. Регенеративный патрон по п. 1, отличающийся тем, что пластины теплогазораспределительного устройства снабжены перфорацией.

4. Регенеративный патрон по пп. 1 и 3, отличающийся тем, что к отверстиям перфорации пластин теплогазораспределительного устройства примыкают противонаправленные зубцы.

5. Регенеративный патрон по п. 1, отличающийся тем, что воздуховод выполнен в виде снабженной штуцером крышки, снабженной перфорированной юбкой.

6. Регенеративный патрон по п. 1, отличающийся тем, что заглушки выполнены из кислотощелочестойкой резины.

7. Регенеративный патрон по п. 1, отличающийся тем, что на торцах обечайки регенеративного патрона выполнены буртики.

Описание

[1]

Изобретение относится к регенеративным патронам изолирующих дыхательных аппаратов на химически связанном кислороде, предназначенных для защиты органов дыхания в аварийной ситуации.

[2]

Известен изолирующий дыхательный аппарат (ИДА) на химически связанном кислороде (патент РФ №2335314, МПК А62В 7/08, 2008), содержащий помещенный в дыхательный мешок с клапаном избыточного давления регенеративный патрон с регенеративным продуктом и пусковым устройством, состоящим из пускового брикета и ампулы с инициирующей жидкостью, причем ампула с инициирующей жидкостью снабжена штуцером, герметично соединенным с дыхательным мешком посредством юбки из эластичного материала, при этом ампула и пусковой брикет заключены в перфорированный корпус, установленный на крышке регенеративного патрона с зазором. Ампула и пусковой брикет установлены в перфорированном корпусе эксцентрично, а между ампулой и пусковым брикетом установлена эксцентричная шайба. Пусковой брикет и эксцентричная шайба помещены в гидрофильную оболочку с отверстием под ампулой, на юбке установлен рукав из эластичного материала. На корпусе регенеративного патрона выполнен прилив с резьбовым гнездом для установки перфорированного корпуса пускового устройства.

[3]

Недостатки известного ИДА по патенту РФ №2335314 заключаются в следующем:

[4]

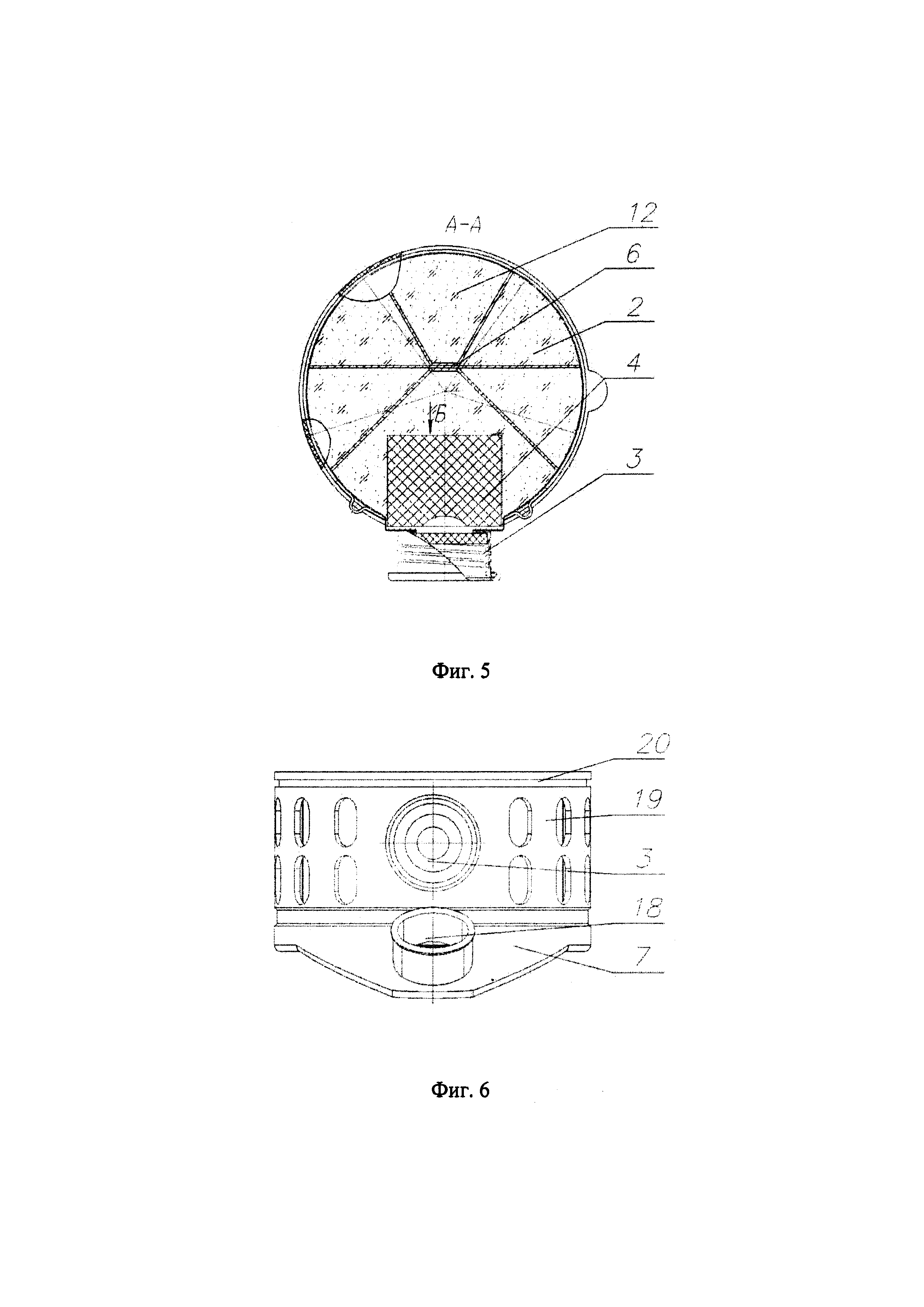
- через перфорацию корпуса пускового брикета полость корпуса пускового брикета сообщается с полостью дыхательного мешка. Так как эффективность поглощения диоксида углерода регенеративным продуктом, расположенным в регенеративном патроне, зависит от температуры, то регенеративный патрон при отрицательных температурах работает хуже, ввиду отсутствия подогрева регенеративного продукта теплом, выделяющимся при срабатывании пускового брикета, в котором протекают экзотермические реакции. Носители этого тепла - газообразный кислород и пары воды - через перфорацию поступают внутрь дыхательного мешка, не контактируя с регенеративным продуктом, и не способствуя, тем самым, его подогреву, что необходимо, прежде всего, при отрицательных температурах эксплуатации ИДА;

[5]

- все тепло при работе регенеративного патрона передается газовоздушной дыхательной смеси (ГДС), циркулирующей в контуре, включающем дыхательный мешок, регенеративный патрон и узел изоляции органов дыхания.

[6]

- сборка ИДА усложнена необходимостью защиты пускового устройства от контакта с окружающим воздухом, так как влага воздуха приводит к частичному срабатыванию пускового брикета, т.е. к снижению надежности его работы, и, как следствие, ИДА.

[7]

Частично эти недостатки устранены в регенеративном патроне изолирующего дыхательного аппарата на химически связанном кислороде (пат. РФ №2483767, МПК А62В 19/00, опубликовано 10.06.2013), принятом за прототип и содержащем на входе патрона пусковой брикет в виде многоканального термостойкого блока и регенеративный продукт в виде слоя зерненого регенеративного продукта и в виде многоканальных блоков. Патрон последовательно заполнен регенеративным продуктом из супероксида калия в виде многоканальных блоков, примыкающих к пусковому брикету, и зерненым регенеративным продуктом из надперекиси калия, причем расположение каналов в пусковом брикете соответствует расположению каналов в многоканальных блоках. На входе в патрон установлено теплогазораспределительное устройство в виде пластины из никелевого или медного пенометалла с отверстием под пусковым устройством.

[8]

Этот патрон характеризуется следующими недостатками:

[9]

- нестабильность запуска регенеративного патрона при работе при пониженной температуре из-за снижения стехиометрических характеристик регенеративного продукта;

[10]

- недостаточная комфортность при дыхании, т.к. тепло, выделяемое при отработке пускового брикета, передается ГДС на вдохе;

[11]

- процесс сборки усложнен вследствие использования регенеративного продукта в двух формах насадки - в виде многоканальных блоков и в виде гранул (зерен), а также из-за необходимости обеспечения совпадения каналов блоков регенеративного продукта и пускового брикета.

[12]

Задачей изобретения является улучшение эксплуатационных характеристик изолирующего дыхательного аппарата за счет упрощения конструкции регенеративного патрона и снижение затрат на изготовление ИДА.

[13]

Технический результат при использовании изобретения заключается в повышении надежности запуска регенеративного патрона в работу.

[14]

Технический результат достигается тем, что в регенеративном патроне изолирующего дыхательного аппарата на химически связанном кислороде, содержащем корпус, в котором помещен регенеративный продукт в виде зерненого надпероксида калия, пусковое устройство, содержащее заключенные в корпус пусковой брикет и ампулу с инициирующей жидкостью, и теплогазораспределительное устройство, согласно изобретению, регенеративный патрон дополнительно снабжен воздуховодом, корпус регенеративного патрона выполнен в виде обечайки с сетчатыми перегородками и заглушками на торцах, корпус пускового устройства размещен в средней части боковой поверхности обечайки, теплогазораспределительное устройство выполнено в виде размещенного в регенеративном продукте пакета пластин, соединенных между собой в средней части и делящих полость обечайки корпуса регенеративного патрона на сегменты, симметрично расположенные относительно оси пускового устройства.

[15]

При использовании корпус регенеративного патрона может соединяться одним торцом с дыхательным мешком, а вторым - с воздуховодом.

[16]

Пластины теплогазораспределительного устройства могут быть снабжены перфорацией.

[17]

К отверстиям перфорации пластин теплогазораспределительного устройства могут примыкать противонаправленные зубцы, острия которых одного ряда отверстий направлены в противоположную сторону остриям другого ряда отверстий.

[18]

Воздуховод может быть выполнен в виде снабженной штуцером крышки, снабженной перфорированной юбкой.

[19]

Заглушки могут быть выполнены из кислотощелочестойкой резины.

[20]

На торцах обечайки регенеративного патрона могут быть выполнены буртики.

[21]

Снабжение регенеративного патрона воздуховодом, выполнение корпуса регенеративного патрона в виде обечайки с сетчатыми перегородками и заглушками на торцах, размещение корпуса пускового устройства в средней части боковой поверхности обечайки, выполнение теплогазораспределительного устройства в виде размещенного в регенеративном продукте пакета пластин, соединенных между собой в средней части и делящих полость обечайки корпуса регенеративного патрона на сегменты, симметрично расположенные относительно оси пускового устройства, обеспечивает:

[22]

- упрощение конструкции регенеративного патрона и снижение затрат на изготовление ИДА за счет возможности многократного использования элементов ИДА, в том числе и теплоизоляции регенеративного патрона, за исключением непосредственно самого регенеративного патрона однократного применения;

[23]

- повышение надежности работы регенеративного патрона при его запуске при пониженной температуре за счет размещения пускового брикета в толще регенеративного продукта;

[24]

- увеличение комфортности дыхания за счет поглощения регенеративным продуктом тепла, выделяемого пусковым брикетом, и уменьшения сопротивления дыханию за счет выполнения противопылевого фильтра с диаметром, соответствующим сечению регенеративного патрона;

[25]

- более полное использование хемосорбционного ресурса регенеративного продукта по поглощению диоксида углерода и выделению кислорода за счет применения теплогазораспределительного устройства.

[26]

Соединение при использовании корпуса регенеративного патрона одним торцом с дыхательным мешком, а вторым с воздуховодом обеспечивает легкую и быструю установку и замену регенеративного патрона и открывает возможность многократного увеличения времени защитного действия ИДА за счет последовательной замены использованных регенеративных патронов на новые.

[27]

Снабжение пластин теплогазораспределительного устройства перфорацией обеспечивает газообмен между сегментами регенеративного продукта при его работе, способствуя тем самым более полной его отработке, а именно более полному использованию хемосорбционного ресурса и исключению «застойных» зон.

[28]

Примыкание к отверстиям перфорации пластин теплогазораспределительного устройства противонаправленных зубцов также обеспечивает газообмен между сегментами регенеративного продукта при вдохе и выдохе.

[29]

Выполнение воздуховода в виде снабженной штуцером крышки, снабженной перфорированной юбкой, обеспечивает защиту пользователя от ожогов при непреднамеренном касании поверхности регенеративного патрона и в то же время обеспечивает сброс избытка тепла в окружающее пространство.

[30]

Выполнение заглушек из кислотощелочестойкой резины, обеспечивает легкость их установки и демонтажа за счет упругих свойств резины.

[31]

Выполнение на торцах обечайки регенеративного патрона буртиков обеспечивает более надежную фиксацию на нем дыхательного мешка и воздуховода при действии осевых нагрузок.

[32]

Сущность изобретения поясняется фиг. 1-16, на которых:

[33]

фиг. 1 - общий вид изолирующего дыхательного аппарата, вид сбоку;

[34]

фиг. 2 - общий вид изолирующего дыхательного аппарата, вид спереди;

[35]

фиг. 3 - общий вид регенеративного патрона;

[36]

фиг. 4 - регенеративный патрон без заглушек;

[37]

фиг. 5 - регенеративный патрон без заглушек, сечение А-А, фиг. 4;

[38]

фиг. 6 - вид регенеративного патрона перед монтажом в изолирующий дыхательный аппарат;

[39]

фиг. 7 - воздуховод, вид сбоку;

[40]

фиг. 8 - воздуховод, вид сверху;

[41]

фиг. 9 - крепление пускового брикета в корпусе пускового устройства;

[42]

фиг. 10 - местный вид фиг. 3;

[43]

фиг. 11 - сечение В-В, фиг. 3;

[44]

фиг. 12 - местный вид фиг. 7;

[45]

фиг. 13 - перфорация перфорированной юбки, местный вид;

[46]

фиг. 14 - теплогазораспределительное устройство, вид спереди;

[47]

фиг. 15 - отверстие перфорации с зубцом пластин теплогазораспределительного устройства, местный вид фиг. 14;

[48]

фиг. 16 - отверстие перфорации с зубцом пластин теплогазораспределительного устройства, вид сбоку.

[49]

Перечень позиций, указанных на чертежах:

[50]

1. корпус регенеративного патрона;

[51]

2. регенеративный продукт;

[52]

3. пусковое устройство;

[53]

4. пусковой брикет;

[54]

5. ампула;

[55]

6. теплогазораспределительное устройство;

[56]

7. воздуховод;

[57]

8. обечайка;

[58]

9. сетчатая перегородка;

[59]

10. противопылевой фильтр;

[60]

11. заглушка;

[61]

12. сегмент;

[62]

13. дыхательный мешок;

[63]

14. гофрированная трубка;

[64]

15. капюшон с полумаской;

[65]

16. перфорация;

[66]

17. зубец;

[67]

18. штуцер;

[68]

19. перфорированная юбка;

[69]

20. буртик.

[70]

Регенеративный патрон изолирующего дыхательного аппарата на химически связанном кислороде включает корпус регенеративного патрона 1, в который помещен регенеративный продукт 2 в виде зерненого надпероксида калия, пусковое устройство 3, содержащее заключенные в корпус пусковой брикет 4 и ампулу 5 с инициирующей жидкостью, и теплогазораспределительное устройство 6. Регенеративный патрон дополнительно снабжен воздуховодом 7. Корпус регенеративного патрона 1 выполнен в виде обечайки 8 с сетчатыми перегородками 9, к одной из которых примыкает противопылевой фильтр 10. С обоих торцов регенеративного патрона установлены заглушки 11. Пусковое устройство 3 размещено в средней части боковой поверхности обечайки 8. Теплогазораспределительное устройство 6 выполнено в виде размещенного в регенеративном продукте пакета пластин, соединенных между собой сваркой или заклепками в средней части и делящих полость обечайки на сегменты 12, симметрично расположенные относительно оси пускового устройства. При использовании корпус регенеративного патрона соединяется одним торцом с дыхательным мешком 13, а вторым - с воздуховодом 7, который через гофрированную трубку 14 соединен с узлом изоляции органов дыхания в виде капюшона с полумаской 15. Пластины теплогазораспределительного устройства снабжены перфорацией 16. К отверстиям перфорации пластин теплогазораспределительного устройства примыкают противонаправленные зубцы 17. Воздуховод 7 изготовлен из силиконовой смеси специального назначения Евросил А50 С57 RAL 7016 и выполнен в виде снабженной штуцером 18 крышки, снабженной перфорированной юбкой 19. Заглушки 11 выполнены из кислотощелочестойкой резины. На торцах обечайки 8 регенеративного патрона выполнены буртики 20.

[71]

Регенеративный патрон работает следующим образом.

[72]

Регенеративный патрон до установки в изолирующий ИДА представляет собой герметичный объект в виде корпуса регенеративного патрона 1 с установленным в нем пусковым устройством 3, закрытого по торцам заглушками 11, как показано на фиг. 3.

[73]

Для установки в ИДА регенеративного патрона с обечайки 8 снимаются заглушки 11 и на торец, содержащий противопылевой фильтр 10, устанавливается воздуховод 7, соединенный гофрированной трубкой 14 с узлом изоляции органов дыхания пользователя в виде капюшона с полумаской 15. Второй торец регенеративного патрона 1 соединяется с круглым отверстием дыхательного мешка 13 и затягивается монтажным хомутом (не показан).

[74]

Для использования ИДА в сборе пользователь надевает капюшон с полумаской 15 на голову, одновременно приводя в действие пусковое устройство 3 путем нажатия на ампулу 5 (фиг. 11) с инициирующей жидкостью, при этом нижняя стенка ампулы разрушается встроенным в ампулу режущим устройством, и инициирующая жидкость (солевой раствор) из ампулы попадает на пусковой брикет 4 и запускает его в работу. При работе пускового брикета 4 выделяется кислород, процесс сопровождается выделением тепла, которое в начальный момент рассеивается в сегменте 12 и передается регенеративному продукту 2 (фиг. 5), облегчая начало работы регенеративного патрона, что особенно важно при низких температурах. Из корпуса регенеративного патрона 1 кислород поступает на вдох пользователя по гофрированной трубке 14 и в дыхательный мешок 13, заполняя его.

[75]

При выдохе воздух, содержащий диоксид углерода и пары воды, через полумаску капюшона 15, гофрированную трубку 14 и воздуховод 7 поступает через первую по потоку ГДС сетчатую перегородку 9 в корпус регенеративного патрон 1, где взаимодействует с регенеративным продуктом 2, который поглощает воду и диоксид углерода и выделяет кислород. При этом происходит разогревание регенеративного продукта 2 и, соответственно, ГДС. Далее ГДС через вторую по потоку ГДС сетчатую перегородку 9 поступает в дыхательный мешок 13.

[76]

При вдохе ГДС из дыхательного мешка 13 повторно проходит через регенеративный продукт 2, доочищаясь от углекислого газа, после чего дополнительно очищается от аэрозолей, выделяемых регенеративным продуктом 2, в противопылевом фильтре 10. Далее очищенная ГДС через воздуховод 7 и гофрированную трубку 14 поступает на вдох пользователя.

[77]

При работе ИДА важна отработка всего регенеративного продукта. Это достигается использованием теплогазораспределительного устройства 6, которое обеспечивает распределение тепла и газообмен между сегментами 12 через перфорацию 16, чему способствует захват потока при вдохе и выдохе зубцами 17.

[78]

В процессе регенерации воздуха в дыхательном контуре ИДА происходит увеличение количества ГДС, так как коэффициент регенерации у надпероксида калия равен 1,2, т.е. кислорода регенеративный продукт выделяет по объему на 20% больше поглощенного диоксида углерода. Поэтому избыток ГДС автоматически удаляется из дыхательного мешка 13 через клапан избыточного давления (не показан).

[79]

Изобретение обеспечивает комфортность дыхания, повышение степени отработки регенеративного продукта и повышение надежности работы ИДА за счет более надежного запуска регенеративного патрона.

Как компенсировать расходы
на инновационную разработку
Похожие патенты