патент
№ RU 2730047
МПК G01R23/02

Цифровой частотомер

Авторы:
Плотников Петр Колестратович Сытник Александр Александрович Львов Алексей Арленович
Все (5)
Номер заявки
2019125680
Дата подачи заявки
13.08.2019
Опубликовано
14.08.2020
Страна
RU
Как управлять
интеллектуальной собственностью
Чертежи 
4
Реферат

Изобретение относится к измерительной технике и может быть использовано в гироскопах - магнетронах, радиотехнике, в микроконтроллерах и других устройствах, где требуется прецизионное измерение высокой частоты сигналов до десятков гигагерц и малых их отклонений от номинальных значений, а также очень малых временных интервалов. При этом предполагается их использование в системах ориентации и навигации на подвижных объектах - самолетах, кораблях и других, в виде датчиков, от которых требуется непрерывность работы и достаточная частота выдачи информации. Цифровой частотомер, в состав которого входят порт приема входного сигнала, порт приема счетных высокостабильных импульсов, три группы счетчиков с регистром на выходе измерительного счетчика, триггеры, соединенные со схемой синхронизации и управления, в виде дополнительных триггера определения измерительного интервала и триггера переключения двух каналов, выполненных в виде двух групп реверсивных счетчиков из старшего и младшего разрядов, также два мультиплексора старшего и младшего разрядов, предназначенные для смены отображения выходной информации от каналов, блок логических элементов, предназначенный для управления выработкой счетного интервала, определения разности частот входного и эталонного сигналов и переключения каналов и знаков счета разности этих частот, регистр запоминания целой части входного сигнала, а также корректор дробной части в виде делителя ее на мантиссу измеряемой частоты, выполненного на основе микросхемы программируемой интегральной логической структуры, отличающееся тем, что в состав цифрового частотомера введен формирователь расширенного окна счета импульсов частоты порядка ~ ƒƒс АЦП с выходом число-импульсного или частотно-импульсного типа (ЧИМ), входом которого является интегратор-хранитель уровня напряжения, пропорционального длительности накопленной разностной фазы между опорной и измеряемой частотами, содержащий также генератор импульса растяжки с времязадающей емкостью, инвертор с выходом на вход управления АЦП и в устройство управления, аналоговый ключ в цепи обратной связи интегратора для управления им, операционные емкость и резистор, делители на входах операционного резистора и неинвертирующего входа с диодами в нижних плечах, разделительную емкость между входом формирователя и входом интегратора, при этом с соответствующими входами блока логических элементов соединены выходы первой многовходовой схемы «и - не», выходы триггера переключения первого канала на второй, выходы формирователя расширенного окна счета импульсов, с выходами блока логических элементов связаны управляющие входы n входных счетчиков, входы управления регистра для запоминания целочисленного значения входного сигнала, входы счетчиков младшего разрядов первого и второго каналов, причем выходы двух счетчиков старших разрядов соединены со входами мультиплексора переключения выходов старшего разряда, а выходы двух счетчиков младших разрядов соединены со входами мультиплексора переключения выходов младшего разряда, выходы регистра и блок мультиплексоров соединены с соответствующими входами микросхемы программируемой логической интегральной структуры, первым выходом которой является разностная частота между входным и эталонным сигналами, а вторым выходом ее и цифрового частотомера в целом - целое число входных импульсов входного сигнала за период измерения. 4 ил.

Формула изобретения

Цифровой частотомер, в состав которого входят порт приема входного сигнала, порт приема счетных высокостабильных импульсов, три группы счетчиков с регистром на выходе измерительного счетчика, триггеры, соединенные со схемой синхронизации и управления, в виде триггера определения измерительного интервала и триггера переключения двух каналов, выполненных в виде двух групп реверсивных счетчиков из старшего и младшего разрядов, также два мультиплексора старшего и младшего разрядов, предназначенные для смены отображения выходной информации от каналов, блок логических элементов, предназначенный для управления выработкой счетного интервала, определения разности частот входного и эталонного сигналов и переключения каналов и знаков счета разности этих частот, регистр запоминания целой части входного сигнала, а также корректор дробной части в виде делителя ее на мантиссу измеряемой частоты, выполненного на основе микросхемы программируемой интегральной логической структуры, отличающийся тем, что в состав цифрового частотомера введен формирователь расширенного окна счета импульсов частоты порядка ~ ƒc…ƒ0 с АЦП с выходом число-импульсного или частотно-импульсного типа (ЧИМ), входом которого является интегратор-хранитель уровня напряжения, пропорционального длительности накопленной разностной фазы между опорной и измеряемой частотами, содержащий также генератор импульса растяжки с времязадающей емкостью, инвертор с выходом на вход управления АЦП и в устройство управления, аналоговый ключ в цепи обратной связи интегратора для управления им, операционные емкость и резистор, делители на входах операционного резистора и неинвертирующего входа с диодами в нижних плечах, разделительную емкость между входом формирователя и входом интегратора, при этом с соответствующими входами блока логических элементов соединены выходы первой многовходовой схемы «и - не», выходы триггера переключения первого канала на второй, выходы формирователя расширенного окна счета импульсов, с выходами блока логических элементов связаны управляющие входы n входных счетчиков, входы управления регистра для запоминания целочисленного значения входного сигнала, входы счетчиков младшего разрядов первого и второго каналов, причем выходы двух счетчиков старших разрядов соединены со входами мультиплексора переключения выходов старшего разряда, а выходы двух счетчиков младших разрядов соединены со входами мультиплексора переключения выходов младшего разряда, выходы регистра и блок мультиплексоров соединены с соответствующими входами микросхемы программируемой логической интегральной структуры, первым выходом которой является разностная частота между входным и эталонным сигналами, а вторым выходом ее и цифрового частотомера в целом - целое число входных импульсов входного сигнала за период измерения.

Описание

[1]

Изобретение относится к измерительной технике и может быть использовао в гироскопах - магнетронах, радиотехнике, в микроконтроллерах и других устройствах, где требуется прецизионное измерение высокой частоты сигналов до десятков гигагерц и малых их отклонений от номинальных значений, а также очень малых временных интервалов. При этом предполагается их использование в системах ориентации и навигации на подвижных объектах - самолетах, кораблях и других, в виде датчиков, от которых требуется непрерывность работы и достаточная частота выдачи информации.

[2]

Известны цифровые частотомеры различных конструкций. Например, известен частотомер [Патент РФ №2210785; 1], включающий порт приема входного сигнала, порт приема импульса измерительного периода, образцовый генератор, три счетчика и три регистра на их выходах, две схемы синхронизации, инвертор, формирователь импульса ошибки, схему растяжки импульса, средство обработки и индикации.

[3]

Этот частотомер характеризуется недостаточно широким диапазоном измеряемых частот. Ограничение на этот диапазон связано с тем, что длительность растянутого импульса не должна превышать длительность измерительного интервала.

[4]

Известен другой частотомер, отличающийся тем, что, с целью расширения диапазона измеряемых частот, он снабжен вторым формирователем импульса ошибки, вторым каналом измерения длительности из последовательно соединенных счетчика и регистра, и схемой селекции несовпадения [Патент РФ №2210785; 1].

[5]

Этот частотомер является прототипом предлагаемого частотомера по наибольшему числу сходных признаков.

[6]

В этом частотомере введена сложная схема: второй формирователь импульса ошибки, второй канал измерения длительности и схема селекции несовпадения. В этом случае для измерения временного интервала между концом измерительного периода и очередным фронтом измеряемой частоты этот интервал разбивается на два интервала, один из которых содержит целое число периодов образцовой частоты, а другой содержит дробную часть этого периода. Только второй интервал измеряется с помощью схемы растяжки, а первый интервал измеряется в дополнительном канале измерения длительности на основе счетчика, подсчитывающего импульсы образцовой частоты.

[7]

Недостатком этого частотомера является сложность его конструкции и прерывистость и разобщенность процессов измерения и индикации (схема входного цифрового сигнала), что затрудняет использование его в качестве датчиков информации об отклонениях частоты, которые должны работать в непрерывном режиме.

[8]

Указанные недостатки устранены в предлагаемом техническом решении.

[9]

Задачей предлагаемой полезной модели является повышение диапазона счета частоты входного сигнала, а также снижение трудностей при определении разностного сигнала между частотами входного и эталонного сигналов, пропорционального, например, измеряемой угловой скорости подвижного объекта.

[10]

Поставленная задача достигается за счет того, что в цифровом частотомере, в состав которого входят порт приема входного сигнала, порт приема счетных эталонных импульсов, три группы счетчиков с регистром на выходе измерительного счетчика, триггер, соединенный со схемой синхронизации, согласно заявляемому техническому решению в состав цифрового частотомера введен дополнительные триггер определения измерительного интервала и триггер переключения двух каналов, выполненных в виде двух групп реверсивных счетчиков из старшего и младшего разрядов, два мультиплексора старшего и младшего разрядов, предназначенные для смены отображения выходной информации от каналов, блок логических элементов, предназначенный для управления выработкой измерительного интервала, определения разности частот входного и эталонного сигналов и переключения каналов и знаков счета разности этих частот, регистр запоминания целой части входного сигнала, а также корректор дробной части в виде делителя ее на мантиссу измеряемой частоты, выполненного на основе микросхемы программируемой интегральной логической структуры, формирователь расширенного окна счета импульсов частоты порядка ~ ƒc…ƒ0 с АЦП с выходом число-импульсного или частотно-импульсного типа (ЧИМ), входом которого является интегратор-хранитель уровня напряжения UΔϕ, пропорционального длительности накопленной разностной фазы Δϕ между опорной и измеряемой частотами, вход формирователя подключен к выходу триггера измерительного интервала, выходы окна и счетных импульсов подключены к соответствующим входам блока логических элементов, при этом с соответствующими входами блока соединены выходы первой многовходовой схемы «И - НЕ», выходы триггера переключения первого канала на второй, выходы портов приема входных и счетных сигналов, с выходами блока логических элементов, связаны входы управления n входных счетчиков, входы управления регистра для запоминания целочисленного значения входного сигнала, входы счетчиков младшего разрядов первого и второго каналов, причем выходы двух счетчиков старших разрядов соединены со входами мультиплексора переключения выходов старшего разряда, а выходы двух счетчиков младших разрядов соединены со входами мультиплексора переключения выходов младшего разряда, выходы регистра и блок мультиплексоров соединены с соответствующими входами микросхемы программируемой логической интегральной структуры, первым выходом которой является разностная частота, а вторым выходом ее и цифрового частотомера - целое число импульсов входного сигнала за период измерения.

[11]

Схема предлагаемого изобретения представлена на фиг. 1. На схеме фиг. 1 приняты следующие обозначения: 1 - порт приема входных сигналов частоты ƒ в виде формирователя - входного триггера Шмидта; 2 - порт приема - формирователь прямоугольных периодических импульсов опорной повышенной частоты квантования ƒс; 3 - счетчик для формирования опорной частоты ƒ0; 4 - формирователь расширенного окна счета импульсов частоты ~ ƒc…ƒ0; 5 - группа n счетчиков, формирующих частоту интервалов счета; 6 - группа n входных счетчиков импульсов, измеряющих целую часть частоты ƒ входного сигнала; 7 - многовходовая схема "И-НЕ", формирующая импульс сброса в последний такт счета интервала ; 8 - триггер выделения накопленной разности фаз для частот ƒ и ƒ0, дающий входной сигнал для формирователя расширенного окна счета 4; 9 - триггер переключения первого и второго канала; 10 - блок логических элементов управления каналами на основе двухвходовых стандартных элементов схем "И - НЕ" по выделению разности накопленных фаз, соответствующих разности входной и эталонной частот Δƒ, 11 - регистр для запоминания целочисленного значения частоты входного сигнала; 12…14 - группа счетчиков с мультиплексорами, знак штрих «'» здесь и далее для младших разрядов; 12 - счетчик старшего разряда 1го канала; 12' - счетчик младшего разряда 1го канала; 13 - счетчик старшего разряда 2го канала; 13' - счетчик младшего разряда 2го канала; 14 - мультиплексор переключения с 1го канала на 2й выходов старшего разряда Δƒ; 14' - мультиплексор переключения с 1го канала на 2й выходов младшего разряда Δƒ; 15 - программируемая интегральная логическая структура (микросхема ПЛИС).

[12]

Для более грубой реализации схемы с одним разрядом дробной части, элементы со знаком штрих «'» будут отсутствовать.

[13]

На фиг. 2 представлена реализация частотомера в виде принципиальной схемы с совпадающей нумерацией элементов по схеме фиг. 1.

[14]

Цифровой частотомер содержит формирователь 1, выход которого подключен к счетному входу счетчика 6, выход формирователя 2 подключен ко счетному входу счетчика 3, а также к счетному входу блока управления 10, выход счетчика 3 подключен к счетному входу счетчика 5, выходы переполнения счетчиков 3,5 подключены ко входам схемы «И-НЕ» 7, выход которой подключен ко счетному входу триггера переключения каналов 9, а также к синхронизирующему входу блока управления 10, выходы 9 также подключены к соответствующим входам переключения каналов блока управления 10. Вход установки в «1» триггера окна 8 подключен к выходу схемы «И-НЕ» 7, а вход сброса в «0» подключен к выходу переполнения счетчика 6, выход триггера 8 подключен ко входу формирователя 4 расширенного окна счета импульсов частоты порядка ~ ƒc…ƒ0, а его выход ко входу окна блока управления 10. Этот вход, вместе с входами каналов от триггера 9 распределяет импульсы счета частоты ~ ƒc…ƒ0 по входам счета на «плюс» и на «минус» для первого канала на счетчиках 12, 12' и для второго канала на счетчиках 13, 13' соответственно. Выходы счетчиков первого 12, 12' и второго каналов 13, 13' подключены через мультиплексоры 14, 14' ко входам выходной микросхемы ПЛИС 15, а управляющие входы мультиплексоров 14, 14' подключены к выходам триггера переключения каналов 9. Выходы счетчика 6 подключены ко входам регистра 11, управляющий вход которого подключен к выходу блока управления 10, инвертирующего сигнал с микросхемы 7. Выходы с регистра 11 подключены ко входам микросхемы ПЛИС 15 и далее на выход индикации, либо непосредственно на выход в режиме датчика.

[15]

Элементы схемы на фиг. 4, а также связанный с ее входом триггер 8 запитывают от высокостабильного источника напряжением U и 5…15.

[16]

Установим соответствие ряда элементов прототипа по схеме и предлагаемого устройства по схеме фиг. 1, фиг. 2. Элементы 1, 2, 3 на обеих схемах полностью соответствуют друг другу по функциям. Отличие лишь в реализации 3 в виде одного счетчика, и в пределе этот счетчик может быть заменен прямой связью (отсутствовать).

[17]

Новый элемент 4 включен в цепь сигнала окна от триггера 8 к входу блока управления 10. Второй выход с элемента 4, где вырабатываются счетные импульсы для двух каналов на счетчиках 12, …, 13, подключается к счетному входу блока управления 10. Остальные элементы схемы, входящие в состав нового элемента 4 оригинальны и описываются далее по схеме фиг. 3.

[18]

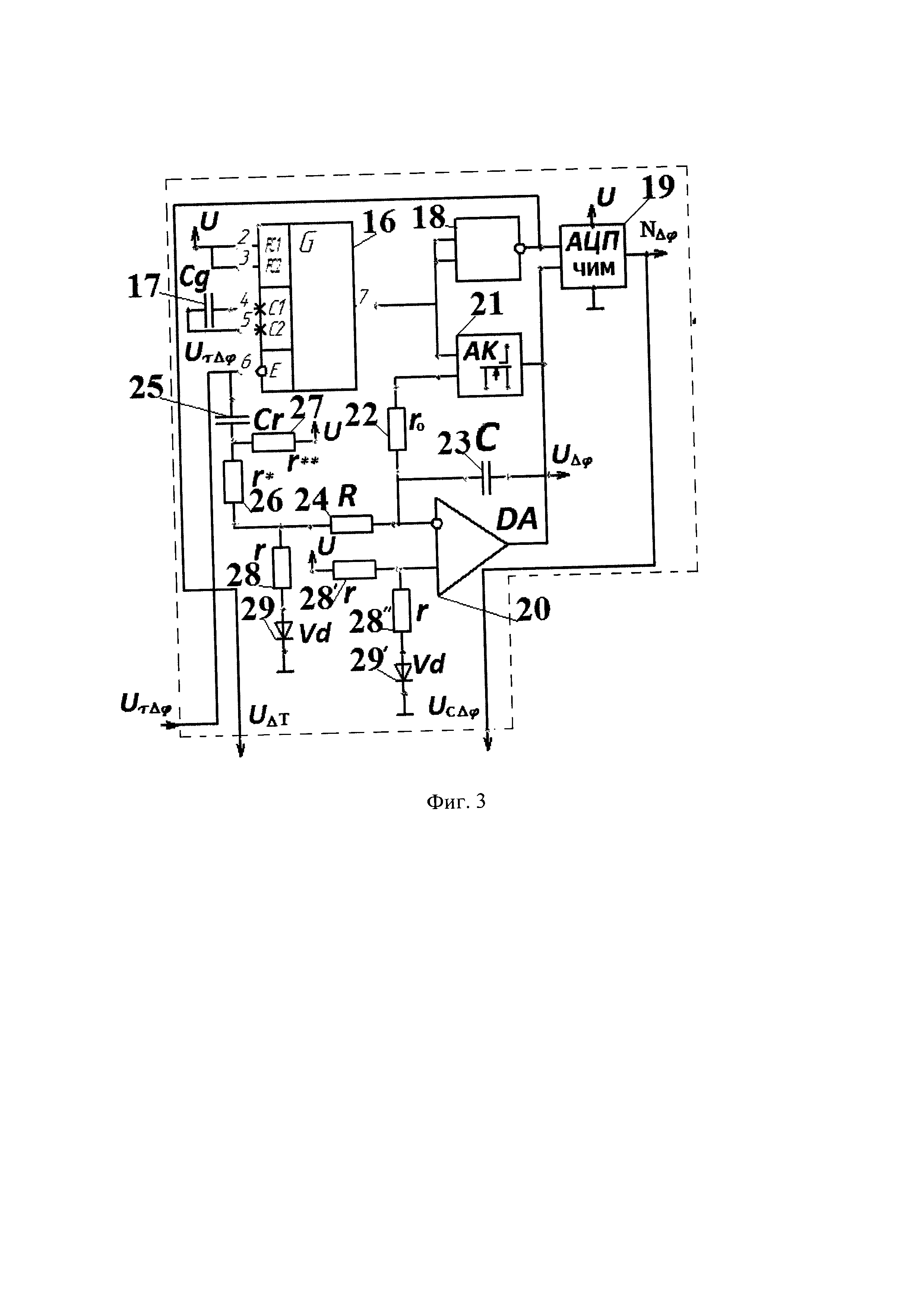
В состав формирователя 4 расширенного окна ΔT счета импульсов накопленной фазы Δϕ входят следующие элементы: 16 - генератор расширенного окна счета импульсов ΔT, например на микросхеме КР531ГГ1; 17 - времязадающая емкость Cg, определяющая длительность импульса генератора; 18 - инвертор на стандартном элементе И-НЕ, преобразующий импульс с генератора 16 к стандартной полярности UΔT для управления и запуска; 19 - аналого-цифровой преобразователь АЦП, с выходом NΔϕ число-импульсного или частотно-импульсного типа (ЧИМ); 20 - интегратор-хранитель уровня напряжения UΔϕ, пропорционального длительности накопленной разностной фазы, на операционном усилителе DA; 21 - аналоговый ключ АК, в цепи обратной связи DA для управления; 22 - резистор цепи сброса r0, работающий при включенном АК; 23 - емкость в цепи обратной связи С, дающая DA свойство интегратора; 24 - входной резистор R, определяющий вместе с емкостью С коэффициент или скорость интегрирования Ki; 25 - разделительная емкость Cr, для формирования на входе только импульса UτΔϕ, без влияния уровней триггера выделения накопленной фазы 8; 26 - проходной резистор r* на входе; 27 - подпитывающий резистор r**, образующий с 26 верхнее плечо делителя постоянного напряжения на входе; 28 - резистор нижнего плеча r делителя на входе; 28' - резистор верхнего плеча r опорного делителя; 28'' - резистор нижнего плеча r опорного делителя; 29 - диод Vd для выделения полной амплитуды отрицательного импульса на входе; 29' - диод Vd для компенсации смещения открытого диода входа в режиме хранения напряжения UΔϕ во время преобразования в импульсы и счета.

[19]

Резисторы 28, 28', 28'' для простоты выбираются одинаковыми и равными в первом приближении сумме сопротивлений 26, 27. Отклонение от этого условия возможно при подрегулировке режима хранения за счет резистора 27. Диоды 29, 29' должны быть принципиально одинаковыми. Возможная разница в напряжениях смещения для прямого тока, приводящая к нарушению режима хранения, компенсируется в соответствии с вышеуказанным замечанием.

[20]

Работает цифровой частотомер в основном так же, как и прототип, следующим образом. При подключении источников питающих напряжений, при запуске входного ƒ и счетного ƒc сигналов, в системе происходят следующие процессы. С помощью счетчика 3 сигнал счетной частоты делится на целое число, при котором получается сигнал эталонной частоты ƒ0, равной начальной частоте входного сигнала: ƒ0=ƒ (0)=ƒ. Частота входного сигнала ƒ изменяется за счет свойств его носителя. Например, если источник входного сигнала гироскоп - магнетрон [3], то его частота изменяется за счет угловой скорости подвижного объекта, где KM - коэффициент передачи гироскопа - магнетрона, ω - измеряемая угловая скорость подвижного объекта (ПО). Иначе формула записывается в виде ƒ=ƒ0+Δƒ, . При этом частота эталонная ƒ0 может лежать в интервале частот (0.1-10), ГГц.

[21]

Нетрудно видеть, что при изменении знака угловой скорости ПО изменяется знак приращения входной частоты, что должно фиксироваться цифровым частотомером. С помощью группы 5 из n счетчиков ƒ0 преобразуется в интервалы частоты и периоды следования импульсов измерительного интервала . С помощью триггера 8, схемы 4 и блока логики 10 измерительный интервал в отрезки времени ΔT заполняется счетными импульсами UcΔϕ. Данное решение поясняется графиками сигналов фиг. 4 и формулами (алгоритмами). Помимо заданных частот ƒ0 и ƒ, на фиг. 4 приведен и график сигнала счетной частоты ƒс, при этом для примера

[22]

[23]

Для примера на фиг. 4, на один такт опорной частоты ƒ0 приходится четыре такта счетной частоты ƒс, что дает точность оцифровки разностной частоты такую же, как и для опорной частоты ƒ0.

[24]

Для прототипа и предлагаемой схемы период формируется одним счетчиком 5 от опорной частоты ƒ0 естественным путем по сигналу переполнения, который передним фронтом переписывает данные со счетчика 6 входной частоты ƒ в регистр 11, а по заднему фронту переводит группу счетчиков к начальному нулевому состоянию. Использование регистра позволяет избежать «мигания» выходного кода для целой части частоты ƒ, позволяет обращаться к этой информации непрерывно, что является достоинством для использования устройства в качестве датчика, и сильно упрощает коррекцию для дробной части в устройстве 15, которое может быть здесь реализовано на ПЛИСе вместо микроконтроллера, как в аналоге.

[25]

Для предлагаемой схемы сброс счетчика входной частоты происходит по заднему фронту импульса этой же частоты ƒ при условии предварительного сброса счетчика эталонной частоты. Разность этих моментов времени сброса дает составляющую доквантовки, соответствующую накопленной разностной фазе Δϕ. На фиг. 4 разности для моментов времени переполнения обоих счетчиков образуют составляющие T1, Т2, соответствующие переходному моменту, для перехода изменения накопленной фазы через ноль к максимуму.

[26]

Указанные временные параметры связаны соотношением:

[27]

[28]

Элемент 5 (группа счетчиков) из эталонной частоты ƒ0 формирует частоту повторения интервалов измерения и должен содержать необходимое число каскадов n.

[29]

Для приведенной реализации схемы введенный элемент 4 упрощает технику счета, а именно, импульсами с АЦП с частотой значительно ниже частоты счетных импульсов ƒc измеряется непрерывно, после каждого интервала с частотой , накопленная фаза для разностной частоты Δƒ, которая с каждым интервалом изменяется на величину , пропорциональную разностной частоте ƒ-ƒ0. Поскольку в нашем случае Δƒ>0, избыток накопленной фазы будет с каждым интервалом уменьшаться.

[30]

Для фиксации этого изменения используются два канала измерения из двухкаскадных реверсивных счетчиков 12, 12' и 13, 13' на которых на первом интервале после сброса происходит счет на «сложение» и результат отображает текущую накопленную фазу, а на следующем интервале происходит счет на «вычитание», в результате получается разность фаз или приращение для одного интервала . После этого цикл может повторяться до бесконечности.

[31]

Счет происходит в пределах времени ΔT за счет работы генератора импульса растяжки 16 в устройстве 4, а длительность обеспечивается за счет времязадающей емкости Cg 17. Длительность импульсов фазы Т1, Т2 выделяется с помощью триггера 8, устанавливаемого в «1» признаком сброса со счетчика 5, а сбрасываемого в «0» признаком сброса со счетчика 6. Состояние «1» триггера дает импульсы UτΔϕ длительностью T1, Т2, которые являются и запускающими для генератора 16 и входными для интегратора на операционном усилителе DA 20 устройства 4. Полученное в результате интегрирования напряжение UΔϕ поступает на вход АЦП 19. Счет импульсов UcΔϕ с АЦП происходит на выходных счетчиках 12…13', а знак счета, как и в прототипе, определяется состоянием триггера 9, на счетный вход которого в начале каждого интервала поступает импульс, переводящий его в противоположное состояние.

[32]

Описана вначале работа одного канала, который дает определение разностной фазы и частоты только на одном интервале из двух. Точно такой же канал, на счетчиках 13, 13', управляемый противоположным выходом триггера 9, дает замер на интервале фиксации накопленной фазы для второго канала, и процесс измерения становится непрерывным, так как выходы счетчиков 12, 12' и их дубликатов 13, 13' объединены через мультиплексоры 14, 14' с управлением от этого же триггера. Все эти алгоритмы реализуются логикой на типовых элементах "И-НЕ" схемы управления 10.

[33]

Описание взаимодействия элементов схемы растяжки 4 следующее.

[34]

Импульсы UτΔϕ длительностью Т1, Т2. поступающие на вход устройства 4 имеют отрицательную полярность(от «1» к «0»), также как и вырабатываемые генератором 16 на микросхеме КР531ГГ1, и для внешнего потребления прежде всего в устройстве управления 10, инвертируются элементом 18 в виде И-НЕ, как и в устройстве управления 10. Выход 18 подключен так же и ко входу управления АЦП 19. К аналоговому входу АЦП подключен выход операционного усилителя DA 20. Этот выход так же подключен ко входу аналогового ключа АК 21, а выход его через резистор 22 к инвертирующему входу DA, являющегося суммирующей точкой. К этой же точке подключен выход DA через операционную емкость С 23 и вход интегратора через операционный резистор R 24. Управляющий вход аналогового ключа АК на полевом транзисторе подключен к выходу генератора 16. Если аналоговый ключ АК требует иной полярности управления, то его управляющий вход может быть подключен к выходу инвертора 18, как и для АЦП и наоборот.

[35]

[36]

В отсутствие импульса UτΔϕ на выходе генератора 16 действует высокий уровень, открывающий ключ 21, который замыкает выход интегратора через резистор 22 на суммирующую точку интегратора 20, тем самым приводя его в сброшенное нулевое состояние. Этому способствует и равенство потенциалов, подаваемых на вход через резистор R 24 с делителя из резисторов 26, 27 и 28, и на неинвертирующий вход DA 20 с делителя из резисторов 28', 28'' и одинаково открытых диодов 29, 29'.

[37]

При появлении импульсов длительностью Т1, Т2, с триггера 8 запускается генератор 16 и в течение действия импульса растяжки ΔT аналоговый ключ 22 отрицательным (нулевым) уровнем закрывается, и интегратор переходит в рабочий режим. За время действия отрицательных импульсов UτΔϕ через разделительную емкость Cr 25 на вход интегратора через резистор R 24 на емкости С 23 накапливается напряжение UΔϕ, пропорциональное времени действия импульсов Т1, Т2.

[38]

[39]

Это напряжение является выходным для интегратора 20. После окончания действия импульсов Т1, Т2, это напряжение сохраняется на интеграторе за счет равенства потенциалов на входах в течении всего времени импульса растяжки и подается на вход АЦП 19. АЦП должно быть число-импульсного типа (ЧИМ), например, с ЦАП в обратной связи, либо частотно-импульсного типа, тогда длительность импульса растяжки должна быть привязана к параметру пропорциональности частоты напряжению управления.

[40]

Эти импульсы поступают на вход счета устройства управления 10. И распределяются по счетчикам 12, 13.

[41]

Непрерывное уменьшение накопленной фазы приводит к переходу через нуль, но при этом происходит однократная добавочная задержка по другому состоянию счетчика 6, и накопленная фаза корректируется до максимума. Это происходит в момент вычитания, счетчик дает отрицательный результат, признак которого блокирует изменение показаний на выходе. Для следующего интервала этот счет будет на сложение, и он в конце интервала даст уже правильный результат. И далее все восстанавливается.

[42]

Таким образом, имеет место практически непрерывное измерение и разностной малой частоты ω=2πΔƒ при достаточно частом измерении, интервал которого определяется временем счета целых единиц для основной частоты ƒ. Одновременно на выходе ПЛИС и цифрового частотомера в целом определяется целое число импульсов входного сигнала за период измерения.

[43]

Источники информации

[44]

1. Гончаренко A.M. и др. Цифровой частотомер. Патент РФ №2210785. МПК GO1R 23/02. 2003, Бюл. №23.

[45]

2. Гончаренко A.M., Жмудь В.А. Пат. РФ №2278390. Цифровой частотомер. МПК GO1R 23/10. 2006, Бюл. №17.

[46]

3. Плотников П.К. Однорезонаторный гироскоп - магнетрон. Патент РФ на полезную модель №163266. МПК G01C 19/00. 2016, Бюл. №19.

Как компенсировать расходы
на инновационную разработку
Похожие патенты