патент
№ RU 2729308
МПК F03B3/08

РОТОРНЫЙ ИНЕРЦИОННЫЙ ДВИГАТЕЛЬ

Авторы:
Щербатюк Анатолий Дмитриевич
Номер заявки
2019138288
Дата подачи заявки
26.11.2019
Опубликовано
05.08.2020
Страна
RU
Как управлять
интеллектуальной собственностью
Чертежи 
2
Реферат

Изобретение относится к области энергетики и в частности к роторным инерционным двигателям, использующим для своей работы экологически чистую, возобновляемую энергию силы инерции центростремительного ускорения жидкости, вращающейся с одинаковой с ротором двигателя угловой скоростью. Ротор двигателя содержит реактивные окна, выполненные на боковой цилиндрической поверхности его корпуса и два всасывающих отверстия, расположенных на торцовых стенках ротора концентрично относительно его оси вращения. Сам ротор размещен в статоре, изначально заполненном жидкостью. Весь объем жидкости, заполняющий двигатель, находится под постоянным давлением, задаваемым аккумулятором, прикрепленным к статору. Набор угловой скорости ротора осуществляется посредством разгонного устройства, содержащего обгонную муфту. Длительность разгона ограничена моментом включения свободного хода обгонной муфты под действием реактивного момента импульса силы инерции центростремительного ускорения вращающейся с ротором жидкости. Центростремительное ускорение жидкости осуществляется работой внутреннего свода вращающегося ротора. Циркуляция жидкости внутри двигателя осуществляется за счет перепада давления между инерционным напором на выходе из реактивных окон и пониженным давлением на входе всасывающих отверстий ротора. Распределение эффективной площади всасывания в равных долях между двумя всасывающими отверстиями позволяет повысить мощность двигателя. Давление, задаваемое аккумулятором, обеспечивает компенсацию утечек, циркуляцию жидкости, а также стабильную работоспособность двигателя при любом его пространственном положении. 1 з.п. ф-лы, 3 ил.

Формула изобретения

1. Роторный инерционный двигатель, включающий в себя статор, ротор, размещенный в нем, при этом свободные внутренние объемы статора и ротора изначально заполнены жидкостью, причем жидкость, заполняющая ротор, расположена в нем с возможностью вращения ее с одинаковой с ротором угловой скоростью посредством элементов его конструкции, на боковой цилиндрической поверхности ротора расположены сквозные реактивные окна с высотой, меньшей высоты боковой стенки ротора, выполненные по направлению и по площади своих проходных сечений с возможностью обеспечения вращения ротора под действием реактивного момента импульса силы инерции центростремительного ускорения вращающейся с ротором жидкости, привод вращения ротора, включающий разгонное устройство с обгонной муфтой, установлен и прикреплен с возможностью использования энергии, а также возможностью вращения ротора с набором угловой скорости его вращения до скорости, достаточной для включения свободного хода обгонной муфты под действием реактивного момента импульса силы инерции центростремительного ускорения вращающейся с ротором жидкости, причем корпус ротора с одной стороны ограничен глухой торцовой стенкой, а с противоположной - торцовой стенкой с выполненным в ней всасывающим отверстием, расположенным концентрично относительно оси вращения ротора и имеющим эффективную площадь всасывания своего проходного сечения, отличающийся тем, что на статоре установлен аккумулятор с возможностью создания и поддержания постоянного давления жидкости в свободных внутренних объемах статора и ротора, на глухой торцовой стенке также концентрично относительно оси вращения ротора выполнено дополнительное всасывающее отверстие, при этом эффективная площадь всасывания распределена в равных долях между этими двумя всасывающими отверстиями, а сами отверстия расположены симметрично относительно реактивных окон, привод вращения ротора, включающий в себя разгонное устройство с обгонной муфтой, установлен и прикреплен к статору.

2. Роторный инерционный двигатель по п. 1, отличающийся тем, что привод вращения ротора установлен и прикреплен к статору с возможностью использования преобразованной энергии ее источника.

Описание

[1]

Изобретение относится в большей степени к области энергетики и в частности, к роторным инерционным двигателям, использующим для своей работы экологически чистую, возобновляемую энергию силы инерции центростремительного ускорения вращающейся с ротором жидкости.

[2]

Предлагаемый двигатель компактен, портативен и работоспособен в любом пространственном его положении. Найдет широкое применение в качестве автономной энергетической установки как в гражданских, так и в военных областях.

[3]

Известна роторная машина, работающая в режиме двигателя (патент на изобретение №2632737), включающая в себя статор, ротор, размещенный в нем вертикально. Корпус ротора, при этом, с одной стороны ограничен нижней глухой торцовой стенкой, а с противоположной, - другой торцовой стенкой с выполненным в ней всасывающим отверстием с возможностью заполнения ротора жидкостью от источника питания, расположенного выше его, через коллектор, содержащим клапанное устройство. Ротор, при этом, за счет своих элементов конструкции выполнен с возможностью вращения жидкости, заполняющей его, с одинаковой с ротором угловой скоростью. Клапанное устройство выполнено с возможностью сообщения полости коллектора с полостью статора.

[4]

На боковой цилиндрической поверхности корпуса ротора выполнено сквозное реактивное окно с возможностью использования его для вращения ротора за счет реактивного момента импульса силы тяжести столба жидкости, а так же за счет реактивного момента импульса силы инерции центростремительного ускорения, вращающейся с ротором жидкости. Статор снабжен регулируемым сливным вентилем.

[5]

Предельный объемный расход жидкости за счет силы тяжести ее столба, а так же предельная мощность, развиваемая при этом, ограничены высотой этого столба, а объемный инерционный расход жидкости и инерционная мощность, развиваемая силой инерции, не ограничены ничем, и обусловлены лишь вращением ротора.

[6]

Работа по сообщению жидкости центростремительного ускорения осуществляется, при этом, внутренним сводом корпуса ротора.

[7]

Сила тяжести столба жидкости используется для вращения ротора с набором угловой его скорости до скорости, достаточной для вращения ротора под действием реактивного момента импульса силы инерции центростремительного ускорения, вращающейся с ротором жидкости.

[8]

Привод ротора, выполненный в виде разгонного устройства, содержащим обгонную муфту, установлен для преодоления сил трения покоя при страгивании.

[9]

Исходя из выше сказанного, при определенной угловой скорости вращения ротора и при определенном положении сливного вентиля, инерционный объем жидкости посредством клапанного устройства коллектора будет циркулировать по замкнутому контуру за счет работы внутреннего свода корпуса ротора по сообщению жидкости центростремительного ускорения, используя для циркуляции жидкости энергию ее инерционного напора на выходе из реактивного окна.

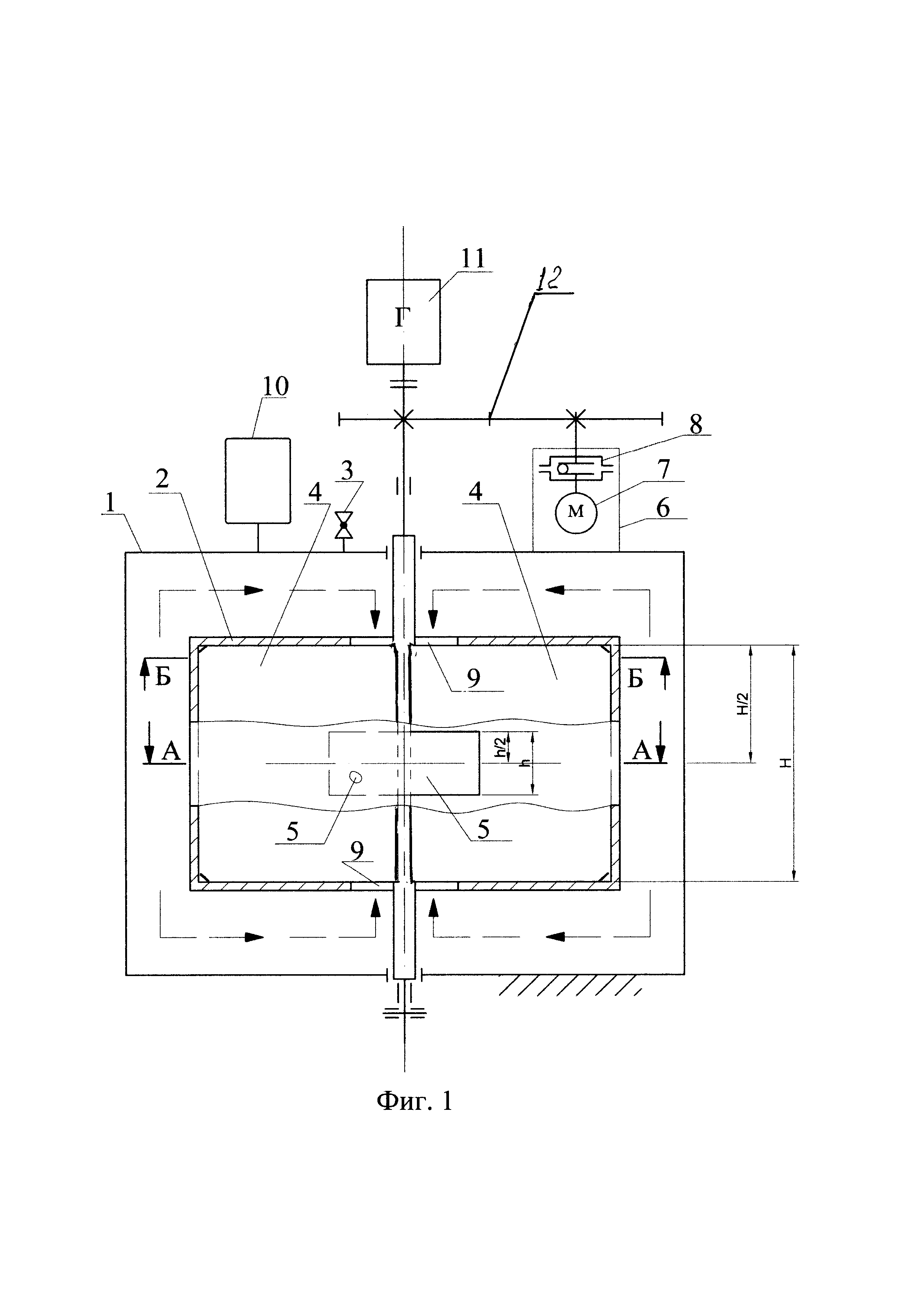
[10]

Основным недостатком роторной машины по патенту №2632737 является узкие технические возможности, заключающиеся в недостаточной ее компактности и портативности.

[11]

Известна так же роторная машина (заявка №2018102783/06 (003898)), выполненная для работы в качестве роторного инерционного двигателя, включающим в себя статор, ротор, размещенный в нем, при этом, внутренние свободные объемы статора и ротора так же заполнены жидкостью. Жидкость, заполняющая ротор, расположена в нем с возможностью вращения ее с одинаковой с ротором угловой скоростью посредством элементов его конструкции. На боковой цилиндрической поверхности ротора размещены сквозные реактивные окна, выполненные по направлению и по площади своих проходных сечений с возможностью вращения ротора под действием реактивного момента импульса силы инерции центростремительного ускорения, вращающейся с ротором жидкости. Начальное и последующее вращение ротора, при этом, так же осуществлено с возможностью набора его угловой скорости.

[12]

В отличие от аналога, в роторной машине, выполненной для работы в качестве роторного инерционного двигателя с целью обеспечения его компактности и портативности, коллектор с клапанным устройством, а так же источник питания, расположенный выше, из конструкции исключены. Свободные внутренние объемы статора и ротора изначально полностью заполнены жидкостью. Всасывающее отверстие ротора, при этом, расположено в верхней части статора, внутри его, и выполнено с эффективной площадью своего проходного сечения, обеспечивающей наименьшие потери при всасывании. Набор угловой скорости осуществлен посредством привода, выполненного так же как у аналога в виде разгонного устройства, содержащим обгонную муфту. Если у аналога работа привода ротора ограничена по времени длительностью страгивания, то у прототипа набор угловой скорости посредством разгонного устройства осуществлен по длительности времени до величины угловой скорости, обеспечивающей включение свободного хода обгонной муфты под действием реактивного момента импульса силы инерции центростремительного ускорения вращающейся с ротором жидкости. Привод вращения ротора установлен с возможностью использования энергии ее источника.

[13]

Примечание: Использование приведенного выше функционального признака в отличительной части, в сочетании с другими признаками, обеспечивает усиление существенных отличий прототипа от аналога.

[14]

Вращение ротора, при этом, осуществляется так же за счет работы внутреннего свода корпуса ротора по сообщению жидкости центростремительного ускорения, а точнее - за счет силы инерции этого ускорения в виде инерционного напора на выходе из реактивных окон. Циркуляция жидкости осуществляется за счет перепада давления между этим инерционным напором и пониженным давлением на входе во всасывающее отверстие ротора.

[15]

Основным недостатком двигателя является его нестабильная работоспособность из-за чувствительности даже к малейшим утечкам жидкости. Нестабильная работоспособность заключается в том, что при малейших утечках жидкости падает давление внутри двигателя, вплоть до закипания жидкости. При этом уменьшается перепад давления между инерционным напором на выходе из реактивных окон и давлением во всасывающей полости ротора. Циркуляция жидкости прекращается. Двигатель становится неработоспособным.

[16]

На фоне нестабильной работоспособности двигателя проявляются и узкие технические возможности его применения, заключающиеся в недостаточной мощности, в недостаточной компактности и портативности, а так же в невозможности его работы при любых пространственных положениях оси вращения ротора.

[17]

Технической задачей, на решение которой направлено изобретение, является обеспечение стабильной работоспособности двигателя и одновременно с этим расширение технических возможностей его применения, заключающиеся в повышении его мощности, в повышении его компактности и портативности, а так же обеспечение стабильной работоспособности при любых положениях оси вращения ротора.

[18]

Эта техническая задача решается тем, что на статоре установлен аккумулятор с возможностью создания и поддержания постоянного давления жидкости в свободных внутренних объемах статора и ротора, чем обеспечивается компенсация любых по величине утечек. Величина давления, при этом, не влияем на перепад давления между инерционным напором на выходе из реактивных окон и всасывающей полости ротора, чем обеспечивается стабильная циркуляция жидкости, и как следствие - стабильная работоспособность двигателя при любом пространственном положении оси вращения ротора. Повышение мощности осуществлено тем, что на глухой торцовой стенке ротора так же концентрично относительно оси его вращения выполнено еще одно дополнительное всасывающее отверстие. Эффективная площадь всасывания, при этом, распределена в равных долях между этими всасывающими отверстиями, и расположены они симметрично относительно реактивных окон. Привод вращения ротора, включающий в себя разгонное устройство с обгонной муфтой, установлен и прикреплен к статору, чем достигается повышение компактности и портативности двигателя.

[19]

Если:

[20]

- эффективная площадь всасывания, рассчитываемая для наглядности как для площади круга;

[21]

- радиус отверстия с эффективной площадью всасывания;

[22]

- точечная масса жидкости, используемая в расчетах;

[23]

- любой радиус вращения точечной массы;

[24]

- угловая скорость вращения ротора,

[25]

то повышение мощности двигателя подтверждается уравнениями;

[26]

1. Давление жидкости (потенциальная энергия) на любом радиусе в случае одного всасывающего отверстия:

[27]

[28]

(см. заявку №2018102783)

[29]

В случае двух всасывающих отверстий:

[30]

[31]

2. Инерционный напор на выходе из реактивных окон, расположенных на радиусе (см. фиг. 2) в случае одного всасывающего отверстия:

[32]

[33]

(см. заявку №2018102783)

[34]

В случае двух всасывающих отверстий:

[35]

[36]

Всасывание осуществляется двумя симметричными, равноценными между собой контурами циркуляции, что так же обеспечивает стабильную работоспособность при любом пространственном положении оси вращения ротора.

[37]

Установка и закрепление привода вращения ротора, включающим в себя разгонное устройство с обгонной муфтой на статоре, повышает компактность и портативность двигателя, расширяет его технические возможности.

[38]

Мощность роторного инерционного двигателя, развиваемая при этом (без учета силы Кориолиса) будет равна:

[39]

[40]

где - сила инерции;

[41]

- скорость жидкости на выходе из реактивных окон.

[42]

На фиг. 1 изображен общий вид предложенного роторного инерционного двигателя в виде полуконструктивной схемы, где в частности показано симметричное расположение всасывающих отверстий ротора относительно реактивных окон.

[43]

На фиг. 2 изображен поперечный разрез А-А ротора, выполненный по горизонтальной оси реактивных окон и показывающий расположение радиальных перегородок и нижнего всасывающего отверстия.

[44]

На фиг. 3 изображен поперечный разрез Б-Б, показывающий верхнее всасывающее отверстие.

[45]

Роторный инерционный двигатель содержит статор 1 (фиг. 1) и ротор 2. изначально полностью заполненные жидкостью посредством вентиля 3. Ротор 2, при этом, заполнен жидкостью, с возможностью вращения ее с одинаковой с ротором угловой скоростью посредством, например, двух радиальных перегородок 4 (фиг. 1, 2, 3). На боковой поверхности ротора 2 (фиг. 1, 2) расположены реактивные окна 5 (фиг. 1) с высоты h, меньшей высоты Н боковой стенки ротора 2. Реактивные окна 5 выполнены по направлению и по площади своих проходных сечений с возможностью обеспечения вращения ротора 2 под действием реактивного момента импульса силы инерции центростремительного ускорения вращающейся с ротором жидкости. Привод 6 (фиг. 1) вращения ротора 2, включающий в себя разгонное устройство 7 с обгонной муфтой 8 установлен и прикреплен к статору 1. На обеих торцовых стенках ротора 2 (фиг. 1) выполнены два всасывающих отверстия 9 (фиг. 1), расположенных концентрично относительно оси вращения ротора 2 и симметрично относительно окон 5. Эффективная площадь проходных сечений всасывающих отверстий 9 (фиг. 2, 3) распределена в равных долях между этими отверстиями. На статоре 1 (фиг. 1) установлен так же аккумулятор 10 с возможностью создания и поддержания постоянного давления жидкости в свободных внутренних объемах статора 1 и ротора 2. Двигатель нагружен, например, генератором 11. Вращение ротора 2 приводом 6 осуществляется посредством зубчатой передачи 12.

[46]

В исходном положении свободные внутренние объемы статора 1 и ротора 2 полностью заполнены жидкостью посредством вентиля 3. Кроме того, заполнение жидкостью свободных внутренних объемов статора и ротора осуществлено с возможностью создания и поддержания в них постоянного давления посредством аккумулятора 10. Ротор 2, при этом, неподвижен.

[47]

Включается привод 6 вращения ротора 2, используя для этого преобразованную энергию ее источника. Ротор начинает вращаться с набором угловой скорости используя для этого разгонное устройство 7.

[48]

Одновременно с этим, за счет работы внутреннего свода корпуса ротора 2 по сообщению жидкости центростремительного ускорения, а точнее - за счет работы силы инерции этого ускорения, появляется реактивный момент импульса силы инерции вращающей с ротором жидкости. Появление реактивного момента обусловлено инерционным напором на выходе из реактивных окон 5. Инерционный напор, при этом, будет расти пропорционально росту величины угловой скорости ротора в квадрате.

[49]

Циркуляция обеспечивается двумя симметричными и равноценными между собой контурами, с постоянными, гарантированными перепадами давления между инерционным напором на выходе из реактивных окон 5 и всасывающими отверстиями ротора 9.

[50]

Набор угловой скорости ротора 2 посредством разгонного устройства 7 будет происходить до величины угловой скорости, обеспечивающей включение свободного хода обгонной муфты 8 под действием реактивного момента импульса силы инерции центростремительного ускорения, вращающейся с ротором жидкости.

[51]

С этого момента ротор 2 инерционного двигателя будет вращаться за счет энергии силы инерции центростремительного ускорения жидкости, а энергия вращения привода 6 будет использоваться в случаях ускоренного набора мощности, а так же для поддержания требуемой угловой скорости ротора. Двигатель будет обладать стабильной работоспособностью при любом его пространственном положении.

Как компенсировать расходы
на инновационную разработку
Похожие патенты