Изобретение относится к области использования воздушно-реактивных двигателей. Работа воздушно-реактивного двигателя сопровождается мощным всасываемым потоком воздуха и мощным высокоскоростным потоком высокотемпературного выхлопного газа, обладающего большой внутренней энергией. Раскаленные выхлопные газы, истекшие из сопла, обладают часто не используемой внутренней энергией благодаря высокой температуре, и эта энергия может быть использована для совершения дополнительной полезной работы. Предлагаемое техническое решение предусматривает использование этих свойств воздушно-реактивного двигателя для совершения дополнительной полезной работы, обогрева и для воздействия на внешние объекты. Технический результат заключается в использовании энергии тепловой струи воздушно-реактивного двигателя для совершения дополнительной полезной работы. 2 з.п. ф-лы, 11 ил.
1. Способ использования внутренней энергии тепловой струи воздушно-реактивного двигателя, характеризуемый тем, что к выхлопному соплу воздушно-реактивного двигателя присоединяют дополнительную трубу, устанавливают воздушно-реактивный двигатель на плавсредство ниже уровня ватерлинии, обеспечивают подвод воздуха к воздухозаборнику воздушно-реактивного двигателя, в дополнительную трубу подают поток отходящих газов из воздушно-реактивного двигателя, а также воду, образующуюся газо-пароводяную смесь используют как средство придания дополнительного импульса движения плавсредству, образующуюся газо-пароводяную смесь дополнительно используют для нагрева жидкости в баке жидкостного обогрева и для воздействия на внешние объекты. 2. Способ по п. 1, отличающийся тем, что дополнительную трубу опускают под воду. 3. Способ по п. 1, отличающийся тем, что образующуюся газо-пароводяную смесь дополнительно используют для нагрева жидкости в баке жидкостного обогрева.
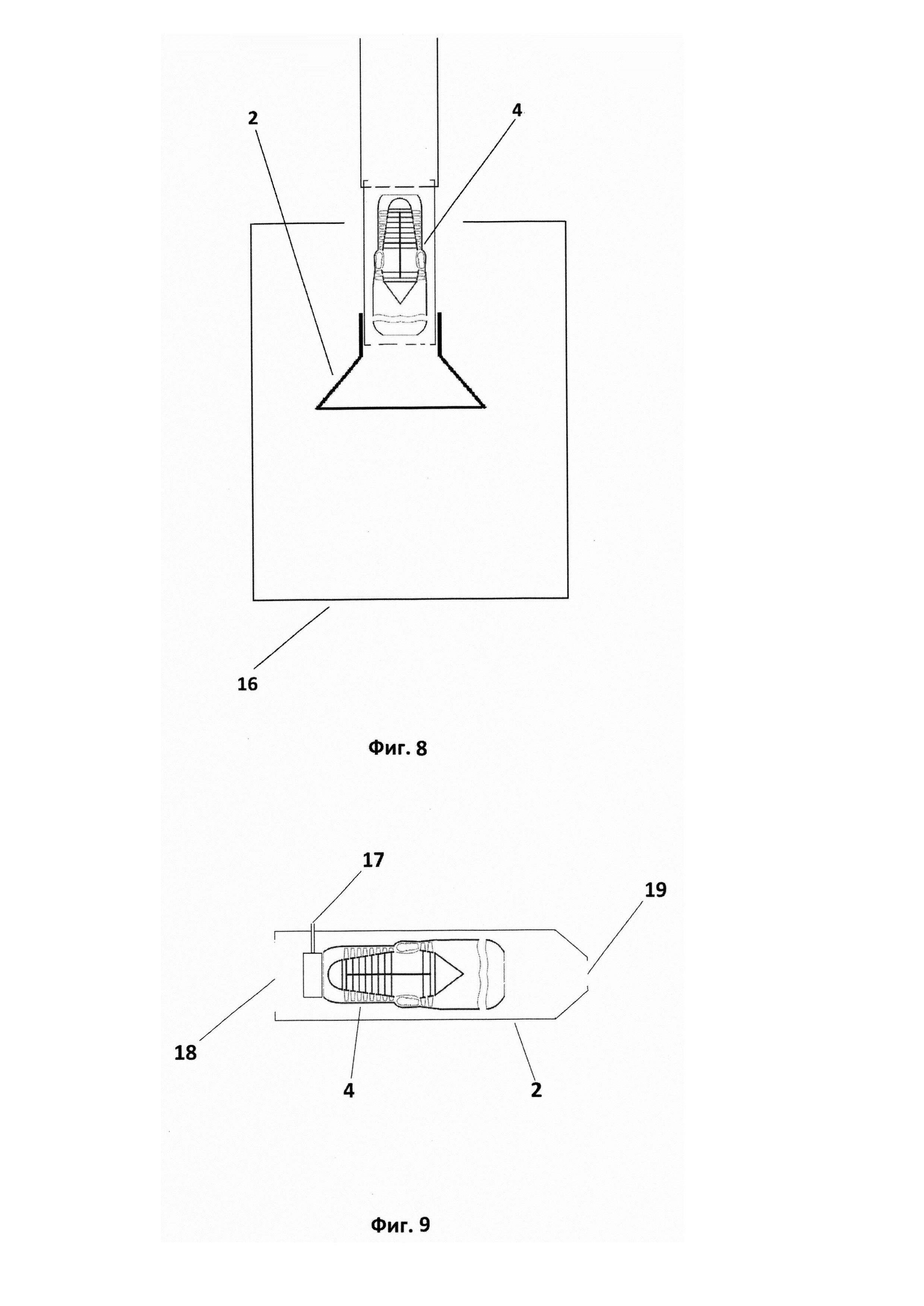
Изобретение относится к области использования воздушно-реактивных двигателей. В дальнейшем при характеристике разработанного технического решения будут использованы следующие термины: - Воздушно-Реактивный Двигатель (ВРД) - любой тип Воздушно Реактивного Двигателя, включая Прямоточный ВРД, Пульсирующий ВРД, Турбо-Реактивный ВРД, Воздушно-Вентиляторный ВРД и пр.; - Дополнительная труба - сложное механическое устройство, способное изменять свою геометрию, как и объемы подаваемой забортной воды (на изображениях это не показано) Известна (US, патент 3684054) конструкция блока расширения выхлопных газов двигателя Jet engine exhaust augmentation unit, в которой выхлопные газы турбореактивного двигателя частично охлаждают использованием впрыска воды и подают к впускному отверстию сопла для увеличения массы выхлопа струи. Такое решение в минимальной степени использует внутреннюю энергию тепловой струи для совершения дополнительной полезной работы. Также известна (US, патент 8092265) конструкция транспортного средства с реактивным двигателем Jet propulsion device, предназначенная для движения в воде, согласно которой воду добавляют в реакционную камеру двигателя и испаряют, образующийся пар способствует созданию паровой полости вокруг транспортного средства, что снижает сопротивление среды. Такое решение также только косвенно использует энергию тепловой струи как таковой. Известно также (RU 2093411) решение впрыска воды в реактивный двигатель с 2 целями: 1. Снижение парциального давления кислорода в камере сгорания (в связи с тем, что туда подается чистый кислород, а реактивный двигатель рассчитан на подачу воздуха) 2. Выхлоп реактивного двигателя производится в нерегулируемое выходное сопло, в которое дополнительно поступает вода. Недостатком известного решения следует признать: 1. Как известно нормальное давление для камер сгорания реактивных двигателей сставляет от десятков до сотен атмосфер. При наличие высоких температур и давлений это требует высокопрочных температуроустойчивых материалов, применение систем термоизоляции, да и проблема дросселирования (регулировки тяги) для реактивных двигателей полностью не решена до сих пор. 2. Не адаптивность (невозможность изменения количества притока воды, изменения формы) выходного сопла не позволяет такому сочетанию выбрать оптимальный режим. В этом решении нет дополнительной трубы (она предназначена именно для оптимизации работы с выхлопной струей на разных режимах работы двигателя. 3. Ресурс работы реактивных двигателей достаточно низок, в т.ч. поэтому их не применяют в транспортных системах, рассчитанных на длительное использование. В данной заявке не упоминается реактивный двигатель, только все типы ВРД. Известно решение SU 1743995 - «Гидрореактивный движитель, содержащий водопроточную трубу с размещенной в ней камерой сгорания» В этом решении камера сгорания находится в профилированной трубе, сам гидрореактивный движитель не относится ни к одному из типов двигателей, рассматриваемых в данной заявке (Воздушно-Реактивные двигатели). Известны также способы использования тепловой струи реактивного двигателя для совершения полезной работы вне транспортных средств, например, для нужд пожаротушения. Например, известна (CN, патент 1026756) конструкция Fire-extinguishing device by use of turbojet tall-gas and water-fog, в которой энергия тепловой струи реактивного двигателя, установленного на противопожарном транспортном средстве, используется для распыления подаваемой извне струи воды до состояния мелких капель (тумана) и направленного воздействия такой струей на источник возгорания. В данном случае энергия тепловой струи используется не в полной мере, т.к. не смешивается непосредственно с водой для максимальной отдачи энергии, а используется для разбиения внешней струи воды на капли. Сходный принцип с соответствующими недостатками реализован в полезной модели Urban turbo jet fire truck CN 202822566, в которой дополнительно предусмотрено распыление не только воды, но и противопожарного порошка (что является сомнительным решением: противопожарные порошки снижают температуру горячих газов и уменьшают наличие кислорода в месте горения, поэтому, если добавлять порошок в горячую струю, то он отработает до попадания в место горения). Данные решения предназначены для масштабных пожаров (тушение горящих нефтяных и газовых фонтанов и т.п. Наиболее близким аналогом является (US, патент 3396538) решение Water injection for thrust augmentation. Согласно этому решению, стандартный воздушно-реактивный двигатель, установленный на плавсредстве выше уровня воды, дополнительно снабжен краном для забора забортной воды и впрыска этой воды в выхлопную трубу двигателя. При этом происходит смешение выхлопных газов с водой и увеличивается тяга двигателя. Недостатками данного решения является неполное использование энергии тепловой струи (в силу отсутствия отсутствие специальной дополнительной трубы), ограниченное пропускной возможностью крана, наличие потока газа (с остаточно высокой температурой, а значит с остаточно высоким уровнем внутренней энергии) под самим плавсредством, что негативно влияет на устойчивость и плавучесть (Поток газов под плавсреством снижает его плавучесть согласно закону Архимеда). Также видно, что двигатель расположен в корпусе судна и работает в воздушной среде. Техническая проблема, решаемая с использованием разработанного способа, состоит в том, что существующие конструкции и способы использования воздушно-реактивных двигателей основаны на использовании реактивной тяги - силы, возникающей в результате взаимодействия воздушно-реактивной двигательной установки с истекающей из сопла струей расширяющихся выхлопных газов - продуктов сгорания топлива, обладающих кинетической энергией. В основу возникновения тяги положен закон сохранения импульса. При этом раскаленные выхлопные газы, истекшие из сопла, обладают дополнительной внутренней энергией благодаря высокой температуре, и эта энергия может быть использована для совершения дополнительной полезной работы. Технический результат, достигаемый при реализации разработанного способа, состоит в увеличении импульса движения. Для достижения указанного технического результата предложено использовать разработанный способ использования внутренней энергии тепловой струи воздушно-реактивного двигателя. Согласно разработанному способу к выхлопному соплу воздушно-реактивного двигателя присоединяют дополнительную трубу, устанавливают воздушно-реактивный двигатель на плавстерство ниже уровня ватерлинии, обеспечивают подвод воздуха к воздухозаборнику воздушно-реактивного двигателя (патент №2661633), в дополнительную трубу подают поток отходящих газов из воздушно-реактивного двигателя, а также воду, образующуюся газопароводяную смесь используют как средство придания дополнительного импульса движения плавсредству. Установка дополнительной трубы (ее форма и размеры изменяемы в процессе работы и зависят от характеристик ВРД, его режима работы и необходимой степени преобразования внутренней энергии выхлопной струи в дополнительный импульс движения - на изображениях не показано) позволяет преобразовывать внутреннюю энергию выхлопной струи в дополнительную массу воды, которая превращается в газо-паро-водяную смесь. Работа воздушно-реактивного двигателя всегда сопровождается мощным высокоскоростным потоком выхлопного газа, обладающего большой внутренней энергией (высокая температура исходящих газов - до 700 град. С). Предлагаемое техническое решение предусматривает использование этих свойств воздушно-реактивного двигателя для совершения дополнительной полезной работы или для воздействия на внешние объекты. Указанный технический результат достигается тем, что выхлопное сопло воздушно-реактивного двигателя снабжается достаточно протяженной дополнительной трубой, в которой осуществляется смешивание выхлопных газов двигателя с значительными объемами воды. За счет внутренней энергии поток газов превращается в поток газо-паро-водяной смеси, добавляя к скорости потока (которая изменяется незначительно благодаря рассчитанной геометрической форме дополнительной трубы с целью сохранения одинакового давления по всей длине дополнительной трубы) дополнительную массу испаренной и разогретой воды, тем самым увеличивая (пропорционально массе прошедшей через дополнительную трубу воды) импульс движения согласно формуле P=M×V, где Р - импульс, М - масса, V - скорость. Результатом является значительное приращение импульса движения выходящего потока. Полученное приращение импульса тем больше, чем больше масса воды, поступающей в дополнительную трубу, и, соответственно, больше масса образующегося в дополнительной трубе рабочего тела воздушно-реактивного двигателя - смеси выхлопных газов водяного пара и не испаренной воды. Наличие дополнительной трубы подразумевает структурно-функциональное единство, расположенная за зоной высокоскоростного высокотемпературного потока газов и соединенная с выхлопным соплом двигателя, позволяет регулировать поступление в эту трубу воды (на рисунках не указано) и ее смешивание в оптимальных количествах с выхлопными газами с образованием газо-пароводяной смеси на любых режимах работы двигателя. Подсчитаем КПД преобразования в движние: Стандартный корабль: ГТУ (Технически то-же ТРД) (0.33) - Электрогенератор (0.9) - (потерями на передаче электроэнергии пренебрегаем) - Электромотор (0.86)- Ходовой винит (0.6) Итого максимальный КПД такой схемы: 0.33*0.9*0.86*0.6=0.153. В варианте предлагаемой заявки ТРД в связке с дополнительной трубой является аналогом водометного двигателя и движителя одновременно. Дополнительный плюс на высоких скоростях в воде - нет воздействия кавитации на винт (в связи с его отсутствием). ТРД (0.3) - Водометный движитель (0.6): 0.24*0.6=0.21 Параметры подбирались при максимальном КПД отдельных элементов (причем КПД водометного движителя взято из устройства водомета с винтом, явно ниже, чем реализация, описанная в настоящей заявке, т.к. в ней нет винта, КПД которого достаточно низок сам по себе). В качестве воздушно-реактивного двигателя может, например, использоваться прямоточный воздушно-реактивный двигатель, пульсирующий воздушно-реактивный двигатель, турбореактивный двигатель, турбовентиляторный двигатель, турбовинтовой двигатель, турбовальный двигатель, винтовентиляторный двигатель и др. Работа воздушно-реактивного двигателя включает следующие процессы, вовлекаемые (по отдельности или в различных сочетаниях) в реализацию предлагаемого технического решения: - всасывание мощного потока воздуха, - произведение мощного высокоскоростного потока выхлопного газа, обладающего большой внутренней энергией (высокая температура исходящих газов). Согласно одному из вариантов реализации технического решения, предлагается использование внутренней энергии тепловой струи воздушно-реактивного двигателя для увеличения тяги двигателя. В одном из частных вариантов реализации, двигатели могут устанавливаться с вращением в двух плоскостях (ниже ватерлинии) по нескольку с каждого борта, для повышения маневренности при передвижении. При данном решении на плавсредстве не являются необходимыми винторулевая группа и машинный зал как таковой. КПД данной системы может быть увеличен значительно. Результаты использования двигателей для плавсредств, установленных ниже ватерлинии и вращающихся в двух плоскостях - полная компенсация бортовой качки без применения дополнительных устройств, компенсация кренов при разворотах, отсутствие негативных моментов использования руля, «сверхманевренность» плавсредства, значительная экономия внутреннего пространства, естественное встраивание в двигатель дорогостоящего монтируемого отдельно и занимающего не малое место устройства типа scrubber. В другом частном варианте реализации (для маломерных судов - вариант подвесного мотра), воздушно-реактивный двигатель размещен на плавсредстве, воздушно-реактивный двигатель снабжается дополнительной трубой, дополнительная труба и двигатель или только дополнительная труба могут быть погружены под воду - постоянно или только на период эксплуатации, - за счет чего достигается максимально эффективное использование энергии тепловой струи для обеспечения движения плавсредства. В варианте исполнения с погружением воздушно-реактивного двигателя под воду предусматривается оснащение двигателя дополнительным каналом для подачи воздуха в двигатель (патент №2661633). В одном из частных вариантов реализации, двигатель на период вне эксплуатации может закрываться герметичной откидной крышкой (колпаком), для исключения соприкосновения внутренних элементов двигателя с забортной водой. В одном из частных вариантов реализации, исключение соприкосновения внутренних элементов двигателя с забортной водой достигается с помощью дополнительного гидравлического запирающего механизма, включающего, по меньшей мере, наполняемый водой эластичный баллон для герметизации двигателя. Наполняемый водой эластичный баллон может быть выполнен, например, из высокотемпературного силикона. Альтернативно, отработанная газо-пароводяная смесь может очищаться от вредных примесей циркуляционным методом и сохраняться в специальной емкости и очищаться от вредных примесей. Данный вариант реализации предусматривает дополнительное снабжение дополнительной трубы лопастной системой в области выхода газо-пароводяной смеси, обеспечивающей высокую скорость вращения и, соответственно, эффект центрифугирования газопароводяной смеси. Благодаря эффекту центрифугирования, т.е., под воздействием центробежной силы, осуществляется сепарация вредных примесей. В последнем случае достигается дополнительный эффект снижения уровня вредных примесей, выбрасываемых в окружающую среду при работе двигателя. Данный частный вариант реализации удовлетворяет требованиям Международной морской организации по сокращению выбросов парниковых газов и вредных примесей. При этом предлагаемое техническое решение многократно дешевле и проще в реализации, чем распространенные в настоящее время т.н. «скрубберы» (scrubber), поскольку не требует использования дополнительного сложного специального оборудования, а реализуют эффект, достигаемый непосредственно во время эксплуатации воздушно-реактивного двигателя. В некоторых вариантах реализации образующуюся газо-пароводяную смесь дополнительно используют для воздействия на внешние объекты, в частности, ее используют нагрева жидкости в баке жидкостного обогрева. В частном случае реализации данного решения дополнительная труба преобразует всасываемый поток воздуха в источник мощного разряжения для последующего совершения дополнительной полезной работы. Примерами такого варианта исполнения могут служить различные пылесосы, системы откачки газов и т.п., выполненные с использованием воздушно-реактивного двигателя и объемлющей его дополнительной трубы В другом случае реализации данного решения мощный поток выхлопного газа с высокой температурой и высокой скоростью: дополнительная труба позволяет использовать внутреннюю энергию потока выхлопного газа с высокой температурой и скоростью для воздействия на внешние объекты. Реализуемые на этом принципе устройства-, парогенераторы, пожаротушители, пескоструйные аппараты, котлы обогрева зданий и помещений и т.д. К примеру в частном варианте реализации, предлагается использовать струю газо-пароводяной смеси для уборки мусора и/или снега посредством направленной струи. При этом непосредственно используется высокая скорость, масса (температура рабочего тела снижается в случае уборки снега за счет использования высокой степени двухконтурности) - газо-пароводяной смеси - для, например, удаления залежей снега или, например, удаления зарослей травы и мелкого кустарника (в этом варианте температура парогазовой струи 150-180 град. С), благодаря высокой температуре, достигается не только превращение свежей травы в сено, но и уничтожается пыльца сорняков, уничтожаются вредные насекомые без вредного воздействия на почву, затрагивается только слой почвы порядка миллиметра и т.д.). Таким устройством безопасно бороться с нынешней бедой городов и поселков России - распространение Борщевика. После обработки перегретым паром он теряет не только жизнеспособность, но и разлагаются его опасные (при соприкосновении) токсины. (По сути это аналог бытового стриммера.) Днем прошелся паром по участку, на следующий день граблями собрал пожухлую траву. Такое устройство является мобильным (носимым) и создается при помощи маломощного ТРД. В одном из частных вариантов реализации, предлагается использовать струю газо-пароводяной смеси для воздействия на открытое пламя и источник возгорания с целью тушения локальных и лесных пожаров. При этом высокая скорость и масса рабочего тела - газо-пароводяной смеси (лишенная кислорода) - непосредственно используется для того, чтобы сбивать пламя в области пожара и насыщать водой и влагой горючие материалы в зоне применения (с минимизацией ущерба помещениям, находящимся ниже возгораемого, и с минимизацией расхода воды в случае лесных и площадных пожаров). Сохраняется возможность тушения ГСМ. Для передвижения внутри затронутых пожаром помещений, да и передвижения по затронутому пожаром лесу - таковое устройство является мобильным и ручным механизмом, основанным на маломощном и малогабаритном ТРД. Его большим преимуществом будет экономия воды (при Н.У. для создания 1 м. куб. нужно 27 г. воды). Ориентировочная паропроизводительность такового мобильного пожаротушителя 3-25 м. куб. пара в минуту. На минимальном режиме такой пожаротушитель погасит кубом пара пару м. кВ. тлеющей травы, на максимальном - за минуту погасит горящий малолитражный автомобиль, стандартную горящую кухню площадью 6 м. кВ. В другом частном варианте реализации, предлагается использовать струю газо-пароводяной смеси для пропаривания стойматериалов, например пропаривание бетона в строительстве. Согласно одному из вариантов реализации технического решения, предлагается использовать высокую температуру струи газо-пароводяной смеси для обогрева. Для этого предлагается размещать воздушно-реактивный двигатель, снабженный дополнительной трубой (со свойствами рассеивания единого высокотемпературного газового потока на большое количество мелких потоков), в составе бака жидкостного обогрева помещений и зданий, при этом тепловая энергия струи двигателя используется для нагрева жидкости в баке. Согласно одному из вариантов реализации технического решения, предлагается использовать внутреннюю энергию тепловой струи воздушно-реактивного двигателя для преобразования всасываемого потока воздуха в источник мощного разряжения. Для этого предлагается снабжать воздушно-реактивный двигатель дополнительной трубой, которая целиком охватывает двигатель, при этом внутренняя энергия тепловой струи воздушно-реактивного двигателя обеспечивает преобразование всасываемого потока воздуха в источник разряжения, используемого, например, для всасывания пыли, откачивания газа, создания мощных компактных водяных насосов и т.п. Согласно одному из вариантов реализации технического решения, предлагается в качестве компрессора турбо-реактивного двигателя использовать компрессор, аналогичный по конструкции компрессору автомобильной турбины. Данный вариант исполнения характеризуется экономностью в производстве и сниженным уровнем производимого шума. Согласно одному из вариантов реализации технического решения, предлагается исполнение рабочей части турбо-реактивного двигателя аналогичной по конструкции горячей части стандартной автомобильной турбины. Данный вариант исполнения характеризуется экономностью в производстве и сниженным уровнем производимого шума. Краткое описание чертежей На Фиг. 1 представлен чертеж воздушно-реактивного двигателя (конкретно, пульсирующего воздушно-реактивного двигателя), содержащего дополнительную трубу, дополнительно снабженный форсунками распылителями для подачи воды во внутреннюю полость дополнительной трубы. На Фиг. 2 представлен чертеж воздушно-реактивного двигателя (конкретно, турбо-реактивного двигателя), содержащего дополнительную трубу, дополнительно снабженный форсунками - распылителями для подачи воды во внутреннюю полость дополнительной трубы. На Фиг. 3 представлен чертеж продольного внутреннего сечения участка дополнительной трубы, дополнительно снабженного форсунками распылителями для подачи воды во внутреннюю полость. На Фиг. 4 представлен чертеж воздушно-реактивного двигателя (конкретно, пульсирующего воздушно-реактивного двигателя) (1), погруженного ниже уровня воды (5), и содержащего канал подачи воздуха в двигатель (6) с наличием дополнительной трубы (2). На Фиг. 5 представлен чертеж воздушно-реактивного двигателя (конкретно, турбо-реактивного двигателя), погруженного ниже уровня воды (5), и содержащего канал подачи воздуха в двигатель (6) с наличием дополнительной трубы (2). На Фиг. 6 представлен чертеж дополнительного гидравлического запирающего механизма. На Фиг. 7 представлен чертеж воздушного-реактивного двигателя (4) с дополнительной трубой для воздействия на внешние объекты (2), в наличии: электрический стартер (15), форсунки распыления воды (3). На Фиг. 8 представлен чертеж бака (16) жидкостного обогрева помещений и зданий с воздушно-реактивным двигателем (4), тепловая энергия струи которого используется для нагрева при помощи дополнительной трубы (2), разбивающий поток выхлопных газов на много отдельные мелких струек горячего газа (на рисунке не выделено). На Фиг. 9 представлен чертеж воздушно-реактивного двигателя (4) с объемлющей дополнительной трубой (2) для преобразования всасываемого потока воздуха в источник разряжения: (17) - канал подачи наружного воздуха для работы ТРД, (19) общее выходное сопло, (18) - место максимального разряжения (куда можно подключать и негорючие газы и жидкости для откачки. На Фиг. 10 представлен чертеж компрессора турбо-реактивного двигателя с пониженным уровнем производимого шума. На Фиг. 11 представлен чертеж рабочей части турбо-реактивного двигателя с пониженным уровнем производимо шума. Обозначения на чертежах: 1 - пульсирующий воздушно-реактивный двигатель, 2 - дополнительная труба, 3 - форсунки - распылители, 4 - турбо-реактивный двигатель, 5 - уровень воды, 6 - канал для подачи воздуха в двигатель, 7 - вал турбины турбореактивного двигателя, 8 - гидротормоз, 9 - трубки подачи давления на гидротормоз, 10 - тонкостенный кожух, 11 - внутренняя полость тонкостенного кожуха, 12 - надувной эластичный баллон, 13 - поршень, 14 - место подачи давления воды, 15 - пусковой электродвигатель, 16 - бак жидкостного отопления, 17 - отверстие для закачивания воздуха компрессором турбо-реактивного двигателя, 18 - отверстие для втягивания основного объема воздуха или газов, 19 - отверстие для выхлопа, 20 - заслонка компрессора с регулируемым диаметром входного отверстия, 21 - заслонка компрессора с фиксированным входным отверстием, 22 - лопатки компрессора, 23 - заслонка компрессора с фиксированным выходным отверстием, 24 - заслонка компрессора с регулируемым диаметром выходного отверстия, 25 - подвижная входная заслонка рабочей части турбо-реактивного двигателя, 26 - неподвижная входная заслонка рабочей части турбо-реактивного двигателя, 27 - лопатки рабочей части турбо-реактивного двигателя, 28 - неподвижная выходная заслонка рабочей части турбо-реактивного двигателя, 29 - подвижная выходная заслонка рабочей части турбо-реактивного двигателя. Описание вариантов осуществления изобретения На Фиг. 1 изображен один из вариантов осуществления настоящего изобретения для увеличения тяги воздушно-реактивного двигателя (Пульсирующий Воздушно-реактивный Двигатель). Сопло пульсирующего воздушно-реактивного двигателя 1 соединено с дополнительной трубой 2, дополнительно снабженного форсунками - распылителями 3 для подачи воды во внутреннюю полость дополнительной трубы. При запуске двигателя воздух засасывается в камеру сгорания, горячий (700-1000°С) высокоскоростной (до 300 м/сек) поток отработанных газов из сопла двигателя поступает в дополнительную трубу, смешиваясь с водой, распыляемой форсунками - распылителями, вода превращается в пар, образуется газо-пароводяная смесь. Скорость потока снижается незначительно, масса потока (с падением температуры) за счет испаренной воды (пара) увеличивается значительно, значительно увеличивая тягу двигателя. На Фиг. 2 изображен один из вариантов осуществления настоящего изобретения для увеличения тяги воздушно-реактивного двигателя. Сопло турбореактивного двигателя 4 соединено с дополнительной трубой 2, дополнительно снабженного форсунками - распылителями 3 для подачи воды во внутреннюю полость дополнительной трубы. При запуске двигателя компрессор двигателя затягивает воздух в камеру сгорания, горячий (700-1000°С) высокоскоростной (до 300 м/сек) поток отработанных газов из сопла двигателя поступает в дополнительную трубу, смешиваясь с водой, распыляемой форсунками - распылителями, вода превращается в пар, образуется газо-пароводяная смесь. Скорость потока снижается незначительно, масса потока (с падением температуры) за счет испаренной воды (пара) увеличивается значительно, значительно увеличивая тягу двигателя. На Фиг. 3 показан примерный вариант исполнения форсунки - распылителя 3 для впрыска воды внутри полости дополнительной трубы. Поток горячих отработанных газов обозначен на Фиг. 3 тонкими горизонтальными стрелками, поступление воды в форсунку - жирной вертикальной стрелкой. На Фиг. 4 изображен один из вариантов осуществления настоящего изобретения для увеличения тяги воздушно-реактивного двигателя. Пульсирующий воздушно-реактивный двигатель 1, используемый для передвижения плавсредства, расположен ниже уровня воды 5. Воздухозаборник двигателя соединен с каналом 6 для подачи воздуха в двигатель, вход канала расположен выше уровня воды. Сопло двигателя соединено с дополнительной трубой 2. При запуске двигателя воздух поступает через канал в камеру сгорания, горячий (700-1000°С) высокоскоростной (до 300 м/сек) поток отработанных газов из сопла двигателя поступает в дополнительную трубу, смешиваясь с забортной водой, вода превращается в пар и вытесняется из дополнительной трубы в составе образовавшейся газо-пароводяной смеси и не испаренной воды. Скорость потока снижается незначительно, масса потока (с падением температуры) за счет воды и испаренной воды (пара) увеличивается значительно, значительно увеличивая тягу двигателя. На Фиг. 5 изображен один из вариантов осуществления настоящего изобретения для увеличения тяги воздушно-реактивного двигателя. Турбореактивный двигатель 4, используемый для передвижения плавсредства, расположен ниже уровня воды 5. Воздухозаборник двигателя соединен с каналом 6 для подачи воздуха в двигатель, выход канала расположен выше уровня воды. Сопло двигателя соединено с дополнительной трубой 2. При запуске двигателя компрессор двигателя затягивает воздух через канал в камеру сгорания, горячий (700-1000°С) высокоскоростной (до 300 м/сек) поток отработанных газов из сопла двигателя поступает в дополнительную трубу, смешиваясь с забортной водой, вода превращается в пар и вытесняется из дополнительной трубы в составе образовавшейся газо-пароводяной смеси. Скорость потока снижается незначительно (это обеспечивается рассчитанной геометрической формой дополнительной трубы с целью сохранения давления в процессе испарения и нагрева воды по все длине дополнительной трубы), масса потока (с падением температуры) за счет воды и испаренной воды (пара) увеличивается значительно, значительно увеличивая тягу двигателя. На Фиг. 6 показан примерный вариант исполнения дополнительного гидравлического запирающего механизма, обеспечивающего исключение соприкосновения внутренних элементов двигателя с забортной водой. Механизм предусматривает оснащение конца вала турбины 7, обращенного в сторону дополнительной трубы, гидротормозом 8, снабженным трубками подачи давления 9 с открывающимися под давлением ниппелями. Механизм охвачен тонкостенным кожухом 10, во внутренней полости 11 которого расположен эластичный надувной баллон 12. Кожух механически соединен с поршнем 13, сориентированным внутрь полости кожуха и снабженным на противоположном конце местом подачи давления воды 14. Механизм срабатывает следующим образом: в момент прекращения подачи топлива в воздушно-реактивный двигатель автоматически срабатывает пусковой электродвигатель 15 (не показан на чертеже), обеспечивающий продувание и охлаждение воздушно-реактивного двигателя. На место подачи давления воды на поршне подается давление через регулируемый клапан (не показан), поршень осуществляет смещение тонкостенного кожуха и наполнение водой эластичного баллона, герметизирующего доступ в воздушно-реактивный двигатель. Давление в полости кожуха передается, посредством снабженных ниппелями трубок, на гидротормоз, осуществляющий торможение и остановку вращения вала турбины. При возобновлении подачи топлива в воздушно-реактивный двигатель процесс осуществляется в обратном порядке, обеспечивая разблокировку вала турбины, сжатие эластичного баллона и открытие доступа воды во внутреннюю полостью под кожухом, что обеспечивает охлаждение элементов механизма в период работы воздушно-реактивного двигателя. На Фиг. 7 показан один из вариантов осуществления настоящего изобретения для воздействия на внешние объекты, включая горящие материалы, емкости для горюче-смазочных материалов, залежи снега, заросли растительности, материалы для пропаривания и т.п. В частности, показан примерный вариант исполнения дополнительной трубы в данном варианте осуществления. Согласно Фиг. 7, турбореактивный двигатель 4, снабженный дополнительной трубой 2, оснащенным форсунками - распылителями 3 для подачи воды во внутренней полости дополнительной трубы, подключен к пусковому электродвигателю 15. Запускается пусковой электродвигатель, запускается турбореактивный двигатель, в дополнительную трубу поступает поток отработанных газов, через форсунки в дополнительную трубу впрыскивается вода, в дополнительной трубе образуется перегретый пар (температура до 200°С), используемый для воздействия на внешние объекты. На Фиг. 8 изображен один из вариантов осуществления настоящего изобретения для нагрева дополнительного объема жидкости, используемого для отопления домов и сооружений, для работы снеготаялок и т.п. Турбо-реактивный двигатель 4 погружен в жидкость в баке жидкостного обогрева 16 помещений и зданий, двигатель расположен вертикально в «плавающем» состоянии (поплавки не указаны). При работе двигателя происходит истечение горячих газов, через дополнительную трубу 2, выполненный в данном случае в виде рассекателя выхлопной струи, который разводит выхлоп на многочисленные потоки газа и их первичное смешение с жидкостью теплоносителя. Далее они всплывают сквозь теплоноситель вверх, отдавая тепловую энергию теплоносителю. В связи с тем, что охлаждение двигателя и охлаждение выхлопа двигателя происходит в теплоносителе, КПД ожидается максимально высоким для тепловых машин. На Фиг. 9 изображен один из вариантов осуществления настоящего изобретения для преобразования всасываемого потока воздуха в источник разряжения. Турбо-реактивный двигатель 4 целиком охвачен объемлющей дополнительной трубой 2, снабженным отверстием 17 для закачивания воздуха компрессором турбо-реактивного двигателя, отверстием 18 для втягивания основного объема воздуха или газов, жидкостей и отверстием 19 для выхлопа. При запуске турбореактивного двигателя компрессор двигателя обеспечивает поступление воздуха через отверстие 17 для обеспечения работы двигателя, выхлопная струя двигателя, перемещаясь в полости дополнительной трубы, обеспечивает высокое разрежение в дополнительной трубе, благодаря чему осуществляется втягивание основного объема газа (или жидкости) через отверстие 18, выхлоп удаляется через отверстие 19. На Фиг. 10 изображен один из вариантов осуществления настоящего изобретения с использованием турбо-реактивного двигателя с компрессором, производящим пониженный уровень шума. Компрессор центробежного типа с регулируемым диаметром входного и выходного отверстий, оснащен заслонкой 20 с регулируемым по принципу диафрагмы диаметром входного отверстия, заслонкой 21 с максимально необходимым фиксированным входным отверстием, расположенными на общем валу турбо-реактивного двигателя лопатками 22 компрессора (например, прямоугольной формы), заслонкой 23 с максимально необходимым фиксированным выходным отверстием, заслонкой 24 с регулируемым по принципу обратной диафрагмы диаметром выходного отверстия. При изменении диаметра входного и выходного отверстий осуществляется эмуляция работы классической поворотной лопатки компрессора. На Фиг. 11 изображен один из вариантов осуществления настоящего изобретения с использованием рабочей части турбо-реактивного двигателя, производящей пониженный уровень шума. Схематично представлена работа для одного межлопаткового пространства одной ступени горячей (рабочей) части турбо-реактивного двигателя. Рабочая часть оснащена подвижной входной заслонкой 25, неподвижной входной заслонкой 26, расположенными на общем валу турбо-реактивного двигателя лопатками 27 двигателя (например, прямоугольной формы), неподвижной выходной заслонкой 28, подвижной выходной заслонкой 29. При вращении заслонок 25 и 29 меняется сечение для входа и выхода потока газа. Поступающий через регулируемое сечение входных заслонок поток газа повышает давление на находящихся на его пути лопаток, при этом давление на остальных лопатках ниже и равно выходному давлению ступени горячей части, что понуждает общий вал турбины вращаться. Тем самым, регулируя проходное сечение между входными заслонками горячей ступени и между выходными заслонками, осуществляется эмулирование поворотной лопатки стандартной горячей части турбо-реактивного двигателя. При добавлении воды (например, дистиллированной) в пространство после жаровых камер (камеры сгорания), возможно понижение температур до значений, допускающих использования термостойкой нержавеющей стали.