Изобретение относится к области строительства, в частности, к аппаратам, работающим под давлением, более конкретно к автоклавам для тепловлажностной обработки гипсового щебня. Устройство включает дверцы для загрузки и выгрузки гипсового щебня, магистраль для подачи пара с задвижкой, присоединенной к отверстиям в верхней его части, магистраль для отвода конденсата с задвижкой, симметрично расположенные относительно оси автоклава паровые трубы с многочисленными пароотводами, через которые подают пар для обработки гипсового щебня. Обеспечивается равномерная обработка паром гипсового щебня, повышается стабильность производства, качество и прочность конечного продукта. 3 ил., 1 табл.
Вертикальный автоклав для производства гипса, содержащий верхнюю дверцу для загрузки, нижнюю дверцу для выгрузки, магистраль отвода конденсата и сброса давления, расположенную в нижней части автоклава, и магистраль подачи пара с возможностью ее подачи через отверстия в верхней части автоклава, отличающийся тем, что он дополнительно оснащен вертикально симметрично расположенными относительно оси автоклава паровыми трубами с многочисленными пароотводами, при этом паровые трубы соединены с магистралью подачи пара, а пароотводы расположены на паровых трубах с наклоном вниз и направлены в разные стороны.
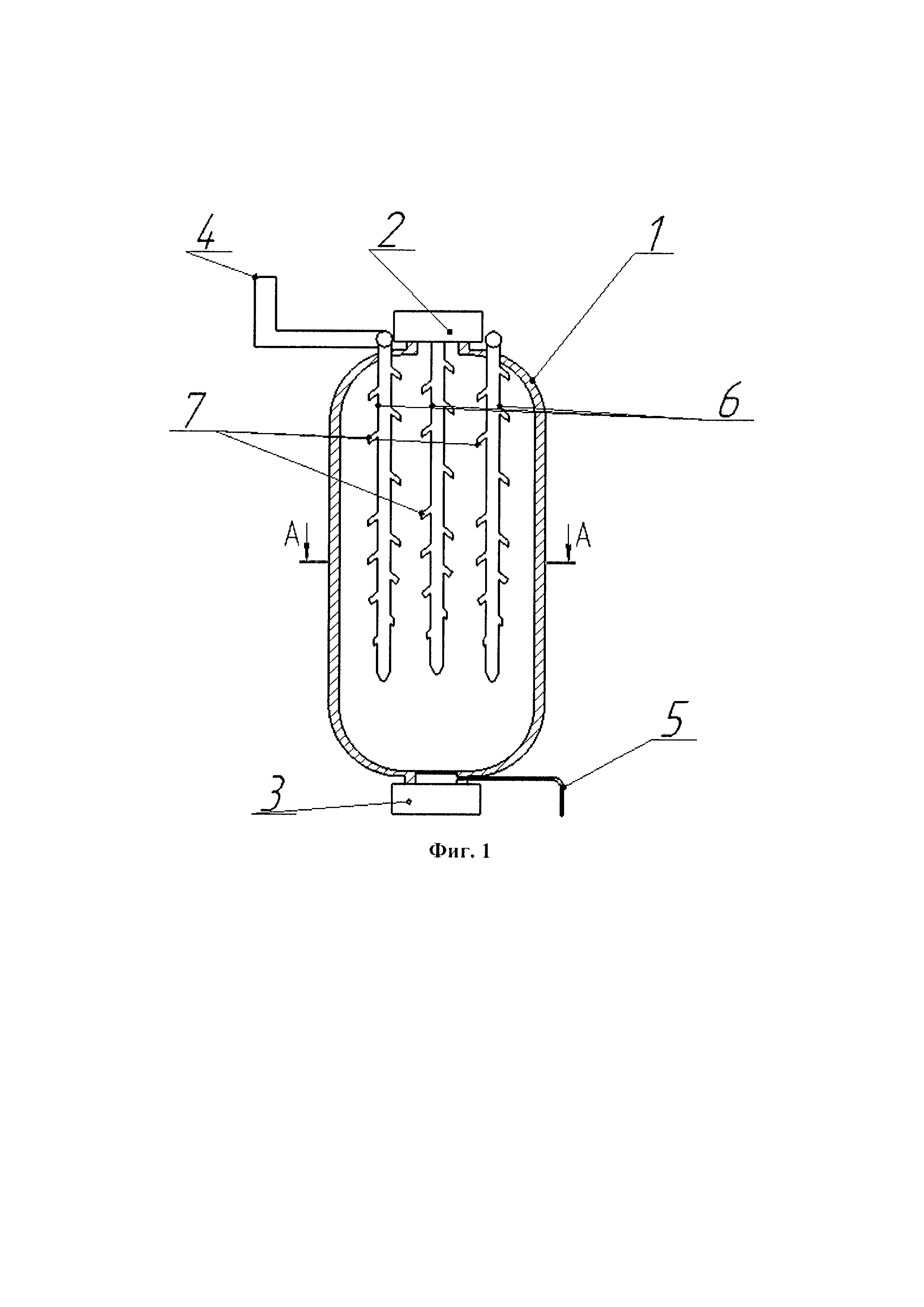
Изобретение относится к области строительства, в частности, к аппаратам, работающим под давлением, более конкретно к автоклавам для тепловлажностной обработки гипсового щебня. Известно устройство для получения высокопрочного гипса, содержащее автоклав с дверцами для загрузки и выгрузки гипсового щебня, снабженный магистралью для подачи пара, расположенной в верхней части автоклава, и магистралью для отвода конденсата - в нижней его части /А.с. №65713 Способ получения высокопрочного гипса / И.А. Передерий, - опубл. 31.01.1946./ Принято за прототип. Недостатками данной конструкции является то, что пар в автоклав поступает только с верхней части, и гипсовый щебень обрабатывается не равномерно, сверху он пережигается (превращается в ангидрит), а снизу материал получается почти не обработанным (остается двуводный гипсовый щебень). В итоге, на выходе из автоклава, вместо полуводного гипсового щебня, получают смесь из: пережженного гипсового щебня (ангидрид), гипсового щебеня заданной прочности (полуводный) и не обработанного гипсового щебеня (двуводный). Это снижает прочность и марку конечного продукта. Гипсовый щебень, попадая самотеком в автоклав, укладывается неравномерно: в одних местах он распределяется более плотным слоем, а в других - с образованием пустот. Пар, попадая в автоклав, устремляется в более рыхлые слои гипсового щебеня, где он встречает наименьшее сопротивление, минуя уплотненные слои, которые получают недостаточно тепла и остаются необработанным. Технический результат - равномерная обработка паром гипсового щебня, повышение стабильности производства, а также повышение качества и прочности конечного продукта. Технический результат достигается тем, что известный вертикальный автоклав для производства гипса, содержащий верхнюю дверцу для загрузки, нижнюю дверцу для выгрузки, магистраль отвода конденсата и сброса давления, расположенный в нижней части автоклава, и магистраль подачи пара с возможностью ее подачи через отверстия в верхней части автоклава, дополнительно оснащен вертикально симметрично расположенными, относительно оси автоклава, паровыми трубами с многочисленными пароотводами, при этом паровые трубы соединены с магистралью подачи пара, а пароотводы расположены на паровых трубах с наклоном вниз и направлены в разные стороны. При производстве гипса имеет место непостоянство свойств исходного гипсового щебня, таких как влажность и однородность, а также, ввиду ряда причин, неравномерный прогрев и образование пустот при попадании гипсового щебня в автоклав. Эти факторы не позволяют получать высокопрочный гипс требуемой прочности. Об этом свидетельствуют результаты исследований, проведенных авторами изобретения. В ходе проведения экспериментов, авторами предложенного изобретения, осуществлялось наблюдение за изменением количества кристаллизационной воды в гипсовом щебне (фракции 10-60) из разных (по высоте) мест рабочей емкости автоклава, в условиях атмосферного воздействия с течением времени. Для этого были отобраны образцы гипсового щебня сразу после гидротермальной обработки в автоклаве из 3-х точек, в разгруженной массе в: верхней, средней, и нижней. Определение содержания кристаллизационной воды измерялось на 3-х этапах: сразу после разгрузки автоклава (исходный показатель), через 15 минут (с момента разгрузки; в условиях атмосферного воздействия) и через 30 минут (с момента разгрузки; в условиях атмосферного воздействия). Данные приведены в таблице, представленной ниже. Из полученных данных видно, что пропаренный гипсовый щебень не имеет однородности. Так же при выгрузке из автоклава, при отборе образцов, было замечено образование комов из гипсового щебня (уплотнений, образовавшихся в процессе загрузки в автоклав), которые остались не обработанными. Использование предложенного автоклава, обеспечивает наиболее качественную обработку гипсового щебня, поскольку, пар проходит через весь обрабатываемый гипсовый щебень от низа до верха, а так же проникает в пустоты, и становится возможным обеспечение требуемых показателей прочности производимого гипса. Изобретение поясняется чертежами. На фиг. 1 изображен вертикальный автоклав, где приняты следующие обозначения: автоклав 1, верхняя дверца 2, нижняя дверца 3, магистраль подачи пара 4, магистраль отвода конденсата 5, паровая труба 6, пароотвод 7. На фиг. 2 изображен вид сверху на вертикальный автоклав, где приняты следующие обозначения: магистраль подачи пара 4, магистраль отвода конденсата 5, верхняя дверца 2. На фиг. 3 изображен разрез А-А вертикального автоклава, где приняты следующие обозначения: паровая труба 6, пароотвод 7. Вертикальный автоклав состоит из верхней дверцы 2 для засыпки гипсового щебня, нижней дверцы 3 для выгрузки обработанного гипсового щебня, магистрали отвода конденсата 5, расположенной в нижней части автоклава, через которую также сбрасывают давление после завершения процесса обработки гипсового щебня, магистрали подачи пара 4 и паровых труб 6 с пароотводами 7. Магистраль подачи пара 4 подведена к автоклаву 1 с возможностью подачи пара через отверстия, расположенные в верхней его части, к которым присоединены, например, электродуговой сваркой паровые трубы 6. Паровые трубы 6 имеют множество коротких пароотводов 7, присоединенных к ним под углом и направленных вниз для предотвращения забивки их гипсовым щебнем при загрузке автоклава 1. Размеры и количество паровых труб 6 и пароотводов 7 определяются в зависимости от размеров конкретного автоклава 1 и от возможности обеспечения качественной обработки всего объема гипсового щебня, загруженного в него. К примеру, длина паровых труб 3 может быть равной не менее 2/3 длины автоклава 1. Магистраль подачи пара 4 и магистраль отвода конденсата 5 снабжены задвижками (на фигурах не показаны). Принцип работы вертикального автоклава заключается в следующем: в автоклав 1 через верхнюю дверцу 2 засыпают гипсовый щебень до полного заполнения автоклава 1, затем его герметизируют. После этого по магистрали подачи пара 4 подают пар, который поступает в паровую трубу 6 с многочисленными пароотводами 7 и проходит через них в слои гипсового щебня, насыщая их паром. Затем гипсовый щебень выдерживают в течение требуемого времени при определенной температуре и давлении, которые зависят от технического задания производства высокопрочного гипсового щебня. В процессе обработки по магистрали отвода конденсата 5 периодически удаляют конденсат, а по окончанию обработки гипсового щебня, через него же сбрасывают давление. После этого через нижнюю дверцу 3 выгружают из автоклава 1 обработанный паром гипсовый щебень. Заявленное устройство позволяет обеспечить требуемое значение прочности гипсового щебня в процессе его автоклавирования при изменении характеристик сырья. С применением заявленного устройства стабилизируется процесс автоклавирования, в результате чего повышается качество и прочность готовых изделий и марка конечного продукта.