патент
№ RU 2726092
МПК E02D1/02

УСТРОЙСТВО ДЛЯ СТАТИЧЕСКОГО ЗОНДИРОВАНИЯ ГРУНТА

Авторы:
Кятов Нурби Хусинович
Правообладатель:
Номер заявки
2020106564
Дата подачи заявки
11.02.2020
Опубликовано
09.07.2020
Страна
RU
Как управлять
интеллектуальной собственностью
Чертежи 
1
Реферат

Изобретение относится к строительству, а именно к устройствам для исследования деформационных и реологических характеристик грунтов зондированием пластинчатым зондом при инженерно-геологических изысканиях и может быть применено при определении качества грунтовых оснований зданий и различных земляных сооружений. Устройство для статического зондирования грунта содержит пластинчатый клиновидный наконечник, на одной из сторон которого смонтирован датчик давления, тросовый дальномер, электронно-преобразующий блок, компьютер и полая штанга. Поперечное сечение пластинчатого клиновидного наконечника выполнено овальным, в виде сплюснутого эллипса, при этом верхнее ребро клиновидной нижней части пластины выполнено концентрично датчику давления. Технический результат состоит в повышении точности и достоверности определения деформационных и реологических характеристик грунта. 3 ил.

Формула изобретения

Устройство для статического зондирования грунта, содержащее пластинчатый клиновидный наконечник, на одной из сторон которого смонтирован датчик давления, тросовый дальномер, электронно-преобразующий блок, компьютер и полая штанга, отличающееся тем, что поперечное сечение пластинчатого клиновидного наконечника выполнено овальным, в виде сплюснутого эллипса, при этом верхнее ребро клиновидной нижней части пластины выполнено концентрично датчику давления.

Описание

[1]

Изобретение относится к строительству, а именно к устройствам для исследования деформационных и реологических характеристик грунтов статическим зондированием пластинчатым зондом при инженерно-геологических изысканиях и может быть применено при определении качества грунтовых оснований зданий и различных земляных сооружений.

[2]

Известно устройство для зондирования грунта [1] в виде клиновидной пластины со смонтированным на одной из ее сторон датчиком давления, предназначенного для одновременного определения деформационных и релаксационных характеристик грунтов статическим или динамическим зондированием.

[3]

Известно устройство для статического зондирования грунтов расклинивающим дилатометром [2], имеющее форму жесткого пластинчатого клина, внутри которого расположен датчик для измерения среднего контактного давления по рабочим граням дилатометра, вызванного деформированием грунта в процессе испытания, предназначенного для определения модуля деформации грунта.

[4]

Известные устройства [1, 2] для зондирования грунтов пластинчатым зондом имеют индивидуальные эксплуатационные и конструктивные возможности.

[5]

За прототип изобретения принят наиболее близкий к предлагаемой конструкции зонда известное устройство для зондирования грунта [3-5], включающее пластинчатый клиновидный наконечник (дилатометрический или динамометрический зонд), на одной из сторон которого смонтирован датчик давления, тросовый дальномер, электронно-преобразующий блок, компьютер и полая штанга.

[6]

Недостатком этого устройства является низкая точность и достоверность определения деформационных и реологических характеристик грунтов, так как в процессе вдавливания пластинчатого клиновидного наконечника грунт постепенно равномерно деформируется в стороны симметрично относительно продольной оси на величину толщины пластины, в результате которого распределение контактных давлений по ширине рабочей зоны пластины не равномерно, так как известно ([6] с. 479), что при расширении трещины в виде близкой прямоугольной приложенная внутренняя сила действует на трещину сжимающим образом, но вблизи края трещины она действует разрывающим образом, причем у самого края трещины она обращается в бесконечность. Поэтому вблизи края пластины из-за избыточных напряжений развиваются зоны предельных состояний, что оказывают влияние на величину определяемых деформационных и реологических характеристик грунта.

[7]

Техническая задача предлагаемого устройства для статического зондирования грунта состоит в повышении точности и достоверности определения деформационных и реологических характеристик грунта.

[8]

Поставленная задача решается таким образом, что в устройстве для зондирования грунта, включающее пластинчатый клиновидный наконечник, на одной из сторон которого смонтирован датчик давления, тросовый дальномер, электронно-преобразующий блок, компьютер и полая штанга, отличающееся тем, что поперечное сечение пластинчатого клиновидного наконечника выполнено овальным в виде сплюснутого эллипса при этом верхнее ребро клиновидной нижней части пластины выполнено концентрично датчику давления.

[9]

Технический результат заключается в повышении точности и достоверности определения деформационных и реологических свойств грунта за счет конструктивного решения поперечного сечения зонда овальным в виде сплюснутого эллипса и тем самым обеспечения равномерного распределения контактного давления по ширине рабочей зоны пластины, где расположен датчик давления, так как известно ([6] с. 478), что при равномерном давлении в трещине трещина расширяется и принимает эллиптическую форму. Кроме того, форма верхнего ребра клиновидной нижней части пластины, выполненной концентрично датчику давления, обеспечивает одновременную равномерную передачу давления упругого отпора грунта датчику давления.

[10]

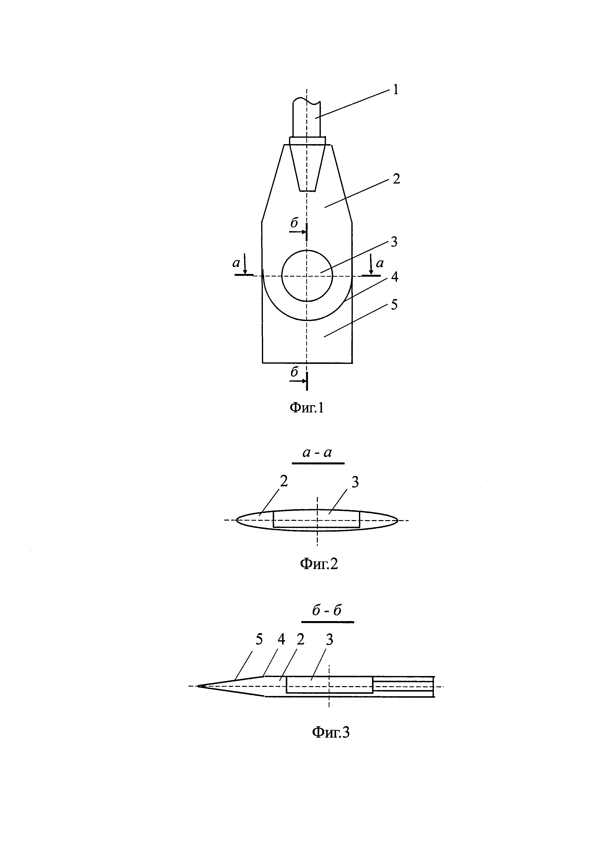
На фиг. 1 представлен общий вид устройства для статического зондирования грунта; фиг. 2 - а-а фиг. 1; фиг. 3 - б-б фиг. 1.

[11]

Устройство включает полую штангу 1, пластинчатый клиновидный наконечник 2, датчик давления 3. Тросовый дальномер, электронно-преобразующий блок и компьютер (на рисунке не показаны). Верхнее ребро 4 клиновидной нижней части 5 пластины выполнено концентрично датчику давления 3.

[12]

Устройство для статического зондирования грунта работает следующим образом.

[13]

Усилие залавливающего устройства (не показано) передается на штангу 1 и далее на пластинчатый клиновидный наконечник 2, вдавливая его в массив фунта. При погружении зонда грунт постепенно равномерно деформируется в стороны принимая форму сплюснутого эллипса и обеспечивая равномерное распределение контактного давления на рабочую зону зонда, где расположен датчик давления 3. По мере погружения зонда, с использованием датчика давления 3 измеряют давление упругого отпора грунта, по величине которого выделяют инженерно-геологические элементы (определяют толщины слоев и линз, выявляют границы распространения грунтов различных видов и разновидностей), оценивают пространственную изменчивость состава и свойств грунтов. На заданной глубине, где планируется определять деформационные и реологические характеристики грунта, погружение зонда прекращается. Во время остановки зонда продолжается измерение меняющегося во времени давления упругого отпора грунта с использованием датчика давления 3, по величине и характеру изменения которого во времени судят о деформационных и реологических свойствах грунта.

[14]

Источники информации

[15]

1. Авторское свидетельство СССР №400837, М. Кл. G 01n 3/42 от 1966.

[16]

2. ГОСТ Р 58270-2018 Грунты. Метод испытаний расклинивающим дилатометром. - М.: Стандартинформ, 2018. - 14 с.

[17]

3. СТП МИСИ 9201294-90 (стандарт предприятия МИСИ им. В.В. Куйбышева). Методика выполнения измерений давления в природном грунтовом массиве. М.: Изд-во МИСИ, 1990. - 28 с.

[18]

4. Оборудование для полевых испытаний грунтов. ООО «НПП «Геотек». // Г.Г. Болдырев, А.В. Мельников, Д.Г. Скопинцев. Режим доступа: http://npp-geotek.ru/upload/iblock/75f/75fb61c967ef4163e2832042123c848b.pdf

[19]

5. СТП 000000-2014 Грунты. Методы измерения горизонтального давления в грунтовом массиве. - М.: 2015, - 29 с. Режим доступа: http://npp-geotek.com/d/942856/d/stp_dilatometr0.pdf

[20]

6. Снедцон И. Преобразования Фурье. - М.: Изд. Иностранной литературы, 1955. - 670 с.

Как компенсировать расходы
на инновационную разработку
Похожие патенты