патент
№ RU 2724193
МПК B65D88/64
Номер заявки
2020101813
Дата подачи заявки
16.01.2020
Опубликовано
22.06.2020
Страна
RU
Как управлять
интеллектуальной собственностью
Чертежи 
3
Реферат

[14]

Изобретение относится к бункеру для сыпучих материалов, который может быть применен в горнорудной, химической, угольной, строительной и других областях народного хозяйства. Задачей данного изобретения является повышение эффективности выгрузки сыпучего материала из бункера. Поставленная задача достигается тем, что в бункере для сыпучих материалов, содержащем корпус, прямоугольная верхняя часть которого имеет вертикальные стенки, а нижняя - наклонные, образующие выпускное отверстие, установленный в корпусе побудитель истечения материала, выполненный в виде гибкого листа, имеющего форму сечения корпуса, снабженного горизонтальными штырями, прикрепленными к нему с обеих плоскостей в шахматном порядке, устройство для поддерживания побудителя закреплено на тележках к двутаврам и связано с приводом побудителя канатами, отводными блоками и конечными выключателями, а в нижней части к побудителю подвешены на канатах и отводных блоках грузы, побудитель истечения материала в верхней части бункера связан шарнирно через пружинные упругие звенья с устройством для его поддерживания и с пролетной балкой мостового крана побудителя с установленными на ней симметрично относительно вертикальной оси вибраторами. 5 ил.

Формула изобретения

Бункер для сыпучих материалов, содержащий корпус, прямоугольная верхняя часть которого имеет вертикальные стенки, а нижняя часть - наклонные стенки, образующие выпускное отверстие, установленный в корпусе побудитель истечения материала, выполненный в виде гибкого листа, имеющего форму сечения корпуса, снабженного горизонтальными штырями, прикрепленными к нему с обеих плоскостей в шахматном порядке, устройство для поддерживания побудителя закреплено на тележках к двутаврам и связано с приводом побудителя канатами, отводными блоками и конечными выключателями, побудитель истечения материала в верхней части бункера связан с пролетной балкой мостового крана, отличающийся тем, что побудитель истечения материала в верхней части бункера связан с помощью установленных через определенный шаг пружин с пролетной балкой мостового крана, а в нижней части побудитель связан с установленными в направляющих с внешней стороны бункера симметрично относительно вертикальной оси гидроцилиндрами с системой отводных блоков.

Описание

[1]

Изобретение относится к средствам кратковременного хранения и выгрузки сыпучих материалов с использованием бункеров и может быть применено в горнорудной, химической, угольной, строительной, металлургической и других областях народного хозяйства.

[2]

Известен бункер для сыпучих материалов, содержащий корпус, прямоугольная верхняя часть которого имеет вертикальные стенки, а нижняя - наклонные, образующие выпускное отверстие, установленный в корпусе побудитель истечения материала, выполненный в виде гибкого листа, имеющего форму сечения корпуса, снабженного горизонтальными штырями, прикрепленными к нему с обеих сторон в шахматном порядке, побудитель истечения материала связан шарнирно с устройством для его поддерживания (патент РФ №2668208, МПК8 В65Д 88/64, БИ №27, 2018).

[3]

Недостаток указанного бункера - низкая эффективность ликвидации сводообрушения сыпучего материала из-за ограниченности зоны обрушения.

[4]

Наиболее близким к описываемому решению по технической сущности и достигаемому результату является бункер для сыпучих материалов, содержащий корпус, прямоугольная верхняя часть которого имеет вертикальные стенки, а нижняя часть - наклонные стенки, образующие выпускное отверстие, установленный в корпусе побудитель истечения материала, выполненный в виде гибкого листа, имеющего форму сечения корпуса, снабженного горизонтальными штырями, прикрепленными к нему с обеих плоскостей в шахматном порядке, устройство для поддерживания побудителя закреплено на тележках к двутаврам и связано с приводом побудителя канатами, отводными блоками и конечными выключателями, побудитель истечения материала в верхней части бункера связан шарнирно через пружинные упругие звенья с устройством для его поддерживания и с пролетной балкой мостового крана побудителя (патент РФ №2695400, МПК8 В65Д 88/54, Б.И. №21, 2019).

[5]

Недостаток указанного бункера - незначительная эффективность ликвидации сводообрушения сыпучего материала из-за ограниченности зоны обрушения.

[6]

Задачей данного изобретения является повышение интенсификации процесса сводообрушения в бункерах.

[7]

Поставленная задача достигается тем, что в бункере для сыпучих материалов, содержащем корпус, прямоугольная верхняя часть которого имеет вертикальные стенки, а нижняя часть - наклонные стенки, образующие выпускное отверстие, установленный в корпусе побудитель истечения материала, выполненный в виде гибкого листа, имеющего форму сечения корпуса, снабженного горизонтальными штырями, прикрепленными к нему с обеих плоскостей в шахматном порядке, устройство для поддерживания побудителя закреплено на тележках к двутаврам и связано с приводом побудителя канатами, отводными блоками и конечными выключателями, побудитель истечения материала в верхней части бункера связан с пролетной балкой мостового крана, побудитель истечения материала в верхней части бункера связан с помощью установленных через определенный шаг пружин с пролетной балкой мостового крана, а в нижней части побудитель связан с установленными в направляющих с внешней стороны бункера симметрично относительно вертикальной оси гидроцилиндрами с системой отводных блоков.

[8]

Из патентной и научно-технической литературы не известна конструкция бункера для сыпучих материалов, в котором побудитель истечения материала в верхней части бункера связан с помощью установленных через определенный шаг пружин с пролетной балкой мостового крана, а в нижней части побудитель связан с установленными в направляющих с внешней стороны бункера симметрично относительно вертикальной оси гидроцилиндрами с системой отводных блоков.

[9]

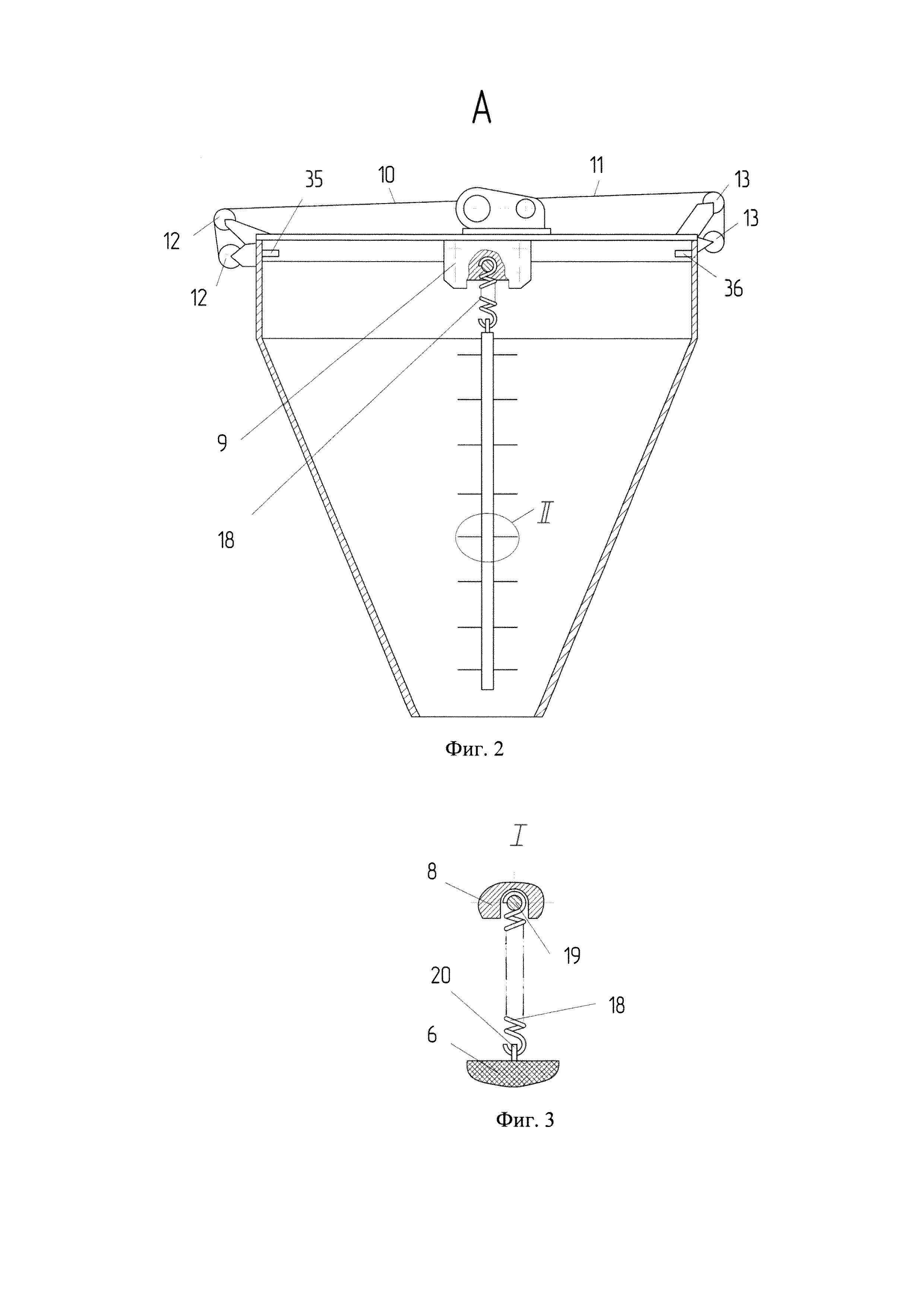
На фиг. 1 приведен общий вид бункера для сыпучих материалов; на фиг. 2 - вид А на фиг. 1; на фиг. 3 - узел I на фиг. 1; на фиг. 4 - вид Б на фиг. 1.; на фиг. 5 - узел II на фиг. 2.

[10]

Бункер для сыпучих материалов содержит прямоугольный корпус 1 с вертикальными стенками, переходящими в наклонные стенки 2, и выпускное отверстие 3. На раме 4 в верхней части корпуса установлен привод 5 поступательного движения, который связан с рабочим органом - побудителем истечения материала. Последний изготовлен в виде мембраны 6 с прикрепленными к ней горизонтальными штырями 7, установленными на обеих плоскостях в шахматном порядке. Мембрана 6 сделана по форме сечения бункера и закреплена к поддерживаемому органу в верхней части бункера, выполненному в виде пролетной балки 8 мостового крана 9. Привод 5 мембраны 6 связан через канаты 10, 11 и отводные блоки 12, 13 с пролетной балкой 8 мостового крана 9, которая закреплена к тележкам 14, 15, подвешенным к ездовым двутаврам 16, 17. Мембрана 6 связана с пролетной балкой 8 с помощью расположенных через определенный шаг пружин 18, верхние концы которых закреплены на осях шарниров 19, установленных в вырезах нижней части балки 8, а нижние концы - в проушинах 20, установленных на верхней части мембраны. Со стороны выпускного отверстия 3 к мембране 6 прикреплены канаты 21, 22, которые через отводные блоки 23, 24 и 25, 26 связаны соответственно со штоками 27, 28 гидроцилиндров 29, 30, установленных симметрично относительно вертикальной оси бункера в цилиндрических направляющих 31, 32, жестко закрепленных к рамам 33, 34. Канаты 21, 22 должны обеспечить предварительное натяжение рабочего органа при креплении их к штокам 27, 28 гидроцилиндров 29, 30. Ход мостового крана ограничен конечными выключателями 35, 36.

[11]

Бункер для сыпучих материалов работает следующим образом.

[12]

В процессе выгрузки материала через отверстие 3 и обрушения его сводов включают установленный на раме 4 привод 5. Создается крутящий момент и канат 10 через отводные блоки 12 наматывается на барабан, а канат 11 через отводные блоки 13 сматывается с барабана. Пролетная балка 8 мостового крана 9 с тележками 14, 15 перемещается влево по полкам ездовых двутавров 16, 17. Включаются гидроцилиндры 29, 30. Штоки 27, 28 гидроцилиндров перемещаются вниз, канаты 21, 22 через отводные блоки 23, 24, 25, 26 передают усилие на мембрану, проушины 20 и пружины 18 с шарнирами 19. Пружины 18 растягиваются, а мембрана перемещается вниз. За счет контакта штырей 7 мембраны 6, совершающей одновременно горизонтальные перемещения и перемещения в вертикальной плоскости совместно с пружинами, происходит рыхление и сводообрушение сыпучего материала в бункере. Выполняют реверсирование привода 5. Канат 11 через блоки 13 наматывается на барабан привода 5, а канат 10 через блоки 12 сматывается с барабана. Пролетная балка 8 мостового крана 9 с тележками 14, 15 перемещается вправо по полкам ездовых двутавров 16, 17. Включаются гидроцилиндры 29, 30. Штоки 27, 28 гидроцилиндров перемещаются вниз, канаты 21, 22 через отводные блоки 23, 24, 25, 26 передают усилие на мембрану, проушины 20 и пружины 18 с шарнирами 19. Пружины 18 растягиваются, а мембрана перемещается вниз. За счет контакта штырей 7 мембраны 6, совершающей одновременно горизонтальные перемещения и перемещения в вертикальной плоскости совместно с пружинами, происходит рыхление и сводообрушение сыпучего материала в бункере другой плоскостью. Таким образом, при переменном движении мостового крана 9 относительно плоскости симметрии бункера происходит попеременное непрерывное контактирование штырей 7 мембраны 6 с сыпучим материалом. Крайние положения мостового крана 9 ограничены конечными выключателями 35, 36.

[13]

Сыпучий материал склонен к заклиниванию в замкнутом объеме, что затрудняет его выгрузку. Ручные операции по ликвидации забивания бункера малоэффективны и занимают много рабочего времени. Предлагаемое изобретение позволяет эффективно производить процесс ворошения сыпучего материала и облегчает его выгрузку. Таким образом, поставленная задача, связанная с повышением эффективности выгрузки сыпучего материала из бункера достигается предлагаемым устройством.

Как компенсировать расходы
на инновационную разработку
Похожие патенты