патент
№ RU 2719516
МПК E02B17/02

ОПИРАЮЩАЯСЯ НА ДНО ПЛАТФОРМА И СПОСОБ СОЗДАНИЯ БУРОВОГО ТЕРМИНАЛА ДЛЯ БУРЕНИЯ НА МЕЛКОВОДНОМ ШЕЛЬФЕ

Авторы:
КХОО Сэн Яу (SG) ВАРТДАЛЬ Харальд (NO) ЛИМ Кван Хэн (SG)
Все (5)
Номер заявки
2018138401
Дата подачи заявки
25.05.2017
Опубликовано
20.04.2020
Страна
RU
Дата приоритета
15.12.2025
Номер приоритета
Страна приоритета
Как управлять
интеллектуальной собственностью
Чертежи 
8
Реферат

Различные варианты реализации изобретения относятся к способу и опирающемуся на морское дно основанию платформы для создания терминала для бурения на мелководном шельфе, причем изготовленную заводским способом плавучую придонную опорную часть буксируют к месту проведения работ, заполняют балластом для того, чтобы она опиралась на морское дно, и/или осуществляют забивку свай в морское дно, образуя придонный фундамент. Опирающееся на морское дно основание платформы содержит по меньшей мере один консольный блок с отверстиями для бурения скважин, выходящими наружу сбоку от внешней стороны вертикальной стенки, заканчивающимися над уровнем моря. Изготовленный заводским способом плавучий буровой модуль, содержащий выносную опору с бурильным устройством, выполненным с возможностью перемещения в сторону, буксируют к месту проведения работ, направляют в придонную опорную часть через проем в стеновой конструкции по периметру основания платформы, затем заполняют балластом и совмещают с придонным основанием, после чего пробуривают скважины с помощью бурильного механизма. После завершения буровых работ и работ по заканчиванию скважин буровую установку выводят и заменяют добывающей установкой. Упрощается процесс размещения платформы на грунте морского дна любого типа и обеспечивается быстрый запуск добычи углеводородов из пробуренных и законченных скважин. 2 н. и 11 з.п. ф-лы, 16 ил.

Формула изобретения

1. Опирающаяся на морское дно платформа для бурения и добычи углеводородов, содержащая опирающееся на морское дно основание (10) платформы, расположенное и неподвижно установленное относительно морского дна (11), образующее опору для буровой установки (30) и/или добывающей установки (50), отличающаяся тем, что основание (10) платформы, предпочтительно, содержит устройства, регулирующие плавучесть, выходящая вверх стеновая конструкция (15), проходящая вокруг основания (10) платформы вдоль трех сторон, а также выполненная с возможностью выступать над уровнем моря при установке на месте проведения работ, при этом одна сторона содержит проем (15') в стеновой конструкции (15) для введения плавучей буровой и/или добывающей установки (30, 50), которую устанавливают с возможностью отведения на верхней части основания (10) платформы и внутри стеновой конструкции (15), причем выходящая вверх стеновая конструкция (15) содержит предварительно установленные секции на внешней стороне стеновой конструкции (15), выполненные с возможностью использования для бурения через них скважин.

2. Опирающаяся на морское дно платформа по п. 1, отличающаяся тем, что придонное основание (10) платформы имеет U-образную форму и содержит отверстия для бурения скважин (12), причем предпочтительно, боковые стенки (15) U-образной формы образуются прямыми боковыми поверхностями.

3. Опирающаяся на морское дно платформа по п. 1 или п. 2, отличающаяся тем, что подготовленные точки для бурения скважин расположены на консольном блоке, выходящем в боковом направлении из внешней стороны боковой стенки (стенок) (15), и заканчиваются над уровнем моря (25), образуя конструкционно-неотъемлемую часть со стеновой конструкцией (15).

4. Опирающаяся на морское дно платформа по п. 2 или п. 3, отличающаяся тем, что отверстия (12) содержат стенки или обсадные трубы, выполненные с возможностью обеспечения бурения через них.

5. Опирающаяся на морское дно платформа по любому из пп. 1-4, отличающаяся тем, что устройство для бурения скважин устанавливают на трех сторонах основания (10) платформы.

6. Опирающаяся на морское дно платформа по любому из пп. 1-5, отличающаяся тем, что придонная опорная часть (10) основания содержит устройство для забивки свай (14) через основание (10) платформы и/или вдоль стеновой конструкции (15), выходящей из верхней части стеновой конструкции (15) через нижнюю часть стеновой конструкции (15).

7. Опирающаяся на морское дно платформа по любому из пп. 1-6, отличающаяся тем, что проем (15') в стеновой конструкции (15) для введения плавучего модуля (20) хранения выполнен с возможностью закрывания с помощью закрывающего механизма, образуя закрытую стеновую конструкцию (15) по периметру основания (10) платформы.

8. Опирающаяся на морское дно платформа по п. 7, отличающаяся тем, что основание (10) платформы разделено на такое же количество отсеков, что и буровой модуль (30), причем вертикальные стенки отсеков образуют несущую балку так, что вертикальные силы, создаваемые модулем (20) хранения, переносятся непосредственно на несущие балки основания (10) платформы.

9. Опирающаяся на морское дно платформа по пп. 1-8, отличающаяся тем, что плавучая буровая установка (30) содержит выносную опору, поддерживающую необходимое буровое оборудование для буровых работ, причем буровое оборудование содержит бурильную установку; при этом поддерживаемая буровая установка, предпочтительно, выполнена с возможностью перемещения на выносной опоре.

10. Способ создания бурового терминала для бурения на мелководном шельфе, в котором по меньшей мере одну изготовленную заводским способом плавучую придонную опорную часть (10) буксируют к месту проведения работ и заполняют балластом, чтобы она опиралась на морское дно (11) и/или забивают сваи в морское дно, образуя придонный фундамент, отличающийся тем, что по меньшей мере один изготовленный заводским способом плавучий буровой модуль (30), содержащий выносную опору с бурильным устройством, выполненным с возможностью перемещения в сторону, буксируют к месту проведения работ и направляют в придонную опорную часть (10) через проем (15') в стеновой конструкции (15) по периметру придонной опорной части (10), затем заполняют балластом и совмещают с придонной опорной частью (10), после чего пробуривают скважины (12) с помощью бурильного механизма (16) на выносной опоре.

11. Способ по п. 10, отличающийся тем, что стеновая конструкция (15) содержит предварительно установленную секцию на внешней стороне стеновой конструкции (15); причем бурильный механизм (16) перемещают в сторону на выносной опоре и над предварительно установленной секцией для бурения соседних скважин.

12. Способ по п. 10 или 11, отличающийся тем, что после этого осуществляют выгрузку балласта плавучего бурового модуля (30), затем выводят ее, разворачивают на 90 градусов, и направляют назад в проем в опирающейся на морское дно опорной части (10), после чего начинают буровые работы на новом месте на опирающейся на морское дно опорной части (10).

13. Способ по любому из пп. 10-12, отличающийся тем, что выгрузка балласта и отшвартовка бурового модуля (30), выбуксирование и поворот на 90 градусов, а также повторная швартовка выполняются для того, чтобы обеспечить бурение скважин через подготовленные проемы, соответствующие выходящим вверх стенкам (15) опирающейся на морское дно опорной части (10).

Описание

[1]

ОБЛАСТЬ ТЕХНИКИ

[2]

Настоящее изобретение относится к установке придонного терминала для бурения и создания углеводородных скважин на расстоянии от берега, предпочтительно на мелководном шельфе, причем альтернатива заключается в строительстве полной буровой установки, опирающейся на морское дно или с использованием опорного блока решетчатого типа, при этом во всех случаях заканчивание скважины выполняют на морском дне или на эксплуатационной палубе. Более конкретно, настоящее изобретение относится к придонному терминалу для мелководного шельфа для бурения и добычи углеводородов, содержащему по меньшей мере одну сменную придонную опорную часть, выполненную с возможностью размещения и установки под действием силы тяжести или забивки свай на морском дне, образуя фундамент гавани.

[3]

Кроме того, изобретение также относится к способу создания скважин для последующей добычи углеводородов.

[4]

УРОВЕНЬ ТЕХНИКИ

[5]

При открытии морского нефтяного или газового месторождения, а также при принятии решений относительно разведки и добычи, важным требованием является сокращение времени, затрачиваемого на принятие такого решения, до поставки оборудования и сооружений для добычи и начала добычи.

[6]

Для того чтобы начать добычу, должно быть выполнено бурение и временное заканчивание скважин. Такое бурение осуществляют с помощью отдельной плавучей или стационарной буровой установки. После того, как буровую установку выводят, на место буровых работ доставляют добывающую установку с полнофункциональным оборудованием и сооружениями для добычи и присоединяют ее к законченным скважинам. До завершения такого заканчивания начало добычи углеводородов должно быть отложено на более поздний срок.

[7]

На мелководном шельфе и, в частности, на мелководном шельфе в условиях мягкого или илистого грунта размер буровой или добывающей установок может иметь решающее значение, т.е. в данных условиях возможность погружения будет иметь только плавучая установка с частично завершенными верхними строениями, оставшаяся часть необходимых верхних строений должна быть установлена и смонтирована после завершения погружения и размещения основания платформы. После завершения буровых работ часть бурового оборудования должна быть демонтирована и заменена оборудованием и сооружениями для добычи. Установка данного оборудования и сооружений для ведения добычи является сложной, дорогостоящей и длительной операцией, увеличивая время, прошедшее с момента открытия месторождения до запуска добычи.

[8]

Ранее было предложено создавать портовые площадки для загрузки сжиженного природного газа (СПГ) в открытом море, которые либо являются плавучими, либо устанавливаются на дне океана. Плавучие платформы имеют общий недостаток, который заключается в том, что платформы во время бурения и этапа добычи подвергаются перемещению, вызванному действием волн. Если плавучая платформа предназначена для транспортирования СПГ, данное перемещение также должно быть сведено к минимуму, поскольку динамическое воздействие предъявляет высокие требования к оборудованию и безопасности в случае, когда загрузка происходит в непосредственной близости.

[9]

Для уменьшения трудностей, связанных с динамическими воздействиями плавучих тел во время погрузочных работ, было предложено установить на морском дне крупногабаритные, прямоугольные стальные или бетонные конструкции, функционирующие как искусственные гавани или как буровое и/или оборудование и сооружения для ведения добычи. В данном случае обычная глубина моря составляет 8-30 метров. Крупногабаритные конструкции данного типа предназначены для установки вдали от населенных пунктов, причем при их погружении и установке в предполагаемом месте обычно требуется соответствующее основание в виде юбок, предназначенных для заглубления в грунт морского дна или выполненных с возможностью забивки свай.

[10]

В патенте Норвегии №126927, соответствующем патенту Великобритании №1369915, описана площадка гавани, содержащая несколько блоков, которые являются плавучими или затапливаемыми и иным образом спроектированными для размещения на морском дне. Каждый блок содержит базовую, несущую конструкцию и подвижные волноломные элементы, выполненные с возможностью перемещения в соответствии с потребностями.

[11]

В патенте США №3954826 описана площадка гавани, содержащая несколько блоков, расположенных на морском дне таким образом, чтобы создать по меньшей мере одно прямолинейное место швартовки. Устройства содержат отбойные приспособления и устройства для гашения волн.

[12]

В собственной публикации заявителей WO 2006/041312 описано сооружение гавани для хранения, погрузки и разгрузки углеводородов, таких как СПГ, в открытом море, содержание которой полностью включено в настоящую заявку посредством ссылки.

[13]

Гавань состоит из трех блоков, выполненных из стали или бетона, расположенных на морском дне. Блоки расположены прямолинейно друг напротив друга. Гавань выполнена таким образом, чтобы осуществлять гашение волн, причем предусмотрено, что судно будет находиться на подветренной стороне швартовки.

[14]

В собственной публикации заявителей WO 2013/002648 описано сооружение гавани для хранения, погрузки и разгрузки углеводородных продуктов в открытом море, содержащая несколько блоков, расположенных друг относительно друга на морском дне таким образом, чтобы образовать сооружение гавани. Блоки размещают изолированно на определенном расстоянии друг напротив друга, причем они имеют переднюю поверхность, которая выполнена с возможностью швартовки судов вдоль нее, образующая проход(ы) для части волн и выполненная с возможностью гашения части проходящих волн, при этом обеспечивается проход другой части волн и течения через сооружение гавани.

[15]

Однако для буровых работ во время разработки месторождения для бурения и заканчивания скважин требуется платформа одного типа, в то время как для добычи из таких скважин нужно использовать оборудование другого типа. Для плавучих платформ, стоящих на якоре на месте проведения работ, буровая платформа может стоять на якоре во время буровых работ и непосредственно после завершения буровых работ может быть заменена другой плавучей платформой с оборудованием и сооружениями для добычи. Однако, если платформа относится к типу платформ, которые должны опираться на грунт морского дна, данная платформа может быть оснащена либо буровым оборудованием и оборудованием и сооружениями для добычи, либо платформа может быть реконструирована на месте путем демонтажа по меньшей мере части бурового оборудования и установки необходимого оборудования и сооружений для добычи, что приводит к увеличению общих затрат.

[16]

Кроме того, плотность, состав, уплотнение и рельеф грунта морского дна могут существенно отличаться на разных участках морского дна. Например, в устьях рек часто будет преобладать мягкий, илистый грунт с йогуртоподобной структурой, в то время как другие участки морского дна могут подвергаться влиянию или они могут быть покрыты твердым песчаником, известняком или древними вулканическими породами. Это будет непосредственно влиять на несущую способность грунта морского дна и, следовательно, возможность найти прогнозируемый и надежный вариант основания для конструкции на морском дне, которая должна опираться на морское дно.

[17]

Следовательно, существует потребность в экономически эффективных, многофункциональных и гибких системах сооружений гавани, выполненных с возможностью хранения различных нефтепродуктов и бункеровки, отличающихся простотой строительства, обслуживания и ремонта, и которые могут быть стандартизированы, насколько это возможно с учетом технологических и экономических ограничений, и которые отличаются простотой размещения (установки) на грунте морского дна любого типа.

[18]

СУЩНОСТЬ ИЗОБРЕТЕНИЯ

[19]

Изобретение относится к опирающейся на морское дно платформе, выполненной с возможностью как бурения, так и последующей добычи углеводородов, содержащей основание платформы, выполненное с возможностью устойчивой опоры на морском дне, предпочтительно с помощью нескольких свай, проходящих через специально спроектированные рукава в основании платформы или блоке. Основание платформы может либо полностью опираться на всю опорную поверхность на морском дне, либо по меньшей мере частично, предпочтительно полностью, располагаться над морским дном, причем сваи являются средством для безопасного и жесткого крепления основания платформы к морскому дну. Основание выполнено таким образом, чтобы обеспечить погружение плавучей буровой установки и/или после завершения буровых работ выведение плавучей буровой установки и ее замену плавучей добывающей установкой, при этом балласт любой из данных конструкций устойчиво опирается на основание платформы, предпочтительно за счет его собственного веса (силы тяжести) или, в альтернативном варианте, также закрепляется с помощью блокировочных устройств, фиксирующих любую конструкцию на основании платформы.

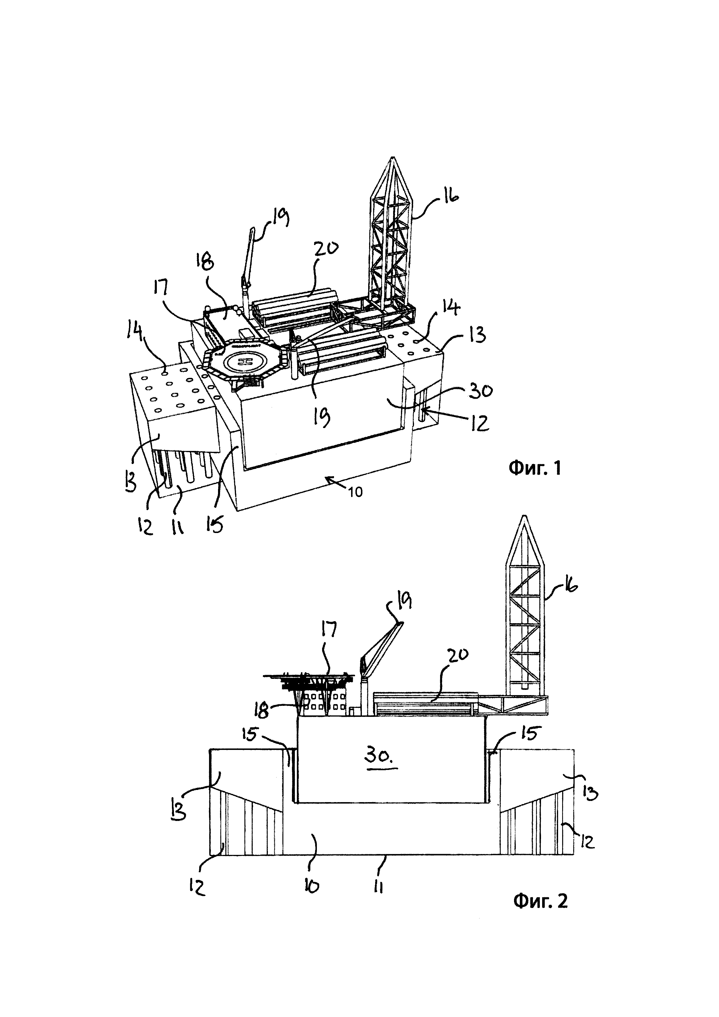
[20]

Основание платформы или опорная часть также могут быть выполнены таким образом, чтобы служить в качестве безопасной гавани для буровой или добывающей установки или для модуля хранения, причем указанные установки или модуль хранения являются сменными, монтируемыми сверху основания платформы, образуя придонный блок, причем по меньшей мере один придонный блок образует придонный терминал.

[21]

Изобретение также относится к способу разработки нефтяных месторождений в большей или меньшей степени, но не обязательно, на мелководном шельфе и/или на участках с илистым или мягким грунтом морского дна, причем по меньшей мере блок бурового оборудования, но возможно также оборудование и сооружения для ведения добычи, может быть выведено после завершения работ и использоваться на другом месторождении, при этом основание платформы служит, например, в качестве площадки гавани или тому подобного.

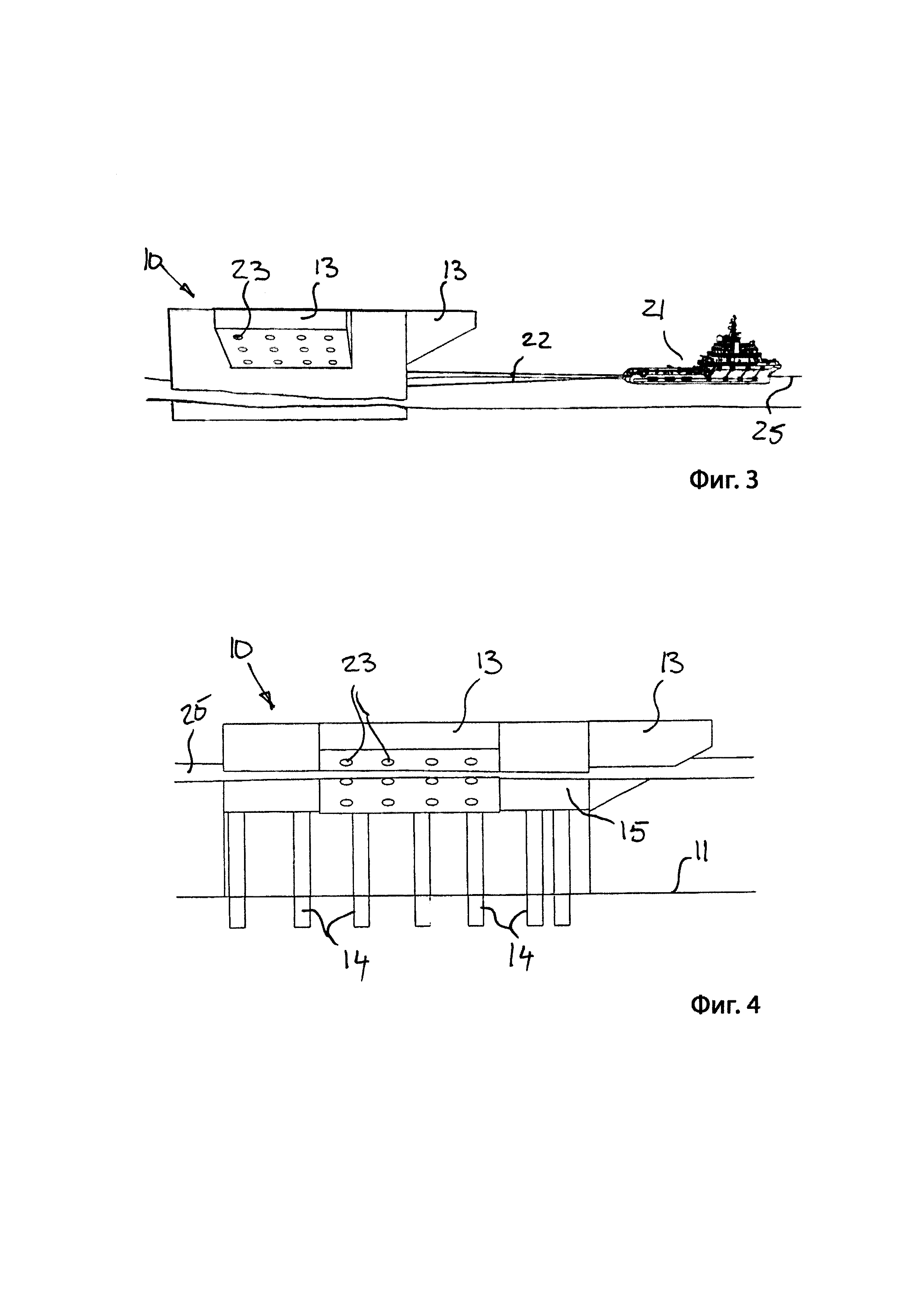
[22]

Цель настоящего изобретения состоит в создании многофункциональной опирающейся на дно платформы для мелководного шельфа, неподвижного основания платформы с пробуренными и законченными скважинами над морским дном, выполненных с возможностью быстрого запуска добычи углеводородов из пробуренных и законченных скважин.

[23]

Принцип, используемый в соответствии с настоящим изобретением, заключается в использовании свайного основания, в котором основная часть массы основания платформы и, возможно, также плавучий модуль, который должен пришвартовываться и опираться на основание платформы, является переносимой сваями, проходящими на достаточную глубину в грунт морского дна, чтобы переносить и выдерживать все нагрузки в направлении вниз, вверх или в сторону, массы и силы, действующие на основание платформы. В связи с этим основание платформы может либо опираться на морское дно по меньшей мере на часть опорной поверхности ее основания, либо основание платформы может быть расположено на большем или меньшем расстоянии над морским дном, т.е. без непосредственного контакта с грунтом морского дна, при этом все нагрузки, массы и силы воспринимаются сваями. В данном случае основание платформы не будет оказывать отрицательное или вредное влияние на фауну и флору морского дна под основанием платформы.

[24]

Кроме того, система и способ в соответствии с настоящим изобретением могут быть основаны на принципе, согласно которому для поддержки основания платформы во время этапа установки используется временная компоновка свай, причем указанная временная компоновка свай принимает все нагрузки, массы и силы во время забивки свай, до тех пор, пока не будет установлена постоянная компоновка свай, при этом основание платформы будет постоянно поддерживаться постоянными сваями, забитыми в морское дно, так что свайная конструкция может выдерживать любые критерии нагрузки, такие как шторм, ожидаемый в данном регионе раз в сто лет, или штормовой прилив.

[25]

Следует принимать во внимание, что установленные временные сваи могут быть удалены или срезаны после завершения установки опорной части. Если временные опорные сваи должны быть удалены, сваи предпочтительно должны быть обрезаны на глубине, где срезанные сваи не представляют опасности для работы основания платформы и плавучего модуля и/или судов, которые должны швартоваться и поддерживаться придонной опорной частью.

[26]

Данный принцип описан в международной РСТ заявке заявителей PCN/NO 2015/050156, поданной 8 сентября 2015 года, содержание которой полностью включено в настоящую заявку посредством ссылки. Также упоминается заявка заявителей на патент Норвегии №NO 20160518, поданная 1 апреля 2016 года, в которой описан способ забивки свай для расширения установочного окна и обеспечения возможности забивки свай в более суровых погодных условиях, содержание которой полностью включено в настоящую заявку посредством ссылки.

[27]

Цель настоящего изобретения состоит в том, чтобы предложить решение для увеличения куста скважин с установленной буровой платформы, увеличивая количество скважин, которые могут быть пробурены с одной платформы.

[28]

Еще одной целью настоящего изобретения является создание добывающих скважин с отдельной платформы на достаточном удалении от производственных зон на палубной надстройке.

[29]

Еще одной целью настоящего изобретения является создание установки, в которой заранее установлено как можно больше средств для обслуживания устья скважины для всех скважин, которые будут пробурены с платформы, таких как средства для обсаживания скважин через толщу воды и т.д., позволяющие начать бурение на более раннем этапе.

[30]

Еще одной целью настоящего изобретения является создание бурового оборудования и/или оборудования и сооружений для ведения добычи на морском дне мелководного шельфа, которое является гибким, экономически эффективным и легко устанавливаемым в большинстве типов фунтовых условий морского дна.

[31]

Другой целью изобретения является создание прибрежной системы хранения, которая может, при необходимости, также располагаться на чрезвычайно мягком и илистом грунте, который встречается в дельтах рек и в районах морского дна с неконсолидированным грунтом, в которых не могут быть установлены основания морских гравитационных платформ или они будут чрезмерно дорогостоящими.

[32]

Еще одна цель изобретения заключается в том, чтобы обеспечить возможность строительства каждого из узлов подводного терминала по оптимальной цене и эффективно и, насколько возможно, полностью укомплектованными на обычной строительной площадке, предпочтительно на верфи с использованием сухого дока. Таким образом, будут сведены к минимуму дорогостоящие завершающие работы в открытом море. После заключительной достройки на строительной площадке каждый из этих блоков транспортируют или буксируют к месту установки, в котором будет выполнено окончательное погружение с использованием известных способов.

[33]

Целью изобретения также является обеспечение безопасного переноса больших вертикальных нагрузок на морское дно, создаваемых при хранении больших объемов жидкостей над уровнем моря.

[34]

Кроме того, целью изобретения является обеспечение быстрой и безопасной установки модуля хранения с оборудованием верхних строений.

[35]

Еще одной целью настоящего изобретения является создание схемы бурения, которая позволяет обеспечить более ранний запуск буровых работ до прибытия буровой установки на место проведения работ.

[36]

Целей настоящего изобретения можно достичь с помощью бурового оборудования и оборудования и сооружений для ведения добычи на морском дне мелководного шельфа и способа создания такой схемы бурения, которая дополнительно определяется независимыми пунктами формулы изобретения. Варианты реализации, альтернативы и вариации изобретения определяются зависимыми пунктами формулы изобретения.

[37]

В соответствии с настоящим изобретением предлагается установка для бурения и добычи углеводородов, содержащая по меньшей мере одну заменяемую придонную опорную часть, выполненную с возможностью опоры на морское дно, предпочтительно посредством забивки свай, образующих опорное основание. Придонная опорная часть содержит основание платформы, содержащее плавучие устройства, стеновую конструкцию, выходящую вверх из основания платформы, содержащую устройства, регулирующие плавучесть, расположенные вдоль по меньшей мере части периметра основания платформы, по меньшей мере один проем в стеновой конструкции для установки плавучего бурового модуля, выполненного с возможностью отведения и размещения поверх основания платформы и внутри стеновой конструкции, причем выходящая вверх стеновая конструкция содержит одну или большее количество предварительно установленных секций или выносных опор, выполненных с возможностью использования для бурения скважин через предварительно установленные и предпочтительно предварительно оснащенные секции.

[38]

По меньшей мере одна предварительно установленная и предпочтительно предварительно оснащенная секция жестко закреплена на внешней поверхности стеновой конструкции, образуя консольную секцию, и предпочтительно имеет верхнюю поверхность, которая находится на одном уровне с верхней поверхностью стеновой секции.

[39]

В соответствии с вариантом реализации части, выступающей наружу из стеновой секции, предусмотрено несколько предварительно обработанных открытых обсадных труб, проходящих через предварительно установленную секцию, готовых к бурению, когда буровая установка находится в рабочем положении.

[40]

Соответственно, буровая установка может содержать соответствующую выносную опору с буровой вышкой, выполненной с возможностью перемещения наружу и внутрь и в сторону для того, чтобы покрыть всю предварительно установленную и предварительно подготовленную обсадную трубу в секции, выступающей наружу из стенки (стенок) основания платформы.

[41]

Придонная опорная часть может иметь U-образную форму и может содержать подготовленные выступающие наружу секции с точками для бурения скважин, предпочтительно, на трех сторонах U-образного основания платформы.

[42]

Различных целей также можно достичь с помощью способа бурения и добычи углеводородов путем создания и установки основания платформы, выполненной с возможностью швартовки бурового терминала или установки, которая обеспечивает опору терминала, основания платформы или установки на морское дно, предпочтительно с помощью средств из нескольких свай, образующих фундамент, опирающийся на морское дно. Способ включает создание по меньшей мере одного выступающего наружу консольного блока с изготовленными заводским способом, полыми обсадными трубами, полностью проходящими через консольный блок для осуществления бурения через него. Кроме того, плавучая буровая установка с плавучим буровым модулем, содержащая выносную опору с бурильной установкой, пришвартована к основанию платформы с помощью проема в стеновой конструкции, а также заполнена балластом и совмещена с придонным основанием платформы, после чего бурильную установку перемещают относительно бурового модуля наружу и над консольным блоком и швартуют в положении над обсадной трубой, после чего начинают буровые работы, осуществляя бурение скважины с бурильной установки на выносной опоре палубы.

[43]

После завершения бурения одной скважины через консольный блок бурильная установка может перемещаться на другую обсадную трубу в консольном блоке и над ней.

[44]

После завершения буровых работ для всех обсадных колонн на консольном блоке бурильную установку отводят, плавучую буровую установку выбуксировывают ее из места швартовки, разворачивают на 90 градусов так, чтобы перемещаемая бурильная установка была выровнена со следующим консольным блоком, после чего бурильную установку перемещают на первую новую обсадную трубу и поверх нее, после чего начинают буровые работы.

[45]

По окончании бурения всех обсадных труб на втором консольном блоке плавучую буровую установку выводят из ее места швартовки в основании платформы, разворачивают на 90 градусов и повторно закрепляют, после чего начинают буровые работы как описано выше.

[46]

Преимущество настоящего изобретения состоит в том, что существенно сокращается время, затрачиваемое с начала бурения до начала добычи в полном объеме, по меньшей мере на мелководном шельфе. Кроме того, по меньшей мере буровая установка, а также добывающая установка могут быть использованы повторно в другом месте, в случае, когда по меньшей мере буровые работы и, возможно, добыча прекращаются.

[47]

Кроме того, данная особенность свайного фундамента также очень полезна в случае, когда систему хранения в соответствии с изобретением устанавливают на участках мелководного шельфа, которые подвержены циклонам и штормовым приливами, при которых уровни моря при экстремальных штормах, ожидаемых в данном регионе раз в сто лет, могут превышать обычный уровень моря на 8-9 метров.

[48]

Другим важным преимуществом использования свай в соответствии с настоящим изобретением является то, что сваи могут воспринимать нагрузки как на растяжение, так и на сжатие, и в то же время позволяют эффективным и экономичным способом изменять в качестве размера длину сваи. Количество, положение и размеры каналов или рукавов могут быть выполнены таким образом, чтобы дополнительные, неиспользуемые каналы или рукава были предусмотрены в случае, когда последующее забивание свай необходимо выполнять на более позднем этапе.

[49]

Придонный блок терминала придонного терминала может быть выполнен таким образом, чтобы воспринимать очень большие вертикальные нагрузки на морское дно, вызванные большой массой жидкостей, хранящихся внутри модуля хранения, без какого-либо смещения придонного терминала, как правило вплоть до, но, не ограничиваясь этим, полной грузоподъемности 150000 тонн, соответствующей грузоподъемности большого танкера. Частично данной грузоподъемности можно достичь путем увеличения высоты объема хранилища при тех же размерах горизонтальной опорной поверхности придонного терминала.

[50]

Другим преимуществом является то, что придонная опорная часть в соответствии с настоящим изобретением не обязательно должна опираться на морское дно, масса, силы и нагрузки переносятся на сваи. Кроме того, для придонной опорной части нет необходимости в использовании юбок для противодействия растяжению, т.е. подъему конструкции, вызванному, например, штормовым приливом. Следовательно, нет необходимости в том, чтобы нижняя сторона основания платформы имела какой-либо контакт, переносящий нагрузку на грунт морского дна, при этом изменяемые, эксплуатационные и экологические нагрузки морского терминала воспринимаются сваями.

[51]

В зависимости от допустимой нагрузки, достигаемой посредством сдвигающего усилия между поверхностями свай и соответствующими поверхностями стенок каналов или рукавов, залитых цементным раствором, можно обеспечить достаточную несущую и опорную способность. Из-за того, что в кольцевом пространстве, образованном между наружной поверхностью сваи и поверхностью каналов или рукавов, находится цементный раствор, требуется сопротивление сдвигу, чтобы противостоять возникающим сдвигающим усилиям, действующим в этом соединении.

[52]

В случае, когда основание платформы расположено над морским дном, его влияние на природную среду морского дна устраняется или существенно снижается.

[53]

Главной областью применения изобретения является быстрая и безопасная установка модуля хранения с оборудованием верхних строений. Данные работы являются наиболее дорогостоящей частью всей установки (90-95%). При наличии предварительно установленного фундамента основания, устойчивость которого обеспечена либо с помощью гравитации, либо, предпочтительно, с помощью забивки свай, и заранее выровненного по отношению к морскому дну, установка модуля хранения может быть выполнена в течение несколько часов.

[54]

КРАТКОЕ ОПИСАНИЕ ЧЕРТЕЖЕЙ

[55]

Принцип действия устройства по данному изобретению может быть рассмотрен более подробно в нижеследующем описании со ссылкой на прилагаемые фигуры, на которых:

[56]

на Фиг. 1 схематически проиллюстрирован в перспективе вариант реализации основания платформы и буровой установки, пришвартованной к основанию платформы, совмещаемых блоков, установленных на морском дне, со скважинами, пробуренными на левом консольном блоке, причем скважины на противоположной стороне находятся в процессе бурения;

[57]

на Фиг. 2 схематически проиллюстрирован вид сбоку в собранном виде варианта реализации изобретения, проиллюстрированного на Фиг. 1;

[58]

на Фиг. 3 схематически проиллюстрировано основание платформы, буксируемое буксирным судном к месту установки;

[59]

на Фиг. 4 в соответствии с изобретением схематически проиллюстрировано основание платформы, установленное на месте установки, опирающееся на морское дно с помощью нескольких свай, забитых в морское дно, причем его нижняя поверхность расположена над поверхностью морского дна;

[60]

на Фиг. 5 схематически проиллюстрирован вид сверху основания платформы, проиллюстрированного на Фиг. 3, с забитыми сваями;

[61]

на Фиг. 6 схематически проиллюстрирована буровая установка в соответствии с одним вариантом реализации изобретения, буксируемая буксирным судном к месту, в котором установлено основание платформы;

[62]

на Фиг. 7 схематически проиллюстрировано основание платформы, причем буровая установка находится в процессе бурения скважин через первую консольную конструкцию в соответствии с операцией швартовки по настоящему изобретению буровой установки, проиллюстрированной на Фиг. 6, на основании платформы;

[63]

на Фиг. 8 схематически проиллюстрирован вид сверху основания платформы с пришвартованной буровой установкой, причем буровая установка находится в процессе бурения скважин через первую консольную конструкцию в соответствии с настоящим изобретением;

[64]

на Фиг. 9 схематически проиллюстрирован вид сверху основания платформы с пришвартованной буровой установкой, причем буровая установка находится в процессе бурения скважин через вторую консольную конструкцию в соответствии с настоящим изобретением;

[65]

на Фиг. 10 схематически проиллюстрирован вид сверху основания платформы с пришвартованной буровой установкой, причем буровая установка находится в процессе бурения скважин через третью консольную конструкцию в соответствии с настоящим изобретением;

[66]

на Фиг. 11 схематически проиллюстрирован вид сверху основания платформы с выведенной пришвартованной буровой установкой также указано, что все скважины были пробурены и было выполнено их заканчивание;

[67]

на Фиг. 12 схематически проиллюстрирована добывающая установка, буксируемая буксирным судном к основанию платформы для швартовки;

[68]

на Фиг. 13 схематически проиллюстрирован вид сверху основания платформы с пришвартованной добывающей установкой, также указано, что все скважины присоединены к оборудованию и сооружениям для добычи на добывающей установке;

[69]

на Фиг. 14А-С схематически проиллюстрирован вид сверху и сбоку варианта реализации основания платформы в соответствии с настоящим изобретением;

[70]

на Фиг. 15A-D схематически проиллюстрированы виды альтернативной формы плавучей конструкции, выполненной с возможностью швартовки, и возможные соответствующие модификации основания платформы; и

[71]

на Фиг. 16 схематически проиллюстрирован вид в перспективе альтернативного решения, в котором буровая вышка расположена на консольной рельсовой системе, причем и буровая вышка и консольная рельсовая система также могут вращаться вокруг вертикальной оси вращения.

[72]

ПОДРОБНОЕ ОПИСАНИЕ ВАРИАНТОВ РЕАЛИЗАЦИИ ИЗОБРЕТЕНИЯ

[73]

Нижеследующее описание примерного варианта реализации изобретения выполнено со ссылкой на прилагаемые чертежи. С помощью одинаковых ссылочных номеров на разных чертежах обозначены одинаковые или аналогичные элементы. Нижеследующее подробное описание не предназначено для ограничения объема изобретения. Вместо этого объем изобретения определяется прилагаемой формулой изобретения. Следующие варианты реализации изобретения для простоты обсуждаются в отношении способа установки основания платформы, в основном, на морском дне и, предпочтительно, но не обязательно, на наклонном морском дне и/или на морском дне с низкой несущей способностью; использования сменной буровой установки для бурения скважин, которые будут пробурены, пришвартованной к основанию платформы, причем буровую установку отшвартовывают после завершения бурения скважин на одной стороне основания платформы, выбуксировывают и разворачивают на 90 градусов, затем повторно швартуют для бурения скважины на второй стороне основания платформы, отшвартовывают, выбуксировывают и разворачивают еще на 90 градусов и повторно швартуют для бурения скважин на оставшейся стороне основания платформы; выведения буровой установки после завершения буровых работ; и швартовки установки для добычи и хранения для добычи углеводородов из законченных скважин.

[74]

Ссылка, встречающаяся по всему описанию, на «один вариант реализации изобретения» или «вариант реализации изобретения» означает, что конкретный признак, конструкция или характеристика, описанные в связи с вариантом реализации изобретения, включены по меньшей мере в один вариант реализации раскрытого предмета изобретения.

[75]

Таким образом, появление фраз «в одном варианте реализации изобретения» или «в варианте реализации изобретения» в разных местах по всему описанию необязательно относится к одному и тому же варианту реализации изобретения.

[76]

Главной областью применения изобретения является обеспечение быстрой и безопасной установки модуля хранения с оборудованием верхнего уровня для добычи углеводородов, причем основание платформы неподвижно и жестко поддерживается во время работ по забиванию постоянных свай и после того, как было забито достаточное количество свай служит местом швартовки для сменной буровой установки, а затем - для добывающей установки. Данные работы являются наиболее дорогостоящей частью всей установки (90-95%). При наличии предварительно установленного основания платформы, устойчивость которого обеспечивается по меньшей мере посредством свай, и заранее выровненного по отношению к морскому дну, к которому затем швартуют буровую установку для бурения скважин с трех сторон основания платформы, а затем заменяют буровую установку добывающей установкой, то время, истекшее от момента открытия месторождения углеводородов до запуска добычи углеводородов может быть сведено к минимуму, что делает месторождение более прибыльным.

[77]

Кроме того, настоящее изобретение обеспечивает возможность создания целесообразным образом придонного терминала, выполненного с возможностью работы в условиях различного грунта. Плотность, состав, уплотнение и рельеф грунта морского дна могут существенно отличаться на разных участках морского дна. Это будет непосредственно влиять на несущую способность грунта морского дна и, следовательно, возможность найти прогнозируемый и надежный вариант основания для конструкции на морском дне, которая должна опираться на морское дно. Согласно одному варианту реализации изобретения основание платформы может быть выполнено в виде полупогружного плавучего тела, зафиксированного на морском дне с помощью свай. В этом случае опорная часть основания платформы может быть заполнена балластом как полупогружная конструкция и зафиксирована на морском дне с помощью свай через основание платформы и, возможно, но не обязательно, стеновую конструкцию придонной опорной части. В таких случаях важно обеспечить эффективную передачу вертикальных конструкционных сил, преимуществом является то, что основные конструкционные балки основания платформы и модуля хранения имеют зеркальные конструкционные области сопряжения. Это означает, что вертикальные силы, создаваемые модулем хранения, предпочтительно, переносятся непосредственно на основные несущие балки основания платформы, затем на свайную конструкцию и на морское дно. Испытания показали, что придонная опорная часть, установленная на сваях, должна допускать и выдерживать массу 100 000-120000 тонн.

[78]

На Фиг.1 схематически проиллюстрирован в перспективе вариант реализации основания 10 платформы и буровой установки 30, пришвартованной к основанию 10 платформы, совмещаемых блоков, опирающихся на морское дно 11, со скважинами 12, пробуренными на левом консольном блоке 13, причем скважины 12 на противоположной стороне находятся в процессе бурения. Основание платформы неподвижно закреплено на морском дне 11 с помощью нескольких свай 14. Сваи 14 и их крепления к основанию 10 платформы могут быть такими, как описано в заявке заявителей на патент, находящейся в процессе одновременного рассмотрения №. PCT/NO 2015/050156, поданной 8 сентября, причем содержание указанной заявки РСТ включено в настоящую заявку посредством ссылки на сваи, их крепление к основанию платформы и способ создания неподвижной опоры основания 10 платформы на морском дне 11. Также делается ссылка на заявку заявителей на патент Норвегии, находящуюся в процессе одновременного рассмотрения №. NO 2016/0518, поданную 1 апреля 2016 года относительно способа и системы для установки основания 10 платформы на морском дне 11 с помощью забивки свай. Следует понимать, что как основание 10 платформы, так и бурильная установка выполнены таким образом, что эти два устройства являются плавучими и содержат устройства для управления остойчивостью, причем данные устройства хорошо известны специалистам в данной области техники и по этой причине нет необходимости в их подробном рассмотрении.

[79]

Как проиллюстрировано на Фиг. 1, буровая установка 30 содержит буровую вышку 16, вертолетную палубу 17, жилой модуль 18, краны 19 и зоны хранения для хранения обсадных труб 20 для создания части скважин 12, подлежащих бурению. Следует учитывать, что буровая вышка 16 расположена с возможностью перемещения как в направлении внутрь, так и наружу и в поперечном направлении.

[80]

Основание 10 платформы содержит систему (не показана) для балластировки и, предпочтительно, выполнено из стали, хотя также могут использоваться и другие материалы, такие как бетон. Следует понимать, что буровая установка 30 и добывающая установка 50, в соответствии с настоящим изобретением, поверх модуля хранения также могут содержать устройства, такие как системы загрузки, краны, лебедки и т.д. В случае, когда либо буровая установка 30, либо добывающая установка 50 доставляются на место, они совмещаются с придонной опорной частью или основанием 10 платформы. Во время данной операции совмещения плавучий модуль проходит через проем на одном конце основания платформы и между двумя параллельными выходящими вверх боковыми стеновыми конструкциями 15. Плавучая установка 30 или 50 направляется поверх основания 10 платформы внутри стеновой конструкции 15. Плавучую установку 30 или 50 заполняют балластом так, чтобы она неподвижно опиралась на основание 10 платформы, образуя придонный узел в сборе.

[81]

На Фиг. 2 схематически проиллюстрирован вид сбоку проиллюстрированного на Фиг. 1 варианта реализации изобретения в сборе, на котором проиллюстрирована буровая установка 30, пришвартованная к основанию 10 платформы.

[82]

На Фиг. 3 схематически проиллюстрировано основание 10 платформы, буксируемое буксирным судном 21 к месту установки, при этом на Фиг. 4 схематически проиллюстрировано основание 10 платформы, установленное на месте установки, опирающееся на морское дно 11 с помощью нескольких свай 14, забитых в грунт морского дна 11, причем его нижняя поверхность расположена над поверхностью морского дна 11. Кроме того, на фигуре также проиллюстрировано, что основание 10 платформы содержит консольные блоки 13, выходящие наружу из боковых стенок 15 с трех сторон основания 10 платформы, причем четвертая сторона остается открытой, чтобы обеспечить прохождение буровой установки 30 в основание платформы и швартовку между тремя вертикальными стенками 15 основания 10 платформы. Следует отметить, что консольные блоки образуют неотъемлемую часть вертикальной стеновой конструкции 15, выполненной с возможностью воспринимать создаваемые нагрузки, силы и моменты. Кроме того, консольные блоки содержат отверстия или каналы 23, проходящие через консольные блоки 13 для приема бурильных колонн и обсадных труб, используемых в ходе буровых работ.

[83]

В соответствии с вариантом реализации изобретения, проиллюстрированным на Фиг. 1-4, консольные блоки 13 содержат скошенную нижнюю плиту, причем нижняя плита или поверхность консольных блоков 13 наклонена наружу и вверх от своей опоры на боковой стенке 15.

[84]

Придонная опорная часть 10 может содержать нижнюю конструкцию (не показана) и выходящую вверх стеновую конструкцию 15, расположенную вдоль по меньшей мере части периметра основания 10 платформы. Стеновая конструкция 15 образует неотъемлемую часть нижней конструкции, тем самым образуя основание 10 платформы. Как нижняя конструкция, так и стеновая конструкция 15 содержат устройства, регулирующие плавучесть (не показаны). Такие устройства, регулирующие плавучесть, могут быть выполнены в виде резервуаров и отсеков в нижней конструкции и в выходящей вверх стеновой конструкции 15. Выходящие вверх стенки 15 проходят вдоль трех сторон основания 10 платформы, тем самым создавая проем в стеновой конструкции для введения плавучей буровой или добывающей установки 30, 50 над нижней конструкцией. Буровая и добывающая установки 30, 50 расположены с возможностью съема на основании 10 платформы внутри стеновой конструкции 15, причем эти установки вместе образуют придонные буровую и добывающую установки 30, 50.

[85]

Придонная опорная часть 10 является плавучей и содержит средства для балластировки (не показаны) и выполнена с возможностью размещения на уровне или чуть выше морского дна 11, опирающаяся на несколько свай 14 или, необязательно, также опирающаяся на морское дно 11 вследствие силы тяжести, зафиксированная посредством свай. Выходящая вверх стеновая конструкция 15 опорной части 10 содержит отверстия или каналы/рукава, проходящие через стеновую конструкцию, для необязательной и/или дополнительной забивки свай, при этом основание 10 платформы содержит отверстия для приема свай 14. Каналы и принадлежности для приема свай 14 более подробно будут описаны ниже. Судно 16 с оборудованием и инструментами для забивки свай швартуется рядом со стеновой конструкцией 15 для выполнения операций забивки свай. Как проиллюстрировано на Фиг. 1, сваи 14 расположены как в продольном, так и в поперечном направлении вдоль опорной поверхности трех стен вдоль находящейся в подводном положении передней балки под проемом в основании 10 платформы и вдоль внутренних стенок 15, образующих восходящие открытые отсеки 23. Таким образом, вся опорная поверхность или по меньшей мере часть опорной поверхности может содержать сваи для надлежащей опоры основания 10 платформы. Количество свай 14 и их расположение, диаметр и длина зависят от массы, которая должна опираться на них, и от состояния грунта морского дна.

[86]

Преимущество в соответствии с настоящим изобретением состоит в том, что придонная опорная часть 10, являющаяся частью придонной установки 30 для плавучих модулей, такая как плавучая установка для хранения СПГ или баржа в соответствии с изобретением, может быть погружена для установки на шельфе или возле берега, удалена, перемещена и заменена, чтобы при необходимости создать новые самостоятельные конфигурации с использованием известных способов.

[87]

На Фиг. 5 схематически проиллюстрирован вид сверху основания 10 платформы, проиллюстрированного на Фиг. 3, с забитыми сваями. Как проиллюстрировано, основание 10 платформы фиксируется на морском дне посредством забивки свай 14 по всему периметру. Кроме того, как проиллюстрировано, основание 10 платформы содержит консольный блок 13, расположенный на каждой из трех боковых стенках 15, причем четвертая сторона содержит проем 15', имеющий размеры и выполненный с возможностью обеспечения введения буровой установки 30 или добывающей установки 50 и обеспечения опоры на подводную нижнюю плиту или балку 24, проходящую с внутренней стороны по периметру стеновой конструкции 15, 15'.

[88]

На Фиг. 6 схематически проиллюстрирована буровая установка 30, буксируемая буксирным судном 21 с помощью буксировочных канатов 22, к установленному основанию 10 платформы для швартовки, при этом на Фиг.7 схематически проиллюстрирован этап, когда буровая установка 30 находится в процессе швартовки внутри спроектированного U-образного причала основания 10 платформы.

[89]

На Фиг. 8 схематически проиллюстрирован вид сверху основания 10 платформы с пришвартованной буровой установкой 30, причем буровая установка 30 находится в процессе бурения скважин 12 через первую консольную конструкцию 13, т.е консольный блок 13, в левой части чертежа. Как указано, буровая установка 16 расположена с возможностью перемещения из отведенного положения на буровой установке 30 в положение, выходящее наружу, а также в сторону над буровыми скважинами или отверстиям 23 на консольном блоке 13.

[90]

На Фиг. 9 схематически проиллюстрирован вид сверху основания платформы с пришвартованной буровой установкой, причем буровая установка находится в процессе бурения скважин через вторую консольную конструкцию в соответствии с настоящим изобретением. Чтобы перейти от положения бурения, проиллюстрированного на Фиг. 8, к положению бурения, проиллюстрированному на Фиг. 9, осуществляют выгрузку балласта буровой установки 16 так, чтобы она находилась в плавучем состоянии, затем ее выводят из ее места швартовки внутри основания 10 платформы, разворачивают на 90 градусов вокруг ее оси и проводят назад в ее место швартовки внутри основания платформы и снова заполняют балластом, чтобы неподвижно опереть на основание 10 платформы. Буровая вышка приводится в положение бурения над вторым консольным блоком 13. Следует отметить, что отверстия, обозначенные черным цветом на консольном блоке 13 слева на Фиг. 9, являются законченными скважинами 12, готовыми к подключению оборудования и сооружений для ведения добычи. Следует принимать во внимание, что на данном этапе такие скважины могут содержать блоки противовыбросовых превенторов (ПВП), а также оборудование устья скважин и т.д.

[91]

На Фиг. 10 схематически проиллюстрирован вид сверху основания 10 платформы с пришвартованной буровой установкой 30, причем буровая установка 30 находится в процессе бурения скважин 12 через третью консольную конструкцию 13 в соответствии с настоящим изобретением. Аналогично вышеуказанному, переход от второго консольного блока 13 к третьему консольному блоку 13 выполняется, как описано выше.

[92]

На Фиг. 11 схематически проиллюстрирован вид сверху основания 10 платформы с выведенной пришвартованной буровой установкой, при этом указано, что все скважины 12 были пробурены и уже было выполнено их заканчивание.

[93]

На Фиг. 12 схематически проиллюстрирована добывающая установка 50, буксируемая буксирным судном к основанию 10 платформы для швартовки и соединения с различными пробуренными и законченными скважинами 12, при этом на Фиг. 13 схематически проиллюстрирован вид сверху основания 10 платформы с пришвартованной добывающей установкой 50, также указано, что все скважины 12 соединены с оборудованием и сооружениями для добычи на добывающей установке 50.

[94]

На Фиг. 14А-С схематически проиллюстрирован вид сверху и сбоку варианта реализации основания 10 платформы в соответствии с настоящим изобретением. Основание платформы содержит три консольных части 13, как описано выше, содержащие место для швартовки, имеющее U-образную форму с закругленной концевой частью 28 и прямыми выступами 27, выходящими из концевой части 28, также образующими защиту сбоку. Основание 10 платформы устанавливают на морском дне 11, закрепляют на сваях 14, причем нижняя плита основания 10 платформы расположена над морским дном 11. На Фиг. 14А проиллюстрирован вариант реализации изобретения, в котором основание 10 платформы имеет прямоугольную форму, при этом на Фиг. 14В проиллюстрирован вариант реализации изобретения, в котором основание платформы выполнено с возможностью принятия плавучей конструкции 30 с круглым или многоугольным поперечным сечением. На Фиг. 14C проиллюстрирован вид сбоку, показанный в направлении стрелки на Фиг. 14В.

[95]

После того как основание платформы будет установлено и надежно закреплено посредством свай на морском дне рядом с основанием 10 платформы может быть установлена платформа каркасной конструкции или самоподъемная платформа, что еще больше сократит время, затраченное до начала буровых работ, и может быть начата последующая добыча углеводородов. В этом случае плавучий модуль, который должен быть пришвартован внутри основания платформы, может быть добывающим модулем, возможно, также с дополнительным оборудованием для ремонта скважин.

[96]

На Фиг. 15A-D схематически проиллюстрированы виды плавучей конструкции 30 альтернативной формы, выполненной с возможностью швартовки, и возможные соответствующие модификации основания 10 платформы, соответствующие одной из описанных применительно к примеру на Фиг. 14А. В соответствии с вариантом реализации изобретения, проиллюстрированным на Фиг. 15, плавучая установка 30 имеет горизонтальное поперечное сечение круглой или закругленной формы. В других случаях палубы могут быть расположены способом, соответствующим описанным выше вариантам реализации изобретения. Может использоваться буровая вышка такого типа, который выполнен с возможностью перемещения по консольному блоку, чтобы обеспечить перемещение в положение над предварительно установленными пробуренными обсадными трубами в консольном блоке 13. Со ссылкой на Фиг. 15В, после того как скважины были пробурены через консольный блок 13, проиллюстрированный на Фиг. 15А, осуществляют выгрузку балласта плавучей установки, чтобы обеспечить ее плавучесть, буксируют и разворачивают на 90 градусов, а затем возвращают назад к основанию платформы и осуществляют загрузку балласта, после чего может быть начато бурение через предварительно установленные пробуренные обсадные трубы в консольном блоке 13. Со ссылкой на Фиг. 15С, такую же последовательность повторяют для создания скважин в последнем из трех консольных блоков 13.

[97]

Следует понимать, что порядок операций совмещения или швартовки для совмещения или швартовки буровой установки 30 или добывающей установки 50 может быть следующим:

[98]

Буровой модуль 30 или добывающий модуль/модуль хранения 50 является плавучим и имеет средства для балластировки (не показаны) и, предпочтительно, выполнен из стали, хотя также могут быть использованы и другие материалы, такие как бетон. Следует понимать, что соответствующий модуль 30, 50, в соответствии с настоящим изобретением, поверх модуля хранения также могут содержать устройства, такие как системы загрузки, краны, лебедки и т.д. Когда установку 30, 50 подают на место проведения работ, ее совмещают с придонным основанием 10 платформы, опирающемся на морское дно 11. Во время данной операции совмещения плавучая установка 30, 50 проходит через проем 15' и между двумя параллельными выходящими вверх боковыми стеновыми конструкциями 15. Стеновая конструкция 15 придонного основания 10 платформы выходит над поверхностью воды 25, при этом осуществляется заполнение балластом установки 30, 50 до тех пор, пока плавучая установка 30, 50 не будет расположена поверх нижней балки/плиты 24 на основании 10 платформы, внутри стеновой конструкции 15. Плавучую установку 30 или 50 заполняют балластом так, чтобы она неподвижно опиралась на придонную опорную часть 10, образуя придонный узел в сборе.

[99]

На Фиг. 16 схематически проиллюстрирован вид в перспективе альтернативного решения, в котором буровая вышка 16 расположена на консольной рельсовой системе 26, причем и буровая вышка 16, и консольная рельсовая система 26 также могут вращаться вокруг вертикальной оси вращения, так что вместо того, чтобы выводить плавучую установку 30 и разворачивать на 90 градусов, чтобы обеспечить возможность бурения на втором консольном блоке 13 (не показан на Фиг. 16), плавучая установка 30 может оставаться в своем исходном положении, тогда как буровая вышка 16 и рельсовая система 26 может вращаться в любом из двух направлений, указанных стрелкой 27. Вместо того чтобы перемещаться и двигаться в прямолинейном направлении по рельсовой системе, буровая вышка может перемещаться наружу и внутрь.

[100]

Следует понимать, что сваи и скважины могут проходить вертикально вниз в морское дно или они могут быть расположены наклонно относительно вертикали, либо в одинаковом направлении, внутрь или наружу, или их ориентация может быть комбинированной. Кроме того, буровую установку 30 можно использовать для наклонно-направленного бурения.

[101]

Следует отметить, что, хотя описанная придонная конструкция имеет прямоугольную опорную поверхность, форма основания платформы может быть круглой, U-образной или многоугольной, без отклонения от идеи изобретения. Кроме того, форма области швартовки может быть взаимодополняющей для формы швартуемого плавучего модуля или наоборот.

[102]

Буровая вышка может перемещаться вдоль консоли или перемещаться по рельсам или тому подобному, обеспечивая движение как в продольном, так и в поперечном направлении.

[103]

Вертолетная палуба и/или кран на буровом модуле (30), предпочтительно, следует располагать в углу, чтобы предотвратить возникновение опасной ситуации, предпочтительно, в противоположных или смежных углах.

Как компенсировать расходы
на инновационную разработку
Похожие патенты