патент
№ RU 2717853
МПК E21B43/117
Номер заявки
2019112145
Дата подачи заявки
22.04.2019
Опубликовано
26.03.2020
Страна
RU
Как управлять
интеллектуальной собственностью
Чертежи 
4
Реферат

Изобретение относится к области добычи нефти и газа, может быть использовано при скважинной перфорации и чистке перфорационных каналов. Кумулятивный заряд перфоратора содержит корпус, заряд взрывчатого вещества с V-образной кольцевой кумулятивной выемкой с облицовкой. Корпус кумулятивного заряда цельный, имеет цилиндроконическую форму, заряд взрывчатого вещества - цилиндрический, в центральной части которого расположен конический элемент кумулятивной облицовки. В состав заряда включено точечное инициирующее устройство и линзовый узел, состоящий из линзы из инертного материала и комбинации дополнительных зарядов взрывчатого вещества. Ось V-образной кумулятивной облицовки расположена под углом α>0° к оси конической кумулятивной облицовки. Обеспечивается увеличение площадей сечений пробитых отверстий в трубе, цементном кольце и отверстий перфорационных каналов. 1 з.п. ф-лы, 5 ил.

Формула изобретения

1. Кумулятивный заряд перфоратора, содержащий корпус, заряд взрывчатого вещества с V-образной кольцевой кумулятивной выемкой с облицовкой, отличающийся тем, что корпус кумулятивного заряда цельный, имеет цилиндроконическую форму, заряд взрывчатого вещества - цилиндрический, в центральной части которого расположен конический элемент кумулятивной облицовки, в состав заряда включено точечное инициирующее устройство и линзовый узел, состоящий из линзы из инертного материала и комбинации дополнительных зарядов взрывчатого вещества, при этом ось V-образной кумулятивной облицовки расположена под углом α>0° к оси конической кумулятивной облицовки.

2. Кумулятивный заряд перфоратора по п. 1, отличающийся тем, что кумулятивная облицовка выполнена конической формы с широким углом раствора.

Описание

[1]

Предлагаемое изобретение относится к области добычи нефти и газа и может быть использовано для перфорирования труб скважин при вскрытии вторичных продуктивных пластов, а также для чистки уже перфорированных ранее каналов.

[2]

Известен кумулятивный заряд перфоратора (патент RU 2432452, МПК Е21В 43/117, F42B 1/028, 27.10.2011), который содержит корпус, осесимметричную шашку взрывчатого вещества (ВВ) с открытой полостью, при этом к поверхности полости прилегает кумулятивная облицовка, состоящая из конической и сферической или эллиптической кумулятивных частей, сопряженных между собой. Коническая кумулятивная часть является вершиной кумулятивной облицовки, а сферическая или эллиптическая кумулятивная часть имеет продольные кумулятивные канавки.

[3]

Однако низкое качество стенок перфорационных каналов при применении данного заряда приводит к тому, что площадь сечений каналов ненамного превышает площадь сечения компактного быстролетящего тела.

[4]

Кроме того, известно устройство (патент RU 2063606, МПК F42B 12/10, 27.07.1996), являющееся прототипом предлагаемого изобретения и содержащее корпус, выполненный в виде двух коаксиально расположенных колец конической формы с образованием зазора прямоугольного профиля с размещенным в нем зарядом взрывчатого вещества, V-образную кольцевую кумулятивную выемку с облицовкой, инициирующее устройство в виде кольцевой втулки, расположенной на оси симметрии V-образной кумулятивной облицовки и пересекающейся с осью симметрии заряда в направлении его действия под углом.

[5]

Кумулятивный заряд функционирует следующим образом. При срабатывании инициирующего узла происходит инициирование заряда взрывчатого вещества. Образующиеся при этом продукты детонации воздействуют на облицовку, причем это воздействие осуществляется по всей окружности кумулятивной выемки одновременно. С образованием потока высокоскоростных частиц, движущихся вдоль конической образующей, совпадающей с поверхностью, образованной осями симметрии облицовки, и сходящегося в точке, расположенной на оси симметрии заряда на некотором удалении от основания облицовки. При вторичном схлопывании кумулятивной облицовки происходит повторное растяжение материала с формированием в данном случае кумулятивной струи, имеющей высокие массово-энергетические характеристики.

[6]

Однако при функционировании кумулятивного заряда формирование основной кумулятивной струи происходит при обеспечении определенного фокусного расстояния, то есть необходимого удаления кумулятивного заряда от преграды. В случае использования подобного устройства в условиях нефтедобывающей скважины возникает проблема ограниченности окружающего пространства. Также задачей описанного изобретения является повышение глубины пробития преграды, а не его диаметра, поэтому, несмотря на увеличение диаметра пробития по сравнению с обычными кумулятивными зарядами конических форм облицовок, в данной конструкции возможности повышения диаметра пробития при использовании зарядов с V-образными формами облицовок не реализованы в полной мере.

[7]

Задачей (техническим результатом) предлагаемого изобретения является увеличение притока нефти и газа за счет формирования в условиях ограниченного пространства в направлении оси заряда как кольцевого кумулятивного элемента - по периметру окружности, так и кумулятивной струи - по оси заряда, что приводит к увеличению суммарной площади поперечного сечения кумулятивных элементов и, соответственно, площади пробитого отверстия в стенке трубы и цементного кольца, а также площадей сечений перфорационных каналов.

[8]

Поставленная задача достигается тем, что корпус кумулятивного заряда перфоратора цельный, имеет цилиндроконическую форму, заряд взрывчатого вещества - цилиндрический, в центральной части которого расположен конический элемент кумулятивной облицовки, в состав заряда включено точечное инициирующее устройство и линзовый узел, состоящий из линзы из инертного материала и комбинации дополнительных зарядов взрывчатого вещества, при этом формирование кольцевого кумулятивного элемента происходит по оси V-образной части кумулятивной облицовки, положение которой определяется относительно оси кумулятивного заряда углом α≥0°. Эффективное обжатие кольцевой и конической кумулятивных облицовок достигается за счет установки линзового узла с комбинацией зарядов дополнительных взрывчатых веществ, тем самым обеспечивая образование двух кумулятивных струй: цилиндрической и кольцевой.

[9]

На Фиг. 1 изображен кумулятивный заряд перфоратора в разрезе, на Фиг. 2 - теоретическое распространение детонации в основном заряде бризантного взрывчатого вещества, на Фиг. 3 - кумулятивный заряд перфоратора как формирователь компактных поражающих элементов с параболоидной кумулятивной облицовкой, Фиг. 4 - кумулятивный заряд перфоратора как формирователь компактных поражающих элементов с конической кумулятивной облицовкой большого угла раствора, на Фиг. 5 - схема работы кумулятивного заряда перфоратора, где угол между осями формирования кумулятивных элементов α=о, на Фиг. 6 - схема работы кумулятивного заряда перфоратора, где ось кольцевой V-образной кумулятивной облицовки расположена под углом α>0° к оси конической кумулятивной облицовки.

[10]

Предлагаемый кумулятивный заряд перфоратора (Фиг. 1) содержит средство инициирования (1), металлический корпус (2), дополнительные заряды ВВ (3), (4) и (5), основное бризантное ВВ (6), линзовый узел (7), кумулятивные выемки с металлической облицовкой (8) и (9) - коническая и кольцевая V-образная соответственно.

[11]

Кумулятивный заряд перфоратора работает следующим образом (Фиг. 2). Средство инициирования (1), заключенное в нижнюю часть корпуса заряда (2), передает импульс в дополнительный заряд ВВ (3). Дополнительный заряд ВВ (3), в свою очередь, передает импульсы в ВВ (6), а также в дополнительные заряды ВВ (4) и (5), помещенные в линзовый узел из инертного материала (7) и подобранные по своей плотности и, соответственно, скорости детонации так, чтобы момент времени передачи импульсов дополнительных зарядов ВВ (3), (4) и (5) основному бризантному ВВ (6) совпадал. Инициирование ВВ (6) в поверхностях соприкосновения с ВВ (4) и (5) обеспечивает появление сферических ударных волн, фронт которых подходит по нормали к кумулятивным облицовкам, из чего следует максимально эффективное обжатие облицованных кумулятивных выемок (8) и (9) с последующим формированием кумулятивных струй цилиндрической и кольцевой форм. Инициирование ВВ (6) в поверхности соприкосновения с ВВ (3) обеспечивает компенсацию ударной волны, порожденной отражением детонационной волны от стенки корпуса (2).

[12]

Конструкция устройства может варьироваться в зависимости от целей и условий выполняемых работ. Например, при необходимости, изменив геометрические параметры кумулятивной облицовки, можно выполнить кумулятивный заряд перфоратора как формирователь компактных поражающих элементов с параболоидной (Фиг. 3) или конической с широким углом раствора (Фиг. 4) формами кумулятивной облицовки.

[13]

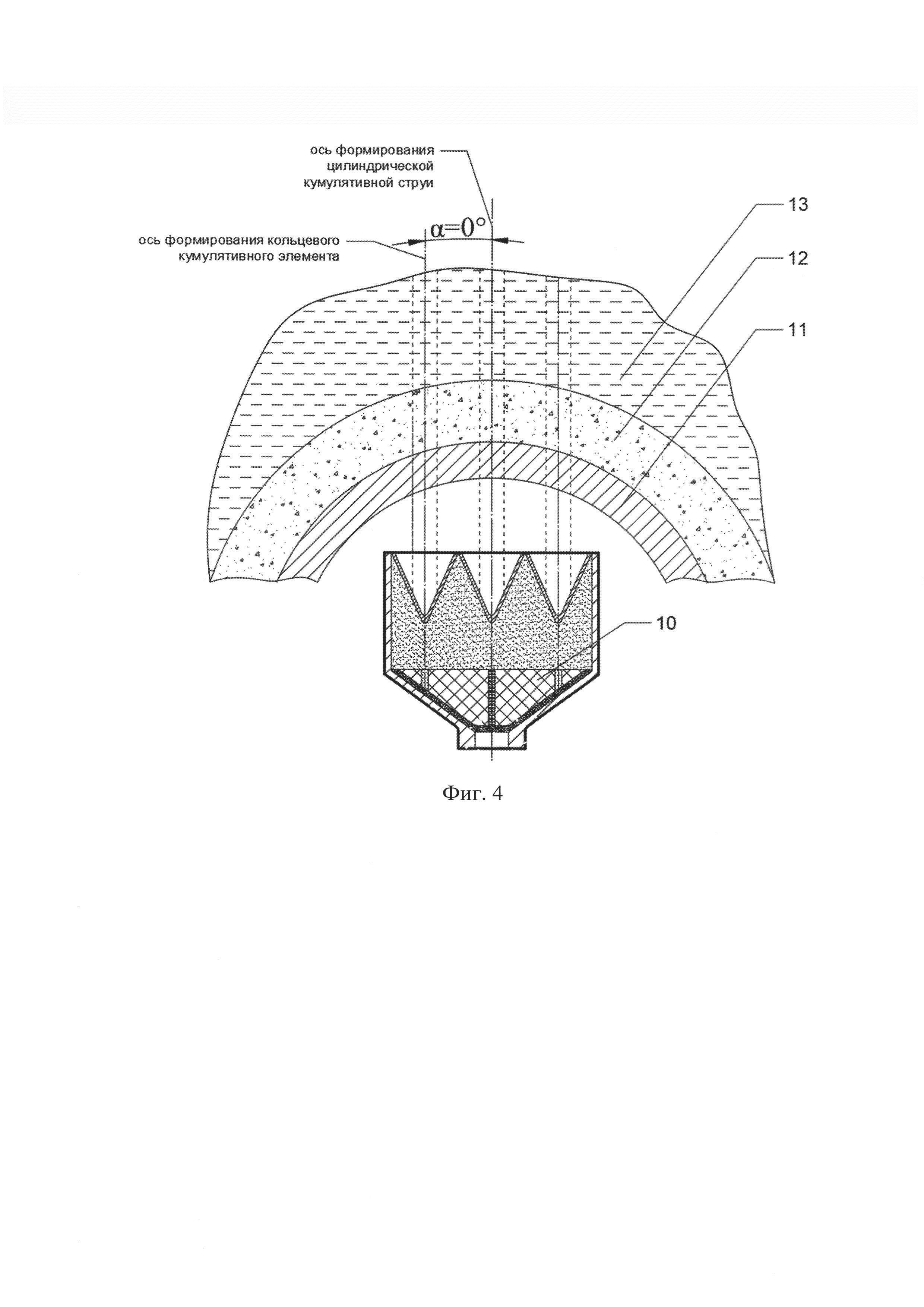
В зависимости от величины угла траектория формирования и движения кольцевого кумулятивного элемента может быть как параллельна оси формирования центральной кумулятивной струи (α=0°), так и пересекаться с ней в некоторой точке (α>0°). При исполнении кумулятивных облицовок схемы, где угол между осями формирования кумулятивных элементов α=о (Фиг. 5), кумулятивный заряд перфоратора (10), функционируя, позволяет создавать пробитые отверстия в скважинной трубе (11), цементном кольце (12) и перфорационные каналы в продуктивном пласте (13), причем пробитие идет параллельно оси кумулятивного заряда перфоратора. При функционировании схемы, где ось кольцевой V-образной кумулятивной облицовки расположена под углом α>0° к оси конической кумулятивной облицовки (Фиг. 6), кумулятивный заряд перфоратора (10), функционируя, позволяет создавать пробитые отверстия в скважинной трубе (11), цементном кольце (12) и перфорационные каналы в продуктивном пласте (13), причем кольцевой канал отверстия идет под углом к оси заряда, расширяясь в направлении формирования пробития, что позволяет дополнительно увеличить объем пробитого отверстия в пласте. Однако в этом случае угол α по возможности выбирается так, чтобы пробитие обсадной трубы и цементного кольца шло по радиусу, а не по хорде во избежание нерациональных трат энергии кумулятивных элементов.

[14]

Техническим результатом изобретения является повышение размеров площадей сечений пробитых отверстий в трубе, цементном кольце и отверстий перфорационных каналов.

Как компенсировать расходы
на инновационную разработку
Похожие патенты