патент
№ RU 2717598
МПК E02F3/40
Номер заявки
2019116420
Дата подачи заявки
28.05.2019
Опубликовано
24.03.2020
Страна
RU
Как управлять
интеллектуальной собственностью
Чертежи 
3
Реферат

Изобретение относится к одноковшовым гидравлическим экскаваторам, оснащенным ковшом типа обратная лопата, имеющим дополнительную степень подвижности. Технический результат - повышение производительности оборудования за счет отсутствия необходимости дополнительных движений ковша по обеспечению его полного заполнения, а также отсутствие частичных потерь груза при транспортировке к месту разгрузки. Рабочее оборудование одноковшового экскаватора включает ковш с режущей частью и боковыми стенками, шарнирно соединенный с рукоятью, заслонку, тяги и гидроцилиндр управления, шарнирно связанный с ковшом. Ковш содержит коромысла, установленные с двух сторон на рукояти с возможностью поворота. Режущая часть шарнирно установлена в ковше и одновременно выполняет функции заслонки. Тяги, выполненные в виде дополнительных боковых подвижных стенок, одними концами шарнирно связаны с режущей частью, а другими концами шарнирно связаны с плечами коромысел, причем другие плечи коромысел кинематически взаимодействуют с ковшом. 4 ил.

Формула изобретения

Рабочее оборудование одноковшового экскаватора, включающее ковш с режущей частью и боковыми стенками, шарнирно соединенный с рукоятью, заслонку, тяги и гидроцилиндр управления, шарнирно связанный с ковшом, отличающееся тем, что оно содержит коромысла, установленные с двух сторон на рукояти с возможностью поворота, режущая часть шарнирно установлена в ковше и одновременно выполняет функции заслонки, а тяги, выполненные в виде дополнительных боковых подвижных стенок, одними концами шарнирно связаны с режущей частью, а другими концами шарнирно связаны с плечами коромысел, причем другие плечи коромысел кинематически взаимодействуют с ковшом.

Описание

[1]

Изобретение относится к одноковшовым гидравлическим экскаваторам, оснащенным обратной лопатой, имеющей дополнительную степень подвижности. Может использоваться в различных отраслях строительства.

[2]

Известно рабочее оборудование, например, ковш экскаватора (А.С. СССР №621830), содержащий подвижно установленную в нем поворотную часть (подвижную секцию для улучшения наполняемости), шарнирно закрепленную на корпусе ковша и приводимую в движение дополнительным гидроцилиндром.

[3]

Недостатком ковша является материалоемкость и сложность конструкции, а также необходимость использования дополнительного гидропривода.

[4]

Наиболее близким (прототип) является рабочее оборудование одноковшового экскаватора (А.С. СССР №968200), включающее ковш с боковыми стенками, рукоять, заслонку, установленную на рычагах крепления на рукояти и кинематически связанную с ковшом, для снижения потерь грунта при транспортировке.

[5]

Недостатком является сложность конструкции и ограниченность применения оборудования из-за наличия рычагов крепления тяг на рукояти, а также по причине занимаемого заслонкой пространства обзора за работой ковша.

[6]

Технической задачей данного решения является повышение производительности за счет увеличения наполняемости ковша и сохранения (удержания) груза в процессе транспортировки.

[7]

Поставленная техническая задача решается тем, что рабочее оборудование экскаватора, включающее рукоять, ковш с режущей частью и боковыми стенками, шарнирно соединенный с рукоятью, заслонку, тяги и гидроцилиндр управления, шарнирно связанный штоком с ковшом, который содержит коромысла, шарнирно установленные на рукояти. Режущая часть с зубьями шарнирно установлена в ковше и дополнительно выполняет функции заслонки. Тяги, выполненные в виде дополнительных подвижных боковых стенок, одними концами шарнирно взаимодействуют с заслонкой, а другими концами шарнирно связаны с плечами коромысел, причем другие плечи коромысел кинематически связаны с ковшом.

[8]

Сущность изобретения поясняется графически.

[9]

На фиг. 1 представлен общий вид рабочего оборудования, исходное положение;

[10]

на фиг. 2 - общий вид рабочего оборудования, конечное положение;

[11]

на фиг. 3 - разрез А-А, фиг. 1

[12]

на фиг. 4 - разрез Б-Б, фиг. 1.

[13]

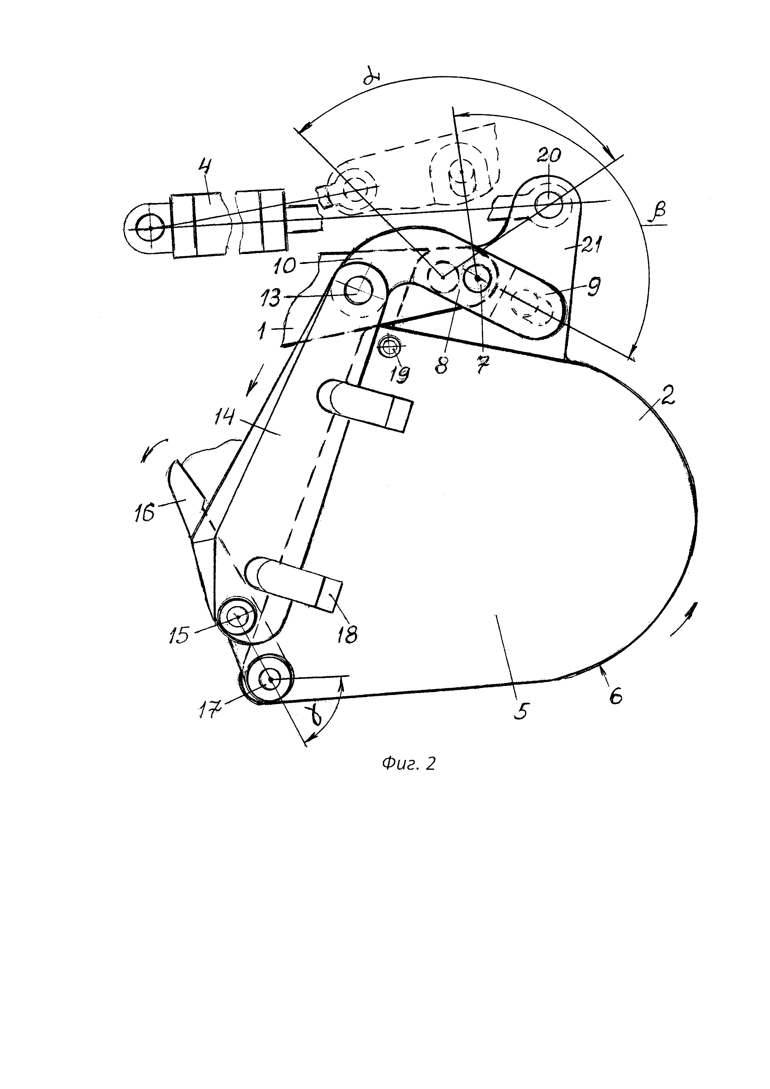
Рабочее оборудование экскаватора включает рукоять 1, на которой шарнирно установлен ковш 2 с помощью оси 3. На рукояти 1 установлен также гидроцилиндр 4 управления работой ковша 2. Ковш 2 сварной конструкции состоит из боковых стенок 5 и задней стенки 6. На рукояти 1, симметрично с двух сторон, установлены на осях 7 с возможностью поворота коромысла 8 с эксцентриситетом е относительно оси 3 поворота ковша 2. Коромысла 8 содержат плечи 9 и 10, а на ковше 2 жестко установлен палец 11. Ковш 2 кинематически взаимодействует с коромыслами 8 с помощью пальца 11 и пазов 12, выполненных на плечах 9. Пазы 12 служат для компенсации разных перемещений (углов поворота) ковша 2 и коромысел 8 из-за эксцентриситета е, тем самым предотвращая заклинивание пальца 11 и стопорение поворота. Плечи 10 коромысел 8 с помощью шарнирных винтов 13 связаны с тягами 14, выполняющими функции дополнительных подвижных стенок. Тяги 14 также с помощью шарниров 15 соединены с режущей частью 16, выполняющей дополнительно функции заслонки. В свою очередь, режущая часть 16 с возможностью поворота посредством шарниров 17 соединена с ковшом 2. Для повышения жесткости и ограничения поперечного прогиба тяг 14 от груза во время работы (наполнения) ковша 2 на его боковых стенках 5 неподвижно закреплены заплечики 18. При необходимости перевода оборудования в обычный режим работы экскаватора (без участия работы заслонки), в ковше 2 выполнены резьбовые отверстия 19. Для этого шарнирные винты 13 с тягами 14 (в исходном положении ковша 2) отсоединяются от плеч 10 коромысел 8 и устанавливаются в резьбовые отверстия 19. В связи с этим тяги 14 и режущая часть 16 при работе ковша 2 в данном режиме неподвижны. Взаимодействие ковша 2 со штоком гидроцилиндра 4 происходит с помощью оси 20 и траверсы 21, жестко связанной с ковшом 2.

[14]

Работает оборудование следующим образом.

[15]

При повороте ковша 2 от гидроцилиндра 4 в процессе забора и заполнения его грузом, одновременно происходит взаимодействие пальца 11 с пазами 12 и поворот вокруг осей 7 коромысел 8. В результате чего тяги 14 перемещаются вверх (фиг. 2). По мере поворота коромысел 8, тяги 14 тянут за собой режущую часть 16 (заслонку), которая поворачивается относительно шарниров 17, смонтированных в ковше 2, способствуя увеличению его наполнения. В свою очередь, тяги 14, выполняющие роль подвижных боковых стенок, препятствуют также частичной потере груза, особенно это касается сыпучих материалов (песок, гравий, грунт). Ковш 2 полностью заполняется грузом при повороте на угол α, и при повороте режущей части 16 на угол γ ограничивается от частичного выпадания груза в процессе его перемещения в место выгрузки. Коромысла 8 в это время поворачиваются на угол β. В момент разгрузки ковш 2, коромысло 8 и режущая часть 16 (заслонка) поворачиваются на соответствующие углы (α, β, γ) в обратном направлении. Происходит разгрузка и возврат ковша 2 в исходное положение. После чего цикл работы повторяется.

[16]

Экономическая эффективность предложенного технического решения заключается в повышении производительности оборудования за счет отсутствия необходимости дополнительных движений ковша по обеспечению его полного заполнения, а также отсутствии частичных потерь груза при транспортировке к месту разгрузки.

Как компенсировать расходы
на инновационную разработку
Похожие патенты