Огнестрельное оружие с ходом ствола вперед содержит ствол, затвор, досылатель, копир, отражатель, УСМ, рукоятку взведения, механизм задержки затяжных выстрелов, газовый двигатель, ложе, приклад. Оружие сделано по схеме «буллпап». Подача патронов производится сверху при движении сцепленных ствола и затвора вперед, выброс стреляных гильз производится вниз. Технический результат – уменьшение габаритов и массы оружия, повышение безопасности, точности и кучности стрельбы. 14 ил.
Огнестрельное оружие с ходом ствола вперед, содержащее ствол, затвор, магазин, УСМ, ложе, отражатель, газовый двигатель, механизм задержки при затяжном выстреле, рукоятку взведения, пружины, досылатель, копир, приклад, отличающееся тем, что затвор выполнен с коротким ходом, УСМ содержит шептало курка и шептало боевого упора ствола, курок и укороченный ударник, магазин расположен под патронником, газовый двигатель с коротким ходом поршня расположен под стволом.
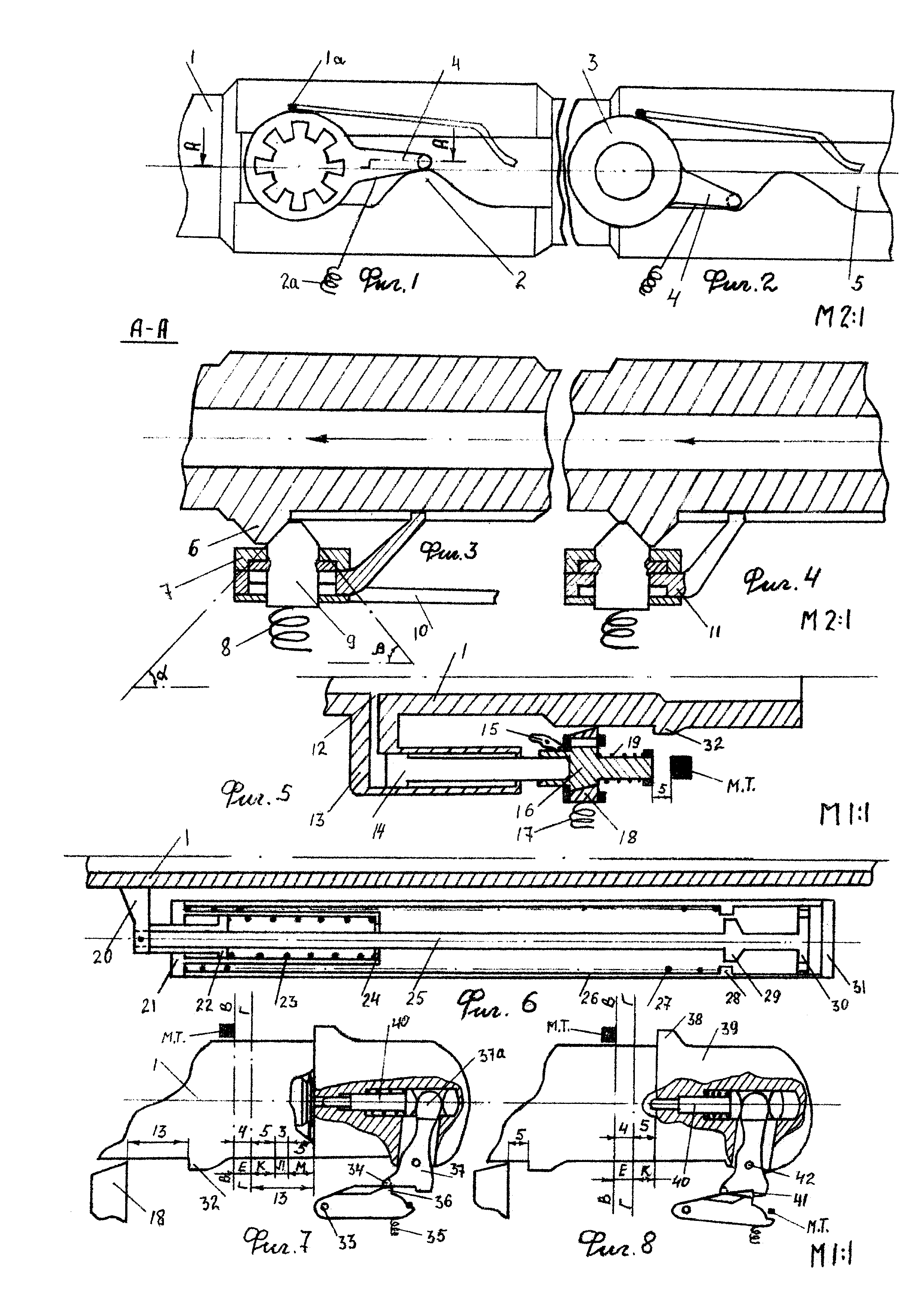
Изобретение называется «Огнестрельное оружие с ходом ствола вперед». Изобретение относится к огнестрельному оружию: пистолет-пулемет, PDW (Яндекс-оружие PDW), «автомат», карабин, винтовка, пулемет, гранатомет, пушка. Оружие состоит из ствола с затвором, досылателя, копира, ложа, отражателя, УСМ, рукоятки для взведения, механизма задержки затяжных выстрелов, газового двигателя, пружин, приклада. Задачей изобретения является создание оружия обеспечивающее технический результат: МАКСИМАЛЬНОЕ СНИЖЕНИЕ ГАБАРИТОВ ОРУЖИЯ при стрельбе мощными патронами, с длинным стволом, и высокими: надежностью, технологичностью, безопасностью, точностью и кучностью всех видов огня, при минимальной отдаче. Наиболее близкий образец оружия - новейший "автомат" Х95 Израиль (Яндекс - "автомат" Х95 Израиль), который при общей длине оружия 580 мм., имеет ствол всего 330 мм., что неприемлемо для войсковых частей, к тому же нет полной двусторонней стрельбы и для стрельбы слева нужно долго перенастраивать "автомат", что совершенно невозможно в бою. В варианте пистолета-пулемета сделан свободный затвор с всеми его минусами. Тяжелый и инерционной спуск - НЕРАЗРЕШИМАЯ ПРОБЛЕМА всего огнестрельного оружия по системе буллпап. Предлагаемое оружие имеет систему булпап и вместо сложного с большими габаритами и жесткими допусками затвора с длинным ходом представлен компактный по размерам, легкий и простой затвор с коротким ходом, а ствол с ходом вперед, что существенно уменьшает габариты оружия и как следствие уменьшается масса оружия. Описание чертежей 1 - ствол. 1а - выступ на поворотной части механизма шептала. 2 - копир 2а - пружина. 3 - механизм шептала номер один. 4 - копирующий щуп. 4а фиг. 9 - пенек ствола. 5 - паз для прохода шептала. 6 - боевой упор ствола. 7 - обечайка механизма шептала. 8 - пружина. 9 - шептало номер один. 10 - спусковая тяга. 11 - поворотная часть механизма шептала. 12 - газоотводное отверстие. 13 - газовый двигатель. 14 - поршень с коротким рабочим ходом. 15 - защелка. 16 - толкатель. 17 - пружина. 18 - механизм задержки затяжных выстрелов. 19 - пружина. 20 - консоль. 21 - стакан. 22 - поршень. 23 - пружина буфера. 24 - крестообразный вырез в дне стакана. 25 - толкатель. 26 - труба. 27 - возвратная пружина. 28 - крестообразный вырез и упор для пружины 27. 29 - крестообразный упор - ответная деталь под вырез 24. 30 - крестообразный упор - ответная деталь под вырез 28. 31 - крышка. 32 - упор ствола. 33 - ось. 34 - носок курка. 35 - пружина. 36 - шептало номер два. 37 - курок. 37а - хвост курка. 38 - упор затвора. 39 - затвор. 39а фиг. 9 - зеркало затвора. 40 - ударник. 41 - упор курка. 42 - ось. 43 - магазин. 44 - направляющая копира. 45 - ложе. 46 - досылатель. 46а - отражатель. 47 - направляющая досылателя. 48 - копир. 49 - канавка копира. 50 - круглая направляющая досылателя. 51 - Т-образная направляющая гильз. 52 - круглый выступ на досылателе. 53 - ведущий шип ствола для копира. 54 - козырек. 55 - пружина. 56 - зацеп. 57 - ось. 58 - перемычка. 59 - большой зуб. 60 - упор ствола под малый зуб. 61 - упор ствола под большой зуб. 62 - малый зуб. 63 - копир. 64 - круглый выступ под копир. 65 - нижняя планка Пикатинни. 66 - шарнир. 67 - рукоятка ведущей руки. 68 - рукоятка взведения оружия. 69 - кнопка. 70 - спусковой крючек. 71 - шток. 72 - верхняя планка Пикатинни. 73 - звукоизолирующая прокладка. 74 - отверстие с сеткой или лабиринтом. 75 - канал удаления гильз. 76 - пылезащитная шторка, условно приоткрыта. 77 - шарнир. 78 - регулируемый приклад. 79 - пружина. А-А - линия разреза механизма шептала 3 фиг. 1. Б-Б - линия разреза фиг. 9. В-В - условно линия завершения расцепления ствола 1 с затвором 39 при ходе вперед. Г-Г - условно линия начала расцепления ствола 1 с затвором 39 при ходе вперед. Д - рабочий ход досылателя вверх-вниз, к примеру 14 мм Ж - свободный ход копира 48 фиг. 10., к примеру 20 мм. Е - отрезок пути на котором происходит расцепление ствола 1 с затвором 39 при ходе ствола вперед фиг 12., к примеру 4 мм. К - расстояние на котором, после удара бойка 40 фиг. 8, произойдет выстрел на выкате ствола, при разбросах воспламенения капсюля и порохового заряда, к примеру 5 мм. Л - рабочий ход ударника 40фиг. 8., к примеру 3 мм. М - путь разгона подвижных частей до начала движения бойка 40 фиг. 7., к примеру 5 мм. при первом выстреле, дальнейшие выстрелы при автоогне будут иметь более ярко выраженный эффект выката ствола, т.к. скорость ствола вперед, до выстрела, будет выше, а путь М длиннее. Фиг. 1 и фиг. 3 - момент когда копирующий щуп 4 находится на пике копира 2, механизм шептала 3 открыт и шептало номер один 9 свободно пропускает боевой упор ствола 6, при ходе ствола 1 назад, также это момент когда спусковая тяга 10 нажата. Фиг. 2 и фиг. 4 - момент когда механизм шептала закрыт и боевой упор ствола 6 фиг. 4 застопорен при ходе ствола 1 вперед, также когда спусковая тяга 10 не нажата. Фиг. 5 - момент когда механизм задержки затяжных выстрелов 18 включен. Фиг. 6 - пружинный блок показан, когда оружие стоит на взводе. Фиг. 7 - УСМ в момент когда оружие на взводе. Фиг. 8 - УСМ в момент выстрела. Фиг. 9 - момент когда сцепленные ствол 1 и затвор 39 при движении вперед, зеркалом затвора 39а, подошли к линии расцепления В-В фиг. 13 и затвор 39 стопорится, а ствол 1 идет дальше вперед по инерции. Фиг. 10 - момент когда ствол 1 пришел в крайнее переднее положение. Фиг. 11 - вид сверху фиг. 10 Фиг. 12 - момент когда сцепленные ствол 1 и затвор 39 зеркалом затвора 39а подошли к линии Г-Г - начало расцепления. Фиг. 13 - момент когда сцепленные ствол 1 и затвор 39 расцепились на линии В-В и зеркало затвора 39а на этой линии стопорится. Фиг. 14 - условный общий вид оружия. Раскрытие изобретения Начну с описания системы запирания ствола, делаем как у номинально помпового ружья «Рысь» (Яндекс-дробовик «Рысь») - также два зацепа расположенные диаметрально друг против друга на затворе, только без пружин. После выстрела (вариант 1 фиг. 12) подвижные части: затвор 39 сцепленный со стволом 1, движутся вперед (что их движет будет описано ниже) и когда зеркало затвора 39а придет на линию Г-Г фиг. 12 круглый выступ 64 фиг. 12 следующий строго параллельно оси канала ствола 1 фиг. 12 по канавке неподвижного копира 63 фиг. 12 (на верхнем чертеже канавка показана пунктиром) находит на поворот канавки под углом к примеру 137° фиг. 12 и зацеп 56 фиг. 12 начнет поворачиваться на оси 57 фиг. 12 наружу выводя из зацепления как большой зуб 59 фиг. 13 так и малый зуб 62 фиг. 12 и на пути Е=4 мм. между линиями Г-Г фиг. 13 и В-В фиг. 13 зацеп 56 фиг. 13 расцепится со стволом 1 фиг. 13, второй зацеп работает аналогично, только без малого зуба, одновременно зеркало затвора 39а фиг. 13 упором 38 фиг. 13, на линии В-В фиг. 13 остановится на М.Т. фиг 13, а ствол 1 фиг. 13 по инерции уйдет вперед. При ходе ствола 1 фиг. 13 назад он сцепляется с затвором 39 фиг. 13 в обратном порядке. Показаны 2 варианта зацепов, вариант I фиг. 12 предпочтительнее т.к. перемычка 58 фиг. 13 делает зацеп совершенно неразгибаемым, а малый зуб 62 фиг. 12 с элементами самозатягивания, увеличивает площадь зацепления и соответственно больше надежность и ресурс деталей, проще вариант II фиг. 12 копия I фиг. 12 без малого зуба 62 фиг. 12. Ход зацепов предельно короткий и простой здесь просто нечему ломаться и клинить, есть варианты зацепов без осей в жестких допусках, а в виде отделяющихся вкладышей (отдельный патент), есть варианты запирания ствола поперечными клиньями (отдельные патенты). Эта система особо рациональна для пистолетов-пулеметов и PDW. Теперь система питания. После того как зеркало затвора 39а фиг. 13 остановится на М.Т. фиг. 13 (механизм задержки 18 будет после выстрела отжат вниз и не будет мешать ходу ствола 1 вперед, что будет показано ниже) ствол 1 фиг. 10 расцепившись с затвором 39 фиг. 10 по инерции продолжит движение вперед, вместе со стволом 1 фиг. 10 посредством шипа 53 фиг. 10 движется вперед и копир 48 фиг. 10, круглый выступ 52 фиг. 10 (можно поставить небольшой подшипник или ролик) движется по кривой канавки 49 фиг. 9 опуская и поднимая досылатель 46 фиг. 10 вверх-вниз на расстояние Д фиг. 9 к примеру 14 мм: На пути 29 мм. (цилиндричская часть гильзы патрона Грендель) канавка 49 фиг. 9 есть прямая линия параллельная оси канала ствола 1 и при прохождении этого участка выступом 52 досылатель 46 стоит на месте в верхнем положении, при дальнейшем движении копира 48 вперед выступ 52 фиг. 10 плавно как бы огибая головную часть патрона II фиг. 10 опускается вниз, досылатель 46 тоже, в это время уходящий вперед ствол 1 фиг. 10 козырьком 54 фиг. 11 максимально близко проходит огибая головную часть опускающегося патрона II фиг. 10 и кончик пули проходит в вырезе козырька 54 фиг. 11. При достижении ствола 1 крайнего переднего положения, сжимая возвратную пружину 27 фиг. 6 крестообразным упором 30 фиг. 6 и сжимая в конце пружину буфера 23 фиг. 6 справа крестообразным упором 29 фиг. 6, досылатель 46 фиг. 10 опускается на расстояние Д фиг. 9, сдвигая гильзу I фиг. 10 и патрон II фиг. 10 вниз по Т-образной направляющей 51 фиг. 10, она удерживает гильзу I фиг. 9 равномерно с двух сторон без мелких и ненадежных движущихся деталей и пружин просто и надежно выполняя роль выбрасывателя, в отличии от консольного и ненадежного выбрасывателя классики, при этом гильза I фиг. 10 ложится на ложе 45 фиг. 10, а патрон II фиг. 10 на гильзу I фиг. 10, а патрон III фиг. 10 пройдет путь примерно 3 мм. ближе к линии досылки и упрется в досылатель 46 фиг. 10. Здесь гильза I фиг. 10 выполняет 2 роли: 1 - выстрел. 2 - очень точно и мягко в идеальном состоянии выставляет патрон II фиг. 10 на ось канала ствола 1 фиг. 10, при обратном ходе ствола 1 фиг. 10 шип 53 фиг. 10 выбирает свободный ход Ж фиг. 10 к примеру 20 мм. и только потом копир 48 фиг. 10 начинает отходить назад, при дальнейшем ходе ствола 1 фиг. 10 назад «одеваясь» на патрон II фиг. 10, досылатель 46 поднимается вверх, после этого патрон III фиг. 10 под давлением пружины магазина 43 фиг. 9 начинает движение на линию досылки, далее патрон III «провалится» вниз, как вариант, если бы не было свободного хода Ж фиг. 10 и козырька 54 фиг. 10 (его можно удлинить), но в этот момент козырек 54 фиг. 10 глубоко зайдет под патрон III фиг. 10 и поддержит его, в чем и заключается смысл свободного хода Ж фиг. 10. При возвращении ствола 1 фиг. 9 в исходное положение, он «одевается» на патрон II фиг. 10, а гильза I фиг. 9 при помощи нижней части ствола 1 фиг. 10 и отражателя 46а фиг. 10 будет отброшена назад и вниз (отражатель 46а фиг. 10 переводит горизонтальную траекторию гильзы назад - вертикально вниз, без ненадежных мелких деталей и пружин классического отражателя), компактно и не разлетаясь на всю округу и не травмируя своих товарищей раскаленными гильзами как у классики и эти товарищи стоят перед выбором: то-ли во врага стрелять, то-ли от раскаленных гильз спасаться и уже прицельно стрелять во врага становится проблематично. Т.к. гильза летит тяжелым донцем вниз, делаем небольшое окно внизу оружия для удаления гильз, закрытое компактной, автоматической подпружиненной шторкой 76 фиг14, которая будет закрываться после каждого выстрела. Ввиду полной закрытости оружия, при случайном взрыве патрона внутри оружия, боец не будет травмирован. Ствол 1 в крайнем заднем положении сжимает пружину 55 фиг. 14. и пружину буфера 23 фиг. 6. слева, пружина буфера 23 фиг. 6 двухсторонняя и работает как при ходе ствола вперед, так и назад. Когда оружие на взводе, пружина 55 и пружина буфера 23 будут поджаты на 20÷50% и могут стоять очень долго, без особого вреда для оружия, в отличии от классики. Подача патронов и выброс гильз происходит без классического затвора с его многочисленными и неустранимыми недостатками, вот только малая их часть: 1) утыкание патрона. 2) распатронивание. 3) разного рода разрывы гильз. 4) выпадение капсюля из патрона. Этих и остальных недостатков затвора в данной системе НЕТ, а криволинейные канавки копиров - простейших деталей в свободных допусках, с современными стенками с ЧПУ, изготовить не составит большого труда. Пружинный блок фиг. 6 стоит сбоку справа и не виден на фиг. 14., есть разные варианты установки пружин. Есть другие варианты механизма подачи патронов и выброса гильз, как с досылателем 46 фиг. 9 в виде гильотинки, так и без него. На фиг. 14 "автомат" уже взведен, для этого используется к примеру простая, оригинальная и подпружиненная рукоятка взвода 68 фиг. 14 с малым усилием, коротким ходом и удобный для быстрых манипуляций как при стрельбе справа, так и слева, как левой, так и правой руками. При осечке или при затяжном выстреле можно опять взвести оружие без выброса патрона из патронника (при этом ствол 1 будет сцеплен с затвором 39, при осечке патрон в 80% случаев выстреливает при повторном ударе ударника и здесь есть возможность неоднократно попытаться выстрелить, в отличии от классики где при осечке остается только передернуть затвор и выбросить практически "живой" патрон в грязь) и без взрыва патрона при затяжном выстреле, с риском получить травмы лица или рук, что вероятно при повторном взведении классического "автомата", также можно перезарядить оружие без выброса неиспользованного патрона просто ткнув срезом ствола в дерево, пол, стену, ход всего-то к примеру 13 мм., если взять передаточное отношение рукоятки взвода 68 к примеру 1:3 то ход рукоятки будет всего 13 мм.×3=39 мм. Для взведения оружия оттягиваем нижний конец подпружиненной рукоятки 68 вперед на 39 мм., срабатывает защелка, соединяющая ствол 1 с рукояткой 68, тянем назад рукоятку 68 и здесь нам в помощь пружина 79 фиг. 14 и с усилием где-то в 3 с лишним раза меньше взводим оружие. Для передергивания ствола, к примеру при осечке или при затяжной выстреле, когда надо удалить патрон из патронника, нажимаем кнопку 69 и рукоятку 68 вместе с планкой Пикатинни 65 и штоком 71 отводим ствол 1 вперед с длинным ходом, а затем назад, перезаряжая оружие, при этом из патронника будет выброшен неиспользованый патрон, а вместо него в патронник поступит свежий патрон. Подвижные части стоят под большим напряжением вперед от пружины 55 фиг. 14 и пружины буфера 23 фиг. 6, при нажатии спуска 70 фиг. 14, спусковая тяга 10 фиг. 1 движется вперед, поворачивая поворотную часть механизма шептала 11 фиг. 4, где-то порядка 2,5 мм., и механизм шептала откроется фиг. 3 (спусковой крючок сделан с отверстиями фиг. 14, с передаточными отношениями к примеру 1:2; 1:3; 1:4; 1:5 и если на крючке будет усилие к примеру 3 кг., то, к примеру, при отношении 1:5 на выходе будем иметь 3×5=15 кг. - это более, чем достаточно, а ход крючка будет 2,5×5=12,5 мм. - нормальная длина хода спускового крючка. Кстати имеем длину спусковой тяги короче и легче пистолетной, что являлось до сих пор НЕРАЗРЕШИМОЙ ПРОБЛЕМОЙ системы булпап с длинной и инерционной спусковой тягой и тяга 10 фиг. 3 может быть как толкающей, так и тянущей. Здесь показан простейший вариант, есть варианты с переключателем вида огня (отдельные патенты), хотя по данной схеме он может и не понадобится т.к здесь нет слишком высокого темпа стрельбы, как у классики да и крейсерский темп стрельбы, где-то 500 выстрелов в минуту, оружие набирает только где-то на втором выстреле очереди так, что отсечь одиночный выстрел сможет даже человек взявший оружие первый раз в жизни. Ствол 1 фиг. 1 вместе с механизмом шептала номер один 3 фиг. 2 можно развернуть против часовой стрелки вокруг оси канала ствола 1 фиг. 1 где-то на 15° и тогда тяга спуска 10 фиг. 3 будет двигаться строго параллельно оси канала ствола 1) и шептало 9 фиг. 3., под действием боевого упора 6 фиг. 4, легко, сжимая пружину 8 фиг. 3, уйдет вниз, а подвижные части резко пойдут вперед и пройдя отрезок М фиг. 7.=5 мм. к примеру, на этом отрезке подвижные части свободно разгоняются, после столкновения с шепталом номер два 36 фиг. 7, курок 37 фиг. 7 начинает крутиться против часовой стрелки на оси 42 фиг. 8, хвост курка 37а фиг. 7 начнет двигать ударник 40 фиг. 7 (ударник короткий и прочный, ввиду большего диаметра, в отличии от тонкого и длинного бойка классики) вперед, т.к. у курка 37 фиг. 7 передаточное отношение к примеру 1:2 (есть другие варианты), скорость ударника 40 фиг. 7 будет высокой и ударник пройдя путь Л=3 мм. бойком 40 фиг. 8 резко ударит в капсюль патрона (условно не показан), раздастся выстрел на выкате ствола, в этот момент масса подвижных частей, в том числе и с патроном - максимальна и это благоприятно сказывается на уменьшении отдачи, а при ударе в крайнем переднем положении участвует только один пустой ствол 1, смягченный возвратной пружиной 27 фиг. 6 и пружиной буфера 23 фиг. 6, при ударе ствола назад идет опять смягчение пружиной 55 фиг. 14. и пружиной буфера 23 фиг. 6. Смягчение ударов подвижных частей и вперед и назад не нашел ни в мировой литературе, ни в Интернете. При ударе ствола 1 вперед, предполагается, хоть и смягченный двумя пружинами, "клевок" ствола, но если держать ведомую руку на цевье оружия то "клевка" не будет т.к. рука будет расположена на оси канала ствола, а если держать ведомую руку на ручкоятке 68 фиг. 14, то вектор приложения силы будет расположен на шарнире 66 фиг. 14, выше оси канала ствола, что компенсирует "клевок" ствола, на таком же принципе можно сделать как съемную рукоятку для ведомой руки, так и рукоятку для ведущей руки. Расстояние К фиг. 7 к примеру 5 мм. дано для того, что бы надежно сработали капсюль и пороховой заряд, несмотря на разброс параметров вспышек капсюля и порохового заряда, 5 мм. это намного надежнее, чем где-то 1 мм. который есть при стрельбе на выкате затвора. Если выстрела не будет (осечка, затяжной выстрел) упор 32 фиг. 7 упрется в неподвижный механизм задержки 18 фиг. 7 и зеркало затвора 39а остановится как раз на линии Г-Гфиг. 7, где начинается расцепление подвижных частей при ходе вперед - так работает механизм задержки затяжных выстрелов, одновременно носок курка 34 фиг. 8 начинает поворачивать шептало номер два 36 фиг. 8 по часовой стрелке и синхронно с полным ходом ударника 40 фиг. 8 вперед, упор 41 фиг. 8 сорвется с шептала номер два 36 фиг. 8 без зацепления. Комбинацию пружин, массы подвижных частей и расстояния отверстия газового двигателя от казны можно подобрать таким, что после выстрела от действия отдачи скорость подвижных частей вперед упадет до нуля и в этот момент пуля пролетит газоотводное отверстие 12 фиг. 5, газовый двигатель 13 фиг. 5 сработает и поршень с коротким рабочим ходом 14 фиг. 5 пойдет назад сдвигая толкатель 16 фиг. 5, к примеру, на 5 мм. одновременно сжимая пружину 19 фиг. 5, при этом механизм задержки 18 фиг. 5 опустится вниз и затем сработает защелка 15 и застопорит толкатель 16, а значит и механизм задержки 18, при этом хвост защелки 15 поднимется и встанет на линию хода упора ствола 32 фиг. 5, после срабатывания газового двигателя 13 подвижные части пойдут вперед, и выброс гильзы будет при минимальном давлении в стволе, что с вышеописанной системой даст надежность выброса гильз сильно приближающуюся к 100%, не будет слишком высокого темпа стрельбы и не будет разного рода разрывов гильз - опаснейшей задержки в бою. Т.к. механизм задержки 18 опущен, ствол 1 фиг. 5 свободно идет вперед, после того как упор ствола 32 фиг. 5 заденет поднятый хвост защелки 15, он отпустит толкатель 16, который под действием пружины 19 вернется в прежнее положение и механизм задержки 18 под действием пружины 17 тоже вернется в прежнее положение, при обратном ходе ствола 1 фиг. 5 механизм задержки 18 свободно пропускает упор ствола 32 фиг. 5. После выстрела, при ходе ствола 1 фиг. 10 вперед и назад, досылатель 46 фиг. 10 и копир 48 фиг. 10 выставляют патрон II фиг. 10 на ось канала ствола, а гильза I фиг. 10 выбрасывается из оружия назад и вниз. При ходе ствола вперед происходит разделение импульса отдачи, как у автоматического дробовика Джекхаммер (Яндекс - автоматический дробовик Джекхаммер), с уменьшением отдачи. Ввиду компактности газового двигателя по длине (есть варианты газового двигателя с абсолютно коротким ходом поршня в пределах 5 мм.) и конструкции оружия, газовый двигатель нужно расположить под стволом и при этом уменьшатся плечо отдачи, силуэт бойца, а также вертикальные габариты оружия, в отличии от обычного "автомата" буллпап, у которого габаритный газовый двигатель стоит почти всегда над стволом, к примеру Х95. Ствол при накате может сохранить до 90% скорости отката т.к. крестообразный упор 30 фиг. 6 сжимает возвратную пружину 27 фиг. 6 (которая при накате ствола 1 когда пенек ствола приходит на линию В-В пружина 27 фиг. 6 стопорится на упоре 28 фиг. 6 и далее ствол 1 идет назад по инерции), а крестообразный упор 29 фиг. 6 в конце хода сжимает жесткую пружину буфера 23 фиг. 6. при этом повышается скорость наката ствола 1 и повышается темп стрельбы, что очень важно для массивных подвижных частей (при массивных подвижных частях меньше вероятность заклинивания оружия от песка и пыли), затем ствол 1 фиг. 10 «одевается» на патрон II фиг. 10, а гильза I фиг. 10 отбрасывается назад и вниз, далее ствол 1 фиг. 13 ударяет затвор 39 фиг. 13 и на пути 4 мм. между линиями В-В фиг. 13 и Г-Г фиг. 13 происходит сцепка ствола 1 фиг. 12 с затвором 39 фиг. 12. Когда боевой взвод 6 фиг. 3 при ходе ствола назад подходит к шепталу номер один 9 фиг. 3 со стороны угла альфа, щуп 4 фиг. 1 находится на пике копира 2 фиг. 1 и шептало 9 фиг. 3 свободно уходит вниз, не мешая стволу 1 идти назад, далее подвижные части при ходе назад по инерции сжимают пружину 55 фиг. 14, а в конце хода поршень 22 фиг. 6 сжимает пружину буфера 23 фиг. 6 слева, далее подвижные части на мгновение останавливаются и идут вперед и если спуск не нажат, то боевой упор 9 фиг. 4 стопорится о закрытое шептало номер один 9 фиг. 4, если спуск нажат, то стрельба идет до тех игр пока нажат спуск или не кончатся патроны. Углы альфа и бета могут быть разные и разной конфигурации. Есть варианты (это отдельные патенты) когда спуск нажат при автоогне, шептало 9 стопорится внизу и нет лишних ударов об упор ствола 6 при ходе ствола 1 назад. Переставляя тягу 10 фиг. 14 по отверстиям спускового крючка 70 фиг. 14 можем регулировать усилие и ход спуска в широких пределах - все это для оружия с выкатом ствола, такой же УСМ можно сделать для оружия стреляющего с открытого затвора. Приклад можно сделать регулируемым, как у "автомата" VHS-2 (Яндекс-оружие VHS-2), что решит проблему подгонки оружия к разным людям и при разной экипировке. На верхней планке Пикатинни 72 фиг. 14. можно установить все виды прицелов и т.д., на нижней планке 65 фиг. 14 можно установить тактический фонарь, гранатомет и т.д. Для уменьшения звука при близком выстреле к уху, ставим звукоизолирующую прокладку 73 фиг. 14. Длина «автомата» по системе буллпап с оптимальным стволом 500 мм. будет порядка 580 мм., во взведенном положении где-то 570 мм и "автомат " не будет мешаться ни в авто, ни в бронетехнике, ни в авиатехнике, ни в окопах, ни в траншеях, ни в тесных помещениях, также легко будут преодолимы двери, окна, люки. Если сделать пистолет-пулемет или PDW со стволом к примеру 400 мм. получим идеальное оружие с более коротким ходом ствола, ввиду более короткого патрона и по системе буллпап в пределах 450 мм. длины оружия, можно сделать выдвижной приклад. Если взять классический ствол 250 мм., получим полноценный пистолет-пулемет и PDW длинной 300 мм. [это короче чем немецкий МР-5К (Яндекс - оружие МР-5К), у которого ствол длиной всего 115 мм.], для скрытого ношения, с выдвижным прикладом. Притом не будем иметь слишком высокий темп стрельбы - бич всех пистолетов-пулеметов со свободным затвором, будем иметь высокие кучность и точность стрельбы, с переднего шептала и при минимальной отдаче. При данной схеме можно применить усовершенствованный пистолетный патрон 7,62×25, сделав его к примеру 7,62×28 (отдельный патент) с остроконечной пулей и начиненный самым современным эффективным порохом и получится патрон - гроза бронежилетов. Систему можно сделать модульной, сменив ствол, несколько деталей и поставив адаптер под патрон 9×19, 5,7×28 и т.д., получим пистолет-пулемет или PDW, без свободного затвора со всеми его минусами. По системе буллпап газы будут выходить через отверстие с сеткой или лабиринтом 74 фиг. 14, в верхнем конце затыльника приклада, в районе затылка бойца и не будут раздражать глаза и носоглотку. Ствол 1 можно легко заменить на запасной или другого калибра и длины прямо на месте, быстро и без инструментов т.к. он жестко не закреплен в ствольной коробке, варианты есть (отдельные патенты), в отличии от классики где раскаленный ствол может заклинить или "прикипеть", а при смене калибра и длины ствола требуется армейская мастерская. Получилось надежное, легкое, КОМПАКТНОЕ, дальнобойное оружие с высокими точностью, кучностью и убойной силой всех видов огня с минимальной отдачей. Есть варианты (отдельные патенты), где два магазина (магазин номер 1 там где магазин 43 фиг. 14, а магазин номер 2 показан штриховыми линиями фиг. 14. стоят друг за другом. Для смены пустого магазина 1, мгновенным движением магазина 2 назад (для этого, как вариант, можно сделать подвижную рукоятку 67 фиг. 14), ставим его на место 1, пустой магазин 1 выпадает назад и вниз и стрельба продолжится практически без остановки ~ остановки длительной и смертоносной, без возможности открыть мгновенный огонь как у классики при замене пустого магазина. При дальнейшей стрельбе всегда найдется момент для подзарядки оружия магазином 2 и при этом имеем возможность открыть мгновенный огонь и практически будет беспрерывный огонь пока есть магазины. Магазин с оптимальным количеством патронов, к примеру 22 шт., 22+22+1 в стволе = 45 патронов - как у магазина ручного пулемета РПК. С данным оружием и магазином боец имеет низкий силуэт в положении лежа и надежный магазин ввиду коротких размеров. В варианте пистолета-пулемета можно поставить 3 магазина (а то и 4) и тогда на одной зарядке будем иметь 22+22+22+1 патрон в стволе = 67 патронов. Магазин нужен новой конструкции (отдельный патент), он будет полностью закрытый от песка, грязи и т.д., в отличии от открытых и смертоносных, по причине их загрязнения и заклинивания в самый неподходящий момент, магазинов классики. Данное оружие, в сравнении с известными буллпапами, с длиной ствола 500 мм, будет где-то на 200 мм. короче и будет иметь габариты пистолета-пулемета и солдаты второй эшелона смогут участвовать в любых боях, не чувствуя себя неполноценными воинами с хлопушками в руках, типа PDW и т.д., не говоря уже о бешенных деньгах на их производство, производство еще одного типа патронов, логистику и т.д. В данном оружии СНЯТЫ ВСЕ ПРОБЛЕМЫ системы булпап. Данный «автомат» - универсальное оружие: пистолет-пулемет, PDW, «автомат», легкая тактическая снайперская винтовка, ручной пулемет. Существенные признаки изобретения: 1 - САМЫЕ МАЛЫЕ ГАБАРИТЫ и как следствие - малая масса оружия. 2 - не будет зияющих окон для выброса гильз и прорезей для рукоятки затвора, как и самой рукоятки-крюка с уменьшением габаритов оружия. 3 - имеем очень компактный, ввиду уменьшения длины, газовый двигатель, который устанавливаем под стволом, что существенно уменьшит плечо отдачи и вертикальные габариты оружия и снизит силуэт бойца в положении лежа. 4 - в оружии отсутствуют: 1) выбрасыватель - несколько деталей. 2) отражатель - несколько деталей. 3) автоспуск - несколько деталей. 4) замедлитель - несколько деталей. 5) переключатель вида огня - несколько деталей. 6) длинный и ненадежный ударник - вместо него короткий и надежный ударник, а также по системе буллпап имеем короткую, легкую и чуткую спусковую тягу, короче пистолетной и ее можно сделать как толкающую, так и тянущую, что также уменьшает габариты и массу оружия, при этом увеличивается оперативная скорость применения оружия. 5 - оружие простое, легкое, надежное, безопасное, технологичное, недорогое и с МИНИМАЛЬНЫМИ ГАБАРИТАМИ. Насчет КАРДИНАЛЬНОГО УМЕНЬШЕНИЯ ОТДАЧИ владею патентом под номером 2697184 " Огнестрельное оружие с ходом ствола вперед и самой минимальной отдачей" - это еще один из бесчисленных вариантов данного оружия. У вышеописанного оружия ГИГАНТСКИЙ ПОТЕНЦИАЛ для последующих модернизаций, в отличии от современных систем- где придумывать УЖЕ НЕЧЕГО. Это совершенно НОВЫЙ и НЕОБЫЧНЫЙ ВИД ОРУЖИЯ под обычный патрон. В частном случае - "автомат" можно сделать под любой патрон, вплоть до 7,62×51 NATO, данные эскизы сделаны под патрон Грендель.