патент
№ RU 2716772
МПК B01D35/18

СИСТЕМА ДЛЯ ИЗВЛЕЧЕНИЯ CO2 И СПОСОБ ИЗВЛЕЧЕНИЯ CO2

Авторы:
МИЯМОТО, Осаму (US) КАМИДЗЁ, Такаси (JP) ИНУИ, Масаюки (JP)
Все (4)
Номер заявки
2018144973
Дата подачи заявки
29.09.2017
Опубликовано
16.03.2020
Страна
RU
Дата приоритета
17.12.2025
Номер приоритета
Страна приоритета
Как управлять
интеллектуальной собственностью
Чертежи 
10
Реферат

Система извлечения СОсодержит абсорбер СОдля удаления СОиз отходящих газов с помощью абсорбента СО, регенератор абсорбента, предназначенный для регенерации абсорбента СО, линию Lподачи обогащенного раствора, используемую для подачи обогащенного раствора из абсорбера в точку с ввода обогащенного раствора в регенератор, теплообменник обогащенного/обедненного растворов, в котором осуществляется теплообмен между обогащенным раствором и обедненным раствором, первую линию Lотделения обогащенного раствора, предназначенную для отделения части обогащенного раствора в первом узле А-1 разделения, расположенном на линии Lподачи обогащенного раствора между теплообменником обогащенного/обедненного растворов и регенератором, и подачи отделенного обогащенного раствора в первую точку В-1 ввода обогащенного раствора, которая находится на боковой стенке ближе к нижней стороне регенератора, чем точка подачи обогащенного раствора, первый теплообменник обогащенного раствора, служащий для предварительного нагрева отделенной части обогащенного раствора, и первое устройство для регулировки расхода, предназначенное для регулировки потока обогащенного раствора, отделяемого в первом узле А-1 разделения, таким образом, чтобы обогащенный раствор нагревался в первом теплообменнике обогащенного раствора до предварительно заданной температуры. 2 н. и 10 з.п. ф-лы, 10 ил., 1 табл.

Формула изобретения

1. Система извлечения СО2, содержащая:

абсорбер СО2, в котором отходящие газы, содержащие СО2, приводят в контакт с абсорбентом СО2для удаления СО2 из отходящих газов, содержащих СО2;

регенератор абсорбента, в котором в ходе регенерации абсорбента CO2 отделяют от обогащенного раствора, абсорбировавшего СО2, который в результате становится обедненным раствором;

линию подачи обогащенного раствора, которая транспортирует обогащенный раствор из нижней части абсорбера СО2 в точку подачи обогащенного раствора, находящуюся на верхней стороне регенератора абсорбента;

теплообменник обедненного/обогащенного растворов, который осуществляет теплообмен между обогащенным раствором и обедненным раствором,

первую линию отделения обогащенного раствора, которая отделяет часть обогащенного раствора в виде первого отделенного обогащенного раствора в первом узле разделения, размещенном на линии подачи обогащенного раствора, проходящей между теплообменником обедненного/обогащенного растворов, где обедненный раствор из регенератора абсорбента подвергся первому теплообмену со всем обогащенным раствором из абсорбента CO2, и регенератором абсорбента, и которая направляет первый отделенный обогащенный раствор в первую точку ввода, находящуюся на боковой стенке регенератора абсорбента ближе к нижней стороне регенератора абсорбента, чем его верхняя сторона;

первый теплообменник обогащенного раствора, который предварительно нагревает первый отделенный обогащенный раствор из первой линии отделения обогащенного раствора; и

первый клапан регулировки расхода, который регулирует поток первого отделенного обогащенного раствора, направляемого на предварительный теплообмен в первый теплообменник обогащенного раствора, таким образом, что обогащенный раствор предварительно нагревается в первом теплообменнике обогащенного раствора до предварительно заданной температуры, причем данный клапан размещен на первой линии отделения обогащенного раствора между первым узлом разделения и первым теплообменником обогащенного раствора.

2. Система извлечения СО2 по п. 1, в которой теплоносителем в первом теплообменнике обогащенного раствора является конденсат водяного пара, получаемого из ребойлера, входящего в состав регенератора абсорбента.

3. Система извлечения СО2 по п. 1, содержащая секцию первой ступени регенерации, в которой осуществляется регенерация абсорбента СО2 в регенераторе абсорбента, и секцию второй ступени регенерации, размещенную под секцией первой ступени регенерации, и содержащая

первую линию отвода наполовину обедненного раствора, обеспечивающую отвод первого наполовину обедненного раствора, в котором часть СО2 была извлечена из обогащенного раствора в секции первой ступени регенерации и отведена за пределы регенератора, из первого хранилища жидкости, предназначенного для накопления первого наполовину обедненного раствора, и соединенную с точкой ввода отведенного первого наполовину обедненного раствора в верхний участок секции второй ступени регенерации, при этом указанная точка ввода расположена ниже, чем точка отвода наполовину обедненного раствора; и

первое устройство смешивания, в котором происходит смешивание первого наполовину обедненного раствора и первого отделенного обогащенного раствора, введенных в регенератор абсорбента, при этом точка ввода на первой линии отвода наполовину обедненного раствора в регенераторе абсорбента находится на той же высоте, что и точка ввода на первой линии отделения обогащенного раствора.

4. Система извлечения СО2 по п. 3, содержащая линию подачи обедненного раствора из нижней части регенератора абсорбента в точку ввода обедненного раствора в абсорбер СО2, в которой

первый теплообменник обедненного/наполовину обедненного растворов, в котором осуществляется теплообмен между обедненным раствором и первым наполовину обедненным раствором, размещен в месте пересечения линии подачи обедненного раствора и первой линии отвода наполовину обедненного раствора, между нижней частью регенератора абсорбента на линии подачи обедненного раствора и теплообменником обедненного/обогащенного растворов.

5. Система извлечения СО2 по п. 1, в которой регенератор абсорбента содержит секцию первой ступени регенерации, которая обеспечивает регенерацию абсорбента СО2, секцию второй ступени регенерации, размещенную под секцией первой ступени регенерации, и секцию третьей ступени регенерации, размещенную под секцией второй ступени регенерации; и в которой указанная система извлечения СО2содержит:

первую линию отвода наполовину обедненного раствора, которая отводит весь первый наполовину обедненный раствор, в котором часть СО2 была извлечена из обогащенного раствора в секции первой ступени регенерации и отведена за пределы регенератора, из первого хранилища жидкости, предназначенного для накопления первого наполовину обедненного раствора, и которая соединена с точкой ввода первого наполовину обедненного раствора в верхний участок секции второй ступени регенерации, при этом указанная точка ввода расположена ниже, чем точка отвода наполовину обедненного раствора; и

первое устройство смешивания, в котором происходит смешивание первого наполовину обедненного раствора и первого отделенного обогащенного раствора, введенных в регенератор абсорбента, при этом точка ввода на первой линии отвода наполовину обедненного раствора в регенераторе абсорбента находится на той же высоте, что и точка ввода на первой линии отделения обогащенного раствора;

вторую линию отвода наполовину обедненного раствора, которая отводит второй наполовину обедненный раствор, в котором часть СО2 была дополнительно извлечена из первого наполовину обедненного раствора в секции второй ступени регенерации и отведена за пределы регенератора, из второго хранилища жидкости, предназначенного для накопления второго наполовину обедненного раствора, и которая соединена с точкой ввода второго наполовину обедненного раствора в верхний участок секции третьей ступени регенерации, при этом указанная точка ввода расположена ниже, чем точка отвода наполовину обедненного раствора.

6. Система извлечения СО2 по п. 1, в которой регенератор абсорбента включает секцию первой ступени регенерации, которая обеспечивает регенерацию абсорбента СО2, секцию второй ступени регенерации, размещенную под секцией первой ступени регенерации, и секцию третьей ступени регенерации, размещенную под секцией второй ступени регенерации; и в которой указанная система извлечения СО2содержит:

первую линию отвода наполовину обедненного раствора, которая отводит весь первый наполовину обедненный раствор, в котором часть СО2 была извлечена из обогащенного раствора в секции первой ступени регенерации и отведена за пределы регенератора, из первого хранилища жидкости, предназначенного для накопления первого наполовину обедненного раствора, и которая соединена с точкой ввода первого наполовину обедненного раствора в верхний участок секции второй ступени регенерации, при этом указанная точка ввода расположена ниже, чем точка отвода наполовину обедненного раствора; и

вторую линию отвода наполовину обедненного раствора, которая отводит второй наполовину обедненный раствор, в котором часть СО2 была дополнительно извлечена из первого наполовину обедненного раствора в секции второй ступени регенерации и отведена за пределы регенератора, из второго хранилища жидкости, предназначенного для накопления второго наполовину обедненного раствора, и которая соединена с точкой ввода второго наполовину обедненного раствора в верхний участок секции третьей ступени регенерации, при этом указанная точка ввода расположена ниже, чем точка отвода наполовину обедненного раствора; и

второе устройство смешивания, в котором осуществляется смешивание второго наполовину обедненного раствора и первого отделенного обогащенного раствора, введенных в регенератор абсорбента, при этом точка ввода на второй линии отвода наполовину обедненного раствора в регенераторе абсорбента находится на той же высоте, что и точка ввода на первой линии отделения обогащенного раствора.

7. Система извлечения СО2 по п. 1, в которой между первым узлом разделения и регенератором абсорбента дополнительно размещен второй узел разделения, при этом указанная система извлечения СО2 дополнительно включает:

вторую линию отделения обогащенного раствора, которая дополнительно отделяет часть обогащенного раствора в виде второго отделенного обогащенного раствора во втором узле разделения и направляет второй отделенный обогащенный раствор во вторую точку ввода, находящуюся на боковой стенке ниже точки подачи обогащенного раствора, находящейся в верхней части регенератора абсорбента, но выше первой линии отделения обогащенного раствора;

второй теплообменник для обогащенного раствора, в котором предварительно нагревается второй обогащенный раствор, отделенный во втором узле разделения, размещенный на второй линии отделения обогащенного раствора; и

второй клапан регулировки расхода, который регулирует поток второго обогащенного раствора, направляемого на предварительный теплообмен во второй теплообменник обогащенного раствора, причем данный клапан размещен на второй линии разделения обогащенного раствора между вторым узлом разделения и вторым теплообменником обогащенного раствора.

8. Система извлечения СО2 по п. 6, в которой между первым узлом разделения и регенератором абсорбента дополнительно размещен второй узел разделения, и, кроме того, система извлечения СО2 включает:

вторую линию отделения обогащенного раствора, которая дополнительно отделяет часть обогащенного раствора в виде второго отделенного обогащенного раствора во втором узле разделения и направляет второй отделенный обогащенный раствор в точку на боковой стенке, расположенную ниже точки ввода обогащенного раствора в верхней части регенератора абсорбента, но выше первой линии отделения обогащенного раствора;

второй теплообменник для обогащенного раствора, в котором предварительно нагревается второй обогащенный раствор, отделенный во втором узле разделения, установленный на второй линии отделения обогащенного раствора; и

второй клапан регулировки расхода, которой регулирует поток второго обогащенного раствора, направляемого на предварительный теплообмен во второй теплообменник обогащенного раствора, причем данный клапан размещен на второй линии отделения обогащенного раствора между вторым узлом разделения и вторым теплообменником обогащенного раствора; и

первое устройство смешивания, в котором происходит смешивание первого наполовину обедненного раствора и второго отделенного обогащенного раствора, введенных в регенератор абсорбента, при этом точка ввода на первой линии отвода наполовину обедненного раствора в регенераторе абсорбента находится на той же высоте, что и точка ввода на второй линии отделения обогащенного раствора.

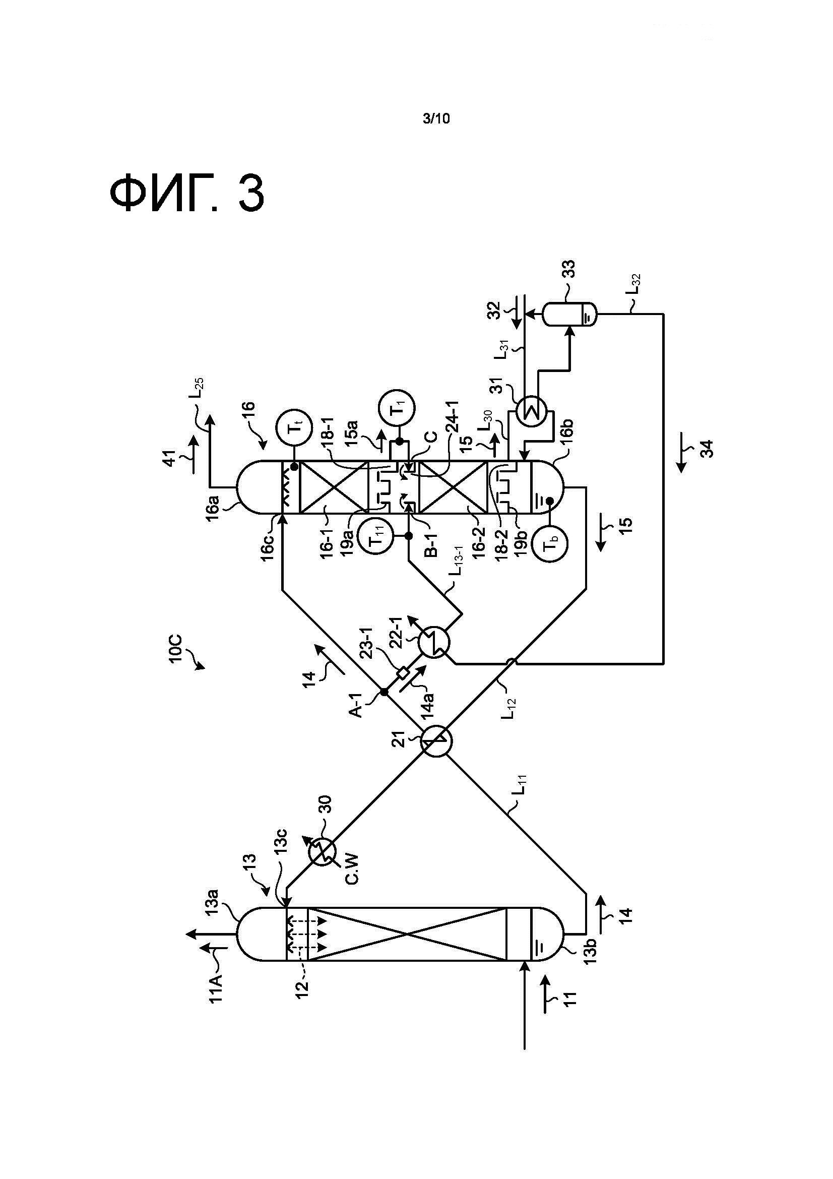
9. Система извлечения СО2 по п. 1, в которой регенератор абсорбента содержит секцию первой ступени регенерации, которая обеспечивает регенерацию абсорбента СО2, секцию второй ступени регенерации, размещенную под секцией первой ступени регенерации, и секцию третьей ступени регенерации, размещенную под секцией второй ступени регенерации; и, кроме того, указанная система извлечения СО2 включает:

первую линию отвода наполовину обедненного раствора, которая отводит весь первый наполовину обедненный раствор, в котором часть СО2 была извлечена из обогащенного раствора в секции первой ступени регенерации и отведена за пределы регенератора, из первого хранилища жидкости, предназначенного для накопления первого наполовину обедненного раствора, и которая соединена с точкой ввода первого наполовину обедненного раствора в верхний участок секции второй ступени регенерации, при этом указанная точка ввода расположена ниже, чем точка отвода наполовину обедненного раствора;

первое устройство смешивания, в котором происходит смешивание первого наполовину обедненного раствора и первого отделенного обогащенного раствора, введенных в регенератор абсорбента, при этом точка ввода на линии отвода наполовину обедненного раствора в регенераторе абсорбента находится на той же высоте, что и точка ввода на первой линии отделения обогащенного раствора;

вторую линию отвода наполовину обедненного раствора, которая отводит второй наполовину обедненный раствор, в котором часть СО2 была дополнительно извлечена из первого наполовину обедненного раствора в секции второй ступени регенерации и отведена за пределы регенератора, из второго хранилища жидкости, предназначенного для накопления второго наполовину обедненного раствора, и которая соединена с точкой ввода отведенного второго наполовину обедненного раствора в верхний участок секции третьей ступени регенерации, при этом указанная точка ввода расположена ниже, чем точка отвода наполовину обедненного раствора;

первый теплообменник обедненного/наполовину обедненного растворов, в котором осуществляется теплообмен между обедненным раствором и первым наполовину обедненным раствором, причем в системе извлечения СО2 имеется линия подачи обедненного раствора из нижней части регенератора абсорбента в верхний участок абсорбера СО2, и указанный первый теплообменник размещен в месте пересечения упомянутой линии подачи обедненного раствора и первой линии отвода из регенератора наполовину обедненного раствора, между нижней частью регенератора абсорбента на линии подачи обедненного раствора и теплообменником обедненного/обогащенного растворов; и

второй теплообменник обедненного/наполовину обедненного растворов, в котором осуществляется теплообмен между обедненным раствором и вторым наполовину обедненным раствором, размещенный в точке пересечения линии подачи обедненного раствора и второй линии отвода наполовину обедненного раствора.

10. Система извлечения СО2 по п. 1, в которой регенератор абсорбента содержит секцию первой ступени регенерации, которая обеспечивает регенерацию абсорбента СО2, секцию второй ступени регенерации, размещенную под секцией первой ступени регенерации, и секцию третьей ступени регенерации, размещенную под секцией второй ступени регенерации; и, кроме того, указанная система извлечения СО2 включает:

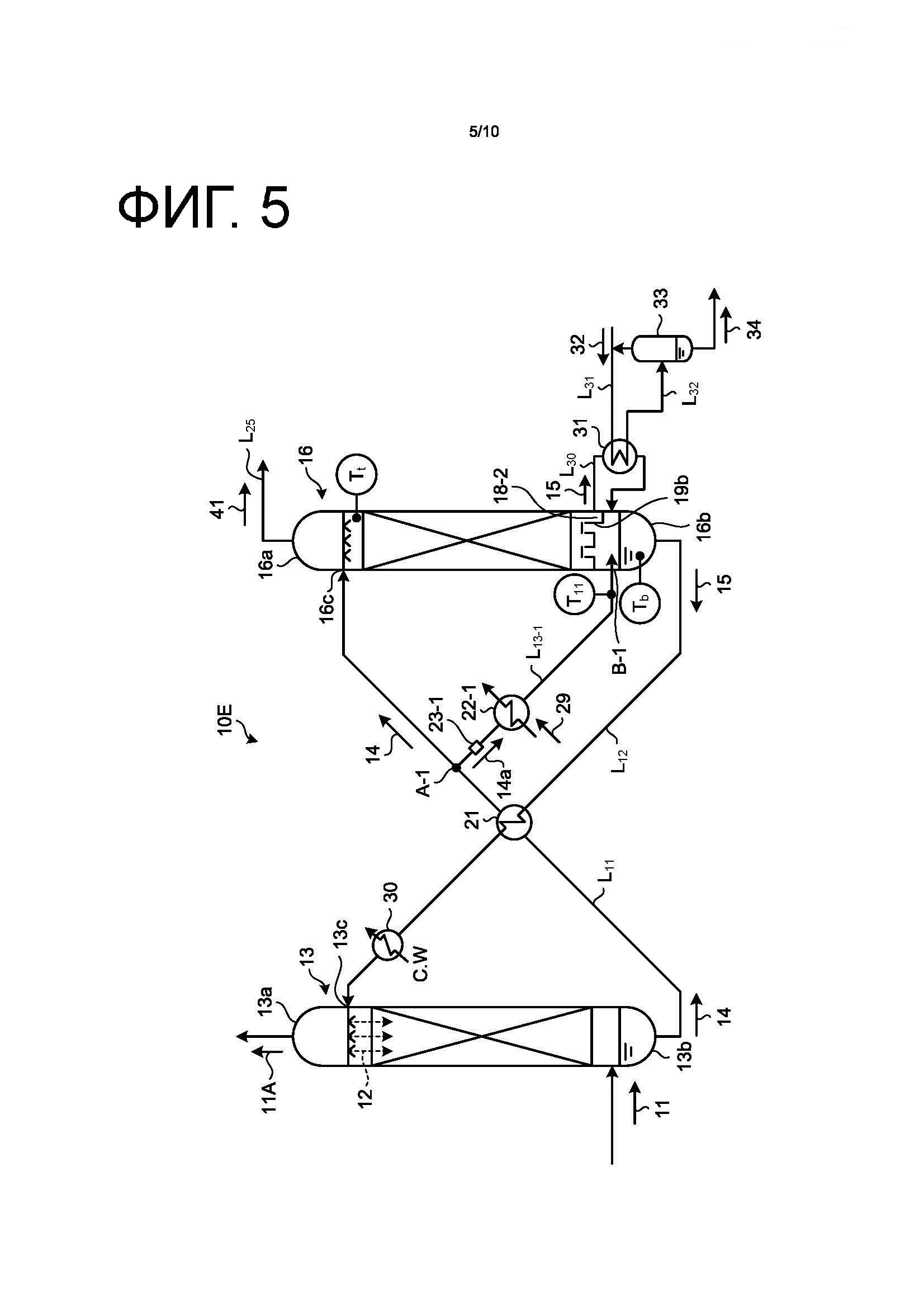
первую линию отвода наполовину обедненного раствора, которая отводит весь первый наполовину обедненный раствор, в котором часть СО2 была извлечена из обогащенного раствора в секции первой ступени регенерации и отведена за пределы регенератора, из первого хранилища жидкости, предназначенного для накопления первого наполовину обедненного раствора, и которая соединена с точкой ввода первого наполовину обедненного раствора в верхний участок секции второй ступени регенерации, при этом указанная точка ввода расположена ниже, чем точка отвода наполовину обедненного раствора; и

вторую линию отвода наполовину обедненного раствора, которая отводит второй наполовину обедненный раствор, в котором часть СО2 была дополнительно извлечена из первого наполовину обедненного раствора в секции второй ступени регенерации и отведена за пределы регенератора, из второго хранилища жидкости, предназначенного для накопления второго наполовину обедненного раствора, и которая подает второй наполовину обедненный раствор в верхний участок секции третьей ступени регенерации, при этом указанная точка ввода расположена ниже, чем точка отвода наполовину обедненного раствора;

второе устройство смешивания, в котором осуществляется смешивание второго наполовину обедненного раствора и первого отделенного обогащенного раствора, введенных в регенератор абсорбента, при этом точка ввода на второй линии отвода наполовину обедненного раствора в регенераторе абсорбента находится на той же высоте, что и точка ввода на первой линии отделения обогащенного раствора;

первый теплообменник обедненного/наполовину обедненного растворов, в котором осуществляется теплообмен между обедненным раствором и первым наполовину обедненным раствором, причем в системе извлечения СО2 имеется линия подачи обедненного раствора из нижней части регенератора абсорбента в верхний участок абсорбера СО2, и указанный первый теплообменник размещен в месте пересечения упомянутой линии подачи обедненного раствора и первой линии отвода наполовину обедненного раствора, между нижней частью регенератора абсорбента на линии подачи обедненного раствора и теплообменником обедненного/обогащенного растворов; и

второй теплообменник обедненного/наполовину обедненного растворов, в котором осуществляется теплообмен между обедненным раствором и вторым наполовину обедненным раствором, размещенный в точке пересечения линии подачи обедненного раствора и второй линии отвода наполовину обедненного раствора.

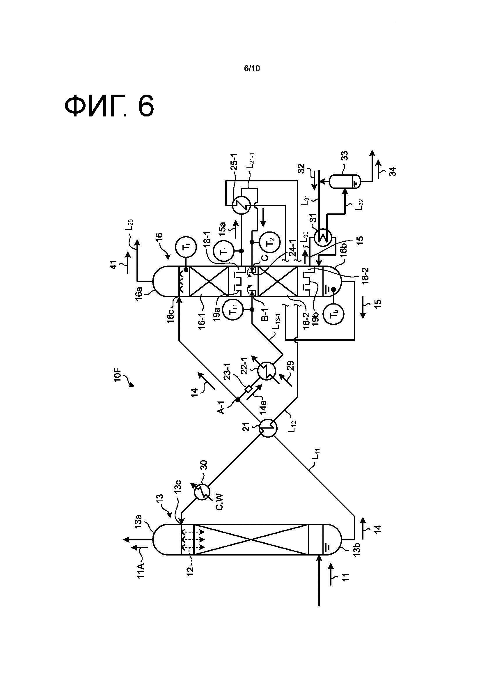
11. Способ извлечения СО2 для циркуляции и повторного использования СО2, включающий использование абсорбера СО2 для приведения отходящих газов, содержащих СО2, в контакт с абсорбентом СО2 для извлечения СО2 из отходящих газов, содержащих СО2, и регенератора абсорбента для отделения СО2 от обогащенного раствора, абсорбировавшего СО2, с целью регенерации направляемого в абсорбер СО2абсорбента СО2 в виде обедненного раствора, т.е. абсорбента СО2, из которого в регенераторе абсорбента был извлечен CO2;

при этом указанный способ включает следующие стадии:

осуществляют теплообмен между обедненным раствором, подаваемым из регенератора абсорбента, и, сперва, всем обогащенным раствором, подаваемым из абсорбера СО2;

обогащенный раствор разделяют после осуществления упомянутого теплообмена и обогащенный раствор подают в точку ввода обогащенного раствора, находящуюся на верхней стороне регенератора абсорбента, а также в расположенную ниже точку ввода обогащенного раствора на боковой стенке; и

предварительно нагревают отделенный обогащенный раствор, подаваемый в указанную точку ввода на боковой стенке,

причем между стадией разделения обогащенного раствора после осуществления теплообмена и стадией предварительного нагрева отделенного обогащенного раствора количество отделенного обогащенного раствора, направляемого на предварительный теплообмен, регулируют так, чтобы температура обогащенного раствора, вводимого в регенератор через точку подачи обогащенного раствора на верхней стороне регенератора абсорбента, и из которого в регенераторе была извлечена часть СО2, была равна или больше, чем температура отделенного обогащенного раствора, поступающего в регенератор через боковую стенку регенератора абсорбента.

12. Способ извлечения СО2 по п. 11, в котором теплоносителем, подаваемым для предварительного нагрева обогащенного раствора, направляемого к боковой стенке регенератора абсорбента, является конденсат водяного пара, отведенный из регенератора абсорбента.

Описание

[1]

Настоящее изобретение относится к энергосберегающей системе извлечения СО2 и к способу извлечения СО2.

[2]

Предпосылки изобретения

[3]

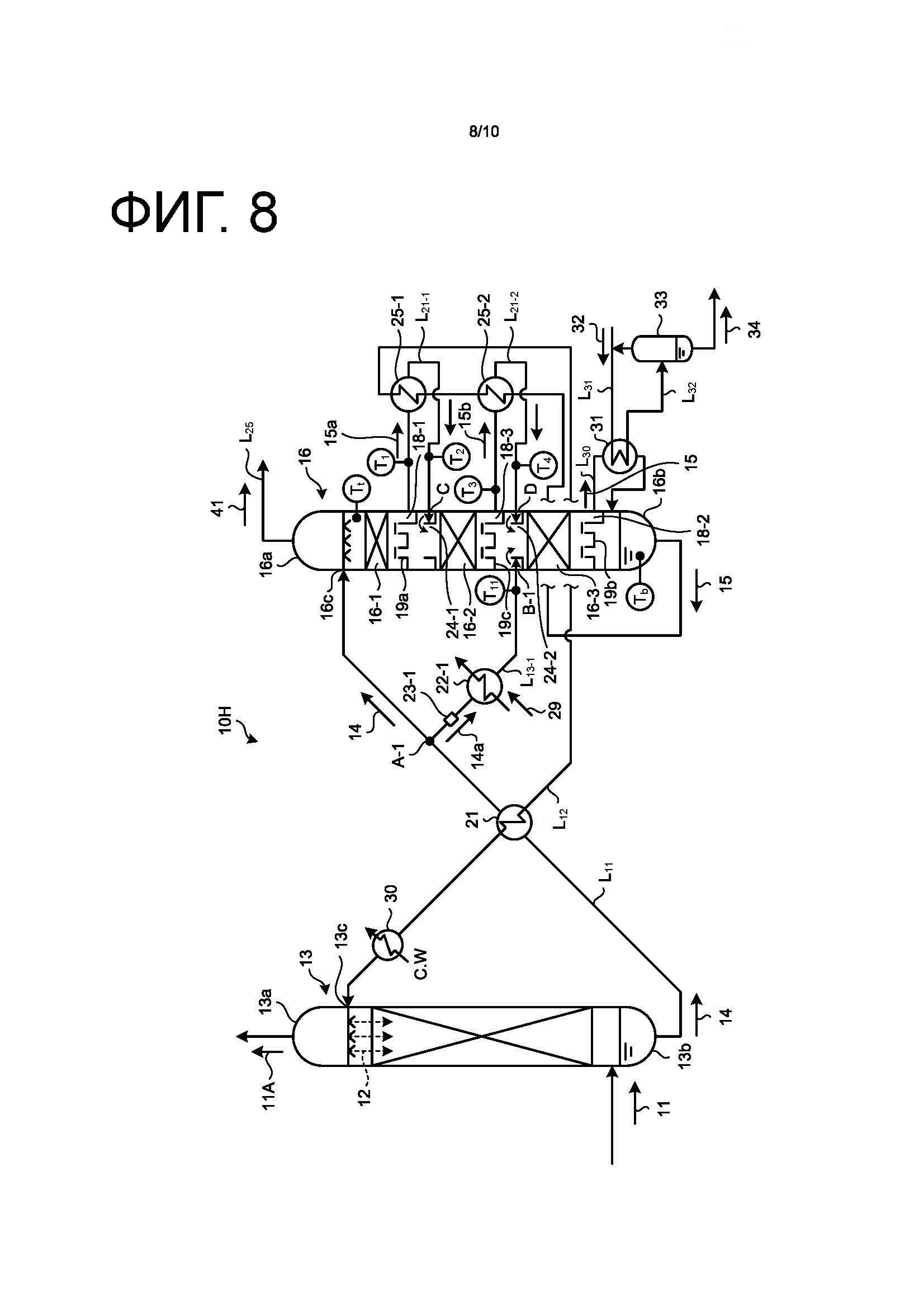
В последние годы парниковый эффект, обусловленный присутствием в атмосфере СО2, считается фактором глобального потепления, и поэтому методы борьбы с этим явлением становятся важнейшей международной задачей для защиты глобальной окружающей среды. Источники образования СО2 включают различные сферы человеческой деятельности, связанные со сжиганием ископаемого топлива различных видов, и требования по ограничению выбросов СО2 имеют тенденцию ко все большему усилению. В связи с этим, интенсивно разрабатывался способ удаления и извлечения СО2, содержащегося в отходящих газах, выходящих из паровых котлов, посредством приведения этих газов в контакт, например, с абсорбентом СО2 на основе амина, а также способ хранения извлеченного СО2 без его выпуска в атмосферу, причем в качестве объекта исследований выбирались энергетические установки, такие как тепловые электрические станции, которые используют большое количество ископаемых органических топлив.

[4]

В качестве способа извлечения и удаления СО2 из отходящих газов с использованием абсорбента СО2 применяли следующий способ. Отходящие газы приводятся в контакт с абсорбентом СО2 в абсорбере, при этом абсорбент, абсорбировавший СО2, нагревается в регенераторе для выделения СО2 и для регенерации абсорбента, а регенерированный абсорбент вновь возвращается в абсорбер для повторного использования (Патентный Документ 1).

[5]

В способе абсорбции, извлечения и удаления СО2 из газа, содержащего СО2, такого как отходящие газы, в состав оборудования для сжигания топлива необходимо дополнительно включать абсорбер и регенератор. Следовательно, необходимо, настолько, насколько это возможно, уменьшить затраты, за исключением затрат на монтаж, например эксплуатационные затраты. В частности, при регенерации абсорбента потребляется большое количество тепловой энергии (расходуемой на получение водяного пара) с целью высвобождения СО2 из абсорбента СО2. Поэтому необходимо, чтобы процесс регенерации был по возможности энергосберегающим.

[6]

В связи с изложенным, была предложена система удаления двуокиси углерода, описанная в Патентном Документе 2. Описанная система извлечения двуокиси углерода содержит разделительное устройство для разделения обогащенного раствора, отводимого из абсорбера, в первый теплообменник для охлаждения обедненного раствора и во второй теплообменник для охлаждения пара, содержащего двуокись углерода. Обогащенные растворы, введенные в первый теплообменник и во второй теплообменник, обмениваются теплотой с обедненным раствором и паром, содержащим двуокись углерода, соответственно, и затем направляются в регенератор для высвобождения СО2.

[7]

Процитированная литература

[8]

Патентные документы

[9]

Патентный Документ 1: Выложенная в общий доступ заявка на патент Японии №2003-225537.

[10]

Патентный Документ 2: Выложенная в общий доступ заявка на патент Японии №2009-214089.

[11]

Сущность изобретения

[12]

Техническая задача

[13]

Решению, предложенному в Патентном Документе 2, присущ следующий недостаток. Дело в том, что в известном решении часть обогащенного раствора, абсорбировавшего СО2, отделяют на той стороне теплообменника обедненного/обогащенного растворов, используемого в качестве первого теплообменника, которая находится ближе к предшествующей стадии. Отделенный обогащенный раствор направляется в регенератор, нагреваясь, при этом, за счет теплообмена с паром, содержащим двуокись углерода, отведенным с верха регенератора; однако отделенный обогащенный раствор подводят к участку регенератора, расположенному выше участка подвода в регенератор обогащенного раствора. По этой причине результат регенерации не может быть удовлетворительным, если отделенный обогащенный раствор нагревается недостаточно, и в таком случае не удается обеспечить стабильное энергосбережение. Кроме того, следует отметить, что абсорбента снова отправляют на рецикл, и эффективность охлаждения обедненного раствора обогащенным раствором в теплообменнике обогащенного/обедненного растворов невыгодным образом уменьшается, когда часть обогащенного раствора (а не весь обогащенный раствор) отделяют и отводят на той стороне теплообменника обедненного/обогащенного растворов, которая находится ближе к предшествующей стадии. В результате необходимо увеличить охлаждающую способность и перед вводом в абсорбер охлаждать обедненный раствор в размещенном перед абсорбером охладителе, что невыгодно.

[14]

В связи с отмеченными выше проблемами, задача настоящего изобретения заключается в том, чтобы обеспечить систему извлечения СО2 и способ извлечения СО2, которые являются более энергетически эффективными за счет стабильного энергосбережения.

[15]

Решение поставленной задачи

[16]

В первом аспекте настоящего изобретения используются абсорбер СО2, который приводит отходящие газы, содержащие СО2, в контакт с абсорбентом СО2для извлечения СО2 из отходящих газов, содержащих СО2; регенератор абсорбента, в котором двуокись углеродаотделяется от обогащенного раствора, абсорбировавшего СО2, обеспечивая регенерацию абсорбента CO2 в виде обедненного раствора; линия подачи обогащенного раствора, которая обеспечивает подачу обогащенного раствора из нижней части абсорбера СО2 в точку ввода обогащенного раствора, находящуюся на верхней стороне регенератора абсорбента; теплообменник обедненного/обогащенного растворов, который осуществляет теплообмен между обогащенным раствором и обедненным раствором; первая линия отделения обогащенного раствора, которая отделяет часть обогащенного раствора в первом узле разделения, находящемся на линии подачи обогащенного раствора, проходит между теплообменником обедненного/обогащенного растворов и регенератором абсорбента и направляет отделенный обогащенный раствор в первую точку ввода, находящуюся на боковой стенке ближе к нижней стороне регенератора абсорбента, чем его верхняя сторона; первый теплообменник обогащенного раствора, который подогревает обогащенный раствор, отделенный в первом узле разделения, установленный на первой линии отделения обогащенного раствора; и первое устройство регулировки расхода, которое регулирует поток обогащенного раствора, отделенного в первом узле, так что обогащенный раствор подогревается до предварительно заданной температуры в первом теплообменнике обогащенного раствора, и которое размещено на первой линии отделения обогащенного раствора между первым узлом отделения и первым теплообменником обогащенного раствора.

[17]

Во втором аспекте настоящего изобретения раскрыт способ извлечения СО2 для циркуляции и повторного использования СО2, включающий применение абсорбера СО2 для приведения отходящих газов, содержащих СО2, в контакт с абсорбентом СО2 для извлечения СО2 из отходящих газов, содержащих СО2, а также регенератора абсорбента для отделения СО2 от обогащенного раствора, представляющего собой абсорбент СО2, абсорбировавший СО2, для регенерации этого абсорбента СО2 с получением обедненного раствора, т.е. абсорбента СО2, из которого в регенераторе абсорбента был извлечен СО2, направляемого в абсорбер СО2; при этом указанный способ включает осуществление теплообмена между обогащенным раствором, подаваемым из абсорбера СО2, и обедненным раствором, поступающим из регенератора абсорбента, разделение обогащенного раствора после осуществления упомянутого теплообмена и подачу обогащенного раствора в точку ввода обогащенного раствора, находящуюся на верхней стороне регенератора абсорбента, а также в расположенную ниже точку ввода обогащенного раствора на боковой стенке; и предварительный нагрев обогащенного раствора, подаваемого в указанную точку ввода на боковой стенке, при этом в процессе разделения обогащенного раствора после осуществления теплообмена количество обогащенного раствора, отделяемого для теплообмена, регулируют так, чтобы температура обогащенного раствора, который вводится в регенератор через точку подачи обогащенного раствора, находящуюся на верхней стороне регенератора абсорбента, и из которого была извлечена часть СО2, была равна или больше, чем температура отделенного обогащенного раствора, поступающего через боковую стенку регенератора абсорбента.

[18]

Положительные эффекты изобретения

[19]

В соответствии с настоящим изобретением, когда отделенный обогащенный раствор подогревают и затем направляют в первую точку подачи в регенератор абсорбента, количество отделяемого обогащенного раствора регулируют с помощью устройства для регулировки расхода, и отделенный обогащенный раствор подогревают и вводят так, чтобы температура этого отделенного обогащенного раствора была приблизительно такой же или ниже, чем температура упомянутого обогащенного раствора, из которого часть СО2 была извлечена в регенераторе абсорбента. В результате не происходит изменений температуры объединенных растворов в регенераторе абсорбента, СО2 высвобождается эффективно, и может быть достигнут эффект энергосбережения. Становится также возможным уменьшить количество пара, необходимого для ребойлера, и количество охлаждающей воды, требуемое в охладителе обедненного раствора для охлаждения обедненного раствора, подлежащего введению в абсорбер СО2.

[20]

Краткое описание чертежей

[21]

Фиг. 1 – схема, иллюстрирующая конфигурацию системы извлечения СО2 в соответствии с Примером 1.

[22]

Фиг. 2 – схема, иллюстрирующая конфигурацию другой системы извлечения СО2 в соответствии с Примером 1.

[23]

Фиг. 3 – схема, иллюстрирующая конфигурацию ещё одной системы извлечения СО2 в соответствии с Примером 1.

[24]

Фиг. 4 – схема, иллюстрирующая конфигурацию системы извлечения СО2 в соответствии с Примером 2.

[25]

Фиг. 5 – схема, иллюстрирующая конфигурацию системы извлечения СО2 в соответствии с Примером 3.

[26]

Фиг. 6 – схема, иллюстрирующая конфигурацию системы извлечения СО2 в соответствии с Примером 4.

[27]

Фиг. 7 – схема, иллюстрирующая конфигурацию системы извлечения СО2 в соответствии с Примером 5.

[28]

Фиг. 8 – схема, иллюстрирующая конфигурацию системы извлечения СО2 в соответствии с Примером 6.

[29]

Фиг. 9 – схема, иллюстрирующая конфигурацию системы извлечения СО2 в соответствии с Примером 7.

[30]

Фиг. 10 – схема, иллюстрирующая конфигурацию системы извлечения СО2 в соответствии с Примером 8.

[31]

Описание вариантов осуществления изобретения

[32]

Далее настоящее изобретение будет описано более подробно со ссылками на чертежи. Следует отметить, что настоящее изобретение не ограничено приведенными ниже Примерами его осуществления. Каждый компонент системы в приведенных ниже Примерах представляет собой элемент, который может легко представить себе специалист в данной области техники, по существу идентичный или находящийся в пределах так называемого ряда эквивалентов. Кроме того, компоненты, описанные в приведенных ниже примерах, могут быть подходящим образом скомбинированы друг с другом.

[33]

Пример 1

[34]

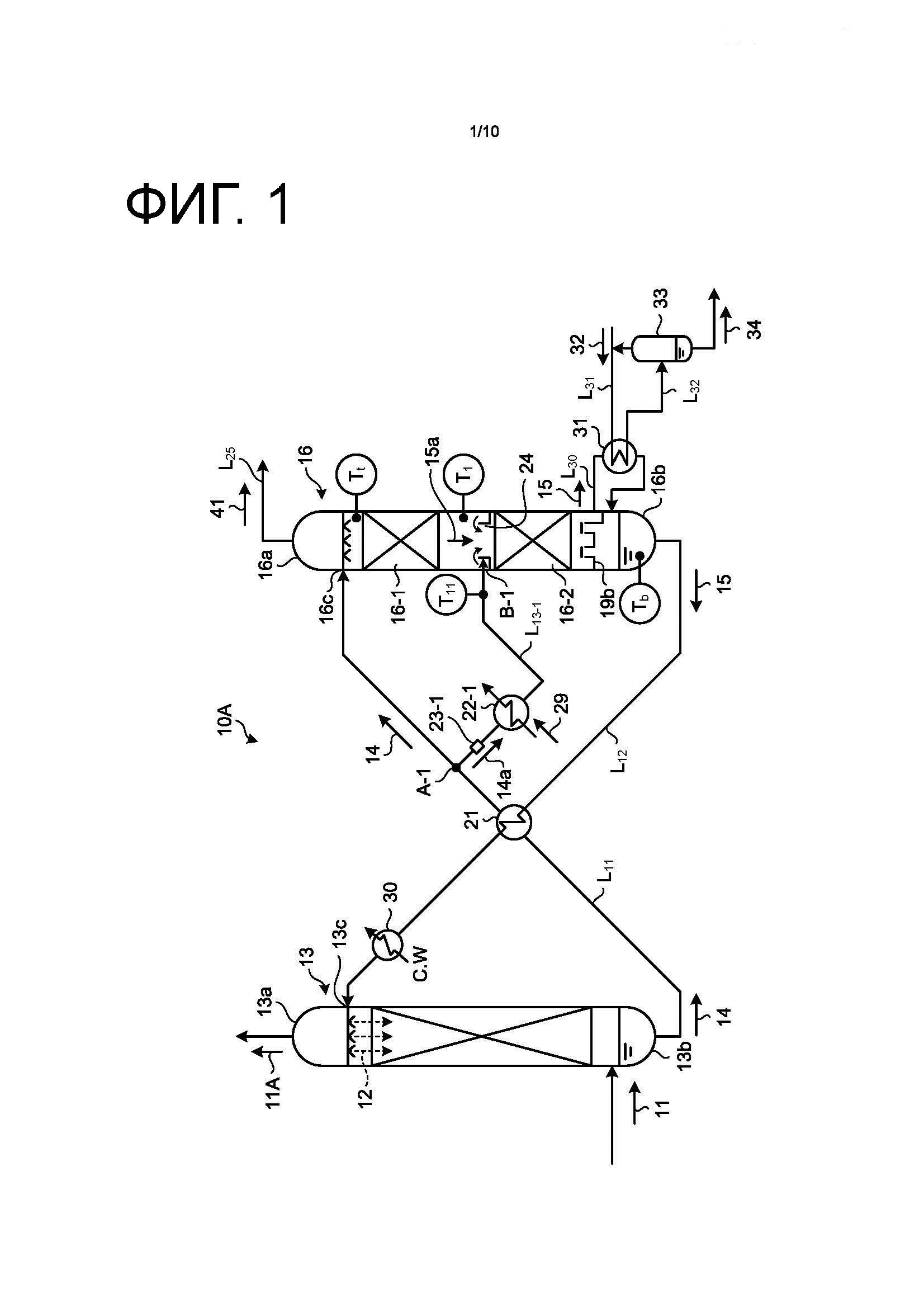
На фиг. 1 представлена схема, иллюстрирующая конфигурацию системы извлечения СО2 в соответствии с Примером 1. Как показано на фиг. 1, Система 10А извлечения СО2 в соответствии с рассматриваемым Примером включает абсорбер 13 СО2 (далее – «абсорбер»), предназначенный для приведения в контакт отходящих газов 11, содержащих СО2, с абсорбентом 12 СО2 и извлечения СО2 из отходящих газов 11, содержащих СО2 (далее - «отходящие газы»); регенератор 16 абсорбента (далее - «регенератор») для отделения СО2 от обогащенного раствора 14, абсорбировавшего СО2, и регенерации абсорбента СО2 с получением обедненного раствора 15; линию L11 подачи обогащенного раствора, предназначенную для подачи обогащенного раствора 14 из нижней части 13b абсорбера 13 в точку 16с подачи обогащенного раствора, находящуюся в районе верхней стороны 16а регенератора 16; теплообменник 21 для обедненного/обогащенного растворов, предназначенный для теплообмена между обогащенным раствором 14 и обедненным раствором 15; линию L13-1 отделения части обогащенного раствора 14 в первом узле А-1 разделения, находящемся на линии L11 подачи обогащенного раствора, проходящую между теплообменником 21 для обедненного/обогащенного растворов и регенератором 16 и обеспечивающую подачу отделенного обогащенного раствора 14а на участок 24 ввода раствора, расположенный в первой точке В-1 подачи, находящейся на боковой стенке ближе к нижней части 16b, чем точка 16с подачи обогащенного раствора в регенератор 16; первый теплообменник 22-1 для предварительного нагрева обогащенного раствора 14а, отделенного в первом узле А-1 разделения, установленный на линии L13-1, и первое устройство 23-1 регулировки расхода, предназначенное для регулировки потока обогащенного раствора 14а, отделенного в первом узле А-1 разделения таким образом, что обогащенный раствор 14а нагревается до предварительно заданной температуры в первом теплообменнике 22-1 обогащенного раствора, где указанное устройство 23-1 размещено между первым узлом разделения А-1 и первым теплообменником 22-1 для обогащенного раствора на первой линии L13-1 отделения части обогащенного раствора.

[35]

При предварительном нагреве отделенного обогащенного раствора 14а с помощью первого теплообменника 22-1 обогащенного раствора и одновременной регулировке количества обогащенного раствора 14а путем регулировки устройства 23-1 для регулировки расхода, так что входная температура t11предварительно нагретого обогащенного раствора 14а равна температуре t1 наполовину обедненного раствора 15а, полученного путем извлечения СО2 из обогащенного раствора 14, входящего в регенератор 16 в первой точке В-1 ввода, в которой отделенный обогащенный раствор 14а поступает в регенератор 16, входную температуру t11 предварительно нагретого обогащенного раствора 14а устанавливают приблизительно равной температуре t1 наполовину обедненного раствора 15а в регенераторе 16.

[36]

На фиг. 1 условным обозначением L12 показана линия подачи обедненного раствора 15, отведенного из нижней части 16b регенератора 16, в точку 13с подачи обедненного раствора абсорбера 13, знаком 30 обозначен охладитель обедненного раствора, предназначенный для охлаждения вводимого в абсорбер 13 обедненного раствора 15, поступающего по линии L12 подачи обедненного раствора, охлаждающей водой (CW); знаком 31 обозначен ребойлер, которым снабжен регенератор 16, обеспечивающий подачу в регенератор 16 водяного пара путем непрямого нагрева обедненного раствора 15 насыщенным водяным паром 32, знаком 33 обозначен газо-жидкостный сепаратор для отделения конденсата 34 водяного пара от нагретого насыщенного водяного пара 32, обозначением L30 показана линия подачи обедненного раствора, по которой циркулирует часть обедненного раствора 15, с размещенным на этой линии ребойлером 31, обозначением L31показана линия ввода насыщенного водяного пара 32 в ребойлер 31, а обозначением L32показана линия подачи конденсата 34 водяного пара.

[37]

В способе извлечения СО2, в котором используется описанная система 10А извлечения СО2, сначала отходящие газы 11, содержащие СО2, отводимые, например, из парового котла или газотурбинной установки, охлаждаются с помощью газового охладителя (не показан) и направляются в абсорбер 13.

[38]

В абсорбере 13 отходящие газы 11 контактируют в противотоке с абсорбентом 12 СО2, содержащим в качестве основы, например, раствор амина. Содержащийся в отходящих газах 11 СО2 абсорбируется абсорбентом 12 за счет химической реакции. Отходящие газы, из которых СО2 извлечен в результате абсорбции и удаления СО2 в абсорбере 13, приводят в контакт типа газ-жидкость с промывочной водой на участке промывки водой (не показано) в абсорбере 13, при этом абсорбент 12 СО2сопровождающий отходящие газы, не содержащие СО2, извлекают, после чего отходящие газы 11А, не содержащие СО2 в результате описанного выше удаления СО2, отводят из верха 13а наружу, за пределы системы. Давление обогащенного раствора 14, полученного из абсорбента 12 СО2, который абсорбировал СО2, повышают с использованием насоса для обогащенного раствора (не показан). Обогащенный раствор 14 нагревается обедненным раствором 15, используемым в качестве абсорбента 12 СО2 и регенерированным в регенераторе 16, при одновременном охлаждении обедненного раствора 15 посредством теплообмена в теплообменнике 21 обедненного/обогащенного растворов, после чего обогащенный раствор 14 направляют в регенератор 16.

[39]

Обогащенный раствор 14, введенный через точку 16с подачи обогащенного раствора во внутренний объем регенератора 16, обуславливает инициирование эндотермической реакции, благодаря водяному пару, подаваемому с нижней стороны 16b, и высвобождает и выделяет большую часть СО2. Абсорбент СО2, высвободивший часть или большую часть СО2 в регенераторе 16, именуют наполовину обедненным раствором 15а. Такой наполовину обедненный раствор 15а становится обедненным раствором 15 абсорбента СО2 при удалении из него почти всего количества СО2 к тому времени, когда он достигает нижней части 16b регенератора 16. Часть этого обедненного раствора 15 нагревается насыщенным водяным паром 32 в ребойлере 31, что обеспечивает подачу в регенератор 16 водяного пара.

[40]

С другой стороны, сопровождаемый водяным паром газообразный СО2 41, который выделяется из обогащенного раствора 14 и наполовину обедненного раствора 15а в регенераторе, отводится из верхней части 16а регенератора 16 через линию L25 отвода газа. После этого водяной пар конденсируют в конденсаторе, а воду отделяют с помощью сепаратора. Газообразный СО2 41, который был отделен в сепараторе, отводят за пределы системы посредством линии L25 отвода газа, отдельно сжимают в компрессоре и извлекают. Этот извлеченный из системы газообразный СО2 41 подвергают сжатию в нефтяном месторождении, например с использованием методов повышения нефтеотдачи пласта (EOR), или хранят в водоносном горизонте (аквифере) в порядке предпринимаемых мер по повышению его температуры.

[41]

Регенерированный обедненный раствор 15 в качестве абсорбента СО2 охлаждается за счет теплообмена с обогащенным раствором 14 в теплообменнике 21 обогащенного/обедненного растворов. После этого давление обедненного раствора 15 повышают с использованием насоса для обедненного раствора (не показан). Кроме того, обедненный раствор 15 охлаждают в охладителе 30 обедненного раствора и затем направляют в абсорбер 13 на рецикл для повторного использования в качестве абсорбента 12 СО2.

[42]

В рассматриваемом Примере часть обогащенного раствора 14, абсорбировавшего СО2 в абсорбере 13, отделяется в первом узле А-1 разделения, находящемся ниже по ходу движения потока от теплообменника 21 обогащенного/обедненного растворов. За счет размещения первого теплообменника 22-1 обогащенного раствора для подогрева отделенной части 14а обогащенного раствора посредством теплообмена с теплоносителем 29 (например, водяным паром), имеющим более высокую температуру, чем отделенный обогащенный раствор 14а, упомянутый отделенный обогащенный раствор 14а подогревается и затем поступает в находящуюся поблизости промежуточную область регенератора 16.

[43]

Примеры теплоносителя 29 первого теплообменника 22-1 обогащенного раствора включают водяной пар, конденсат 34 пара из ребойлера 31 и теплоноситель, который путем непрямого теплообмена обменивается теплотой с отходящими газами парового котла.

[44]

Здесь основной участок первой линии L13-1 отделения обогащенного раствора соединен с первым узлом А-1 разделения, а его конец соединен с боковой стенкой регенератора 16.

[45]

В регенераторе 16, когда в него поступает обогащенный раствор 14, направленный от участка 16с подачи обогащенного раствора посредством линии L11 подачи обогащенного раствора, из обогащенного раствора 14 выделяется и удаляется СО2 с помощью водяного пара, который поднимается вверх из нижней части 16b регенератора 16. Как следствие, при поступлении обогащенного раствора 14 в регенератор 16 обогащенный раствор 14 превращается в наполовину обедненный раствор 15, имеющий меньшее содержание СО2, и затем становится обедненным раствором 15, из которого высвобожден почти весь СО2. Кроме того, существует распределение температуры, при котором температура нагрева абсорбента постепенно повышается в направлении от верхней части 16а к нижней части 16b.

[46]

В рассматриваемом Примере в первой точке В-1 подачи обогащенного раствора, находящейся в конце первой линии L13-1 отделения обогащенного раствора, температура t1наполовину обедненного раствора 15а, из которого удалена часть СО2 и температура которого стала выше температуры ввода обогащенного раствора в точке 16с на верхней боковой поверхности 16а, приблизительно равна температуре t11 предварительно нагретого отделенного обогащенного раствора 14а в первом теплообменнике 22-1 обогащенного раствора, размещенном на первой линии L13-1 отделения обогащенного раствора, или в этой точке температура t1 наполовину обедненного раствора 15а выше.

[47]

Таким образом, первую точку В-1 подачи точно определяют во время проектирования установки. При этом распределение температур в регенераторе 16 определяют так, чтобы в этой точке температура t1 наполовину обедненного раствора 15а была приблизительно равна температуре t11, до которой был нагревается отделенный обогащенный раствор 14а, или чтобы в этой точке температура t1 наполовину обедненного раствора 15а была выше. Поэтому на первой линии L13-1 отделения обогащенного раствора устанавливают термометр T11 для измерения температура t11отделенного предварительно нагретого обогащенного раствора 14а. Кроме того, термометром Т1измеряют температуру t1 наполовину обедненного раствора 15а в регенераторе 16, в который вводят отделенный обогащенный раствор 14а через первую точку В-1 подачи обогащенного раствора. В этом случае термометром Тt измеряется температура жидкости обогащенного раствора 14, введенного в регенератор 16 в точке 16с ввода обогащенного раствора. Термометр Тb измеряет температуру жидкости в нижней части 16b регенератора.

[48]

В результате, отделенный обогащенный раствор 14а нагревается и вводится в регенераторе в определенный участок, в котором температура отделенного обогащенного раствора 14а приблизительно равна температуре t1 наполовину обедненного раствора 15а или равна температуре t11, которая ниже температуры t1в регенераторе 16. Таким образом, изменений температуры в регенераторе 16 не происходит, СО2 высвобождается эффективно, и может быть достигнут эффект энергосбережения. Вследствие этого становится возможным уменьшить количество пара, необходимого для ребойлера 31, и количество охлаждающей воды, требуемой в охладителе 30 обедненного раствора для охлаждения обедненного раствора 15, вводимого в абсорбер 13.

[49]

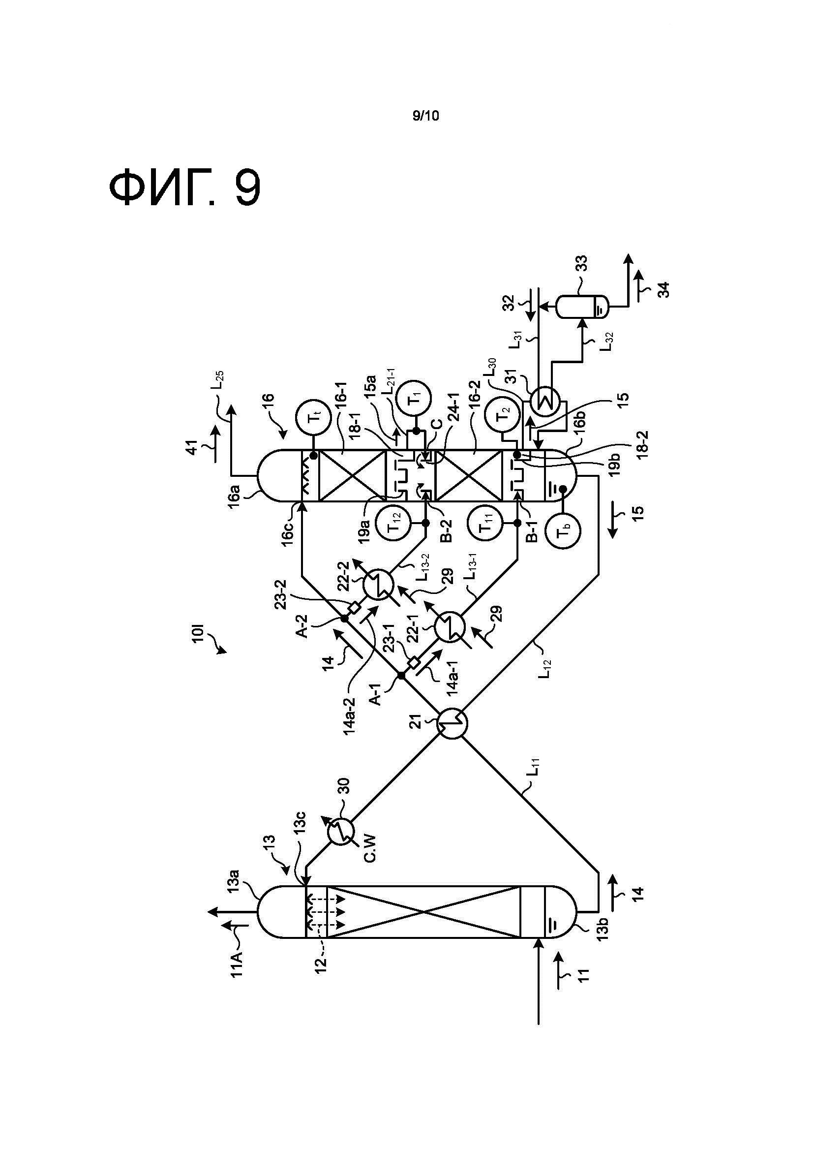
На фиг. 2 представлена схема, иллюстрирующая конфигурацию другой системы извлечения СО2в соответствии с Примером 1. Как показано на фиг. 2, в другой системе 10В извлечения СО2 в соответствии с рассматриваемым Примером регенератор 16 содержит секцию 16-1 первой ступени регенерации для регенерации обогащенного раствора 14 после его использования в качестве абсорбента 12 СО2, и секцию 16-2 второй ступени регенерации, расположенную под секцией 16-1 регенерации первой ступени. Регенератор 16 содержит также первую линию L21-1 отвода наполовину обедненного раствора 15а, предназначенную для отвода и удаления за пределы регенератора всего наполовину обедненного раствора 15а, в котором часть СО2была извлечена из обогащенного раствора 14, из первого хранилища 18-1 жидкости первой тарелки 19а, выполненной с патрубком для прохода газа, в секции 16-1 первой ступени регенерации, расположенной на верхней стороне регенератора 16. Указанная линия L21-2 соединена с точкой С подачи отведенного наполовину обедненного раствора 15а в верхний участок секции 16-2 второй ступени регенерации, находящийся под точкой отвода наполовину обедненного раствора. Регенератор 16 содержит также первое устройство 24-1 смешивания, предназначенное для смешивания наполовину обедненного раствора 15а и отделенного обогащенного раствора 14а, при этом в регенераторе 16 точка С подачи на первой линии L21-1 отвода наполовину обедненного раствора расположена на такой же высоте, что и первая точка В-1 подачи, находящаяся на первой линии L13-1отделения обогащенного раствора. Здесь на первое устройство 24-1 смешивания не накладывается никаких особых ограничений, при условии, что оно имеет конфигурацию, обеспечивающую подачу наполовину обедненного раствора 15а равномерно во встречном направлении или с четырех направлений от боковых стенок. Например, в отношении сказанного выше о том, что точка С подачи на первой линии L21-1 отвода наполовину обедненного раствора расположена на такой же высоте, что и первая точка В-1 подачи первой линии L13-1отделения обогащенного раствора, следует отметить, что эта точка необязательно должна находиться точно на такой же высоте, однако необходимо, чтобы эта высота позволяла смешивать наполовину обедненный раствор 15а и обогащенный раствор 14а в первом устройстве 24-1 смешивания.

[50]

Осуществляется контроль за первым устройством 23-1 регулировки расхода отделенной части обогащенного раствора 14а (например, клапана регулировки расхода), установленного между первым узлом А-1 разделения и первым теплообменником 22-1 обогащенного раствора. Контролируя первое устройство 23-1 регулировки расхода, температуру t11 отделенного и предварительно нагретого обогащенного раствора 14а, измеряемую термометром Т11, устанавливают приблизительно на том же или более низком уровне, что и температура t1 наполовину обедненного раствора 15а, измеряемая термометром Т1, показывающим температуру полностью отведенного наполовину обедненного раствора 15а, установленным на линии L21-1 отвода наполовину обедненного раствора (t1 ≥ t11).

[51]

При такой регулировке температур, если фактически измеренная температура t11 становится меньше, чем первоначально установленная температура t11, например в случае использования регулирующего клапана в качестве устройства 23-1 для регулировки расхода, регулировку осуществляют так, чтобы температура t11, фактически измеренная термометром Т11, приближалась к температуре t1 наполовину обедненного раствора 15а, измеряемой термометром Т1, путем закручивания этого регулирующего клапана, регулировки отношения разделенных потоков (соотношение разделения), например путем изменения этого соотношения от 90:10 в качестве начально установленного соотношения до 93:7, и повышения температуры t11 до начальной установленной температуры.

[52]

В качестве примера способа регулировки температуры отделенного обогащенного раствора 14а, помимо регулировки первого устройства 23-1 для регулировки расхода, например, если можно менять температуру теплоносителя 29, регулировку осуществляют так, чтобы температура отделенного обогащенного раствора 14а приближалась к предварительно заданной установочной температуре за счет увеличения предварительного нагрева отделенного обогащенного раствора 14а за счет повышения температуры теплоносителя 29 или повышения интенсивности теплообмена.

[53]

В результате за счет предварительного нагрева и ввода отделенного обогащенного раствора 14а, при котором отделенный обогащенный раствор 14а имеет температуру t11, приблизительно равную определенной предварительно заданной температуре t1 наполовину обедненного раствора 15а в регенераторе 16, эти температуры во время смешения приблизительно одинаковы. Таким образом, изменений температуры в регенераторе 16 не происходит, СО2 высвобождается эффективно, и может быть достигнут эффект энергосбережения. В результате, можно уменьшить количество пара, необходимого для ребойлера 31, и количество охлаждающей воды, требуемой в охладителе 30 обедненного раствора для охлаждения обедненного раствора 15, подлежащего вводу в абсорбер 13.

[54]

Такая регулировка осуществляется путем предварительно запрограммированного проведения процесса с использованием устройства управления или путем последовательного определения температуры оператором, использующим измерительный прибор. Здесь температура абсорбента СО2 в регенераторе 16 означает температуру, определенную, например, по величине давления в регенераторе 16, степени обогащения амином абсорбента, температуре кипения в зависимости от вида амина и обогащения абсорбента двуокисью углерода.

[55]

Как отмечено выше, в рассматриваемом Примере система включает первую линию L13-1 отделения обогащенного раствора, предназначенную для отделения части обогащенного раствора 14 после абсорбции СО2 в абсорбере 13 и последующего ввода в регенератор 16, где отделение происходит в первом узле А-1 разделения, расположенном ниже по потоку от теплообменника 21 для обогащенного/обедненного растворов; первый теплообменник 22-1 обогащенного раствора для предварительного нагрева отделенного обогащенного раствора 14а, транспортируемого через первую линию L13-1 отделения обогащенного раствора, и первое устройство 23-1 для регулировки расхода отделенного обогащенного раствора 14а, расположенное между первым узлом разделения А-1 и первым теплообменником 22-1 для обогащенного раствора. Энергосбережение ребойлера 31 и охладителя 30 обедненного раствора может быть достигнуто путем подачи отделенного обогащенного раствора 14а в регенератор в точке, в которой температура t1 наполовину обедненного раствора 15а в установленном распределении температуры в регенераторе 16, является приблизительно такой же, что и температура t11 отделенного обогащенного раствора 14а, подлежащего подаче в промежуточную (среднюю) ступень в какой-либо точке ввода (например, вблизи промежуточной ступени), причем ближе к нижней части 16b, чем верхняя часть 16а регенератора 16.

[56]

В системе 10В извлечения СО2 в соответствии с рассматриваемым примером, иллюстрируемым на фиг. 2, внутренний объем регенератора 16 разделен на две части, образованные секцией 16-1 первой ступени регенерации и секцией 16-2 второй ступени регенерации. Однако, даже когда внутренний объем не разделен, за счет предварительного нагрева отделенного обогащенного раствора 14а с использованием первого теплообменника 22-1 обогащенного раствора, с одновременной регулировкой количества отделенного обогащенного раствора 14а с помощью устройства 23-1 для регулировки расхода таким образом, что температура t11 предварительно нагретого отделенного обогащенного раствора 14а равна температуре t1 наполовину обедненного раствора 15а, полученного путем выделения СО2 из обогащенного раствора 14, втекающего в регенератор 16 в первой точке В-1 подачи и ввода отделенного обогащенного раствора 14а, температура t11 предварительно нагретого отделенного обогащенного раствора 14а, измеренная термометром Т11, может быть приблизительно равна или ниже температуры t1 наполовину обедненного раствора 15а, измеренной термометром Т1 при измерении температуры наполовину обедненного раствора 15а, не отводимого из регенератора (t1 ≥ t11).

[57]

На фиг. 3 представлена схема, иллюстрирующая конфигурацию другой системы извлечения СО2 в соответствии с Примером 1. Как показано на фиг. 3, другая система 10С извлечения СО2 в соответствии с данным Примером использует конденсат 34 водяного пара 34 в качестве теплоносителя 29 в первом теплообменнике 22-1 обогащенного раствора. В этом Примере линия L32 подачи конденсата пара 34, отделенного с помощью газожидкостного сепаратора 33, соединена с первым теплообменником 22-1 обогащенного раствора, и конденсат 34 пара используется для предварительного нагрева отделенного обогащенного раствора 14а. В результате, конденсат 34 пара используется в качестве теплоносителя 29 в первом теплообменнике 22-1 обогащенного раствора. Как следствие, подача теплоносителя от внешнего источника может быть исключена, и эффективность регенерации регенератора 16 может быть повышена.

[58]

Пример 2

[59]

На фиг. 4 представлена схема, иллюстрирующая конфигурацию системы извлечения СО2 в соответствии с Примером 2. Как показано на фиг. 4, в системе 10D извлечения СО2в соответствии с рассматриваемым Примером конец первой линии L13-1отделения обогащенного раствора соединен со вторым хранилищем 18-2 жидкости во второй тарелке 19b с патрубком для прохода газа, служащим для отвода обедненного раствора 15 в ребойлер 31, размещенный в нижней части 16b регенератора 16, и отделенный обогащенный раствор 14а направляется в первую точку В-1 подачи.

[60]

Регулировка потока отделенного обогащенного раствора 14а осуществляется с использованием первого устройства 23-1 для регулировки расхода (например, регулирующего клапана расхода), установленного между первым узлом А-1 разделения и первым теплообменником 22-1 обогащенного раствора. За счет регулировки потока с использованием регулирующего устройства 23-1 температуру t11 предварительно нагретого отделенного обогащенного раствора 14а, измеряемую термометром Т11, устанавливают приблизительно равной или меньшей, чем температура t1 обедненного раствора 15, измеряемая термометром Т1 для измерения температуры обедненного раствора 15 во втором хранилище 18-2 жидкости (t1 ≥ t11).

[61]

В настоящем Примере в качестве теплоносителя 29, подаваемого в первый теплообменник 22-1 обогащенного раствора для осуществления теплообмена, как и в Примере 1, может быть использован конденсат 34 водяного пара, отделенный в газожидкостном сепараторе 33, с использованием линии L32 подачи конденсата водяного пара.

[62]

В результате, за счет нагрева и ввода отделенного обогащенного раствора 14а, в результате чего отделенный обогащенный раствор 14а имеет температуру t11 приблизительно такую же, что и определенная предварительно заданная температура t1 в регенераторе 16, изменений температуры в регенераторе 16 не происходит, СО2 высвобождается эффективно, и может быть достигнут эффект энергосбережения. Благодаря этому, становится возможным уменьшить количество пара, необходимого для ребойлера 31, и количество охлаждающей воды, требуемое в охладителе 30 обедненного раствора для охлаждения обедненного раствора 15, вводимого в абсорбер 13. Кроме того, уменьшается длительность нахождения абсорбента в регенераторе 16, и, следовательно, может быть уменьшено снижение активности абсорбента.

[63]

Пример 3

[64]

На фиг. 5 представлена схема, иллюстрирующая конфигурацию системы извлечения СО2 в соответствии с Примером 3. Как показано на фиг. 5, в системе 10Е извлечения СО2в соответствии с рассматриваемым Примером конец первой линии L13-1отделения обогащенного раствора соединен с внутренним объемом хранилища для жидкости в нижней части 16b регенератора, в которую вводится обедненный раствор 15, нагретый в ребойлере 31 в нижней части 16b регенератора 16, а отделенный обогащенный раствор 14а направляется в первую точку В-1 подачи.

[65]

Первое устройство 23-1 для регулировки расхода (например, регулирующий клапан расхода), предназначенное для регулировки потока отделенного обогащенного раствора 14а и установленное между первым узлом А-1 разделения и первым теплообменником 22-1 обогащенного раствора, контролируют. За счет регулировки с помощью первого устройства 23-1 для регулировки расхода температура t11 предварительно нагретого отделенного обогащенного раствора 14а, измеряемая термометром Т11, устанавливается на уровне, приблизительно равном или меньшем, чем температура tb обедненного раствора 15, измеряемая термометром Тb, измеряющим температуру обедненного раствора 15 в хранилище жидкости, образованном в нижней части 16b (tb ≥ t11).

[66]

В результате, при предварительном нагреве и введении отделенного обогащенного раствора 14а так, что указанный отделенный обогащенный раствор 14а имеет температуру t11 приблизительно равную предварительно заданной температуре tb в нижней части 16b регенератора 16, изменений температуры в регенераторе не происходит, СО2 высвобождается эффективно, и может быть достигнут большой эффект энергосбережения. В результате становится также возможным уменьшить количество пара, необходимого для ребойлера 31, и количество охлаждающей воды, требуемой в охладителе 30 обедненного раствора, используемом для охлаждения обедненного раствора 15, вводимого в абсорбер 13. Кроме того, уменьшается время нахождения абсорбента в регенераторе 16, и, следовательно, может быть уменьшено снижение эффективности абсорбента за счет нагрева.

[67]

В рассматриваемом Примере в качестве теплоносителя 29, направляемого в первый теплообменник 22-1 обогащенного раствора для осуществления теплообмена, как в Примере 1, может быть использован конденсат 34 пара, отделенный в газожидкостном сепараторе 33, с использованием линии L32подачи конденсата пара.

[68]

Пример 4

[69]

На фиг. 6 представлена схема, иллюстрирующая конфигурацию системы извлечения СО2 в соответствии с Примером 4. Как показано на фиг. 6, система 10F извлечения СО2в соответствии с рассматриваемым Примером содержит первый теплообменник 25-1 обедненного/наполовину обедненного растворов для теплообмена между обедненным раствором 15 и наполовину обедненным раствором 15а, размещенный в месте пересечения линии L12 подачи обедненного раствора и линии L21-1 отвода наполовину обедненного раствора 15а, на линии L12 подачи обедненного раствора между нижней частью 16b регенератора 16 и теплообменником 21 обедненного/обогащенного растворов, используемым в системе 10А извлечения СО2, показанной на фиг. 1.

[70]

Благодаря использованию теплообменника 25-1 обедненного/наполовину обедненного растворов, наполовину обедненный раствор 15а подогревается обедненным раствором 15, и температура ввода наполовину обедненного раствора 15а повышается до t2 (t1 + α°C) при её измерении термометром Т2, если при измерении термометром Т1 температура отвода наполовину обедненного раствора 15а составляет t1.

[71]

Поток отделенного обогащенного раствора 14а регулируется с использованием первого устройства 23-1 для регулировки расхода (например, регулирующего клапана расхода), установленного между первым узлом А-1 разделения и первым теплообменником 22-1 обогащенного раствора. За счет регулировки, осуществляемой с использованием первого устройства 23-1 для регулировки расхода, температура t11 предварительно нагретого отделенного обогащенного раствора 14а, измеряемая термометром Т11, устанавливается приблизительно равной или меньшей, чем температура t2 наполовину обедненного раствора 15а, измеряемая термометром Т2, служащим для измерения температуры предварительно нагретого наполовину обедненного раствора 15а, который полностью отводится через первую линию L21-1 отвода наполовину обедненного раствора (t2 ≥ t11).

[72]

В соответствии с рассматриваемым Примером наполовину обедненный раствор 15а, который отводится за пределы регенератора, обменивается теплотой с обедненным раствором 15. В результате наполовину обедненный раствор 15а, вновь вводимый в регенератор 16, может быть нагрет, и эффективное функционирование ребойлера регенератора 16 может быть реализовано при большем энергосбережении по сравнению с системой 10А извлечения СО2 в Примере 1. Кроме того, становится возможным уменьшить количество охлаждающей воды, требуемой в охладителе 30 обедненного раствора, используемом для охлаждения обедненного раствора 15, вводимого в абсорбер 13.

[73]

В настоящем Примере в качестве теплоносителя 29, подаваемого в первый теплообменник 22-1 обогащенного раствора для осуществления теплообмена, как в Примере 1, может быть использован конденсат 34 водяного пара, отделенный в газожидкостном сепараторе 33, с использованием для этого линии L32 подачи конденсата водяного пара.

[74]

Пример 5

[75]

На фиг. 7 представлена схема, иллюстрирующая конфигурацию системы извлечения СО2 в соответствии с Примером 5. Как показано на фиг. 7, система 10G извлечения СО2в соответствии с рассматриваемым Примером содержит секцию 16-1 первой ступени регенерации, предназначенную для регенерации в регенераторе 16 обогащенного раствора 14 после его использования в качестве абсорбента СО2, секцию 16-2 второй ступени регенерации, размещенную под секцией 16-1 первой ступени регенерации, и, в отличие от системы 10А извлечения СО2, показанной на фиг. 1, содержит секцию 16-3 третьей ступени регенерации, размещенную ниже под секцией 16-2 второй ступени регенерации. Регенератор 16 содержит также первую линию L21-1 отвода наполовину обедненного раствора, предназначенную для отвода всего наполовину обедненного раствора 15а из первого хранилища 18-1 жидкости, служащего для накопления наполовину обедненного раствора 15а, в котором ранее в секции 16-1 регенерации первой ступени из обогащенного раствора 14 часть СО2 была извлечена и выведена за пределы регенератора; при этом указанная линия L21-1 соединена с точкой С ввода отведенного наполовину обедненного раствора 15а в верхний участок секции 16-2 второй ступени регенерации, находящийся ниже точки отвода наполовину обедненного раствора 15а; кроме того, регенератор 16 содержит первое устройство 24-1 смешивания, предназначенное для смешивания в регенераторе наполовину обедненного раствора 15а и отделенного обогащенного раствора 14а, при этом точка С ввода наполовину обедненного раствора 15а из линии L21-1 отвода наполовину обедненного раствора находится на той же высоте, что и первая точка В-1 подачи отделенного обогащенного раствора на первой линии L13-1 отделения обогащенного раствора; регенератор 16 содержит также вторую линию L21-2 для отвода наполовину обедненного раствора (в котором ранее в секции 16-2 регенерации второй ступени из наполовину обедненного раствора 15а была дополнительно извлечена часть СО2) из третьего хранилища 18-3 жидкости третьей тарелки 19с, выполненной с патрубком для прохода газа, предназначенного для накопления наполовину обедненного раствора 15b; упомянутая вторая линия L21-2 соединена с точкой D подачи наполовину обедненного раствора 15b, отведенного из регенератора, в верхний участок секции 16-3 третьей ступени регенерации, расположенный ниже точки отвода наполовину обедненного раствора 15b из регенератора 16.

[76]

Кроме того, в рассматриваемом Примере система содержит первый теплообменник 25-1 обедненного/наполовину обедненного растворов для осуществления теплообмена между обедненным раствором 15 и наполовину обедненным раствором 15а, размещенный в месте пересечения линии L12 подачи обедненного раствора с линией L21-1 отвода наполовину обедненного раствора, и второй теплообменник 25-2 обедненного/наполовину обедненного растворов для теплообмена между обедненным раствором 15 и наполовину обедненным раствором 15b, размещенный в месте пересечения линии L12 подачи обедненного раствора и второй линии L21-2 отвода наполовину обедненного раствора, между нижней частью 16b регенератора 16 и теплообменником 21 обогащенного/обедненного растворов на линии L12 подачи обедненного раствора.

[77]

За счет использования упомянутого первого теплообменника 25-1 обедненного/наполовину обедненного растворов и второго теплообменника 25-2 обедненного/наполовину обедненного растворов, каждый из наполовину обедненных растворов 15а подогревается обедненным раствором 15, и температура отвода наполовину обедненного раствора 15а, измеряемая термометром Т1,составляет величину t1, в то время как температура ввода наполовину обедненного раствора 15а, измеряемая термометром Т2, повышается до t2. Кроме того, температура ввода наполовину обедненного раствора 15b, измеряемая термометром Т4, повышается до t4, если температура отвода наполовину обедненного раствора 15b, измеряемая термометром Т3, составляет t3.

[78]

Поток отделенного обогащенного раствора 14а регулируется с помощью первого устройства 23-1 для регулирования расхода (например, регулирующего клапана расхода), установленного между первым узлом А-1 разделения и первым теплообменником 22-1 обогащенного раствора. За счет регулировки с использованием первого устройства 23-1 для регулировки расхода температура t11 предварительно нагретого отделенного обогащенного раствора 14а, измеряемая термометром Т11, устанавливается на уровне, приблизительно равном или более низком, чем температура t2 наполовину обедненного раствора 15а, измеряемая термометром Т2, служащим для измерения температуры предварительно нагретого наполовину обедненного раствора 15а, который полностью отводится через первую линию L21-1 отвода наполовину обедненного раствора (t2 ≥ t11).

[79]

В соответствии с рассматриваемым Примером, внутренний объем регенератора 16 разделен на три части, и каждый из наполовину обедненных растворов 15а, отведенных из регенератора, дважды проходит стадию теплообмена с обедненным раствором 15. Таким образом, наполовину обедненный раствор 15а, вновь вводимый в регенератор 16, может быть нагрет, и в результате при эффективной работе ребойлера 31 регенератора 16 может быть достигнута дополнительная экономия энергия по сравнению с системой 10А извлечения СО2 в Примере 1. Кроме того, становится возможным уменьшить количество охлаждающей воды, требуемой в охладителе 30 обедненного раствора для охлаждения обедненного раствора 15, вводимого в абсорбер 13.

[80]

В рассматриваемом Примере в качестве теплоносителя 29, подводимого в первый теплообменник 22-1 обогащенного раствора для теплообмена, как и в Примере 1, может быть использован конденсат 34 водяного пара, отделенный в газожидкостном сепараторе 33, за счет использования линии L32 подачи конденсата пара.

[81]

Пример 6

[82]

На фиг. 8 представлена схема, иллюстрирующая конфигурацию системы извлечения СО2 в соответствии с Примером 6. Как показано на фиг. 8, система 10Н извлечения СО2в соответствии с рассматриваемым Примером содержит секцию 16-1 первой ступени регенерации, предназначенную для регенерации обогащенного раствора 14, использованного в качестве абсорбента СО2, в регенераторе 16, секцию 16-2 второй ступени регенерации, размещенную под секцией 16-1 первой ступени регенерации, и секцию 16-3 третьей ступени регенерации, размещенную под секцией 16-2 второй ступени регенерации. Регенератор 16 содержит первую линию L21-1 отвода наполовину обедненного раствора, предназначенную для отвода всего наполовину обедненного раствора 15а из первого хранилища 18-1 жидкости для накопления наполовину обедненного раствора 15а, в котором часть СО2 была извлечена из обогащенного раствора 14 в секции 16-1 первой ступени регенерации и выведена из регенератора наружу; где указанная первая линия L21-1 соединена с точкой С подачи отведенного наполовину обедненного раствора 15а в верхний участок секции 16-2 второй ступени регенерации, расположенный ниже точки отвода наполовину обедненного раствора 15а; кроме того, регенератор 16 содержит вторую линию L21-2 отвода наполовину обедненного раствора 15b из третьего хранилища 18-3 жидкости, предназначенного для накопления наполовину обедненного раствора 15b, в котором из наполовину обедненного раствора 15а дополнительно была извлечена часть СО2 в секции 16-2 второй ступени регенерации и отведена за пределы регенератора; где упомянутая вторая линия L21-2 обеспечивает подачу отведенного наполовину обедненного раствора 15b в точку D подачи этого раствора в верхний участок секции 16-3 третьей ступени регенерации, находящийся ниже, чем точка отвода из регенератора обедненного раствора 15b; кроме того, регенератор 16 содержит второе устройство 24-2 смешивания, предназначенное для смешивания в регенераторе 16 наполовину обедненного раствора 15b и отделенного обогащенного раствора 14а, при этом упомянутая точка D подачи отведенного наполовину обедненного раствора 15b на второй линии L21-2 отвода наполовину обедненного раствора находится на той же высоте, что и первая точка В-1 подачи, находящаяся на первой линии L13-1 отделения обогащенного раствора.

[83]

В данном Примере поток отделенного обогащенного раствора 14а регулируют с помощью первого устройства 23-1 регулировки расхода (например, регулирующего клапана расхода), установленного между первым узлом А-1 разделения и первым теплообменником 22-1 обогащенного раствора, причем поток регулируется иным образом, чем в Примере 5. За счет регулировки с использованием первого устройства 23-1 регулировки расхода температура t11 предварительно нагретого отделенного обогащенного раствора 14а, измеряемая термометром Т11, устанавливается на уровне, приблизительно равном или меньшем, чем температура t4 наполовину обедненного раствора 15b, измеряемая термометром Т4, служащим для измерения температуры наполовину обедненного раствора 15b, который полностью отводится через вторую линию L21-2 отвода наполовину обедненного раствора (t4 ≥ t11).

[84]

В соответствии с данным Примером, внутренний объем регенератора 16 разделен на три части, и наполовину обедненные растворы 15а и 15b, которые были отведены из регенератора, обмениваются теплотой с обедненным раствором 15 в первом теплообменнике 25-1 для обедненного/наполовину обедненного растворов и втором теплообменнике 25-2 для обедненного/наполовину обедненного растворов, соответственно. Таким образом, каждый из наполовину обедненных растворов 15а и 15b, подлежащих возврату в регенератор 16, может быть нагрет, и тем самым при эффективной работе ребойлера регенератора 16 может быть достигнута дополнительная экономия энергии по сравнению с системой 10А извлечения СО2 в Примере 1. Кроме того, становится возможным уменьшить количество охлаждающей воды, требуемой в охладителе 30 обедненного раствора для охлаждения обедненного раствора 15, вводимого в абсорбер 13.

[85]

В рассматриваемом Примере в качестве теплоносителя 29, подводимого в первый теплообменник 22-1 обогащенного раствора для теплообмена, как и в Примере 1, может быть использован конденсат 34 водяного пара, отделенный в газожидкостном сепараторе 33, с использованием для этого линии L32 подачи конденсата пара.

[86]

Пример 7

[87]

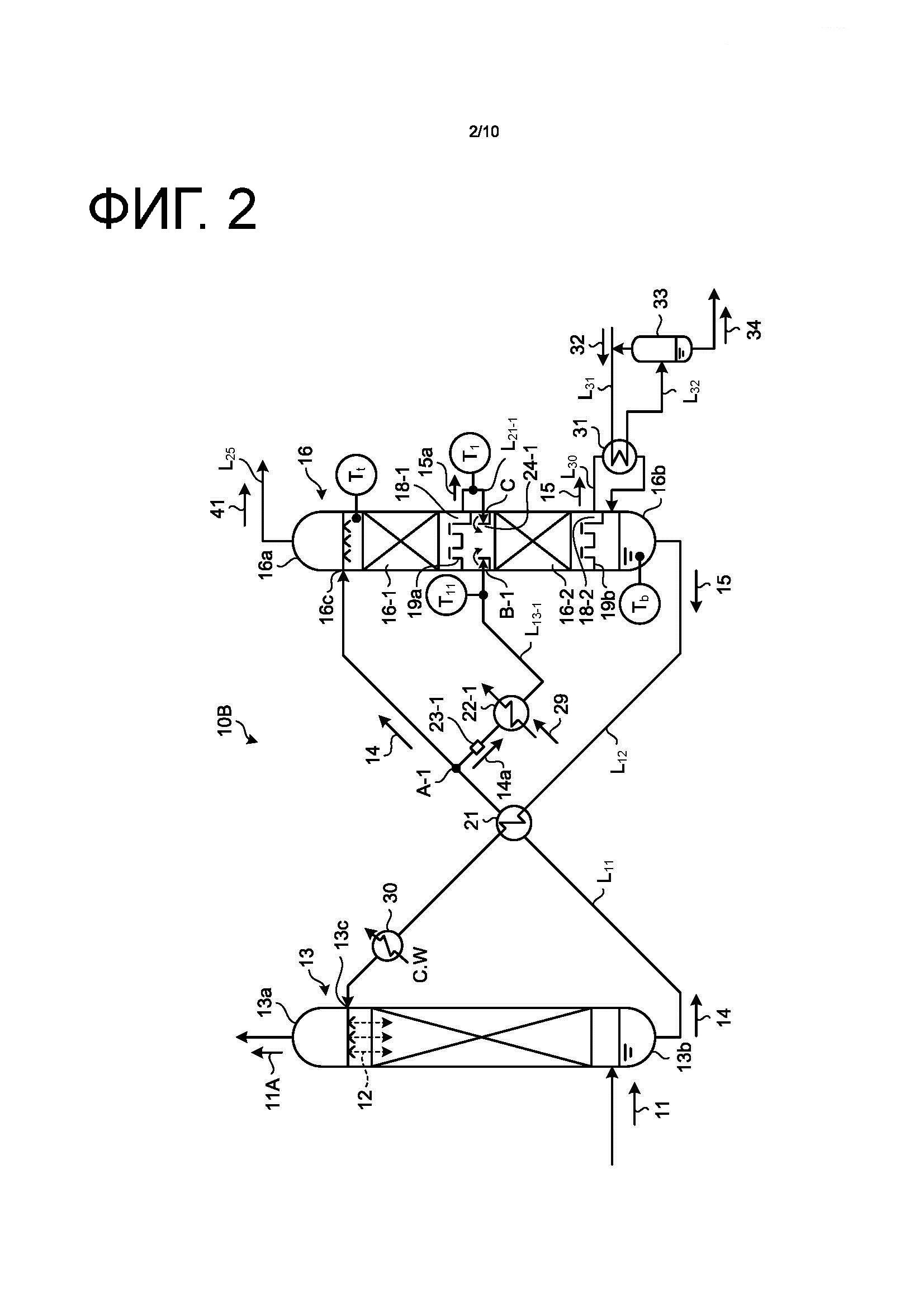
На фиг. 9 представлена схема, иллюстрирующая конфигурацию системы извлечения СО2 в соответствии с Примером 7. Как показано на фиг. 9, в системе 10I извлечения СО2согласнорассматриваемому Примеру между первым узлом А-1 разделения на линии L11 подачи обогащенного раствора и регенератором 16, используемым в системе 10А извлечения СО2 в Примере 1, размещен второй узел А-2 разделения. Система 10I извлечения СО2 содержит вторую линию L13-2 отделения обогащенного раствора для дополнительного отделения части обогащенного раствора 14 во втором узле А-2 разделения и подачи отделенного обогащенного раствора 14а-2 ко второй точке В-2 ввода, расположенной выше первой точки В-1 ввода обогащенного раствора, соединенной с первой линией L13-1 отделения обогащенного раствора и находящейся в нижней части 16b регенератора, при этом в верхней части 16а регенератора находится точка 16с ввода обогащенного раствора. Кроме того, система 10I содержит второй теплообменник 22-2 обогащенного раствора для предварительного нагрева обогащенного раствора 14а-2, отделенного во втором узле А-2 разделения, размещенный на второй линии L13-2 отделения обогащенного раствора, и второе устройство 23-2 для регулировки расхода обогащенного раствора 14а-2, отделяемого во втором узле А-2 разделения, размещенное на второй линии L13-2 отделения обогащенного раствора между вторым узлом А-2 разделения и вторым теплообменником 22-2 для обогащенного раствора.

[88]

В соответствии с рассматриваемым Примером обогащенный раствор 14 после осуществления теплообмена в теплообменнике 21 обогащенного/обедненного растворов, разделяется в двух точках – в первом и втором узлах А-1 и А-2 разделения, при этом отделенные обогащенные растворы 14а-1 и 14а-2 предварительно нагреваются с помощью первого теплообменника 22-1 обогащенного раствора и второго теплообменника 22-2 обогащенного раствора, и вводятся в регенератор 16 в первой точке В-1 ввода и второй точке В-2 ввода, соответственно.

[89]

В данном Примере поток отделенного обогащенного раствора 14а-2 регулируют с помощью второго устройство 23-2 регулировки расхода (например, регулирующего клапана расхода), установленного между вторым узлом А-2 разделения и вторым теплообменником 22-2 обогащенного раствора. За счет регулировки с использованием второго устройства 23-2 регулировки расхода температура t12 нагретого отделенного обогащенного раствора 14а-2, измеряемая термометром Т12, устанавливается на уровне, приблизительно равном или меньшем, чем температура t1 наполовину обедненного раствора 15а, измеряемая термометром Т1, служащим для измерения температуры наполовину обедненного раствора 15а, который полностью отводится через первую линию L21-1 отвода наполовину обедненного раствора (t1 ≥ t12).

[90]

Кроме того, осуществляется контроль первого устройства 23-1 для регулировки расхода (например, клапана регулирования расхода) отделенного обогащенного раствора 14а-1, размещенного между первым узлом А-1 разделения и первым теплообменником 22-1 обогащенного раствора. За счет регулировки первого регулирующего устройства 23-1 температура t11 предварительно нагретого отделенного обогащенного раствора 14а-1, измеряемая термометром Т11, устанавливается на уровне, приблизительно равном или меньшем, чем температура t2 наполовину обедненного раствора 15а, измеряемая термометром Т2, служащим для измерения температуры обедненного раствора 15, подлежащего отводу в ребойлер 31 регенератора 16 (t2 ≥ t11).

[91]

В рассматриваемом Примере благодаря использованию двух узлов разделения обогащенного раствора 14 может быть обеспечено эффективное функционирование ребойлера с экономией энергии. Кроме того, становится возможным уменьшить количество охлаждающей воды, требуемой в охладителе 30 обедненного раствора для охлаждения.

[92]

В рассматриваемом Примере в качестве теплоносителя 29, подводимого для теплообмена в первый теплообменник 22-1 обогащенного раствора, с использованием линии L32 подачи конденсата пара, как и в Примере 1, может быть использован отделенный в газожидкостном сепараторе 33 конденсат 34 водяного пара.

[93]

Кроме того, в качестве теплоносителя 29, подводимого во второй теплообменник 22-2 обогащенного раствора, может быть использован конденсат 34 водяного пара после осуществления теплообмена во втором теплообменнике 22-2 обогащенного раствора.

[94]

Пример 8

[95]

На фиг. 10 представлена схема, иллюстрирующая конфигурацию системы извлечения СО2 в соответствии с Примером 8. Как показано на фиг. 10, в системе 10J извлечения СО2в соответствии с рассматриваемым Примером на линии L11 подачи обогащенного раствора между первым узлом А-1 разделения и регенератором 16, используемым в системе 10Н извлечения СО2 в Примере 6, размещен второй узел А-2 разделения. Система 10J извлечения СО2 содержит вторую линию L13-2 отделения обогащенного раствора для дополнительного отделения части обогащенного раствора 14 во втором узле А-2 и подачи отделенного обогащенного раствора 14а-2 в любую вторую точку В-2 ввода обогащенного раствора на боковой стенке верхней части 16а регенератора 16, расположенную выше первой точки В-1 ввода обогащенного раствора, соединенной с первой линией L13-1 отделения обогащенного раствора и находящейся в нижней части 16b регенератора, при этом в верхней части 16а регенератора находится точка 16с ввода в регенератор обогащенного раствора. Кроме того, система 10J извлечения СО2 содержит второй теплообменник 22-2 обогащенного раствора для предварительного нагрева обогащенного раствора 14а-2, отделенного во втором узле А-2 разделения, расположенный на второй линии L13-2 отделения обогащенного раствора; второе устройство 23-2 для регулировки расхода обогащенного раствора 14а-2, отделенного во втором узле А-2 разделения, установленное на второй линии L13-2 отделения обогащенного раствора между вторым узлом А-2 разделения и вторым теплообменником 22-2 для обогащенного раствора; и первое устройство 24-1 смешивания раствора 15а и отделенного обогащенного раствора 14а-2 в регенераторе 16, при этом точка ввода С, с которой соединена первая линия L21-1 отвода наполовину обедненного раствора, находится приблизительно на такой же высоте, что и вторая точка В-2 ввода, с которой соединена линия L13-2 отделения обогащенного раствора.

[96]

В соответствии с рассматриваемым Примером обогащенный раствор 14 после обмена теплотой в теплообменнике 21 обогащенного/обедненного растворов, разделяется в двух точках – в первом и втором узлах А-1 и А-2 разделения, при этом отделенные обогащенные растворы 14а-1 и 14а-2 предварительно нагреваются с помощью первого теплообменника 22-1 обогащенного раствора и второго теплообменника 22-2 обогащенного раствора, и поступают в регенератор 16 в первой точке В-1 ввода и второй точке В-2 ввода, соответственно.

[97]

Регулировка второго устройства 23-2 для регулировки расхода (например, регулирующего клапана расхода), установленного между вторым узлом А-2 разделения и вторым теплообменником 22-2 обогащенного раствора, осуществляется для регулировки потока отделенного обогащенного раствора 14а-2. За счет регулировки с использованием второго устройства 23-2 регулировки расхода температура t12 предварительно нагретого отделенного обогащенного раствора 14а-2, измеряемая термометром Т12, устанавливается на уровне, приблизительно равном или меньшем, чем температура t2 наполовину обедненного раствора 15а, измеряемая термометром Т2, служащим для измерения температуры наполовину обедненного раствора 15а, который полностью отводится через первую линию L21-1 отвода наполовину обедненного раствора (t2 ≥ t12).

[98]

Кроме того, осуществляется регулировка первого устройства 23-1 регулировки расхода (например, клапана регулирования расхода), предназначенного для регулировки потока отделенного обогащенного раствора 14а-1, размещенного между первым узлом разделения А-1 и первым теплообменником 22-1 обогащенного раствора. За счет регулировки первого регулирующего устройства 23-1 температура t11 предварительно нагретого отделенного обогащенного раствора 14а-1, измеряемая термометром Т11, устанавливается на уровне, приблизительно равном или меньшем, чем температура t4 наполовину обедненного раствора 15а, измеряемая термометром Т4, служащим для измерения температуры полностью отводимого наполовину обедненного раствора 15b и расположенным на второй линии L21-1 отвода наполовину обедненного раствора (t4 ≥ t11).

[99]

Благодаря использованию двух узлов разделения обогащенного раствора 14 может быть обеспечена эффективная работа ребойлера с экономией энергии. Кроме того, становится возможным уменьшить количество охлаждающей воды, требуемой в охладителе 30 обедненного раствора для охлаждения обедненного раствора 16, вводимого в абсорбер 13.

[100]

В рассматриваемом Примере в качестве теплоносителя 29, подводимого в первый теплообменник 22-1 обогащенного раствора для теплообмена, как и в Примере 1, может быть использован конденсат 34 водяного пара, отделенный в газожидкостном сепараторе 33, с использованием линии L32 подачи конденсата пара.

[101]

Кроме того, в качестве теплоносителя 29, подводимого для теплообмена во второй теплообменник 22-2 обогащенного раствора, может быть использован конденсат 34 водяного пара после теплообмена, осуществляемого с помощью второго теплообменника 22-2 обогащенного раствора.

[102]

Примеры опытов 1-8

[103]

Были проведены опыты с целью подтверждения достижения в Примерах 1-8 в настоящем изобретении положительного эффекта.

[104]

Более конкретно, как и в уровне техники, было проведено сравнение количества теплоты, подводимой с помощью ребойлера 31, и эффективности охлаждения охладителя 30 обедненного раствора для случая, когда часть обогащенного раствора 14 была отделена в первом узле А-1 разделения ниже по ходу потока от теплообменника 21 обедненного/обогащенного растворов, нагрета с помощью первого теплообменника 22-1 обогащенного раствора и затем введена в регенератор 16 при температуре, равной температуре наполовину обедненного раствора 15а, с использованием для этого устройств, включенных в состав систем 10С-10J извлечения СО2 в Примерах, показанных на фиг. 3-10. При этом в том случае, когда обогащенный раствор 14 вводили в регенератор 16 из абсорбера 13, используя лишь теплообменник 21 обедненного/обогащенного растворов, необходимое количество теплоты ребойлера 31 в регенераторе 16 было принято за 1, и необходимое количество охладителя 30 для охлаждения обедненного раствора также было принято равным за 1.

[105]

Следует отметить, что в качестве теплоносителя 29 для первого теплообменника 22-1 обогащенного раствора был использован конденсат 34 водяного пара. Результаты опытов приведены в таблице 1.

[106]

Как показано в таблице 1, в Примере опыта 1 (система 10С извлечения СО2 в Примере 1 на фиг. 3), было подтверждено достижение 6% экономии энергии по сравнению с используемым в качестве эталона Сравнительным примером 1, в котором разделение отсутствует. В Примере опыта 2 (система 10D извлечения СО2 в Примере 2 на фиг. 4) было подтверждено достижение 6% экономии энергии по сравнению с используемым в качестве ориентира эталона Сравнительным примером 1, в котором разделение отсутствует. В Примере опыта 3 (система 10Е извлечения СО2 в Примере 3 на фиг. 5) было подтверждено достижение 6% экономии энергии по сравнению с используемым в качестве эталона Сравнительным примером 1, в котором разделение отсутствует. В Примере опыта 4 (система 10F восстановления СО2 в Примере 4 на фиг. 6) было подтверждено получение 14% экономии энергии по сравнению с используемым в качестве эталона Сравнительным примером 1, в котором разделение отсутствует. В Примере опыта 5 (система 10G восстановления СО2 в Примере 5 на фиг. 7) было подтверждено получение 16% экономии энергии по сравнению с используемым в качестве эталона Сравнительным примером 1, в котором разделение отсутствует. В Примере опыта 4 (система 10F восстановления СО2 в Примере 4 на фиг. 6) было подтверждено 14% экономии энергии по сравнению с используемым в качестве эталона Сравнительным примером 1, в котором разделение отсутствует. В Примере опыта 7 (система 10I восстановления СО2 в Примере 7 на фиг. 9) было подтверждено 6% экономии энергии по сравнению с используемым в качестве эталона Сравнительным примером 1, в котором разделение отсутствует. В Примере опыта 8 (система 10J восстановления СО2 в Примере 8 на фиг. 10) было подтверждено 6% экономии энергии по сравнению с используемым в качестве эталона Сравнительным примером 1, в котором разделение отсутствует. Если в качестве теплоносителя во втором теплообменнике 22-2 обогащенного раствора в Примере опыта 9 был использован водяной пар, полученный от внешнего источника (система 10J извлечения СО2 в Примере 8 на фиг. 10), опытом было подтверждено 7% экономии энергии по сравнению с Сравнительным примером 1, в котором разделение отсутствует. Помимо этого, в Примерах опытов 4-6 было подтверждено повышение эффективности охлаждения охладителя 30 обедненного раствора при уменьшении количества охлаждающей воды.

[107]

Таблица 1

[108]

Пример
опыта
123456789Сравнительный Пример 1
Охладитель обедненного раствора1,011,011,010,760,710,691,021,021,021,00
Ребойлер0,940,940,940,860,840,830,940,940,931,00

[109]

Перечень ссылочных позиций

[110]

Системы извлечения СО2 10А-10J

[111]

11 - отходящие газы 11, содержащие CO2

[112]

12 - абсорбент CO2

[113]

13 - абсорбер CO2

[114]

14 - обогащенный раствор

[115]

14a - отделенный обогащенный раствор

[116]

15 - обедненный раствор

[117]

15a - наполовину обедненный раствор

[118]

16 - регенератор

[119]

L11 - линия подачи обогащенного раствора

[120]

L12 - линия подачи обедненного раствора

[121]

L13-1 - первая линия отделения обогащенного раствора

[122]

L13-2 - вторая линия отделения обогащенного раствора

[123]

21 - теплообменник обедненного/обогащенного растворов

[124]

22-1 - первый теплообменник для обогащенного раствора

[125]

22-2 - второй теплообменник для обогащенного раствора

[126]

23-1 - первое устройство для регулировки расхода

[127]

23-2 - второе устройство для регулировки расхода

[128]

A-1 - первый узел разделения

[129]

A-2 - второй узел разделения

[130]

B-1 - первая точка подачи (ввода)

[131]

B-2 - вторая точка подачи (ввода)

Как компенсировать расходы
на инновационную разработку
Похожие патенты