патент
№ RU 2713041
МПК E21B33/12

Пакер

Авторы:
Скатов Александр Яковлевич
Номер заявки
2019115261
Дата подачи заявки
17.05.2019
Опубликовано
03.02.2020
Страна
RU
Как управлять
интеллектуальной собственностью
Чертежи 
3
Реферат

Изобретение относится к пакерам. Техническим результатом является упрощение конструкции. Пакер содержит эксцентричные ствол для перетока флюида, имеющий резьбу по концам, и ствол для проводки кабеля, соединённые с концевыми элементами, имеющими канал для перетока флюида и канал со средствами для герметизации кабеля, соединяющий полость ствола для проводки кабеля с затрубным пространством. Ствол для проводки кабеля установлен внутри ствола для перетока флюида. Концы ствола вставлены в каналы концевых элементов. Концы ствола для перетока флюида соединены с концевыми элементами резьбами, имеющими одинаковый шаг и противоположные направления витков. 1 з.п. ф-лы, 3 ил.

Формула изобретения

1. Пакер, содержащий эксцентричные ствол для перетока флюида, имеющий резьбу по концам, и ствол для проводки кабеля, соединённые с концевыми элементами, имеющими канал для перетока флюида и канал со средствами для герметизации кабеля, соединяющий полость ствола для проводки кабеля с затрубным пространством, отличающийся тем, что ствол для проводки кабеля установлен внутри ствола для перетока флюида, его концы вставлены в каналы концевых элементов, а концы ствола для перетока флюида соединены с концевыми элементами резьбами, имеющими одинаковый шаг и противоположные направления витков.

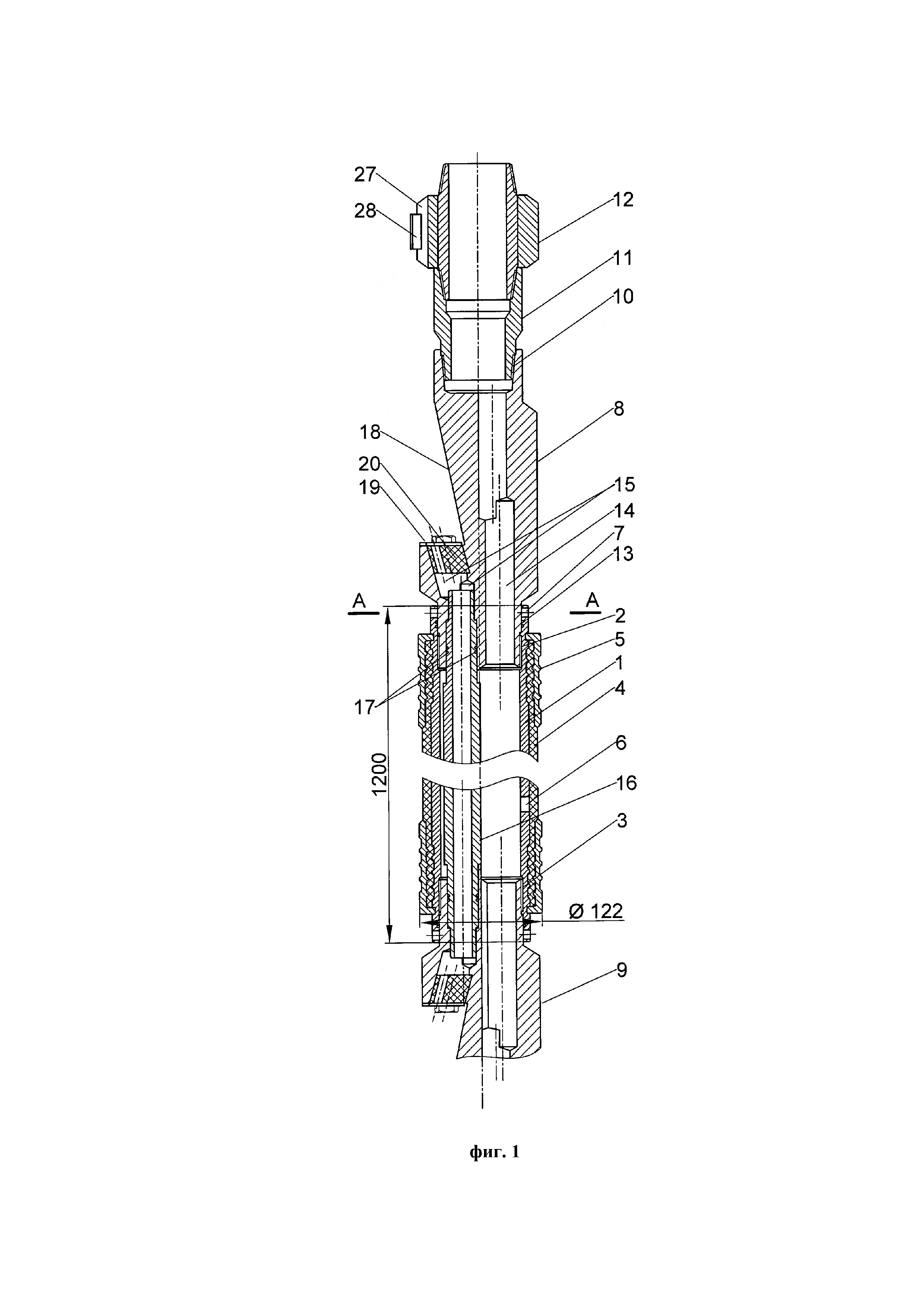
2. Пакер по п. 1, отличающийся тем, что ствол для перетока флюида дополнительно охвачен рукавом из упругоэластичного материала, герметично скреплённого с ним по концам, и имеет отверстие, сообщающее его с внутренней полостью рукава.

Описание

[1]

Изобретение относится к буровой технике, точнее к оборудованию для уплотнения или изоляции буровых скважин, а именно к пакерам, преимущественно с рукавным уплотнителем, имеющим защищённый от потока флюида герметизированный по концам канал для проводки кабеля.

[2]

В настоящем описании некоторые термины используются в следующих толкованиях:

[3]

- внутритрубное пространство – пространство в полости колонны насосно-компрессорных труб (далее – НКТ);

[4]

- затрубное пространство – кольцевое пространство между наружной поверхностью НКТ и обсадной колонной.

[5]

При проведении через пакер электрического кабеля для питания установки электроприводного центробежного насоса (далее – УЭЦН) или иных потребителей возникают проблемы защиты кабеля от потока флюида, поскольку песчинки, неизбежно содержащиеся в потоке, быстро разрушают его изоляцию, а также герметизации мест ввода и вывода кабеля из пакера.

[6]

Известны манжетные пакеры, содержащие полый ствол (трубу) для протока флюида с размещёнными на его поверхности уплотнительными элементами (манжетами), вдоль наружной поверхности которого в затрубном пространстве проложен электрический кабель, уплотняемый либо раздачей манжет при посадке пакера, либо специальными уплотнительными элементами, располагаемыми над и под манжетами [RU № 2290489, 2380518, 2468185], либо герметизированный в пазу на наружной поверхности ствола посредством компаунда (герметизирующего материала) [RU № 56939], который может быть дополнительно обжат защитной накладкой, установленной над пазом под манжетами [RU № 2540369].

[7]

Недостатками известных манжетных пакеров является необходимость создания значительных продольных усилий в буровой колонне для раздачи вширь упругих элементов при постановке, а также сложность постановки и срыва пакера. Конструкция таких пакеров усложнена необходимостью включения в неё подвижных управляемых элементов для первоначального заякоривания.

[8]

Известна также двухствольная пакерная система из установленных на внешнем стволе (трубе) манжетных и рукавного пакеров, внутренний ствол, эксцентрично установленный внутри внешнего и соединённый с ним резьбовым соединением, канал для проводки электрического кабеля, образованный пространством между внешним и внутренним стволами, причём рукавный пакер, установленный между манжетными, снабжён клапанным узлом для надува из внутреннего ствола рукава, установленного на внешнем стволе [RU № 168321]. После надува рукавного уплотнителя раствором глушения клапан закрывается, что, впрочем, не исключает возможности снижения давления в уплотнителе из-за утечек. Недостатками известной пакерной системы являются техническая сложность пакерного узла, включающего два вида уплотняющих элементов, клапанный узел надува с подвижным поршнем, сложность её установки, включающей подачу по внутренней трубе раствора глушения и срезание штифтов механической разгрузкой, и невозможность использования пакера для предотвращения попадания флюидов из верхних горизонтов в нижний из-за отсутствия средств герметизации мест выхода кабеля из пакера.

[9]

Известен двухствольный пакер, содержащий внешний ствол (называемый в патентном описании аналога трубой) с уступами по концам и установленным на нём упругим герметизирующим элементом, внутри которого эксцентрично расположен внутренний ствол (называемый в патентном описании аналога валом) для перетока флюида, с резьбой по концам, кабельный канал, образованный зазором между стволами, концевые элементы (названные в патентном описании кронштейнами), выполненные в виде стаканов, в которые входят до упора в уступы концы внешнего ствола, причём стаканы имеют по два канала в дне, через один из которых проходит внутренний ствол, а второй, соединяющий полость внешнего ствола с затрубным пространством, содержит уплотнители для кабеля. Вся конструкция стянута нестандартными переводниками, навинчиваемыми на концы внутреннего ствола, причём один из концов указанных переводников имеет сразу наружную и внутреннюю резьбу [RU № 77634].

[10]

Недостатком известного пакера является его конструктивная сложность, поскольку в его состав входят нестандартные переводники. Возложение на нестандартные переводники одновременно двух функций: затяжки пакера и герметичного соединения его с колонной НКТ приведёт, скорее всего, к тому, что одна из них не будет выполнена должным образом. Известный пакер не может быть упрощён преобразованием в рукавный только лишь путём установки на внешнем стволе рукава, поскольку потребуется ещё и введение клапана между внутренним и наружным стволами.

[11]

Задачей настоящего изобретения является упрощение конструкции пакера с защищённым каналом для электрического кабеля.

[12]

Технический результат от использования настоящего изобретения состоит в упрощении конструкции пакера.

[13]

Указанный технический результат достигается тем, что в известном пакере, содержащем эксцентричные ствол для перетока флюида, имеющий резьбу по концам, и ствол для проводки кабеля, соединённые с концевыми элементами, имеющими канал для перетока флюида и канал со средствами для герметизации кабеля, соединяющий полость ствола для проводки кабеля с затрубным пространством, ствол для проводки кабеля установлен внутри ствола для перетока флюида, его концы вставлены в каналы концевых элементов, а концы ствола для перетока флюида соединены с концевыми элементами резьбами, имеющими одинаковый шаг и противоположные направления витков.

[14]

Кроме того, ствол для перетока флюида дополнительно охвачен рукавом из упруго-эластичного материала, герметично скреплённого с ним по концам, и имеет отверстие, сообщающее его полость с внутренней полостью рукава.

[15]

Благодаря тому, что ствол для проводки кабеля установлен внутри ствола для перетока флюида, его концы вставлены в каналы концевых элементов, а концы ствола для перетока флюида соединены с концевыми элементами резьбами, имеющими одинаковый шаг и противоположные направления витков, упрощается конструкция пакера, обеспечивающая возможность проводки электрического кабеля через пакер, точнее через указанный внутренний ствол, защищающий кабель от контакта с флюидом, без нарушения герметичности пакера при минимальном количестве входящих в его состав деталей. При этом практическая реализация такой конструкции, то есть её промышленная применимость, обеспечивается благодаря выполнению резьбы по концам ствола с одинаковым шагом и противоположным направлением витков, что позволяет собрать пакер при его изготовлении.

[16]

Благодаря введению рукава из упруго-эластичного материала, охватывающего ствол для перетока флюида и герметично скреплённого с ним по концам, а также отверстию, сообщающему его полость с внутренней полостью рукава, заявленный пакер, будучи конструктивно проще известных из уровня техники, не требуя каких-либо средств для предварительной фиксации его в заданном месте, может использоваться для тампонирования стенок ствола скважины, причём он может быть установлен и снят за кратчайшее время.

[17]

При использовании вышеперечисленных признаков конструкция пакера оказывается проще, чем у известных аналогов как с рукавным, так и с манжетным уплотнителем.

[18]

Существо изобретения поясняется чертежами, на которых показан предложенный пакер в рукавном и манжетном исполнении.

[19]

На фиг. 1 показан предложенный пакер в рукавном исполнении в разрезе плоскостью, проходящей через оси его стволов.

[20]

На фиг. 2 показано поперечное сечение одного из концевых элементов плоскостью, перпендикулярной осям стволов.

[21]

На фиг. 3 показан предложенный пакер в манжетном исполнении в разрезе плоскостью, проходящей через оси его стволов.

[22]

Общая длина пакера в сборе с обычными для пакеров элементами, такими как переводники и центраторы, многократно превышает его ширину. Это не позволяет уместить его полное изображение на листе стандартного формата, и потому часть элементов, общих для предложенного и известных пакеров, на чертеже фиг. 1 не показана. Также сделан вырыв на изображении центральной части пакера, а один из концевых элементов показан в усечённом виде. Для того чтобы дать представление о пропорциях изделия, на фиг. 1 указаны ориентировочные продольный и поперечный размеры пакера, сопрягаемого с насосно-компрессорными трубами условного диаметра 73 мм.

[23]

Предложенный пакер включает предназначенный для пропускания флюида ствол 1, выполненный в виде цилиндра с резьбой на концах. Витки обеих резьб имеют одинаковый шаг, но противоположное направление, например резьба 2 – правая, а резьба 3 – левая. Предпочтительно, чтобы резьбы были внутренними.

[24]

Пакер в рукавном исполнении (фиг. 1) также включает охватывающий его ствол 1 упругий герметизирующий элемент, выполненный в виде рукава 4 из упруго-эластичного материала. По концам рукав 4 герметично скреплён со стволом 1 посредством, например, обжимных гильз 5. В боковой стенке ствол 1 имеет отверстие 6, сообщающее канал ствола с зазором между стволом и рукавом. По краям ствол 1 может иметь лыски или, как показано в качестве примера на фиг. 1, отверстия 7 для захвата его инструментом.

[25]

В резьбовые концы ствола 1 ввинчены концевые элементы 8 и 9. Они могут быть идентичны во всём, но резьбы 2 и 3 у них всегда противоположного направления, например у элемента 8 резьба 2 – правая, а у элемента 9 резьба 3 – левая. С противоположного конца концевые элементы снабжены стандартной конической трубной резьбой 10 для присоединения, например, к переводнику 11, которая может быть как наружной, так и внутренней, либо у одного из них наружной, а у другого – внутренней. Обычно для пакера диаметром 122 мм это резьба НКТ 73. В состав пакера как промышленного изделия также обычно входят центраторы 12, один из которых показан на фиг. 1. На фиг. 2 центраторы не показаны. Зазор между концевыми элементами 8, 9 и стволом 1 герметизирован, например упругими уплотнительными кольцами 13.

[26]

Каждый из концевых элементов содержит два продольных отверстия, или канала, 14 и 15, выходящих одним концом в канал ствола 1. Другой конец канала 14 открыт во внутритрубное пространство колонны НКТ, а другой конец канала 15 открыт в затрубное пространство. Канал 14 предназначен для пропускания потока скважинного флюида, а канал 15 – для проводки через пакер электрического кабеля. По технологическим соображениям каналы могут быть образованы сверлением с двух сторон, причём оси встречных сверлений могут не совпадать, как показано на фиг. 1 у канала 14, или быть направлены под углом друг к другу, как показано на фиг. 1 у канала 15. Но при этом ось участка канала 15, выходящего в канал ствола 1, параллельна оси ствола 1 и в него вставлен выполненный в виде трубы внутренний ствол 16, соединяющий каналы 15 обоих концевых элементов. Зазор между стволом 16 и каналами 15 герметизирован упругими уплотнительными кольцами 17.

[27]

Каждый из концевых элементов на стороне расположения ствола 16 имеет вырез 18 с площадкой 19, в которую выходит канал 15. Уплотнительный элемент 20 для кабеля может быть установлен в канале 15 или на площадке 19.

[28]

На фиг. 2 с примером исполнения предложенного пакера с манжетным уплотнителем показаны только основные детали, необходимые для подтверждения возможности не только рукавного, но и манжетного исполнения. Манжетный пакер состоит в основном из тех же деталей, что и рукавный вариант, но вместо рукава 4 в качестве упругого герметизирующего элемента он содержит набор установленных на стволе 1 манжет 21 из упругого материала, зажатых между конусом 22 и регулировочной гайкой 23. Конус 22 зафиксирован на стволе 1 срезными винтами 24. Для фиксации пакера в обсадной трубе служат плашки 25, скреплённые с плашкодержателем 26 с возможностью их раздвижения в стороны скольжением по конусу 22 при посадке плашкодержателя на вспомогательный элемент, например центратор (на чертеже не показан), предварительно фиксируемый в трубе.

[29]

Сборка предложенного пакера осуществляется следующим образом.

[30]

Концевые элементы 8 и 9 устанавливают в сборочном приспособлении с возможностью их осевого перемещения так, чтобы оси резьб 2 и 3 и оси каналов 15 при этом попарно совпадали.

[31]

После монтажа рукава 4 или манжет 21 со вспомогательными элементами на стволе 1 и установки уплотнительных колец 13 и 17 совмещают до соприкосновения резьбовые концы ствола 1 и концевого элемента 8. В канал 15 концевого элемента 8 вставляют конец ствола 16. Другой конец ствола 16 вставляют в канал 15 концевого элемента 9 и совмещают до соприкосновения резьбовые концы ствола 1 и концевого элемента 9. Поворотом от руки ствола 1 наживляют первые витки резьб 2 и 3, после чего вводят выступы инструмента в отверстия 7 ствола 1 и, вращая ствол, затягивают резьбы до заданного момента. Концы ствола 16 с уплотнительными кольцами 13 при этом скользят в каналах 15, углубляясь в них.

[32]

После присоединения к пакеру вспомогательных элементов: переводников, центраторов, через уплотнительные элементы 20, каналы 15 и ствол 16 проводят электрический кабель и уплотняют его затяжкой уплотнительных элементов. Дополнительно кабель может быть закреплён на центраторе 12, снабжённом для этого, например, пазом 27 и элементом крепления 28.

[33]

Основное назначение предложенного пакера в рукавном исполнении – предотвращение доступа воды из вышерасположенного водоносного пласта в нефтеносный пласт в случае потери герметичности обсадной трубой. Для этого предложенный пакер соединяется с УЭЦН, электропитание к которому подводится кабелем, проходящем через пакер и уплотнённым в канале 15 с обоих его концов. После установки пакера в скважину на уровне ниже места негерметичности обсадной трубы и присоединения его к колонне НКТ в верхней части колонны на устье скважины устанавливают регулируемый штуцер, служащий для дросселирования потока и поддержания требуемого давления на уровне пакера.

[34]

При запуске УЭЦН в канале ствола пакера возникает давление, равное сумме гидростатического давления столба флюида над пакером плюс избыточное давление, создаваемое при протекании потока через штуцер. Через отверстие 6 скважинный флюид попадает в рукав 4, раздувая его и перекрывая тем самым кольцевое пространство между пакером и обсадной трубой. Опыт показывает, что избыточного давления в 2 Мпа достаточно, чтобы рукав раздулся и пакер начал выполнять свои функции.

[35]

В условиях практической эксплуатации пакер используют с насосами разных типоразмеров с разной производительностью. Для гарантированного срабатывания пакера давление внутри рукава 4 можно увеличивать, дросселируя поток флюида регулируемым штуцером.

[36]

Опыт практической эксплуатации предложенного пакера в рукавном исполнении показал, что в случаях, когда защищаемая от поступления флюида сверху скважина активно эксплуатируется и в состоянии обеспечить постоянное давление добываемого флюида в рукаве, он, благодаря малым затратам времени на постановку и её простоте, имеет существенные преимущества над манжетными пакерами. Из-за простоты конструкции предложенный пакер недорог и ремонтопригоден.

[37]

В манжетном же исполнении благодаря простоте и надёжности предложенного решения узла проводки кабеля через пакер он также имеет преимущества над известными аналогами.

Как компенсировать расходы
на инновационную разработку
Похожие патенты