патент
№ RU 2709976
МПК B64C3/18

Крыло самолёта, кессон крыла самолета, центроплан, лонжерон (варианты)

Авторы:
Смирнов Игорь Вадимович Каплун Яков Борисович Селиванов Николай Павлович
Все (4)
Номер заявки
2019108376
Дата подачи заявки
22.03.2019
Опубликовано
23.12.2019
Страна
RU
Как управлять
интеллектуальной собственностью
Чертежи 
9
Реферат

Группа изобретений относится к области авиационной техники. Первый вариант лонжерона характеризуется тем, что выполнен в качестве передней неразрезной трехпролетной несущей балки кессона. Второй вариант лонжерона характеризуется тем, что выполнен в качестве задней балки по размаху крыла в составе продольного набора силовых элементов кессона. Центроплан содержит силовой каркас, выполненный в виде кессона, собранного за одно целое с фюзеляжа, и вмонтирован в нижнюю половину высоты фюзеляжа, с которым соединен внахлестку приконцевой частью переднего и заднего лонжеронов с концевыми элементами силовых шпангоутов, выполненных в виде плоских плит, примыкающих с внешней стороны к стенке лонжерона. Кессон имеет силовой каркас коробчатого типа и включает центроплан, который соединен с составным кессоном левой и правой консолей крыла. Крыло самолета выполнено стреловидным в плане и включает несущую конструкцию с каркасом в виде кессона, неразъемные консольные части, отъемные части и вертикальные законцовки. Хвостовая кромка консольной части выполнена с изломом в плане. Группа изобретений направлена на повышение надежности и безопасности выполнения полета. 5 н. и 4 з.п. ф-лы, 20 ил.

Формула изобретения

1. Крыло самолета, характеризующееся тем, что выполнено стреловидным в плане и снабжено по концам вертикальной законцовкой крыла (ВЗК) с углом αл.к. - стреловидного отклонения линии вершин лобовой кромки (носиков) крыла от плоскости, нормальной к плоскости симметрии самолета, определенным в диапазоне значений αл.к.=(0,47÷0,66)[рад]; хвостовая кромка консольной части крыла выполнена с изломом в плане под углами βх.к.1 и βх.к.2 стреловидного отклонения от плоскости, нормальной к плоскости симметрии самолета, участков хвостовой кромки крыла до и после точки излома, определенными в диапазонах значений βх.к.1=(0,14÷0,20)[рад], βх.к.2=(0,31÷0,43)[рад], где βx.к.1 - угол отклонения в плане от упомянутой плоскости участка хвостовой кромки от фюзеляжа до точки излома кромки длиной Lx.к.1; βх.к.2=(βх.к.1+Δβх.к.) [рад], где βх.к.2 - то же, угол отклонения участка хвостовой кромки от точки излома до ВЗК длиной Lx.к.2; Δβх.к. - угол между пролонгированными участками линии кромки до и после точки излома хвостового контура крыла в плане; при этом крыло самолета включает несущую конструкцию с каркасом в виде кессона и систему поверхностей управления аэродинамическим качеством крыла, представляющую механизацию крыла и включающую предкрылки, закрылки, тормозные щитки, элероны, интерцепторы, подвижно прикрепленные к несущим конструкциям кессона крыла и подключенные к исполнительным механизмам системы управления механизацией крыла с возможностью выполнения пространственных эволюций изменения аэродинамического качества крыла на разных этапах полета; причем несущая конструкция крыла включает жестко соединенные центроплан (ЦЧК) и симметричные герметично примыкающие к нему через неразъемный в эксплуатации стыковой узел (условно не показано) левую и правую консоли полукрыла; каждая из консолей состоит из двух частей, неразъемной консольной части (КЧК) крыла, герметично примыкающей к центроплану, и соединенной с ней в каждом полукрыле через разъемный стыковой узел отъемной части ОЧК; указанные части крыла выполнены с соотношением длин, определенным в диапазонах значений (ЦЧК):(КЧК):(ОЧК)=1:(2,93÷4,14):(0,67÷0,95); при этом силовой каркас кессона указанных частей крыла образован из элементов продольного и поперечного наборов, продольный набор силового каркаса кессона каждой из указанных частей крыла образован из ориентированных по размаху крыла элементов и включает, по меньшей мере, передний и задний лонжероны, а также жестко связанные с ними в составе ЦЧК, КЧК и ОЧК верхнюю и нижнюю силовые обшивки, выполненные из панелей, усиленных стрингерами продольного набора, размещенными в пределах указанных частей крыла с шаговой частотой, определенной в диапазоне γш.ч.ст.=(4,64÷6,55)(5.46) [ед./п.м.]; поперечный набор каркаса кессона указанных частей крыла состоит из нервюр, установленных между передним и задним лонжеронами и выполненных в КЧК и ОЧК с уменьшением длины Lн. и высоты миделя Нм.н. каждой последующей более удаленной от фюзеляжа нервюры в функции от уменьшения высоты Hм.к.i. миделя Lн.i;=f(Bк.i.; Lк.i.) и ширины Вк аэродинамического профиля Lк.i. кессона Hм.н.i.=f(Hм.к.i.; Lк.i.), причем поперечный набор кессона крыла составляют нервюры, формирующие с обшивками аэродинамический профиль крыла, каждая консоль крыла содержит нервюры в количестве, определенном в диапазоне значений Nn=(40÷50) с уменьшением высоты минимального миделя периферийной нервюры ОЧК относительно высоты миделя бортовой нервюры в Nм.n. раз, что количественно определено в диапазоне относительных значений из выражения Nн.м.n.=Hmaxм.n.кчк/Hmin м.n.очк=(5,99÷8,47) раз.

2. Крыло самолета по п. 1, отличающееся тем, что соотношение длин Lx.к.1 и Lx.к.2 участков хвостовой кромки крыла определено в диапазоне значений Lx.к.1:Lx.к.2=(0,44÷0,61), где Lx.к.1 - длина хвостовой кромки от фюзеляжа до точки излома указанной кромки в плане; Lx.к.2 - то же, длина участка хвостовой кромки крыла от точки излома в плане до ВЗК; кроме того, часть площади ΔF1 полуразмаха крыла в плане в проекции на базовую плоскость крыла, считая от борта фюзеляжа до условной плоскости, параллельной вертикальной плоскости симметрии самолета и проходящей через точку излома хвостовой кромки крыла, соотносится с площадью ΔF2 периферийной части полуразмаха крыла, расположенной за точкой излома упомянутой кромки, как NΔF1/ΔF2=1,0(±4,7%)÷1,0(±4,7%), а безразмерная величина Fочк/кчк отношения площадей Fочк и Fкчк несущей части кессона полукрыла в плане определена в диапазоне значений Fочк/кчк=Fочк:Fкчк=(0,84÷1,18)×10-1; при этом относительная площадь ΔFa.п.к. аэродинамической поверхности несущей части крыла (кессона) в плане составляет ψ=ΔFa.п.к/Fo.п.к. (0,43÷0,61) от общей поверхности Fо.п.к. крыла, создающей аэродинамическую подъемную силу и включающей суммарную площадь ΔFп.у.а.к. поверхностей элементов управления аэродинамическим качеством крыла, непосредственно участвующих в создании аэродинамической подъемной силы в полете самолета, здесь Fо.п.к.=(ΔFa.п.к.+ΔFп.y.a.к.); в поперечный набор кессона крыла входят нервюры кессона, которые подразделяют на силовые, нервюры-перегородки, нервюры ограниченного перетекания топлива и рядовые; а также Nб.ц. балок центроплана в количестве Nб.ц.=(4÷8), установленных параллельно оси самолета; при этом нервюры размещены между передним и задним лонжеронами и выполнены в КЧК и ОЧК с уменьшением длины Lн. миделя Нм.н. последующих нервюр по мере удаления от фюзеляжа и высоты относительно аэродинамического профиля крыла максимально на двойную высоту стрингеров панелей обшивок кессона крыла.

3. Кессон крыла самолета, характеризующийся тем, что наделен функцией несущей части крыла, имеет силовой каркас коробчатого типа, выполнен сборным по количеству технологических узлов крыла и включает узел центральной части крыла (ЦЧК) - центроплан, который смонтирован за одно целое с фюзеляжем и жестко герметично соединен с составным кессоном левой и правой консолей крыла, каждая из которых включает эксплуатационно неразъемную с кессоном центроплана часть крыла (КЧК), разъемно соединенную с отъемной частью крыла (ОЧК), наделенной смонтированным на периферийном конце технологическим узлом вертикальной законцовки крыла (ВЗК); соотношение длин указанных модулей принято в диапазоне значений (ЦЧК):(КЧК):(ОЧК)=1:(2,93÷4,14):(0,67÷0,95); указанные части кессона соединены по размаху крыла через технологические стыки не менее, чем двумя передним и задним силовыми лонжеронами; при этом прямоугольный в плане кессон ЦЧК выполнен с соотношением сторон B/L, определенным в диапазоне B/L=(0,77÷1,09), где В - размер центроплана по длине фюзеляжа [м]; L - то же, по размаху крыла; силовой каркас кессонов указанных модулей несущей части крыла образован элементами продольного и поперечного наборов, в первый из которых входят упомянутые передний и задний лонжероны и усиленные стрингерами профилированные панели верхней и нижней обшивок, образующие участки суперкритического аэродинамического профиля несущей части крыла; а силовой каркас ЦЧК дополнительно включает от трех до семи промежуточных лонжеронов; а поперечный набор силовых элементов каркаса кессонов содержит нервюры, формирующие указанный профиль несущей части крыла, выполненные в виде балок, соединенных поясами с верхней и нижней обшивками кессона через стрингеры, и установленные с ними через один дискретные межстрингерные компенсаторы, ориентированные по оси нервюры; причем в поперечном наборе использованы следующие дифференцированные по степени полифункциональности назначения, нагруженности и конструктивному исполнению типы нервюр: силовые, нервюры-перегородки, нервюры ограниченного перетекания топлива в секционированном топливном баке в ЦЧК и КЧК и рядовые нервюры; а панели обшивки продольного силового набора кессона выполнены переменной толщины по длине и с чередованием участков различной толщины в направлении по хорде крыла с образованием на внутренней стороне обшивки продольных корытообразных уменьшений толщины под стрингеры и нормальных к ним расположенных между стрингерами поперечных внутренних утолщений обшивки по оси нервюр, при этом кессон выполнен переменной высоты и ширины по размаху консоли крыла, выраженной по осям переднего и заднего лонжеронов КЧК и ОЧК, с характерными точками по торцам нервюр, осредненными градиентами уменьшения высоты от фюзеляжа к ВЗК Gн.л.п.=(Hmax л.п.-Hmin л.п.)/Lл.п.=(3,1÷4,4)×10-2 [м/м] и Gн.л.з.=(Hmax л.з.-Hmin л.з.)/Lл.з.=(2,9÷4,1)×10-2 [м/м], где Hmax л.п. и Hmin л.п. - максимальная и минимальная высота [м] переднего лонжерона соответственно у фюзеляжа самолета и у периферийного конца ОЧК [м]; Hmax л.з. Hmin л.з. - то же, высота [м] заднего лонжерона у периферийного конца ОЧК; Lл.п. и Lл.з. - соответственно длина [м] переднего и заднего лонжеронов в пределах (КЧК + ОЧК); и градиентом уменьшения ширины кессона (схождения лонжеронов) Gш.к.=(Вш.к. maxш.к. min)/Lк.=(0,126÷0,177)0,148 [м/м], где Вк.max - максимальная ширина [м] кессона у фюзеляжа; Вк. min - минимальная высота [м] лонжерона у периферийного конца ОЧК; Lк. - длина кессона Lк.=(LКЧК+LОЧК) [м] в установочной плоскости крыла.

4. Кессон крыла самолета по п. 3, отличающийся тем, что кессон КЧК состыкован с кессоном ОЧК с сопряжением состыкованных участков заднего лонжерона в одну прямую линию или вариантно с микроотклонениями в плане оси корневого участка заднего лонжерона в пределах КЧК на угол до η1,з.л.≤-6,9×10-2 [рад] относительно направления полета и с образованием микроизлома оси заднего лонжерона в плане в точке соединения ОЧК с КЧК на угол в интервале до η2,з.л.≤+5,2×10-2 [рад].

5. Центральная часть крыла самолета - центроплан, характеризующийся тем, что силовой каркас центроплана выполнен в виде кессона, собранного за одно целое с фюзеляжем самолета, вмонтирован в нижнюю половину высоты фюзеляжа, с которым соединен внахлестку приконцевой частью переднего и заднего лонжеронов с концевыми элементами силовых шпангоутов, выполненными в виде плоских плит, примыкающих с внешней стороны к стенке лонжерона, кроме того, кессон ЦЧК вписан в уступ верхнего пояса и соответствующей части стенки расположенных под ним двух продольных балок фюзеляжа на глубину перепада высот балок, не менее высоты кессона ЦЧК, размещаемого в зоне указанного перепада высот без превышения высотного промежутка над конструкцией гермоднища в центральном отсеке салона самолета; причем кессон ЦЧК крыла самолета имеет прямоугольную в плане конфигурацию, выполнен с превышением длины Lц.ч.к. по размаху крыла над шириной Bц.ч.к. в N=L ц.ч.к./Вц.ч.к.=(1,05÷1,17) раз и включает жестко связанные с образованием перекрестной силовой рамы продольный (по размаху крыла) и поперечный силовые наборы, в первый из которых, продольный по размаху крыла, входят передний и задний лонжероны, а также расположенные между ними с шаговой частотой γл ≥(0,92÷1,38) [ед./м.п.] от трех до семи промежуточных (дополнительны) лонжеронов ЦЧК; а второй из указанных поперечный набор силового каркаса ЦЧК включает не менее трех силовых нервюр, средняя из которых совмещена с плоскостью симметрии самолета, разрезана промежуточными лонжеронами на количество отсеков, превышающее на единицу число промежуточных лонжеронов ЦЧК и состыкованных торцами крайних секций нервюры силовыми соединениями с передним и задним лонжеронами ЦЧК, и остальными торцами секций, включая промежуточные, соответственно со всеми промежуточными лонжеронами ЦЧК; две крайних нервюры ЦЧК совмещены с левым и правым бортами фюзеляжа; крайние лонжероны и нервюры жестко соединены по контуру кессона ЦЧК с панелями верхней и нижней обшивок, выполненных переменной толщины δоб. от минимальной δmin об. у переднего до максимальной δmax об. у заднего лонжерона, удовлетворяющих условию δmax об. ≥1,2 δmin об; панели обшивок выполнены сборно-монолитными и наделены погонажными элементами продольного силового набора (по размаху крыла) с образованием комбинированной конструкции в виде обшивки, жестко соединенной со стрингерами, расположенными между промежуточными и крайними лонжеронами ЦЧК с шаговой частотой γст.цчк, определенной в диапазоне значений γст.цчк=(4,39÷6,19) [ед./м.п.], ориентированных параллельно лонжеронам ЦЧК и увеличивающих общую и местную жесткость, момент инерции панелей каркаса ЦЧК и несущую способность каркаса на величину, достаточную для восприятия и обеспечения необходимого превышения несущей способности на расчетные сочетания максимальных статических и динамических нагрузок на крыло с запасом прочности не менее чем в 1,2 раза; при этом кессон ЦЧК включает ориентированные по размаху крыла передний и задний лонжероны ЦЧК из состава продольного силового набора кессона крыла и от трех до семи промежуточных лонжеронов; выполненный заедино с фюзеляжем кессон ЦЧК жестко соединен силовыми элементами стыков с левой и правой неотъемными в эксплуатации консольными частями крыла (КЧК), каждая из которых разъемно соединена по размаху крыла с отъемной частью крыла (ОЧК).

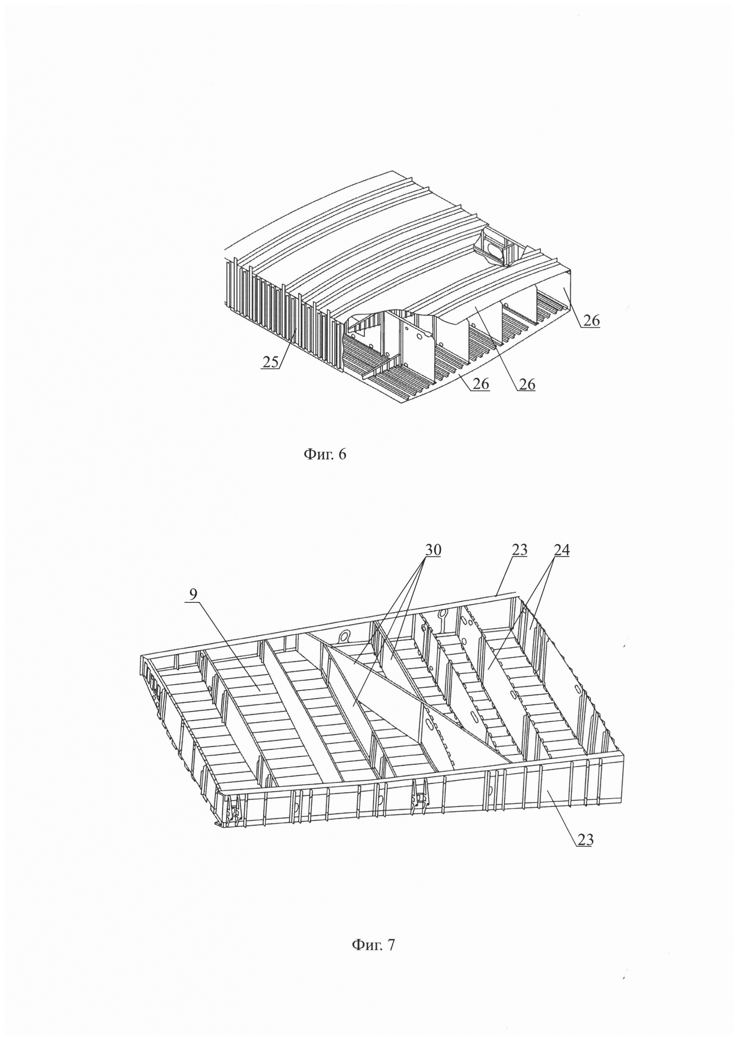
6. Лонжерон, характеризующийся тем, что выполнен в качестве передней неразрезной трехпролетной несущей балки кессона крыла, средний пролет которого оперт по границам центральной части крыла (ЦЧК), в зоне бортовых нервюр, совмещенных с фюзеляжем на силовые шпангоуты фюзеляжа; при этом центральный пролет лонжерона торцами через жесткие стыки соединен с левым и правым консольными участками лонжерона силового каркаса кессона консолей крыла, каждая из которых содержит участок консольной части крыла (КЧК), неразъемно в эксплуатации состыкованный с центральным участком переднего лонжерона ЦЧК и разъемно состыкованный с участком переднего лонжерона отъемной части крыла (ОЧК); по размаху крыла лонжерон в пределах каждой из указанных частей крыла выполнен непрерывной длины, а длины Lл.цчк, Lл. кчк, Lл. очк участков лонжерона в составе продольного силового набора каждой части крыла определены в диапазоне соотношений Lцчк:Lкчк:Lочк=1:(3,1÷4,38):(0,77÷1,09); в поперечном сечении лонжерон имеет форму составного швеллера, включающего стенку в виде пластины, подкрепленной жестко соединенными с ней стойками уголкового и Z-образного профиля включительно, расположенными с двух сторон стенки лонжерона с взаимным смещением на часть шага последних и обрамленными верхним и нижним поясами, которые выполнены сборными из погонажных элементов несимметричного уголкового профиля с переменной по длине лонжерона площадью поперечного сечения и соотношением высоты и ширины полок элементов поясов на большей части длины лонжерона, указанные элементы поясов жестко соединены внахлестку своей вертикальной стенкой со стенкой лонжерона, а полка уголкового элемента каждого упомянутого пояса обращена внутрь кессона и адаптивно отклонена от горизонтали до сопряжения соответственно с верхней или нижней обшивкой кессона; при этом по размаху крыла стенка лонжерона консолей крыла выполнена переменной высоты, уменьшающейся от фюзеляжа самолета к вертикальной законцовке крыла (ВЗК) с осредненным градиентом GНл, определенным в диапазоне значений GНл=(Hmax л.-Hmin л.)/Lл.=(3,1÷4,4)×10-2 [м/м], где Hmax л. - максимальная высота переднего лонжерона у фюзеляжа самолета [м]; Hmin л - то же, минимальная высота у ВЗК, а Lл. - суммарная длина (Lкчк+Lочк); в пределах каждого консольного технологического узла крыла (КЧК, ОЧК) стенка лонжерона выполнена в виде пластины квазитрапецеидальной формы с короткими торцами высотой Hmax и Hmin и длинными верхней и нижней сторонами в пределах КЧК и ОЧК; отношение высот торцов лонжерона в КЧК определено в диапазоне значений Hmax кчк:Hmin кчк=(3,45÷4,88) и в ОЧК Hmax очк:Hmin очк=(1,11÷1,57); кроме того, с внутренней стороны стенка переднего лонжерона по всей длине кессона жестко соединена с ответными торцами нервюр, расположенных на передней четверти длины лонжерона, считая от борта фюзеляжа с веерообразным пошаговым изменением угла αу.п.к. наклона оси нервюры к установочной плоскости крыла (УПК) в плане от αу.п.к. max=(π/2+ϕу.п.к.)=(1,66÷2,34) [рад] до αу.п.к. min=(π/2), а на остальной части длины крыла нервюры расположены нормально к УПК и пристыкованы к стенке лонжерона; при этом лонжерон в качестве продольного силового элемента кессона крыла жестко соединен с панелями верхней и нижней силовых обшивок кессона, усиленных стрингерами продольного силового набора.

7. Лонжерон по п. 6, отличающийся тем, что лонжерон по длине жестко соединен с конструкцией носовой части крыла с возможностью восприятия нагрузок от предкрылка через винтовые механизмы, систему опор кареток и непосредственного восприятия аэродинамических нагрузок от набегающего потока, передаваемых через верхнюю и нижнюю обшивки носовой части крыла при выпущенном предкрылке, а также через балку носовой части крыла и систему редукторов и опор винтовых механизмов и кареток предкрылка, прикрепленных каждая к лонжерону через опорные стойки стенки последнего; причем в стенке лонжерона может быть выполнено не менее 11 отверстий для пропуска свободных концов силового винта и не менее 20 проемов для пропуска свободных концов рельсов механизации предкрылка; проемы под силовые винты снабжены по контуру жестким двухсторонним компенсационным обрамлением, внешнее из которых наделено парой проушин для шарнирной установки редуктора упомянутого винта механизации предкрылка, и с внутренней стороны кессона кожухом, герметично закрывающим полость кессона в зоне рабочих колебаний свободного конца винта; а упомянутые проемы для пропуска через стенку лонжерона концов рельсов механизации предкрылка снабжены по контуру компенсационным силовым обрамлением стенки лонжерона и с внутренней стороны, обращенной в полость кессона, наделены каждый герметичным кожухом; кроме того, на части длины крыла, следующей за участком веерообразного расположения нервюр, нервюры пристыкованы к стенке заднего лонжерона нормально к УПК со средней шаговой частотой γн.л., определенной в диапазоне значений γн.л.=Nн/LΔл (1,26÷1,77) [ед/м.], где LΔл - часть длины переднего лонжерона КЧК, следующей за участком веерообразного расположения нервюр, плюс полная длина переднего лонжерона ОЧК; Nн - общее количество нервюр на указанном суммарном участке переднего лонжерона; при этом толщина стенки участков лонжерона в КЧК и ОЧК выполнена переменной с незначительным общим уменьшением по размаху КЧК и существенными местными увеличениями толщины до двух и более раз в зонах приложения сосредоточенных нагрузок от пилонов двигателей и в зонах прикрепления к стенке элементов средств механизации передней части крыла (кареток, вала трансмиссии и вырезов под рельсы и винтовые механизмы приводов секций предкрылка) относительно средней расчетной толщины в том же участке длины стенки.

8. Лонжерон, характеризующийся тем, что выполнен в качестве задней консольной балки по размаху крыла самолета в составе продольного набора силовых элементов кессона и состоит из состыкованных частей технологической сборки крыла, а именно центральной части (ЦЧК), и входящих в состав консолей каждого полукрыла, включая лонжерон консольной части крыла (КЧК), неразъемно в эксплуатации состыкованный с задним лонжероном ЦЧК и разъемно состыкованный с задним лонжероном отъемной части крыла (ОЧК); по размаху крыла задний лонжерон выполнен непрерывной длины в пределах каждой из указанных частей крыла, а длины Lл.цчк, Lл.кчк, Lл.очк участков лонжерона в составе продольного силового набора каждой части крыла определены в диапазоне соотношений Lцчк:Lкчк:Lочк=1:(2,93÷4,14):(0,67÷0,95); в поперечном сечении задний лонжерон имеет форму составного швеллера, стенка которого выполнена в виде пластины, и для повышения местной и общей устойчивости укреплена с двух сторон жестко соединенными с ней вертикальными стойками, в том числе уголкового и Z-образного профиля включительно, расположенными со взаимным смещением на часть шага последних; стенка лонжерона обрамлена верхним и нижним поясами, которые обращены в кессон навстречу ответным полкам переднего лонжерона, выполнены сборными из погонажных элементов несимметричного уголкового профиля с переменными по длине лонжерона площадью поперечного сечения и соотношением высоты и ширины полок элементов поясов на большей части длины лонжерона, указанные элементы поясов жестко соединены внахлестку своей вертикальной стенкой со стенкой лонжерона, а полка уголкового элемента каждого упомянутого пояса лонжерона адаптивно отклонена от горизонтали до сопряжения соответственно с верхней или нижней обшивкой кессона; при этом по размаху крыла стенка лонжерона выполнена переменной высоты, уменьшающейся в пределах каждого консольного технологического узла крыла (КЧК, ОЧК), соответственно в КЧК от фюзеляжа самолета до стыка с ОЧК и в пределах ОЧК от стыка с КЧК до стыка с вертикальной законцовкой крыла (ВЗК), в которых имеет форму трапецеидальной пластины с короткими торцами соответственно высотой Hmax л. кчк и Hmin л. кчк, а также Hmax л. очк и Hmin л. очк и с длинными верхней и нижней сторонами в пределах каждого указанного технологического узла КЧК и ОЧК; отношение высот торцов лонжерона в пределах КЧК определено в диапазоне значений Hmax л. кчк:Hmin л. кчк=(3,12÷4,40), а в пределах ОЧК определено в диапазоне значений Hmax л. очк:Hmin л. очк=(1,25÷1,76), при этом указанные части заднего лонжерона выполнены с осредненными градиентами изменения высоты стенок по размаху крыла GHл кчк, в том числе для КЧК с градиентом, определенным в диапазоне значений GH л кчк=(Hmax л. кчк-Hmin л. кчк)/Lл. кчк=(2,9÷4,1)×10-2 [м/м], где Hmax л кчк. - максимальная высота заднего лонжерона КЧК у фюзеляжа самолета [м]; Hmin л кчк - то же, минимальная высота лонжерона КЧК у стыка с ОЧК; Lл кчк. - длина заднего лонжерона КЧК; и для ОЧК с осредненным градиентом GHл очк, определенным в диапазоне значений GH л очк=(Hmax л. очк-Hmin л. очк)/Lл. кчк=(0,015÷0,022), где Hmax л очк. - максимальная высота заднего лонжерона у стыка с КЧК [м]; Hmin л очк - то же, минимальная высота заднего лонжерона у стыка с ВЗК, а Lл очк. - длина заднего лонжерона ОЧК; кроме того, с внутренней стороны стенка переднего лонжерона по всей длине кессона жестко соединена с ответными торцами нервюр.

9. Лонжерон по п. 8, отличающийся тем, что, являясь одним из главных элементов продольного силового набора кессона крыла, жестко соединен с панелями верхней и нижней силовых обшивок кессона, усиленных стрингерами указанного продольного силового набора, а также жестко соединен по длине с опорными конструкциями системы элементов механизации хвостовой части крыла (закрылков, элеронов, интерцепторов, тормозных щитков); при этом механизм совершения пространственных эволюций в диапазоне «закрылок убран» - «закрылок выпущен» выполнен с возможностью передачи нагрузок от подвески элементов управления аэродинамическим качеством крыла, в том числе механизм перемещений среднего закрылка выполнен с возможностью передачи нагрузок через подвижную каретку, шарнирно прикрепленную к носовой части закрылка, а сама каретка шарнирно оперта с двух сторон парными группами роликов на реборду балки рельса механизации закрылка, сопряжена со спиралью винта редуктора системы механизации крыла с передачей усилий на пояса и укрепленную внешними силовыми стойками стенку заднего лонжерона; причем толщина стенки лонжерона в КЧК и ОЧК выполнена переменной с незначительным общим уменьшением по размаху крыла и существенными местными увеличениями толщины до двух и более раз в зонах приложения сосредоточенных нагрузок от пилонов двигателей и в зонах прикрепления к стенке элементов средств механизации задней части крыла (рельсы закрылков) относительно средней расчетной толщины на том же участке длины стенки; кроме того, на части длины крыла, следующей за участком веерообразного расположения нервюр, нервюры пристыкованы к стенке заднего лонжерона нормально к УПК со средней относительной шаговой частотой γн.л., определенной в диапазоне значений γн.л.=ΔN/ΔL=(1,19÷1,69)1,41 [ед./м.п.], где ΔN - количество нервюр в кессоне КЧК, расположенных за участком веерообразного расположения нервюр; ΔL - длина участка кессона КЧК с нервюрами, расположенными нормально к УПК.

Описание

[1]

Группа изобретений, связанная единым творческим замыслом, относится к области авиационной техники, а именно, к конструкциям пассажирских и грузовых широкофюзеляжных самолетов и может быть использована в конструкциях крыла, частей крыла - центроплана, консолей, кессона крыла с силовыми наборами, включающими конструкции лонжеронов и нервюр.

[2]

Из уровня техники известно крыло самолета, выполненное стреловидным, включающим центроплан, неотъемную и отъемную консольные части крыла (см. в кн. М.Н. Шульженко «Конструкция самолетов» изд. Машиностроение», М. 1971 г. стр. 78-81.), содержащее силовой каркас с несущими лонжеронами и нервюрами, совместно образующими кессон с тонкими бесстрингерными обшивками (см. там же стр. 80, рис. 2.23).

[3]

Недостатками технических решений такого крыла и его силовых частей являются повышенная материало- и трудоемкость изготовления конструктивных узлов, низкая собственная жесткость обшивок крыла, что чревато повышенной повреждаемостью в виде местных вмятин в эксплуатации и повышенные трудности технического обслуживания крыла ЛА в эксплуатации при проведении ремонтных операций. Из уровня техники известна конструкция крыла ЛА, содержащего каркас в виде кессона с наборами силовых элементов и панелями обшивок, состоящего из корневой и концевой частей, последние из которых выполнены из слоистого композиционного материала (см. патент RU 2191137, В64С, опубл. 20.10.2002).

[4]

К недостаткам данного технического решения относятся невысокие технико-экономические и эксплуатационные показатели крыла.

[5]

Из уровня техники известно также стреловидное крыло самолета, состоящее из центроплана, левой и правой консолей крыла и содержащее силовой каркас в виде кессона, образованного из элементов продольного и поперечного силовых наборов; продольный силовой набор включает лонжероны, и стрингеры, жестко связанные с панелями обшивок крыла; поперечный силовой набор кессона крыла включает нервюры, при этом крыло содержит секционированный топливный бак, носовую и хвостовую части и механизацию крыла, включающую, подвижно прикрепленные к переднему лонжерону левый и правый секционированные предкрылки, закрылки, элероны, интерцепторы и тормозные щитки (см. патент RU 2557638 С1).

[6]

К недостаткам данного технического решения относятся относительно невысокая проработанная область применения крыла, конструкция которого предназначена для среднемагистральных самолетов, а точечные значения параметров существенно сужает область, оставляя нераскрытыми в изобретении значения соответствующих параметров крыла для широкофюзеляжных дальнемагистральных самолетов.

[7]

Задача, решаемая заявленной группой изобретений, заключается в разработке и совершенствовании конструкции крыла для широкофюзеляжных дальнемагистральных самолетов, повышении технико-экономических и эксплуатационных характеристик, а также безопасности и надежности полетов.

[8]

Поставленная задача в части крыла решается тем, что крыло самолета выполнено стреловидным в плане и снабжено по концам «вертикальной» законцовкой крыла (ВЗК) с углом αл.к. стреловидного отклонения линии вершин лобовой кромки (носиков) крыла от плоскости, нормальной к плоскости симметрии самолета, определенным в диапазоне значений αл.к.=(0,47÷0,66) [рад]; хвостовая кромка консольной части крыла выполнена с изломом в плане под углами βx.к.1 и βх.к.2 стреловидного отклонения от плоскости, нормальной к плоскости симметрии самолета, участков хвостовой кромки крыла до и после точки излома, определенными в диапазонах значений βx.к.1=(0,14÷0,20) [рад], βх.к.2=(0,3÷0,43) [рад], где βх.к.1 - угол отклонения в плане от упомянутой плоскости участка хвостовой кромки от фюзеляжа до точки излома кромки длиной Lx.к.1; βх.к.2=(βх.к.1+Δβх.к.) [рад], где βх.к.2 - то же, угол отклонения участка хвостовой кромки от точки излома до ВЗК длиной Lx.к.2; Δβх.к. - угол между пролонгированными участками линии кромки до и после точки излома хвостового контура крыла в плане; при этом крыло самолета включает несущую конструкцию с каркасом в виде кессона и систему поверхностей управления аэродинамическим качеством крыла, представляющую механизацию крыла, и включающую предкрылки, закрылки, тормозные щитки, элероны, интерцепторы, подвижно прикрепленные к несущим конструкциям кессона крыла и подключенные к исполнительным механизмам системы управления механизацией крыла с возможностью выполнения пространственных эволюций изменения аэродинамического качества крыла на разных этапах полета; причем несущая конструкция крыла включает жестко соединенные - центроплан (ЦЧК) и симметричные герметично примыкающие к нему через неразъемный в эксплуатации стыковой узел (условно не показано) левую и правую консоли полукрыла; каждая из консолей состоит из двух частей, неразъемной консольной части (КЧК) крыла, герметично примыкающей к центроплану, и соединенной с ней в каждом полукрыле через разъемный стыковой узел отъемной частью ОЧК; указанные части крыла выполнены с соотношением длин, определенным в диапазонах значений (ЦЧК):(КЧК):(ОЧК)=1:(2,93÷4,14):(0,67÷0,95); при этом силовой каркас кессона указанных частей крыла образован из элементов продольного и поперечного наборов; продольный набор силового каркаса кессона каждой из указанных частей крыла образован из ориентированных по размаху крыла элементов и включает, по меньшей мере, передний и задний лонжероны, а также жестко связанные с ними в составе ЦЧК, КЧК и ОЧК верхнюю и нижнюю силовые обшивки, выполненные из панелей, усиленных стрингерами продольного набора размещенными в пределах указанных частей крыла с шаговой частотой, определенной в диапазоне γш.ч.ст.=(4,64÷6,55) [ед/п.м.]; поперечный набор каркаса кессона указанных частей крыла состоит из нервюр, установленных между передним и задним лонжеронами и выполненных в КЧК и ОЧК с уменьшением длины Lн. и высоты миделя Нм.н. каждой последующей более удаленной от фюзеляжа нервюры в функции от уменьшения высоты Нм.к.i. миделя Lн.i;=f(Bк.i.; Lк.i.) и ширины Вк аэродинамического профиля Lк.i. кессона Hм.н.i.=f(Hм.к.i.; Lк.i.), причем поперечный набор кессона крыла составляют нервюры, формирующие с обшивками аэродинамический профиль крыла, каждая консоль крыла содержит нервюры в количестве, определенном в диапазоне значений Nn=(40÷50), с уменьшением высоты минимального миделя периферийной нервюры ОЧК относительно высоты миделя бортовой нервюры в Nм.n. раз, что количественно определено в диапазоне относительных значений из выражения Nн.м.n.=Hmax м.n. кчк/Hmin м.n. очк=(5,99÷8,47) раз; при этом соотношение длин Lx.к.1 и Lx.к.2 участков хвостовой кромки крыла самолета может быть определено в диапазоне значений Lx.к.1:Lx.к.2=(0,44÷0,61), где Lx.к.1 - длина хвостовой кромки от фюзеляжа до точки излома указанной кромки в плане; Lx.к.2 - то же, длина участка хвостовой кромки крыла от точки излома в плане до ВЗК; кроме того часть площади ΔF1 полуразмаха крыла в плане в проекции на базовую плоскость крыла, считая от борта фюзеляжа до условной плоскости, параллельной вертикальной плоскости симметрии самолета и проходящей через точку излома хвостовой кромки крыла, может соотноситься с площадью ΔF2 периферийной части полуразмаха крыла, расположенной за точкой излома упомянутой кромки, как NΔF1/ΔF2=1,0 (±4,7%)÷1,0 (±4,7%), а безразмерная величина Fочк/кчк отношения площадей Fочк и Fкчк несущей части кессона полукрыла в плане может быть определена в диапазоне значений Fочк/кчк=Fочк:Fкчк=(0,84÷1,18)×10-1; при этом относительная площадь ΔFa.п.к. аэродинамической поверхности несущей части крыла (кессона) в плане может составлять ψ=ΔFa.п.к/Fo.п.к.=(0,43÷0,61)0,51от общей поверхности Fo.п.к. крыла, создающей аэродинамическую подъемную силу и включающей суммарную площадь ΔFп.y.a.к. поверхностей элементов управления аэродинамическим качеством крыла, непосредственно участвующих в создании аэродинамической подъемной силы в полете самолета, здесь Fo.п.к.=(ΔFa.п.к.+ΔFп.y.a.к.); в поперечный набор кессона крыла могут входить нервюры кессона, которые могут быть подразделены на силовые, нервюры - перегородки, нервюры ограниченного перетекания топлива и рядовые; а также Nб.ц. балок центроплана в количестве Nб.ц.=(3÷7), установленных параллельно оси самолета; при этом нервюры могут быть размещены между передним и задним лонжеронами и выполнены в КЧК и ОЧК с уменьшением длины Lн. миделя Нм.н. последующих нервюр по мере удаления от фюзеляжа и высоты относительно аэродинамического профиля крыла максимально на двойную высоту стрингеров панелей обшивок кессона крыла.

[9]

Поставленная задача в части кессона крыла самолета решается тем, что кессон наделен функцией несущей части крыла, имеет силовой каркас коробчатого типа, выполнен сборным по количеству технологических узлов крыла и включает узел центральной части крыла (ЦЧК) - центроплан, который смонтирован за одно целое с фюзеляжем, и жестко герметично соединен с составным кессоном левой и правой консолей крыла, каждая из которых включает эксплуатационно неразъемную с кессоном центроплана часть крыла (КЧК), разъемно соединенную с отъемной частью крыла (ОЧК), наделенной смонтированным на периферийном конце технологическим узлом «вертикальной» законцовки крыла (ВЗК); соотношение длин указанных модулей принято в диапазоне значений (ЦЧК):(КЧК):(ОЧК)=1:(2,93÷4,14):(0,67÷0,95); указанные части кессона соединены по размаху крыла через технологические стыки не менее, чем двумя передним и задним силовыми лонжеронами; при этом прямоугольный в плане кессон ЦЧК выполнен с соотношением сторон B/L, определенным в диапазоне B/L=(0,77÷1,09), где В - размер центроплана по длине фюзеляжа [м], L - то же, по размаху крыла; силовой каркас кессонов указанных модулей несущей части крыла образован элементами продольного и поперечного наборов, в первый из которых входят упомянутые передний и задний лонжероны и усиленные стрингерами профилированные панели верхней и нижней обшивок, образующие участки суперкритического аэродинамического профиля несущей части крыла; а силовой каркас ЦЧК дополнительно включает от трех до семи промежуточных лонжеронов; а поперечный набор силовых элементов каркаса кессонов содержит нервюры, формирующие указанный профиль несущей части крыла, выполненные в виде балок, соединенных поясами с верхней и нижней обшивками кессона через стрингеры и установленные с ними через один дискретные межстрингерные компенсаторы, ориентированные по оси нервюры; причем в поперечном наборе использованы следующие дифференцированные по степени полифункциональности назначения, нагруженности и конструктивному исполнению типы нервюр: - силовые, нервюры-перегородки, нервюры ограниченного перетекания топлива в секционированном топливном баке в ЦЧК и КЧК и рядовые нервюры; а панели обшивки продольного силового набора кессона выполнены переменной толщины по длине и с чередованием участков различной толщины в направлении по хорде крыла с образованием на внутренней стороне обшивки продольных корытообразных уменьшений толщины под стрингеры и нормальных к ним расположенных между стрингерами поперечных внутренних утолщений обшивки по оси нервюр; при этом кессон выполнен переменной высоты и ширины по размаху консоли крыла, выраженной по осям переднего и заднего лонжеронов КЧК и ОЧК, с характерными точками по торцам нервюр, осредненными градиентами уменьшения высоты от фюзеляжа к ВЗК

[10]

Gн.л.п.=(Hmax л.п.-Hmin л.п.)/Lл.п.=(3,1÷4,4)×10-2 [м/м] и

[11]

Gн.л.з.=(Hmax л.з.-Hmin л.з.)/Lл.з.=(2,9÷4,1)×10-2 [м/м], где

[12]

Hmax л.п. и Hmin л.п.- максимальная и минимальная высота [м] переднего лонжерона, соответственно у фюзеляжа самолета и у периферийного конца ОЧК [м]; Hmax л.з. Hmin л.з. - то же, высота [м] заднего лонжерона у периферийного конца ОЧК; Lл.п. и Lл.з. - соответственно длина [м] переднего и заднего лонжеронов в пределах (КЧК + ОЧК); и градиентом уменьшения ширины кессона (схождения лонжеронов)

[13]

Gш.к.=(Вш.к. maxш.к. min)/Lк.=(0,126÷0,177) [м/м]; где

[14]

Вк.max - максимальная ширина [м] кессона у фюзеляжа; Вк. min - минимальная высота [м] лонжерона у периферийного конца ОЧК; Lк. - длина кессона Lк.=(LКЧК+LОЧК) [м] в установочной плоскости крыла.

[15]

Кессон крыла самолета может включать состыкованные кессон КЧК с кессоном ОЧК с сопряжением состыкованных участков заднего лонжерона в плане в одну прямую линию или вариантно с микроотклонениями оси корневого участка заднего лонжерона в пределах КЧК на угол до η1,з.л.≤-6,9×10-2 (-40) [рад] относительно направления полета с образованием микроизлома оси заднего лонжерона в плане в точке соединения ОЧК с КЧК на угол до η2,з.л.≤+5,2×10-2 [рад].

[16]

Поставленная задача группы изобретений, связанных единым творческим замыслом в части центроплана решается тем, что центральная часть крыла самолета - центроплан, силовой каркас которого выполнен в виде кессона, собранного за одно целое с фюзеляжем самолета, вмонтирован в нижнюю половину высоты фюзеляжа, с которым соединен внахлестку приконцевой частью переднего и заднего лонжеронов с концевыми элементами силовых шпангоутов, выполненными в виде плоских плит, примыкающих с внешней стороны к стенке лонжерона; кроме того кессон ЦЧК вписан в уступ верхнего пояса и соответствующей части стенки расположенных под ним двух продольных балок фюзеляжа на глубину перепада высот балок, не менее высоты кессона ЦЧК, размещаемого в зоне указанного перепада высот без превышения высотного промежутка над конструкцией гермоднища в центральном отсеке салона самолета; причем кессон ЦЧК крыла самолета имеет прямоугольную в плане конфигурацию, выполнен с превышением длины Lц.ч.к. по размаху крыла над шириной Вц.ч.к.в N=L ц.ч.к./Вц.ч.к. = (1,05÷1,17) раз, и включает жестко связанные с образованием перекрестной силовой рамы продольный (по размаху крыла) и поперечный силовые наборы, в первый из которых, продольный по размаху крыла, входят передний и задний лонжероны, а также расположенные между ними с шаговой частотой γл≥(0,92÷1,38) [ед/м.п.] от трех до семи промежуточных лонжеронов; а второй из указанных поперечный набор силового каркаса ЦЧК включает не менее трех силовых нервюр, средняя из которых совмещена с плоскостью симметрии самолета, разрезана промежуточными лонжеронами на количество отсеков, превышающее на единицу число промежуточных лонжеронов ЦЧК и состыкованных торцами крайних секций нервюры силовыми соединениями с передним и задним лонжеронами ЦЧК, и остальными торцами секций, включая промежуточные, соответственно со всеми промежуточными лонжеронами ЦЧК, а две крайних нервюры ЦЧК совмещены с левым и правым бортами фюзеляжа; крайние лонжероны и нервюры, жестко соединены по контуру кессона ЦЧК с панелями верхней и нижней обшивок, выполненных переменной толщины δоб. от минимальной δmin об. у переднего до максимальной δmax об. у заднего лонжерона, удовлетворяющих условию δmax об.≥1,2 δmin об; панели обшивок выполнены сборно-монолитными и наделены погонажными элементами продольного силового набора (по размаху крыла) с образованием комбинированной конструкции в виде обшивки, жестко соединенной со стрингерами, расположенными между промежуточными и крайними лонжеронами ЦЧК с шаговой частотой γст.цчк, определенной в диапазоне значений γст.цчк = (4,64÷6,55) [ед/м.п.], ориентированных параллельно лонжеронам ЦЧК, и увеличивающих общую и местную жесткость, момент инерции панелей каркаса ЦЧК и несущую способность каркаса, на величину, достаточную для восприятия и обеспечения необходимого превышения несущей способности на расчетные сочетания максимальных статических и динамических нагрузок на крыло с запасом прочности не менее чем в 1,2 раза; при этом кессон ЦЧК включает ориентированные по размаху крыла передний и задний лонжероны ЦЧК из состава продольного силового набора кессона крыла и от трех до семи промежуточных лонжеронов; выполненный заедино с фюзеляжем кессон ЦЧК жестко соединен силовыми элементами стыков с левой и правой неотъемными в эксплуатации консольными частями крыла (КЧК), каждая из которых разъемно соединена по размаху крыла с отъемной частью крыла (ОЧК).

[17]

Поставленная задача группы изобретений, связанных единым творческим замыслом в части (переднего) лонжерона решается тем, что лонжерон выполнен в качестве передней неразрезной трехпролетной несущей балки кессона крыла, средний пролет которой оперт на силовые шпангоуты фюзеляжа по границам центральной части крыла (ЦЧК) в зоне бортовых нервюр, совмещенных с фюзеляжем; при этом центральный пролет лонжерона через жесткие стыки торцами соединен с левым и правым консольными участками лонжерона силового каркаса кессона консолей крыла, каждая из которых содержит участок консольной части крыла (КЧК), неразъемно в эксплуатации состыкованный с центральным участком переднего лонжерона ЦЧК и разъемно состыкованный с участком переднего лонжерона отъемной части крыла (ОЧК); по размаху крыла лонжерон в пределах каждой из указанных частей крыла выполнен непрерывной длины, а длины Lл.цчк, Lл.кчк, Lл.очк участков лонжерона в составе продольного силового набора каждой части крыла определены в диапазоне соотношений Lцчк:Lкчк:Lочк=1:(3,1÷4,38):(0,77÷1,09); в поперечном сечении лонжерон имеет форму составного швеллера, включающего стенку в виде пластины, подкрепленной жестко соединенными с ней стойками уголкового и Z-образного профиля включительно, расположенными с двух сторон стенки лонжерона со взаимным смещением на часть шага последних и обрамленной верхним и нижним поясами, которые выполнены сборными из погонажных элементов несимметричного уголкового профиля с переменной по длине лонжерона площадью поперечного сечения и соотношением высоты и ширины полок элементов поясов на большей части длины лонжерона, указанные элементы поясов жестко соединены внахлестку своей вертикальной стенкой со стенкой лонжерона, а полка уголкового элемента каждого упомянутого пояса обращена внутрь кессона и адаптивно отклонена от горизонтали до сопряжения соответственно с верхней или нижней обшивкой кессона; при этом по размаху крыла стенка лонжерона консолей крыла выполнена переменной высоты, уменьшающейся от фюзеляжа самолета к «вертикальной» законцовке крыла (ВЗК) с осредненным градиентом G, определенным в диапазоне значений G=(Hmax л.-Hmin л.)/Lл.=****(3,1÷4,4)×10-2 [м/м]; где Hmax л. - максимальная высота переднего лонжерона у фюзеляжа самолета [м]; Hmin л - то же, минимальная высота у ВЗК, а Lл. - суммарная длина (Lкчк+Lочк); в пределах каждого консольного технологического узла крыла (КЧК, ОЧК) стенка лонжерона выполнена в виде пластины квазитрапецеидальной формы с короткими торцами высотой Hmax и Hmin и длинными верхней и нижней сторонами в пределах КЧК и ОЧК; отношение высот торцов лонжерона в КЧК определено в диапазоне значений Hmax кчк:Hmin кчк = (3,45÷4,88); и в ОЧК Hmax очк:Hmin очк = (1,11÷1,57); кроме того с внутренней стороны стенка переднего лонжерона по всей длине кессона жестко соединена с ответными торцами нервюр, расположенных на передней четверти длины лонжерона, считая от борта фюзеляжа с веерообразным пошаговым изменением угла αу.п.к. наклона оси нервюры к установочной плоскости крыла (УПК) в плане от αу.п.к. max = (π/2+ϕу.п.к.)=(1,66÷2,34) [рад], до αу.п.к. min=(π/2), а на остальной части длины крыла нервюры расположены нормально к УПК и пристыкованы к стенке лонжерона; при этом лонжерон в качестве продольного силового элемента кессона крыла, жестко соединен с панелями верхней и нижней силовых обшивок кессона усиленных стрингерами продольного силового набора; причем лонжерон по длине может быть жестко соединен с конструкцией носовой части крыла с возможностью восприятия нагрузок от предкрылка через винтовые механизмы, систему опор кареток, и непосредственного восприятия аэродинамических нагрузок от набегающего потока, передаваемых через верхнюю и нижнюю обшивки носовой части крыла при выпущенном предкрылке, а также через балку носовой части крыла и систему редукторов и опор винтовых механизмов и кареток предкрылка, прикрепленных каждая к лонжерону через опорные стойки стенки последнего; причем в стенке лонжерона может быть выполнено не менее 11 отверстий для пропуска свободных концов силового винта и не менее 20 проемов для пропуска свободных концов рельсов механизации предкрылка; проемы под силовые винты снабжены по контуру жестким двухсторонним компенсационным обрамлением, внешнее из которых наделено парой проушин для шарнирной установки редуктора упомянутого винта механизации предкрылка, и с внутренней стороны кессона кожухом, и герметично закрывающим полость кессона в зоне рабочих колебаний свободного конца винта; а упомянутые проемы для пропуска через стенку лонжерона концов рельсов механизации предкрылка снабжены по контуру компенсационным силовым обрамлением стенки лонжерона и с внутренней стороны, обращенной в полость кессона, наделены каждый герметичным кожухом; кроме того на части длины крыла, следующей за участком веерообразного расположения нервюр, нервюры пристыкованы к стенке заднего лонжерона нормально к УПК со средней шаговой частотой γн.л., определенной в диапазоне значений γн.л.=Nн/LΔл (1,26÷1,77)1,48 [ед/м.], где LΔл - часть длины переднего лонжерона КЧК, следующей за участком веерообразного расположения нервюр, плюс полная длина переднего лонжерона ОЧК, Nн - общее количество нервюр на указанном суммарном участке переднего лонжерона; при этом толщина стенки участков лонжерона в КЧК и ОЧК выполнена переменной с незначительным общим уменьшением по размаху КЧК и существенными местными увеличениями толщины до двух и более раз в зонах приложения сосредоточенных нагрузок от пилонов двигателей, и в зонах прикрепления к стенке элементов средств механизации передней части крыла (кареток, вала трансмиссии и вырезов под рельсы и винтовые механизмы приводов секций предкрылка) относительно средней расчетной толщины в том же участке длины стенки.

[18]

Поставленная задача группы изобретений, связанных единым творческим замыслом, в части (заднего) лонжерона решена тем, что лонжерон выполнен в качестве задней консольной балки по размаху крыла самолета в составе продольного набора силовых элементов кессона, и состоит из состыкованных частей технологической сборки крыла, а именно центральной части (ЦЧК) и входящих в состав консолей каждого полукрыла, включая лонжерон консольной части крыла (КЧК), неразъемно в эксплуатации состыкованный с задним лонжероном ЦЧК и разъемно состыкованный с задним лонжероном отъемной части крыла (ОЧК); по размаху крыла задний лонжерон выполнен непрерывной длины в пределах каждой из указанных частей крыла, а длины Lл.цчк, Lл.кчк, Lл.очк участков лонжерона в составе продольного силового набора каждой части крыла определены в диапазоне соотношений Lцчк:Lкчк:Lочк=1:(2,93÷4,14):(0,67÷0,95); в поперечном сечении задний лонжерон имеет форму составного швеллера, стенка которого выполнена в виде пластины, подкрепленной с двух сторон жестко соединенными с ней стойками, в том числе уголкового и Z-образного профиля включительно, расположенными со взаимным смещением на часть шага последних; стенка лонжерона обрамлена верхним и нижним поясами, которые обращены в кессон навстречу ответным полкам переднего лонжерона, выполнены сборными из погонажных элементов несимметричного уголкового профиля с переменными по длине лонжерона площадью поперечного сечения и соотношением высоты и ширины полок элементов поясов на большей части длины лонжерона, указанные элементы поясов жестко соединены внахлестку своей вертикальной стенкой со стенкой лонжерона, а полка уголкового элемента каждого упомянутого пояса лонжерона адаптивно отклонена от горизонтали до сопряжения соответственно с верхней или нижней обшивкой кессона; при этом по размаху крыла стенка лонжерона выполнена переменной высоты, уменьшающейся в пределах каждого консольного технологического узла крыла (КЧК, ОЧК), соответственно в КЧК от фюзеляжа самолета до стыка с ОЧК и в пределах ОЧК от стыка с КЧК до стыка с «вертикальной» законцовкой крыла (ВЗК), в которых имеет форму трапецеидальной пластины с короткими торцами соответственно высотой Hmax л. кчк и Hmin л. кчк, а также Hmax л. очк и Hmin л. очк и с длинными верхней и нижней сторонами в пределах каждого указанного технологического узла КЧК и ОЧК; отношение высот торцов лонжерона в пределах КЧК определено в диапазоне значений Hmax л. кчк : Hmin л. кчк=(3,12÷4,40), а в пределах ОЧК определено в диапазоне значений Hmax л. очк : Hmin л. очк=(1,25÷1,76), при этом указанные части заднего лонжерона выполнены с осредненными градиентами изменения высоты стенок по размаху крыла GH л кчк, в том числе для КЧК с градиентом, определенным в диапазоне значений GH л кчк = (Нmax л. кчк-Hmin л. кчк)/Lл. кчк = (2,9÷4,1)×10-2 [м/м]; где Hmax л кчк. - максимальная высота заднего лонжерона КЧК у фюзеляжа самолета [м]; Hmin л кчк - то же, минимальная высота лонжерона КЧК у стыка с ОЧК; Lл кчк. - длина заднего лонжерона КЧК; и для ОЧК с осредненным градиентом GH л очк, определенным в диапазоне значений GH л очк = (Hmax л. очк-Hmin л. очк)/Lл. кчк = (0,015÷0,022); где Hmax л очк. - максимальная высота заднего лонжерона у стыка с КЧК [м]; Hmin л очк - то же, минимальная высота заднего лонжерона у стыка с ВЗК, а Lл очк. - длина заднего лонжерона ОЧК; кроме того лонжерон, являясь одним из главных элементов продольного силового набора кессона крыла, может быть жестко соединен с панелями верхней и нижней силовых обшивок кессона, усиленных стрингерами указанного продольного силового набора, а также может быть жестко соединен по длине с опорными конструкциями системы элементов механизации хвостовой части крыла (закрылков, элеронов, интерцепторов, тормозных щитков); при этом механизм совершения пространственных эволюций в диапазоне «закрылок убран» - «закрылок выпущен», выполнен с возможностью передачи нагрузок от подвески элементов управления аэродинамическим качеством крыла в том числе механизм перемещений среднего закрылка выполнен с возможностью передачи нагрузок через подвижную каретку, шарнирно прикрепленную к носовой части закрылка, а сама шарнирно оперта с двух сторон парными группами роликов-на реборду балки рельса механизации закрылка, сопряжена со спиралью винта редуктора системы механизации крыла с передачей усилий, на пояса и укрепленную внешними силовыми стойками стенку заднего лонжерона; причем толщина стенки лонжерона в КЧК и ОЧК может быть выполнена переменной с незначительным общим уменьшением по размаху крыла и существенными местными увеличениями толщины до двух и более раз в зонах приложения сосредоточенных нагрузок от пилонов двигателей, и в зонах прикрепления к стенке элементов средств механизации задней части крыла (рельсы закрылков) относительно средней расчетной толщины на том же участке длины стенки; кроме того на большей части длины крыла, следующей за участком веерообразного расположения нервюр, нервюры пристыкованы к стенке заднего лонжерона нормально к УПК со средней относительной шаговой частотой γн.л., определенной в диапазоне значений

[19]

γн.л.=ΔN/ΔL=(1,19÷1,69) [ед/мп.], где ΔN - количество нервюр в кессоне КЧК, расположенных за участком веерообразного расположения нервюр; ΔL - длина участка кессона КЧК с нервюрами, расположенными нормально к УПК.

[20]

Технический результат группы изобретений заключается в разработке и совершенствовании конструкции крыла для широкофюзеляжных дальнемагистральных самолетов с повышенными технико-экономическими и эксплуатационными характеристиками, а также безопасностью надежностью в полетах, что достигается за счет найденных в группе изобретений параметров стреловидности крыла широкофюзеляжного дальнемагистрального самолета формы и конструктивного решения кессона центроплана и консолей крыла, смещения максимального объема крыла и, следовательно, топливного бака, размещаемого в кессоне крыла, к фюзеляжу самолета, что обеспечивает уменьшение предполетного изгибающего момента при расчетной максимальной загрузке крыла топливом и снижение требуемой материалоемкости важнейшей несущей конструкции широкофюзеляжного дальнемагистрального самолета. На повышение надежности и безопасности выполнения полетов существенно влияет также найденное в изобретении соотношение шаговой частоты и дифференцированная форма конструктивного исполнения осевой ориентации и взаимного расположения различных конструктивных групп нервюр на найденных в группе изобретений для центроплана, КЧК и ОЧК различных длинах участков кессона по размаху крыла.

[21]

Сущность группы изобретений, связанных единым творческим замыслом, поясняется чертежами, где:

[22]

на фиг. 1 изображено крыло самолета в плане с кессоном и элементами поверхностей управления аэродинамическим качеством крыла;

[23]

на фиг. 2 - полукрыло с частями крыла (0,5 ЦЧК, КЧК, ОЧК и ВЗК), углами стреловидности, лонжеронами и нервюрами крыла в плане;

[24]

на фиг. 3 - передний лонжерон кессона ЦЧК крыла в разрезе;

[25]

на фиг. 4 - то же, задний лонжерон кессона ЦЧК крыла в разрезе;

[26]

на фиг. 5 - то же, дополнительный лонжерон кессона ЦЧК крыла в разрезе;

[27]

на фиг. 6 - показан в аксонометрии фрагмент кессона центральной части крыла;

[28]

на фиг. 7 - то же, фрагмент консольной части крыла;

[29]

на фиг. 8 - то же, фрагмент крепления переднего лонжерона кессона ЦЧК к шпангоуту фюзеляжа самолета в аксонометрии;

[30]

на фиг. 9 - то же, фрагмент крепления заднего лонжерона кессона ЦЧК к шпангоуту фюзеляжа самолета в аксонометрии;

[31]

на фиг. 10 - показано полукрыло самолета с детализированными несущей частью (кессоном) и элементами управления аэродинамическим качеством крыла системы механизации крыла в аксонометрии;

[32]

на фиг. 11 - показана рядовая нервюра, фасад;

[33]

на фиг. 12 - показаны две половины ΔF1 и ΔF2 площади полукрыла в плане;

[34]

на фиг. 13 - показаны площади Fочк и Fкчк кессона полукрыла в плане;

[35]

на фиг. 14 - показан передний лонжерон КЧК, поперечный разрез;

[36]

на фиг. 15 - то же, задний лонжерон КЧК, поперечный разрез;

[37]

на фиг. 16 - показан в аксонометрии узел крепления к заднему лонжерону кронштейнов для крепления рельса механизации закрылка;

[38]

на фиг. 17 - показан узел механизации носовой части крыла с предкрылком в убранном положении, поперечный разрез;

[39]

на фиг. 18 - то же, с предкрылком в выпущенном положении, поперечный разрез;

[40]

на фиг. 19 - показана разрез крыла по бортовой нервюре;

[41]

на фиг. 20 - показан фрагмент узла соединения консольной части крыла с центропланом через верхний пояс бортовой нервюры. Вид со стороны КЧК. Разрез по размаху крыла.

[42]

Сущность изобретения. Крыло 1 самолета выполнено стреловидным в плане. По концам крыло 1 снабжено «вертикальной» законцовкой 2 крыла (ВЗК). Крыло 1 выполнено с углом αл.к. стреловидного отклонения линии вершин лобовой кромки 3 (носиков) крыла от плоскости 4, нормальной к плоскости 5 симметрии самолета, определенным в диапазоне значений αл.к.=(0,47÷0,66) [рад]. Хвостовая кромка 6 консольной части 7 крыла 1 выполнена с изломом в плане под углами βх.к.1 и βх.к.2 стреловидного отклонения от плоскости, нормальной к плоскости симметрии самолета, участков хвостовой кромки 6 крыла до и после точки излома 8, определенными в диапазонах значений βх.к.1=(0,14÷0,20) [рад], βх.к.2=(0,31÷0,43) [рад], где βх.к.1 - угол отклонения в плане от упомянутой плоскости участка хвостовой кромки 6 от фюзеляжа (условно не показан) до точки излома 8 кромки 6 длиной Lx.к.1; βх.к.2=(βх.к.1+Δβх.к.) [рад], где βх.к.2 - то же, угол отклонения участка хвостовой кромки 6 от точки излома 8 до ВЗК длиной Lx.к.2; Δβх.к. - угол между пролонгированными участками линии кромки 6 до и после точки излома 8 хвостового контура крыла 1 в плане.

[43]

Крыло 1 самолета включает несущую конструкцию с каркасом в виде кессона 9 и систему поверхностей управления аэродинамическим качеством крыла 1, представляющую механизацию крыла 1, и включающую предкрылки 10, закрылки 11, тормозные щитки 14, элероны 15, 16 интерцепторы 17. Указанные элементы 10-17 механизации крыла подвижно прикреплены к несущим конструкциям кессона 9 крыла 1 и подключены к исполнительным механизмам (условно не показаны) системы управления механизацией крыла 1 с возможностью выполнения пространственных эволюций изменения аэродинамического качества крыла 1 на разных этапах полета.

[44]

Несущая конструкция крыла 1 включает жестко соединенные -центроплан 18 (ЦЧК) и симметрично примыкающие к нему неразъемные в эксплуатации левую 19 и правую 20 консольные части КЧК 7 крыла 1. Левая и правая консольные части 19 и 20 крыла соединены в каждом полукрыле через разъемный стыковой узел 21 с отъемной частью 22 ОЧК крыла 1. ОЧК 22 снабжена конструкцией «вертикальной» законцовки крыла ВЗК 2 с соотношением длин указанных частей крыла, определенным в диапазонах значений (ЦЧК):(КЧК):(ОЧК)=1:(2,93÷4,14):(0,67÷0,95).

[45]

Несущая конструкция крыла 1 включает жестко соединенные - центроплан 18 (ЦЧК) и симметричные герметично примыкающие к нему через неразъемный в эксплуатации стыковой узел (условно не показано) левую 19 и правую 20 консоли полукрыла. Каждая из консолей 19 и 20 состоит из двух частей, неразъемной консольной части (КЧК) 7 крыла, герметично примыкающей к центроплану 18, и соединенной с ней в каждом полукрыле через разъемный стыковой узел 21 отъемной частью ОЧК 22. Указанные части крыла выполнены с соотношением длин указанных частей крыла, определенным в диапазонах значений (ЦЧК):(КЧК):(ОЧК)=1:(2,93÷4,14):(0,67÷0,95).

[46]

ОЧК 22 снабжена на свободном конце «вертикальной» законцовкой крыла ВЗК 2.

[47]

Силовой каркас кессона 9 указанных частей крыла образован из элементов продольного 23 и поперечного 24 наборов.

[48]

Продольный набор 23 силового каркаса кессона 9 каждой из указанных частей крыла образован из ориентированных по размаху крыла элементов и включает, по меньшей мере, передний 25 и задний 26 лонжероны.

[49]

С лонжеронами 25 и 26 жестко связанны в составе ЦЧК 18, КЧК 7 и ОЧК 22 верхнюю 27 и нижнюю 28 силовые обшивки, выполненные из панелей. Верхняя 27 и нижняя 28 силовые обшивки усилены стрингерами 29 продольного набора 23, которые размещены в пределах указанных частей крыла 1 с шаговой частотой, определенной в диапазоне γш.ч.ст.=(4,64÷6,55) [ед/п.м.].

[50]

Поперечный набор 24 каркаса кессона 9 указанных частей крыла состоит из нервюр 30. Нервюры 30 установлены между передним 25 и задним 26 лонжеронами и выполнены в КЧК 7 и ОЧК 22 с уменьшением длины Lн и высоты миделя Нм.н. каждой последующей более удаленной от фюзеляжа нервюры в функции от уменьшения высоты Hм.к.i. миделя и Lн.i=f(Bк.i.; Lк.i.) и ширины Вк аэродинамического профиля Lк.i. кессона 9 Hм.н.i=f(Hм.к.i.; Lк.i.).

[51]

Поперечный набор 24 кессона 9 крыла 1 составляют нервюры 30, формирующие с обшивками 27 и 28 аэродинамический профиль крыла 1. Каждая консоль 19, 20 крыла 1 содержит нервюры 30 в количестве, определенном в диапазоне значений Nn=(40÷50). По размаху крыла 1 в направлении от фюзеляжа самолета к ВЗК 2 нервюры выполнены с уменьшением высоты миделя нервюры. Минимальный мидель периферийной нервюры ОЧК 22 имеет высоту меньше высоты миделя бортовой нервюры в Nм.n. раз. Количественно указанное превышение миделя высоты бортовой нервюры определено в диапазоне относительных значений Nн.м.n.=Hmax м.n.кчк/Hmin м.n.очк = (5,99÷8,47) раз.

[52]

Крыло 1 выполнено с соотношением длин Lx.к.1 и Lx.к.2 участков хвостовой кромки 6 крыла 1 до и после точки излома 8, определенным в диапазоне значений Lx.к.1:Lx.к.2=(0,44÷0,61), где Lx.к.1 - длина хвостовой кромки 6 от фюзеляжа самолета до точки излома 8 указанной кромки в плане; Lx.к.2 - то же, длина участка хвостовой кромки 6 крыла 1 от точки излома 8 в плане до ВЗК 2.

[53]

Часть площади ΔF1 31 полуразмаха крыла 1 в плане в проекции на базовую плоскость крыла, считая от борта фюзеляжа до условной плоскости 32, которая проведена параллельно вертикальной плоскости 5 симметрии самолета и проходит через точку излома 8 хвостовой кромки 6 крыла 1 и условно делит площадь крыла самолета пополам на две части ΔF1 31≅ΔF2 33, расположенной за точкой излома 8 упомянутой кромки 6 периферийной части полуразмаха крыла 1 и вариантно может соотноситься с площадью ΔF1 31, как NΔF1/ΔF2 = 1,0(±4,7%)÷1,0(±4,7%). А безразмерная величина Fочк/кчк отношения площадей Fочк 34 и Fкчк 35 несущей части кессона полукрыла в плане определена в диапазоне значений Fочк/кчк=Fочк:Fкчк=(0,84÷1,18)×10-1.

[54]

Относительная площадь ΔFa.п.к. 36 аэродинамической поверхности кессона 9 в плане составляет ψ=ΔFa.п.к/Fo.п.к.=(0,43÷0,61) от общей поверхности Fo.п.к. 37 крыла, создающей аэродинамическую подъемную силу. Поверхность Fo.п.к. 37 включает суммарную площадь ΔFп.y.a.к. поверхностей элементов управления аэродинамическим качеством крыла, непосредственно участвующих в создании аэродинамической подъемной силы в полете самолета, Fo.п.к.=(ΔFa.п.к.+ΔFп.y.a.к.) [м2].

[55]

В поперечный набор 24 кессона 9 крыла 1 входят нервюры 30. Нервюры 30 подразделяют на силовые, нервюры - перегородки, нервюры ограниченного перетекания топлива и рядовые (условно не показано). Кроме этого в поперечный относительно размаха крыла набор 24 входят балки 38 центроплана 18. Балки 38 могут быть вариантно установлены параллельно плоскости 5 симметрии самолета в количестве Nб.ц.=(4÷8).

[56]

Нервюры 30 поперечного набора 24, размещены между передним 25 и задним 26 лонжеронами с уменьшением длины Lн. последующих нервюр по длине КЧК 7 и ОЧК 22 пропорционально уменьшению ширины кессона 9, а высоты миделя Нм.н. относительно аэродинамического профиля крыла 1 максимально на двойную высоту стрингеров 29 панелей обшивок 27, 28 кессона 9 крыла 1 по мере удаления от фюзеляжа самолета.

[57]

Поставленная задача группы изобретений, связанных единым творческим замыслом в части кессона крыла самолета решена тем, что кессон 9 для выполнения функции несущей части крыла 1 наделен силовым каркасом коробчатого типа, выполнен сборным по количеству технологических узлов крыла и включает узел центральной части крыла ЦЧК 18 - центроплан, который смонтирован за одно целое с фюзеляжем, и жестко герметично соединен с составным кессоном 9 левой 19 и правой 20 консолей крыла 1. Каждая из указанных консолей 19 и 20 включает эксплуатационно неразъемную с кессоном центроплана 18 часть крыла КЧК 7, разъемно соединенную с отъемной частью крыла ОЧК 22. Консольная часть ОЧК 22 наделена смонтированным на периферийном конце технологическим узлом «вертикальной» законцовки крыла ВЗК 2.

[58]

Соотношение длин указанных частей крыла принято в диапазоне значений (ЦЧК):(КЧК):(ОЧК)=1:(2,93÷4,14):(0,67÷0,95). Указанные части кессона 9 соединены по размаху крыла 1 через технологические стыки КЧК с ОЧК 21 не менее, чем двумя передним и задним силовыми лонжеронами; при этом прямоугольный в плане кессон ЦЧК выполнен с соотношением сторон B/L, определенным в диапазоне B/L=(0,77÷1,09), где В - размер центроплана по длине фюзеляжа [м], L - то же, по размаху крыла; силовой каркас кессонов указанных частей кессона 9 крыла 1 образован элементами продольного 23 и поперечного 24 наборов, в первый из которых входят упомянутые передний 25 и задний 26 лонжероны и усиленные стрингерами 29 профилированные панели верхней 27 и нижней 28 обшивок, образующие участки суперкритического аэродинамического профиля (условно не показано) кессона крыла 1. Кроме этого продольный по размаху крыла силовой набор элементов каркаса кессона ЦЧК дополнительно включает от трех до семи дополнительных лонжеронов 40.

[59]

Поперечный набор 24 силовых элементов каркаса кессона 9 содержит нервюры 30, выполненные в виде балок. Нервюры 30 через стрингеры 29 и установленные между ними через один дискретные межстрингерные компенсаторы (условно не показано), ориентированные по оси нервюры 30, соединены поясами 41 с панелями верхней 27 и нижней 28 обшивок кессона 9.

[60]

Обшивки 27 и 28, подкрепленные стрингерами 29 и соединенные в составе силового каркаса кессона 9 с лонжеронами 25 и 26, а также с нервюрами 30, формируют профиль несущей части крыла 1.

[61]

В поперечном наборе 24 использованы следующие дифференцированные по степени полифункциональности назначения, нагруженности и конструктивному исполнению типы нервюр 30: - силовые, нервюры-перегородки, нервюры ограниченного перетекания топлива в секционированном топливном баке в ЦЧК и КЧК и рядовые нервюры. Панели обшивок 27 и 28 продольного силового набора 23 кессона 9 выполнены переменной толщины по длине. А в поперечном направлении, ориентированном по хорде крыла 1, панели 27 и 28 выполнены с чередованием участков различной толщины с образованием на внутренней стороне обшивки продольных корытообразных уменьшений толщины под стрингеры 29 (условно не показано). Нормально к упомянутым корытообразным уменьшениям толщины панелей 27, 28 обшивок на участках между стрингерами 29 под и над поясами нервюр 30 по оси последних выполнены поперечные внутренние утолщения (условно не показано) обшивки нервюр 30, на которых размещены поперечные вставки на высоту стрингеров 29 для поперечного соединения поясов нервюры с обшивками.

[62]

Кессон 9 выполнен с аэродинамическим профилем переменной высоты и ширины по размаху консоли крыла 1. Изменение указанных параметров кессона 9 выражено по осям переднего 25 и заднего 26 лонжеронов КЧК 7 и ОЧК 22, с возможностью определения конкретных значений по характерным точкам расположения торцов нервюр 30, через осредненные градиенты уменьшения высоты от фюзеляжа до «вертикальной» законцовки 2 из выражений

[63]

Gн.л.п.=(Hmax л.п.-Hmin л.п.)/Lл.п.=(3,1÷4,4)×10-2 [м/м] и

[64]

Gн.л.з.=(Hmax л.з.-Hmin л.з.)/Lл.з.=(2,9÷4,1)×10-2 [м/м], где

[65]

Hmax л.п. и Hmin л.п. - максимальная и минимальная высота [м] переднего лонжерона 25 соответственно у фюзеляжа самолета и у периферийного конца ОЧК 22 [м]; Hmax л.з. Hmin л.з.. - то же, высота [м] заднего лонжерона 26 у периферийного конца ОЧК 22; Lл.п. и Lл.з. - соответственно длина [м] переднего 25 и заднего 26 лонжеронов в пределах (КЧК+ОЧК).

[66]

Аналогично параметры уменьшения ширины кессона (схождения в плане лонжеронов 25 и 26) выражены градиентом

[67]

Gш.к.=(Вш.к. maxш.к. min)/Lк.=(0,126÷0,177) [м/м]; где

[68]

Вк.max - максимальная ширина [м] кессона 9 у фюзеляжа; Вк. min - минимальная высота [м] лонжерона 25, 26 у периферийного конца ОЧК 22; Lк. - длина кессона; Lк.=(LКЧК+LОЧК) [м] в установочной плоскости крыла.

[69]

Кессон 9 крыла 1 самолета может быть состыкован каркасом КЧК 7 с каркасом кессона ОЧК 22 через, в том числе с сопряжением одноименных участков заднего лонжерона 26. Последние могут быть сопряжены построением осей упомянутых участков лонжеронов 26 КЧК 7 и ОЧК 22 в одну прямую линию или вариантно с микроотклонениями в плане оси корневого участка заднего лонжерона 26 от линии, параллельной УПК в пределах КЧК на угол в интервале до η1, з.л.≤+6,9×10-2 [рад] относительно направления полета, и с образованием микроизлома оси заднего лонжерона 26 в плане на угол с вершиной в точке соединения ОЧК 22 с КЧК 7, определенный от указанной плоскости до η2, з.л.≤-5,2×10-2 [рад].

[70]

Центральная часть крыла 1 самолета - центроплан 18 содержит силовой каркас, который выполнен в виде кессона 9, собранного за одно целое с фюзеляжем самолета. Центроплан 18 вмонтирован в нижнюю половину высоты фюзеляжа и состыкован левой и правой приконцевой частью переднего 25 и заднего 26 лонжеронов с примыкающими к ним внахлестку нижними участками силовых шпангоутов 42 и 43, выполненными в виде плоских плит, примыкающих с внешней стороны к стенке лонжерона 25, 26.

[71]

Кессон 9 ЦЧК 18 крыла самолета вписан в уступ верхнего пояса и соответствующей части стенки расположенных под ним двух продольных балок фюзеляжа на глубину перепада высот балок, не менее высоты кессона ЦЧК, размещаемого в зоне указанного перепада высот без превышения высотного промежутка над конструкцией гермоднища (условно не показано) обитаемого объема фюзеляжа в центральном отсеке салона самолета.

[72]

Кессон 9 ЦЧК 18 имеет прямоугольную в плане конфигурацию. Выполнен с превышением длины Lц.ч.к. по размаху крыла над шириной Вц.ч.к. в N=L ц.ч.к./Вц.ч.к.=(1,05÷1,17) раз. и включает жестко связанные с образованием перекрестной силовой рамы 44 продольный 23 (по размаху крыла) и поперечный 24 силовые наборы. В первый из указанных силовых наборов, продольный 23 по размаху крыла 1, входят передний 25 и задний 26 лонжероны, а также расположенные между ними с шаговой частотой γл ≥(0,92÷1,38) [ед/м.п.] от трех до семи промежуточных (дополнительных) 40 лонжеронов ЦЧК. А второй из указанных поперечный набор силового каркаса ЦЧК 18 включает не менее трех силовых нервюр. Средняя из указанных нервюра совмещена с плоскостью симметрии самолета, разрезана промежуточными лонжеронами 40 на количество секций (условно не показано), превышающее на единицу число промежуточных лонжеронов 40 ЦЧК. Разрезанные секции средней нервюры герметично состыкованы внешними торцами крайних секций с передним 25 и задним 26 лонжеронами ЦЧК 18, а остальными торцами, включая торцы промежуточных секций, средняя нервюра соединена соответственно со всеми промежуточными лонжеронами ЦЧК.

[73]

Две крайние нервюры ЦЧК 18 совмещены с левым и правым бортами фюзеляжа (условно не показано). Крайние лонжероны и нервюры ЦЧК 18, жестко соединены по контуру кессона с панелями верхней 27 и нижней 28 обшивок. Силовые обшивки 27 и 28 выполнены переменной толщины δоб. от минимальной δmin об. у переднего 25 до максимальной δmaxоб. у заднего 26 лонжерона, удовлетворяющих условию δmax об. ≥1,2 δmin об. Панели обшивок 27 и 28 наделены стрингерами 29 продольного силового набора (по размаху крыла) с образованием комбинированной конструкции в виде обшивки, жестко соединенной со стрингерами 29. Стрингеры 29 расположены между дополнительными 40 и основными передним 25 и задним 26 лонжеронами ЦЧК 18 с шаговой частотой γст.цчк, определенной в диапазоне значений γст.цчк = (4,39÷6,19) [ед/м.п.] параллельно лонжеронам ЦЧК. Комбинация панелей обшивок 27, 28 со стрингерами 29, расположенными в указанном диапазоне частоты, обеспечивают оптимальное достижение заявленного технического результата, работая на увеличение общей и местной жесткости, момента инерции панелей обшивок 27, 28 и несущей способности каркаса ЦЧК 18 в целом на величину, достаточную для восприятия и обеспечения необходимого превышения несущей способности на расчетные сочетания максимальных статических и динамических нагрузок на крыло 1 с запасом прочности не менее чем в 1,2 раза. В рамках реализации группы изобретений, связанных единым творческим замыслом, заявленный технический результат достигают при оптимальном соотношении материало-, трудо- и энергозатрат на изготовление конструкции при обеспечении повышенного ресурса крыла 1 самолета. Выход за диапазон, найденный в группе изобретений, связанных единым творческим замыслом, оптимальной частоты расположения стрингеров 29 обшивок 27 и 28 в сторону увеличения частоты стрингеров 29, несоблюдение заявленных диапазонов параметров толщин обшивок 27 и 28 каркаса кессона 9 приводит к неоправданному увеличению материало-, трудоемкости изготовления и монтажа элементов каркаса и не достижению заявленного технического результата в виде требуемого адекватного увеличения прочностных, жесткостных характеристик и ресурса конструкции. Запредельное не предусмотренное найденным в группе изобретений диапазоном частот разреженное размещение стрингеров 29 приведет к необходимости неоправданного компенсационного увеличения толщины обшивок 27 и 28 и, следовательно, к необоснованному повышению материалоемкости конструкции кессона 9 и не достижению заявленного технического результата.

[74]

Кессон 9 ЦЧК 18 включает ориентированные по размаху крыла передний 25 и задний 26 лонжероны ЦЧК 18 из состава продольного силового набора кессона 9 крыла 1 и от четырех до восьми промежуточных лонжеронов 25 и 26.

[75]

Выполненный заедино с фюзеляжем кессон 9 ЦЧК 18 жестко соединен силовыми элементами стыков с левой 19 и правой 20 неотъемными в эксплуатации консольными частями крыла КЧК 7. Каждая из частей КЧК 7 разъемно соединена по размаху крыла 1 с отъемной частью крыла ОЧК 22.

[76]

В заявленной группе изобретений, связанной единым творческим замыслом, разработан передний лонжерон 25 кессона 9 крыла 1.

[77]

Лонжерон 25 выполнен в качестве передней неразрезной трехпролетной несущей балки кессона 9 крыла 1. Средний пролет лонжерона 25 оперт по концам на силовые шпангоуты 42 и 43 фюзеляжа по границам центральной части крыла (ЦЧК) 18 в зоне левой и правой бортовых нервюр 45, совмещенных с фюзеляжем.

[78]

Центральный пролет лонжерона 25 через жесткие стыки торцами соединен с левым 19 и правым 20 консольными участками лонжерона 25 силового каркаса 9 кессона консолей крыла 1. Каждая из которых содержит участок консольной части крыла (КЧК) 7, неразъемно в эксплуатации состыкованный с центральным участком переднего лонжерона ЦЧК 18 и разъемно состыкованный с участком переднего лонжерона 25 отъемной части крыла (ОЧК) 22.

[79]

По размаху крыла 1 лонжерон 25 в пределах каждой из указанных частей крыла выполнен непрерывной длины, а длины Lл.цчк, Lл.кчк, Lл.очк участков лонжерона 25 в составе продольного силового набора каждой части крыла 1 определены в диапазоне соотношений Lцчк : Lкчк : Lочк=1:(3,1÷4,38):(0,77÷1,09).

[80]

В поперечном сечении лонжерон 25 имеет форму составного швеллера, включающего стенку 46 в виде пластины, подкрепленной жестко соединенными с ней стойками 47. Стойки 47 выполнены из элементов уголкового и Z-образного профиля или переменного сечения по высоте в зонах прикрепления на переднем лонжероне 25 силовых агрегатов механизации крыла - вала 53, редуктора 54 крутящего момента, винтового механизма 55 и рельса 56 предкрылка 57, изменяющих аэродинамическое качество крыла 1. Большая часть стоек 47 расположена с двух сторон стенки 46 лонжерона 25 со взаимным смещением на часть шага последних. Стенка 46 лонжерона 25 обрамлена сборными верхним 48 и нижним 49 поясами. Пояса 48, 49 выполнены из погонажных элементов несимметричного уголкового профиля с переменной по длине лонжерона 25 площадью поперечного сечения и соотношением высоты и ширины полок 51, 52 элементов поясов 48, 49 на большей части длины лонжерона 25. Указанные элементы поясов жестко соединены внахлестку своей вертикальной стенкой 50 со стенкой 46 лонжерона 25, а полки 51, 52 уголкового элемента каждого упомянутого пояса 48, 49 обращены внутрь кессона 9 и адаптивно отклонены от горизонтали до сопряжения соответственно с верхней 27 или нижней 28 обшивкой кессона 9.

[81]

Стенка 46 лонжерона 25 консолей 19, 20 крыла 1 выполнена переменной высоты по размаху крыла 1. Высота стенки 46 лонжерона 25 уменьшается от фюзеляжа самолета к «вертикальной» законцовке крыла (ВЗК) 2 с градиентом изменения высоты G, определенным в диапазоне значений G=(Hmax л.-Hmin л.)/Lл.=(3,1÷4,4)×10-2 [м/м]. Здесь Hmaxл. - максимальная высота переднего лонжерона 25 у фюзеляжа самолета [м]; Hmin л - то же, минимальная высота у ВЗК 2, а Lл.=(Lкчк+Lочк) - суммарная длина лонжерона 25.

[82]

В пределах каждого консольного технологического узла крыла 1 (КЧК 7, ОЧК 22) стенка 46 лонжерона 25 выполнена в виде пластины трапецеидальной или квазитрапецеидальной формы с короткими торцами высотой Hmax и Hmin и длинными верхней и нижней сторонами в пределах КЧК 7 и ОЧК 22. Отношение высот торцов лонжерона 25 в КЧК 7 определено в диапазоне значений Hmax кчк:Hmin кчк=(3,45÷4,88). И в ОЧК 22 Hmax очк:Hmin очк=(1,11÷1,57).

[83]

С внутренней стороны стенка 46 переднего лонжерона 25 по всей длине кессона 9 жестко соединена с ответными торцами нервюр 30.

[84]

На передней четверти длины лонжерона 25, считая от борта фюзеляжа нервюры 30 расположены с веерообразным пошаговым изменением угла αу.п.к. наклона оси каждой последующей нервюры 30 к установочной плоскости крыла (УПК) в плане от αу.п.к.max=(π/2+ϕу.п.к.)=(1,66÷2,34)1,95 [рад], до αу.п.к.min=(π/2).

[85]

На остальной части длины крыла 1 нервюры 30 расположены нормально к УПК и пристыкованы к стенке 46 лонжерона 25.

[86]

Лонжерон 25 в качестве продольного силового элемента кессона 9 крыла 1, жестко герметично соединен с панелями верхней 27 и нижней 28 силовых обшивок кессона 9, усиленных стрингерами 29 продольного силового набора 23.

[87]

Лонжерон 25 по длине жестко соединен с конструкцией носовой части 58 крыла 1 с возможностью восприятия лонжероном нагрузок от предкрылка 57 через винтовые механизмы 55, систему опор кареток 59, и непосредственного восприятия аэродинамических нагрузок от набегающего потока, передаваемых через верхнюю 60 и нижнюю 61 обшивки носовой части 58 крыла 1 при выпущенном предкрылке 57, а также через балку 62 носовой части 58 крыла 1 и систему редукторов 54 и опор 63 винтовых механизмов 55 и кареток 59 предкрылка 57, прикрепленных каждая к лонжерону 25 через опорные стойки 47 стенки 46.

[88]

В стенке 46 лонжерона 25 может быть выполнено не менее 11 отверстий для пропуска свободных концов силового винта 64 и не менее 20 проемов для пропуска свободных концов рельсов 56 механизации предкрылка 57. Проемы под силовые винты 64 могут быть снабжены по контуру жестким двухсторонним компенсационным обрамлением (условно не показано). Внешняя часть может быть наделена парой проушин (условно не показано) для шарнирной установки редуктора упомянутого винта 64 механизации предкрылка 57. С внутренней стороны кессона 9 стенка 46 лонжерона 25 наделена кожухом 65, герметично отделяющим зону рабочих колебаний винта 64 от полости кессона 9, совмещенной с топливным баком крыла 1.

[89]

Упомянутые проемы для пропуска через стенку 46 лонжерона 25 концов рельсов 56 механизации предкрылка 57 снабжены по контуру компенсационным силовым обрамлением 66 стенки 46 лонжерона 25 с внутренней стороны, обращенной в полость кессона 9. Обрамление 66 может быть наделено герметичным кожухом 65, отделяющим подвижный конец рельса 56 от зоны топливного бака (условно не показано) полости кессона 9 в крыла 1.

[90]

На части длины крыла 1, следующей за участком веерообразного расположения нервюр 30, последние могут быть пристыкованы к стенке переднего лонжерона нормально к УПК со средней шаговой частотой γн.л., определенной в диапазоне значений

[91]

γн.л.=Nн/LΔл (1,26÷1,77)1,48 [ед/м.]. Здесь LΔл - часть длины переднего лонжерона 25 КЧК 7, следующей за участком веерообразного расположения нервюр 30; Nн - общее количество нервюр 30 на указанном суммарном участке переднего лонжерона 25.

[92]

Такое же соединение нервюр 30 с передним лонжероном 25 может быть пролонгировано на полную длину ОЧК 22 переднего лонжерона 25.

[93]

Толщина стенки 46 участков лонжерона 25 в КЧК 7 и ОЧК 22 может быть выполнена переменной с незначительным общим уменьшением по размаху КЧК 7 и с существенными местными увеличениями толщины до двух и более раз в зонах приложения сосредоточенных нагрузок от пилонов двигателей (условно не показано). Аналогичное варьирование толщины стенки 46 может быть выполнено в зонах прикрепления к лонжерону элементов силового привода предкрылка 57 системы механизации крыла 1 (кареток 59, вала трансмиссии 53 и вырезов под рельсы 56 и винтовые механизмы 55 приводов секций предкрылка 57) относительно средней расчетной толщины на тех же участках стенки 46.

[94]

Задний лонжерон 26 выполнен в качестве консольной балки по размаху крыла 1 самолета в составе продольного набора 23 силовых элементов кессона 9. Лонжерон 26 состоит из участков лонжерона состыкованных частей технологической сборки крыла 1. А именно, представляет один из основных силовой элемент продольного набора 23 центральной части (ЦЧК) 18. И входит в состав консолей каждого полукрыла 19, 20, включая участок лонжерона 26 консольной части крыла (КЧК) 7, неразъемно в эксплуатации состыкованный с участком заднего лонжерона 26 ЦЧК 18. И разъемно состыкован с задним лонжероном 26 отъемной части крыла (ОЧК) 22.

[95]

По размаху крыла задний лонжерон 26 выполнен непрерывной длины в пределах каждой из указанных частей 19, 20 крыла 1. А длины Lл.цчк, Lл.кчк, Lл.очк участков лонжерона 26 в составе продольного силового набора 23 каждой части крыла 1 определены в диапазоне соотношений Lцчк:Lкчк:Lочк=1:(2,93÷4,14):(0,67÷0,95),

[96]

В поперечном сечении задний лонжерон 26 имеет форму составного швеллера. Стенка 46 лонжерона 26 выполнена в виде пластины, подкрепленной с двух сторон жестко соединенными с ней стойками 68. Стойки 68 выполнены на свободных участках уголкового и Z-образного профиля включительно и для повышения местной и общей устойчивости стойки 68 расположены с двух сторон стенки 69 по длине лонжерона 26 со взаимным смещением на часть шага стоек.

[97]

На участках навески на лонжерон 26 агрегатов механизации крыла 1 стойки 68 выполнены с переменным по высоте увеличением площади и момента инерции поперечного сечения.

[98]

Стенка лонжерона 26 обрамлена верхним 70 и нижним 71 поясами. Полки 72 и 73 поясов 70 и 71 заднего лонжерона 26 обращены в кессон 9 навстречу ответным полкам 51 и 52 переднего лонжерона 25. Пояса 70 и 71 выполнены сборными из погонажных элементов несимметричного уголкового профиля с переменной по длине лонжерона 26 площадью поперечного сечения и соотношением высоты и ширины полок 72 и 73 элементов поясов на большей части длины лонжерона 26. Указанные элементы поясов 70 и 71 жестко соединены внахлестку своей вертикальной стенкой 74 и 75 со стенкой лонжерона 69. При этом полки 72 и 73 уголкового элемента каждого упомянутого пояса 70 и 71 лонжерона 26 адаптивно отклонены от горизонтали до сопряжения соответственно с верхней 27 или нижней 28 обшивкой кессона 9.

[99]

Стенка 69 лонжерона 26 по размаху крыла 1 выполнена переменной высоты, уменьшающейся в пределах каждого консольного технологического узла крыла 1 (КЧК 7, ОЧК 22), соответственно, в КЧК 7 от фюзеляжа самолета до стыка с ОЧК 22 и в пределах ОЧК от стыка с КЧК до стыка с «вертикальной» законцовкой крыла (ВЗК) 2. Стенка 69 имеет форму трапецеидальной пластины с короткими торцами соответственно высотой Hmax л. кчк и Hmin л. кчк, а также Hmax л. очк и Hmin л. очк и с длинными верхней и нижней сторонами в пределах каждого указанного технологического узла КЧК 7 и ОЧК 22.

[100]

Отношение высот торцов лонжерона 26 в пределах КЧК 7 определено в диапазоне значений Hmax л. кчк : Hmin л. кчк = (3,12÷4,40), а в пределах ОЧК 22 определено в диапазоне значений Hmax л. очк : Hmin л. очк=(1,25÷1,76).

[101]

Указанные части заднего лонжерона 26 выполнены с осредненными градиентами изменения высоты стенок по размаху крыла GH л кчк. В том числе для КЧК 7 с градиентом, определенным в диапазоне значений GH л кчк=(Hmax л. кчк-Hmin л. кчк)/Lл. кчк=(2,9÷4,1)×10-2 [м/м]. Здесь Нmax л кчк. - максимальная высота заднего лонжерона 26 КЧК 7 у фюзеляжа самолета [м]; Hmin л кчк - то же, минимальная высота лонжерона 26 КЧК 7 у стыка с ОЧК 22; Lл кчк. - длина заднего лонжерона КЧК 7; и для ОЧК 22 с осредненным градиентом GH л очк, определенным в диапазоне значений GH л очк=(Hmax л. очк-Hmin л. очк)/Lл. кчк=(0,015÷0,022)0,018; где Hmax л очк. - максимальная высота заднего лонжерона 26 у стыка с КЧК 7 [м]; Hmin л очк - то же, минимальная высота заднего лонжерона 26 у стыка с ВЗК 2, а Lл очк. - длина заднего лонжерона ОЧК 22.

[102]

На большей части длины крыла 1 нервюры 30 пристыкованы к стенке заднего лонжерона 26 нормально к установочной плоскости крыла 1 УПК.

[103]

Лонжерон 26, являясь одним из главных элементов продольного силового набора 23 кессона 9 крыла 1, может быть жестко соединен с панелями верхней 27 и нижней 28 силовых обшивок кессона 9, усиленных стрингерами 29 указанного продольного силового набора 23. Лонжерон 26 также может быть жестко соединен по длине с опорными конструкциями системы элементов механизации хвостовой части крыла 1 - закрылков 11, 12, 13, элеронов 15, 16, интерцепторов 17, тормозных щитков 14.

[104]

Механизм совершения пространственных эволюций в диапазоне «закрылок убран» - «закрылок выпущен», может быть выполнен с возможностью передачи нагрузок от подвески элементов управления аэродинамическим качеством крыла 1. В том числе механизм перемещений среднего закрылка 12 может быть выполнен с возможностью передачи нагрузок через подвижную каретку (условно не показано), шарнирно прикрепленную к носовой части закрылка (условно не показано). А сама каретка шарнирно оперта с двух сторон парными группами роликов на реборду балки рельса (условно не показано) механизации закрылка. Сопряжена со спиралью винта редуктора (условно не показано) системы механизации крыла с передачей усилий через силовой кронштейн 76, на пояса и укрепленную внешними силовыми стойками 77 стенку 69 заднего лонжерона 26.

[105]

Толщина стенки 69 лонжерона 26 в КЧК 7 и ОЧК 22 выполнена переменной с незначительным общим уменьшением по размаху крыла 1 и существенными местными увеличениями толщины до двух и более раз в зонах приложения сосредоточенных нагрузок от пилонов двигателей, и в зонах прикрепления к стенке 69 элементов средств механизации задней части крыла 1 относительно средней расчетной толщины на том же участке длины стенки 69.

[106]

Кроме того, на части длины крыла 1, следующей за участком веерообразного расположения нервюр, нервюры 30 пристыкованы к стенке 69 заднего лонжерона 26 нормально к УПК со средней относительной шаговой частотой γн.л., определенной в диапазоне значений

[107]

γн.л.=ΔN/ΔL=(1,19÷1,69)1,41 [ед/мп.]. Здесь ΔN - количество нервюр 30 в кессоне КЧК 7, расположенных за участком веерообразного расположения нервюр; ΔL - длина участка кессона 9 КЧК 7 с нервюрами 30, расположенными нормально к УПК.

[108]

Пример реализации группы изобретений. Конструкцию крыла, основные узлы и конструктивные элементы изготавливают из авиационных материалов типа Д16Т, стали, титановых сплавов, а также углепластиков, стеклопластиков и слоистых материалов типа сотопласта с последующим многослойным нанесением на внутренние поверхности несущих конструкций - нервюр, лонжеронов, стыков с панелями обшивок.

[109]

Несущие панели обшивок изготавливают путем раскроя и последующего фрезерования металлических плит с образованием продольных выемок между нервюрами и поперечных утолщений под нервюры.

[110]

Кессон крыла собирают на стапеле. Выкладывают панели верхней и нижней обшивок. Устанавливают на панелях стрингера, соединяют: панели, оснащенные стрингерами, с каркасом кессона. Собранный кессон КЧК монтируют на стапеле через стыковые элементы с кессоном ЦЧК. Затем аналогично присоединяют к кессону КЧК кессон ОЧК. Монтируют носовые и хвостовые части крыла, приводные агрегаты механизации крыла. Устанавливают элементы поверхности управления аэродинамическим качеством крыла - секции предкрылков, внутреннего, среднего и наружного закрылков, элеронов, интерцепторов и тормозных щитков.

[111]

Пример работы крыла самолета. Крыло самолета работает на стоянке на статические нагрузки от собственного веса консолей крыла, подвешенных к крылу двигателей и веса топлива в симметрично размещенных в консолях секционированных топливных баках. Нагрузку от консолей передают на центроплан, вмонтированный в фюзеляж самолета и через фюзеляж на опоры шасси самолета. В экстремальных погодных ситуациях крыло может воспринимать существенные временные нагрузки от ураганного ветра гидрометеоров в виде снега, града и ледяного дождя.

[112]

Различают три этапа работы крыла - в режиме взлета и посадки и в режиме полета на крейсерских скоростях. Режим взлета связан с началом разбега набором скорости и аэродинамической подъемной силы крыла.

[113]

Для сокращения времени и дистанции разбега средствами механизации крыла выпускают на предельную величину предкрылки и закрылки максимально увеличивая аэродинамическое качество подъемной силы крыла. После отрыва самолета от ВПП по мере набора скорости в воздухе постепенно убирают выпуск упомянутых элементов управления аэродинамическим качеством крыла - предкрылков и закрылков и убирают шасси в том числе частично в отсеки крыла. Штатный полет самолета выполняют на крейсерских скоростях при полностью убранных предкрылках закрылках, выравнивая при необходимости параметры полета другими элементами управления аэродинамическим качеством крыла, в том числе элеронами и интерцепторами. В режиме захода на посадку и выполнения посадки выполняют действия с элементами управления аэродинамическим качеством крыла и выпуска шасси в порядке, обратном действиям при взлете.

[114]

Технический результат группы изобретений, связанных единым творческим замыслом, достигается при значениях параметров, найденных в изобретениях группы, и принимаемых в пределах диапазонов, приведенных для соответствующего параметра объекта в формуле изобретения. А при выходе значения параметра за пределы указанного в формуле диапазона, технический результат не может быть гарантирован в связи с недопустимым рассогласованием с другими взаимосвязанными параметрами объекта и группы изобретений.

[115]

Так, найденный в изобретении для крыла самолета угол стреловидного отклонения линии вершин лобовой кромки αл.к. крыла относительно плоскости, нормальной к плоскости симметрии самолета, обеспечивает достижение технического результата при параметрах угла αл.к.=(0,47÷0,66) [рад] и не гарантирует достижения требуемого результата при значениях угла αл.к. меньше 0,47 [рад], так как при таких значениях угла существенно ухудшается соотношение аэродинамического качества крыла и удельной материалоемкости на единицу площади крыла. А при значениях αл.к. больше 0,66 [рад] существенно неоправданно и недопустимо возрастает материалоемкость крыла на единицу подъемной силы для широкофюзеляжного дальнемагистрального самолета.

[116]

Аналогично, найденные в группе изобретений конфигурация выполненной с изломом хвостовой кромки крыла и угловые параметры конфигурации хвостовой кромки крыла в плане до βx.к.1=(0,14÷0,20) [рад] и после точки излома βх.к.2=(0,31÷0,43) [рад], обеспечивают оптимальную компоновку крыла с размещением до 90% объема установленного в крыле топливного бака на участке до точки излома хвостовой кромки, максимально приближенном к фюзеляжу, и максимума долевой части аэродинамической подъемной силы соответствующей части площади крыла. В результате чего достигается наибольшее уменьшение материалоемкости конструкции крыла при оптимальном компромиссе сочетаний статических и динамических расчетных нагрузок. Выход за пределы принятых в изобретении диапазонов значений углов βх.к.1=(0,14÷0,20) [рад] и βх.к.2=(0,31÷0,43) [рад] приводит к разбалансировке геометрических параметров и резкому повышению материалоемкости крыла.

[117]

Так же срабатывают на достижение заявленного технического результата найденные в группе изобретений, связанных единым творческим замыслом, соотношения диапазонов параметров длин частей крыла (ЦЧК):(КЧК):(ОЧК)=1:(2,93÷4,14):(0,67÷0,95), оптимально заточенные под конструктивные параметры крыла широкофюзеляжных дальнемагистральных пассажирских и грузовых самолетов. Выход за указанные параметры соотношения длин частей крыла в любую из указанных границ диапазонов относительных значений длин ЦЧК, КЧК и ОЧК достижение заявленного технического результата не гарантировано из-за разбалансировки удельного вклада той или иной части крыла в создание удельной требуемой подъемной силы на единицу материалоемкости крыла.

[118]

Аналогично работают на достижение заявленного технического результата общей конструктивной композицией крыла найденные в группе изобретений диапазоны геометрических параметров кессона, центроплана и лонжеронов крыла, обеспечивая оптимальное аэродинамическое качество надежность и ресурс крыла, безопасности и надежности полетов при уменьшении материало- и энергоемкости в процессе изготовления крыла и эксплуатации самолета.

Как компенсировать расходы
на инновационную разработку
Похожие патенты