патент
№ RU 2708713
МПК B21D1/14

РИХТОВОЧНОЕ УСТРОЙСТВО ДЛЯ АВТОМОБИЛЯ

Авторы:
ВЕНЯЛЯЙНЕН, Олави (FI)
Правообладатель:
Номер заявки
2019107602
Дата подачи заявки
12.09.2017
Опубликовано
11.12.2019
Страна
RU
Дата приоритета
17.12.2025
Номер приоритета
Страна приоритета
Как управлять
интеллектуальной собственностью
Чертежи 
8
Реферат

Изобретение относится к обработке металлов давлением, в частности к рихтовочному устройству для автомобиля. Передние колеса автомобиля располагают между балками в передней части рихтовочного стенда. Рихтовочный стенд поднимают для прикрепления к нему рихтовочной балки. Автомобиль поднимают при помощи рихтовочного стенда на высоту, обеспечивающую надежную установку опорных устройств под колесами автомобиля, расположенных между балками для поддержания колес в процессе опускания рихтовочного стенда и автомобиля. При этом автомобиль по мере своего подъема автоматически крепится к рихтовочному стенду. После крепления автомобиля осуществляют его рихтовку с помощью рихтовочной балки. Расширяются технологические возможности устройства. 5 з.п. ф-лы, 12 ил.

Формула изобретения

1. Рихтовочное устройство для автомобиля, содержащее раму (1), подъемный механизм (2), прикрепленный к раме, прикрепленный к подъемному механизму рихтовочный стенд (3), снабженный по бокам платформами (5а1, 5а2, 6, 8а1, 8а2, 5, 8) для перемещения по ним автомобиля для проведения рихтовочных работ, анкерные балки (4а1, 4а2, 4а3, 4а4; 4) и фиксаторы (12а1, 12а2, 13а1, 13а2; 11, 12, 13), прикрепленные к анкерным балкам, для крепления автомобиля к рихтовочному стенду для проведения рихтовочных работ, причем анкерные балки (4а1, 4а2, 4а3, 4а4; 4) неподвижно закреплены в зазорах между платформами (5а1, 5а2, 8а1, 8а2, 5, 6, 8) по бокам рихтовочного стенда (3), отличающееся тем, что оно снабжено опорными устройствами (10а1, 10а2, 10), выполненными с возможностью монтажа у колес автомобиля, расположенных в передней части рихтовочного стенда между балками (9а1, 9а2 и 9а3, 9а4), и под ними при поднятом на рабочую высоту рихтовочном стенде и размещенными с возможностью поддержания колес в процессе опускания рихтовочного стенда и автомобиля.

2. Рихтовочное устройство по п. 1, отличающееся тем, что фиксаторы содержат фиксирующие рамы (12а1, 12а2, 13а1, 13а2; 12), прикрепленные к анкерным балкам (4а1, 4а2, 4а3, 4а4; 4) с возможностью перемещения в продольном направлении рихтовочного стенда (3).

3. Рихтовочное устройство по п. 1, отличающееся тем, что фиксаторы содержат приспособления (11, 13), прикрепленные к фиксирующим рамам (12а1, 12а2, 13а1, 13а2; 12).

4. Рихтовочное устройство по п. 3, отличающееся тем, что фиксирующая рама (12) содержит опорную часть (14) для крепления приспособления (11, 13).

5. Рихтовочное устройство по п. 2, отличающееся тем, что фиксирующие рамы (12) содержат две пластинчатые части (17), находящиеся на расстоянии одна от другой, и расположенные между ними крепежные винты (18), находящиеся на расстоянии один от другого.

6. Рихтовочное устройство по п. 5, отличающееся тем, что расстояние между крепежными винтами (18) больше ширины фиксирующей рамы (4).

Описание

[1]

Область техники, к которой относится изобретение

[2]

Изобретение относится к рихтовочному устройству для автомобиля, содержащему раму, подъемный механизм, прикрепленный к раме, рихтовочный стенд, прикрепленный к подъемному механизму и снабженный по бокам платформами, по которым автомобиль может перемещаться для проведения рихтовочных работ, а также анкерные балки и фиксаторы, прикрепленные к анкерным балкам, для крепления автомобиля к рихтовочному стенду для проведения рихтовочных работ. Анкерные балки неподвижно закреплены в зазорах между платформами по бокам рихтовочного стенда.

[3]

Уровень техники

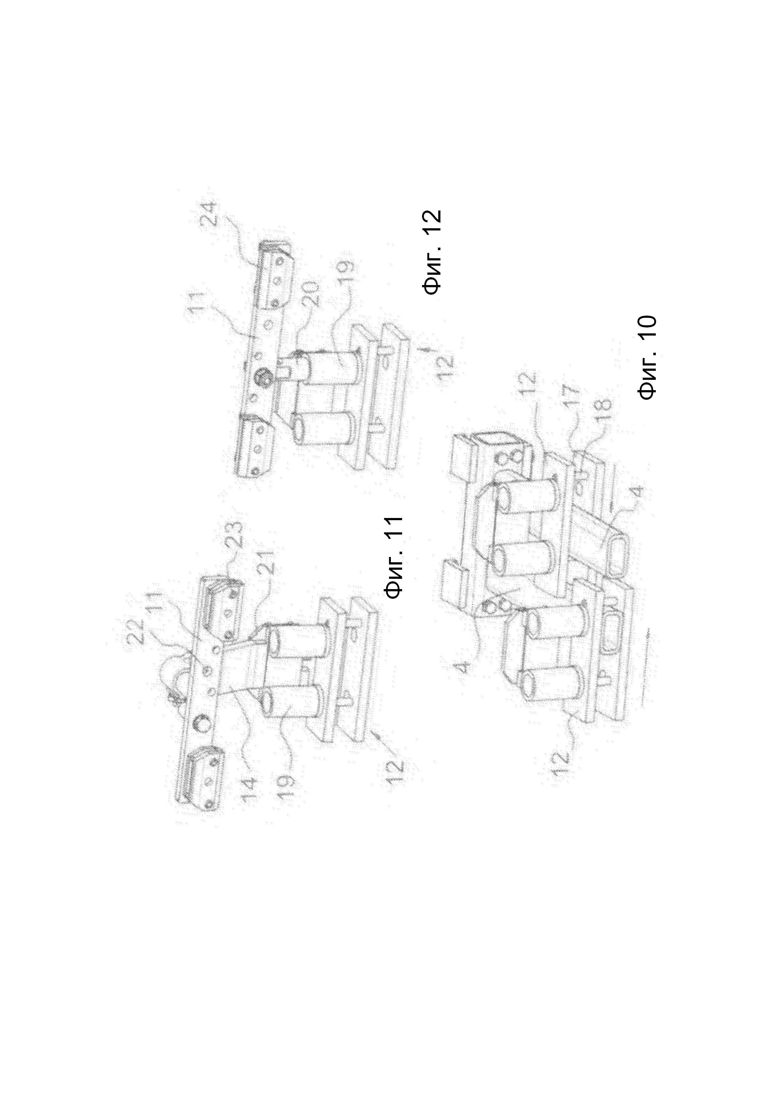
[4]

При ремонте автомобилей после столкновений используют самые разнообразные рихтовочные устройства для выпрямления выполненных из листового металла деталей и иных частей кузова автомобиля. Такие рихтовочные устройства содержат подъемный рихтовочный стенд или аналогичную конструкцию, по которой перемещается автомобиль и к которому крепится кузов автомобиля до начала работ по рихтовке.

[5]

Рихтовочный стенд снабжен также платформами, расположенными с обеих его сторон. В процессе использования рихтовочного устройства автомобиль перемещается на рихтовочный стенд по этим платформам. Рихтовочное устройство для автомобиля включает в себя также подъемный механизм, с помощью которого рихтовочный стенд с установленным на него автомобилем перемещаются по вертикали. После того как автомобиль поднят, поднимают и устанавливают в нужные места отдельные анкерные балки, которые закрепляют в имеющихся на рихтовочном стенде точках крепления. Эти анкерные балки снабжены отдельными приспособлениями (либо такие приспособления могут быть смонтированы на них после монтажа этих анкерных балок), которые расположены в точках крепления, имеющихся на автомобиле. После этого рихтовочный стенд поднимают на нужную высоту и прикрепляют к рихтовочному устройству для автомобиля с помощью фиксаторов автомобиля. Затем стенд для рихтовки автомобиля вместе с этим последним либо поднимают, либо опускают до нужной рабочей высоты и приступают к выполнению рихтовочных операций.

[6]

В некоторых рихтовочных устройствах анкерные балки находятся между частями платформ и действуют в качестве части приводных платформ, когда автомобиль приводится в движение по рихтовочному стенду. В качестве анкерных балок используются крупные и тяжелые балки. Операторы должны, как правило, поднимать их в нужное место и прикреплять их к рихтовочному стенду в процессе крепления автомобиля. На этом этапе автомобиль находится на такой высоте, что его положения, соответствующие подъему и креплению, оказываются довольно неудачными, так что установка анкерных балок в нужное место представляет собой длительную и утомительную операцию, занимающую значительное время.

[7]

Приспособления крепятся неподвижно к анкерным балкам или могут устанавливаться на анкерные балки после закрепления последних. В обоих случаях эти приспособления расположены на анкерных балках в определенных позициях, при этом не обеспечивается их беспрепятственное перемещение в продольном направлении автомобиля. На разных автомобилях точки крепления могут находиться в разных местах, поэтому часто приходится передвигать автомобиль в процессе его крепления.

[8]

Раскрытие сущности изобретения

[9]

Задачей изобретения является разработка такого рихтовочного устройства для автомобиля, в котором перечисленные выше недостатки были бы устранены. Говоря конкретнее, задача изобретения состоит в разработке рихтовочного устройства для автомобиля, которое могло бы крепиться к автомобилю быстрее, чем в известных системах уровня техники, а также было бы более легким в эксплуатации и предоставляло бы более широкие возможности, нежели решения, известные из предшествующего уровня техники.

[10]

Указанная задача решена рихтовочным устройством для автомобиля, отличительные признаки которого представлены в формуле изобретения.

[11]

Предлагаемое рихтовочное устройство для автомобиля включает в себя опорные устройства, монтируемые возле колес автомобиля, которые расположены между балками в передней части рихтовочного стенда, под ними, когда рихтовочный стенд поднят на рабочую высоту и размещен таким образом, чтобы поддерживать колеса в процессе опускания рихтовочного стенда и автомобиля. С помощью этих опорных устройств можно поддерживать автомобиль на этапе крепления таким образом, чтобы между днищем автомобиля и рихтовочным стендом оставалось свободное пространство для прикрепления фиксаторов к анкерным балкам в точках крепления автомобиля, под ними.

[12]

Когда анкерные балки неподвижно закреплены в зазорах между платформами по бокам рихтовочного стенда, эти анкерные балки всегда являются неподвижной частью конструкции рихтовочного стенда, вследствие чего нет необходимости в их прикреплении к рихтовочному стенду или в их специальном отделении от него. Благодаря этому экономится значительная часть рабочего времени и ускоряется работа по рихтовке. Кроме того, операторам не приходится трудиться в неудобных положениях.

[13]

В соответствии с одним из предпочтительных вариантов осуществления изобретения, фиксаторы включают в себя фиксирующие рамы, которые прикреплены к анкерным балкам с возможностью перемещения в продольном направлении рихтовочного стенда. В этом случае фиксаторы могут перемещаться в то время, когда автомобиль точно крепится в имеющихся на нем точках крепления, при этом становится возможным крепление автомобиля строго в требуемых местах. Когда опорные устройства обеспечивают поддержание автомобиля в нужном положении, а фиксирующие рамы могу перемещаться строго в нужное место, становится возможным крепить автомобиль к рихтовочному стенду с легкостью, быстро и надежно.

[14]

В соответствии с еще одним предпочтительным вариантом осуществления изобретения, фиксаторы включают в себя приспособления, прикрепляемые к фиксирующим рамам.

[15]

Краткое описание чертежей

[16]

Ниже приводится более детальное описание изобретения со ссылками на приложенные чертежи, где:

[17]

фиг. 1 представляет собой диагональный вид сверху предлагаемого рихтовочного устройства для автомобиля,

[18]

фиг. 2 представляет собой вид сбоку рихтовочного устройства по фиг. 1 в нижнем положении с установленным на нем автомобилем,

[19]

фиг. 3 представляет собой вид сбоку рихтовочного устройства по фиг. 1, приподнятого от нижнего положения, с установленным на нем автомобилем,

[20]

фиг. 4 представляет собой вид сбоку рихтовочного устройства по фиг. 1, поднятого в верхнее положение, с установленным на нем автомобилем,

[21]

фиг. 5 представляет собой вид сбоку рихтовочного устройства по фиг. 1 в рабочем положении с установленным на нем автомобилем,

[22]

фиг. 6 представляет собой вид в увеличенном масштабе некоторых деталей конструкции по фиг. 5,

[23]

фиг. 7 представляет собой вид сбоку рихтовочного устройства по фиг. 1 в рабочем положении с установленным на нем автомобилем,

[24]

фиг. 8 представляет собой вид в увеличенном масштабе некоторых деталей конструкции по фиг. 7,

[25]

фиг. 9 представляет собой другой вид сбоку, иллюстрирующий использование рихтовочного устройства по фиг. 1 в рабочем положении,

[26]

фиг. 10 представляет собой детальную иллюстрацию способа крепления фиксирующих рам к анкерным балкам,

[27]

фиг. 11 представляет собой детальную иллюстрацию способа крепления фиксатора к верхнему шву порога,

[28]

фиг. 12 представляет собой детальную иллюстрацию способа крепления фиксатора к нижнему шву порога.

[29]

Осуществление изобретения

[30]

Рихтовочное устройство для автомобиля, представленное на фиг. 1-12, содержит раму, смонтированную на опоре, подъемный механизм, прикрепленный к раме, который на этих чертежах имеет форму ножничного подъемного механизма, и рихтовочный стенд, прикрепленный к верхней части ножничного подъемника. По обеим сторонам рихтовочного стенда имеются платформы, на которых для проведения рихтовочных работ может перемещаться автомобиль.

[31]

На фиг. 1 показано рихтовочное устройство с входящими в ее состав узлами и компонентами. Рихтовочный стенд 3 снабжен на разных продольных сторонах задними платформами 5а1 и 5а2 в задней части рихтовочного стенда и центральными платформами 8а1 и 8а2 в центральной части. Кроме того, на обеих сторонах рихтовочного стенда, между платформами 5а1 и 8а1 и платформами 5а2 и 8а2, предусмотрены съемные промежуточные платформы 6 и съемные промежуточные платформы (на фиг. 1 не показаны) на передней стороне центральных платформ. Между задними платформами, центральными платформами и передними платформами оставлены зазоры. В этих зазорах с одной стороны закреплены анкерные балки 4а1, 4а2, а с другой стороны - анкерные балки 4а3 и 4а4. Анкерные балки 4а1, 4а2, 4а3 и 4а4 устанавливаются на рихтовочном стенде 3 в тех местах, где возможно крепление автомобиля к этому рихтовочному стенду. Фиксирующие рамы прикреплены к анкерным балкам; фиксирующие рамы 12а1 и 12а2 находятся в передней части, а фиксирующие рамы 13а1 и 13а2 - в задней части. Кроме того, рихтовочное устройство по фиг. 1 включает в себя отдельную рихтовочную балку 7, а также опорные устройства 10а1 и 10а2. Кроме этого, на фиг. 1, в передней части рихтовочного стенда, показаны балки 9а1 и 9а2 с одной стороны рихтовочного стенда и балки 9а3 и 9а4 - с другой стороны, для колес автомобиля.

[32]

На фиг. 2-9 иллюстрируются рама 1, установленная на опоре, ножничный подъемный механизм 2, прикрепленный к раме, и рихтовочный стенд 3, прикрепленный к ножничному подъемному механизму. С обеих сторон рихтовочного стенда имеются платформы 5, 6 и 8, по которым может перемещаться автомобиль. На чертежах дополнительно показаны анкерные балки 4, неподвижно закрепленные между платформами, фиксирующие рамы 12, прикрепленные к ним, и приспособления 11, 13, которые должны крепиться к фиксирующим рамам, а на фиг. 9 - подъемная часть 15, 16, подлежащая креплению к приспособлениям.

[33]

При использовании предлагаемого рихтовочного устройства для автомобиля в целях ремонта, состоящего в рихтовке автомобиля 3, этот последний сначала перемещают на рихтовочный стенд, как показано на фиг. 2. Передние колеса автомобиля расположены между балками 9а1 и 9а2 в передней части рихтовочного стенда, а задние колеса - на платформах 5 и/или 6 в его задней части. Анкерные балки находятся в зазорах платформ 6 и 8, при этом платформы вместе с анкерными балками образуют приводную платформу, вдоль которой может приводиться в движение автомобиль на рихтовочном стенде. Как видно на фиг. 3, рихтовочный стенд 3 поднимают на такую высоту, чтобы рихтовочная балка 7 могла быть сдвинута до соприкосновения с рихтовочным стендом и прикреплена к нему.

[34]

На фиг. 4 автомобиль показан в положении, когда он был сначала поднят с помощью рихтовочного стенда на такую высоту, чтобы опорные устройства 10 надежно установились под колесами. После этого рихтовочный стенд опускают в положение, показанное на фиг. 4. В этом положении фиксирующие рамы 12 и приспособления 11, 13, которые должны быть присоединены к ним, можно крепить к анкерным балкам, при этом фиксаторы будут располагаться в точках крепления, находящихся под ними.

[35]

На фиг. 5 рихтовочный стенд показан в следующем положении, когда он поднят вверх в направлении по стрелке В, в результате чего он находится над опорными устройствами, при этом автомобиль по мере своего подъема автоматически крепится к рихтовочному стенду с помощью передних приспособлений 11 и задних приспособлений 13. На фиг. 6 в увеличенном масштабе показаны анкерная балка 4, закрепленная на ней фиксирующая рама 12 и прикрепленное к ней приспособление 11 для порога.

[36]

На фиг. 7 и 8 иллюстрируется крепление автомобиля к рихтовочному стенду посредством использования двойного фиксатора 11, который крепится в автомобилю верхней кромкой А. Такую меру применяют для автомобилей, в которых отсутствует нижняя кромка порога. На фиг. 8 в увеличенном масштабе показаны анкерная балка 4, закрепленная над ней фиксирующая рама 12 и приспособление 11, прикрепленное к регулируемому крон штейну 14.

[37]

Когда автомобиль прикреплен к рихтовочному стенду, как показано на фиг. 5-8, можно приступать к работе по рихтовке автомобиля. Операции рихтовки осуществляются с помощью рихтовочной балки 7 с использованием хорошо известной процедуры.

[38]

На фиг. 9 иллюстрируется использование устройства для целей ремонта и техобслуживания. В этом случае подъемная часть 15 монтируется на фиксирующей раме 12, высота которой регулируется стопорным штифтом 16.

[39]

На фиг. 10 показаны две фиксирующих рамы 12 и их крепление к анкерным балкам 4 рихтовочного стенда. Имеются две балки, находящиеся на некотором расстоянии одна от другой, в качестве анкерных балок 4. Фиксирующие рамы 12 включают в себя две пластинчатые части 17, находящиеся на некотором расстоянии одна от другой, и расположенные между ними крепежные винты 18, находящиеся на некотором расстоянии один от другого. Расстояние между крепежными винтами больше ширины балок фиксирующей рамы. В процессе крепления автомобиля фиксирующие рамы 12 устанавливают по отношению к анкерным балкам 4 таким образом, чтобы анкерная балка оказалась между пластинчатыми частями 17. Как видно на фиг. 10, фиксирующие рамы 12 могут перемещаться и сдвигаться в продольном направлении рихтовочного стенда, как показано стрелками. После того как они надежно установлены в нужное место в точках крепления автомобиля, их можно закрепить в этом положении крепежными винтами 18.

[40]

На фиг. 11 и 12 иллюстрируется фиксирующая рама 12 по фиг. 10. На верхней пластинчатой части фиксирующей рамы имеются две направленные вверх гильзы 19, к которым может быть прикреплено приспособление 11 с помощью трубчатой промежуточной детали 20 (фиг. 12). Кроме того, к гильзам прикреплена крепежная деталь 21, к которой может крепиться приспособление 11 с помощью пластинчатой промежуточной детали 14 (фиг. 11). Приспособление 11 представляет собой пластинчатую деталь, в середине которой расположены точки 22 крепления для ее прикрепления к промежуточной детали 14 или 20 посредством винтового соединения. На обоих концах пластинчатой детали фиксатора имеются крепежные элементы 23, 24 для крепления этого фиксатора к шву порога автомобиля. В качестве крепежных элементов 23, 24 использованы две пластины, находящиеся на небольшом расстоянии одна от другой, которые могут прижиматься друг к другу и выполнены с возможностью установки на обеих сторонах шва автомобиля, а также крепиться/прижиматься к шву.

[41]

На фиг. 11 детально демонстрируется, как фиксатор крепится к верхнему шву порога. В этом случае приспособление 11 крепится посредством винтового соединения к пластинчатой промежуточной детали 14. Зазор между фиксирующими пластинами проходит в направлении вниз, при этом фиксирующие пластины прижимаются к верхнему шву порога автомобиля.

[42]

На фиг. 12 детально демонстрируется, как фиксатор крепится к нижнему шву порога. В этом случае приспособление 11 крепится посредством винтового соединения к трубчатой промежуточной детали 20. Зазор между фиксирующими пластинами проходит в направлении вверх, при этом фиксирующие пластины прижимаются к нижнему шву порога автомобиля.

[43]

Для крепления к верхнему и нижнему швам автомобиля используется один и тот же фиксатор. В процессе крепления к верхнему шву этот фиксатор поворачивают в одно положение, а при креплении к нижнему шву - в другое.

[44]

Изобретение не ограничивается описанными выше предпочтительными вариантами его осуществления, так что возможны различные модификации, которые не должны выходить за рамки объема изобретательской идеи, заявленной в формуле изобретения.

Как компенсировать расходы
на инновационную разработку
Похожие патенты