патент
№ RU 2706410
МПК F16H1/32
Номер заявки
2018141018
Дата подачи заявки
21.11.2018
Опубликовано
18.11.2019
Страна
RU
Как управлять
интеллектуальной собственностью
Чертежи 
2
Реферат

Изобретение относится к области машиностроения. Планетарная прецессионная передача содержит связанный с входным валом кривошип (1), сателлит с внешними эвольвентными бочкообразными зубьями (2), сферический подшипник сателлита (3), неподвижное центральное колесо с внутренними эвольвентными прямыми зубьями (4), выходной вал (5), угловую муфту (6), подшипники входного и выходного валов (7) и (8), корпус (9) и крышку корпуса (10). Сателлит (2) может быть выполнен двухвенцовым для повышения нагрузочной способности передачи. Повышение уровня технологичности достигается за счет выполнения колес эвольвентными прямозубыми и упрощения их изготовления. Обеспечивается повышение уровня технологичности передачи. 1 з.п. ф-лы, 2 ил.

Формула изобретения

1. Планетарная прецессионная передача, содержащая связанный с входным валом кривошип, неподвижное центральное колесо с внутренним зубчатым венцом, сателлит с внешними зубьями, установленный посредством сферического подшипника на кривошипе и связанный с выходным валом посредством угловой муфты, отличающаяся тем, что неподвижное центральное колесо с внутренним зубчатым венцом выполнено эвольвентным прямозубым, а сателлит - с эвольвентными бочкообразными зубьями.

2. Планетарная прецессионная передача по п. 1, отличающаяся тем, что сателлит с внешними зубьями выполнен с двумя венцами, расположенными симметрично относительно угловой муфты.

Описание

[1]

Техническое решение относится к области машиностроения, а именно к зубчатым планетарным передачам, и может быть использовано в различных отраслях народного хозяйства.

[2]

Известен прецессионный соосный редуктор (RU 2529943 C1, МПК F16H 1/32, F04B 47/02, F04C 2/107. опубл. 10.10.2014), содержащий приводной угловой эксцентриковый вал, плоскоконическую зубчатую передачу, состоящую из неподвижного и тихоходного конических центральных колес и двухвенцового сателлита с плоскими начальными поверхностями зубчатых венцов [1].

[3]

Недостатком ее является низкая технологичность редуктора, вызванная сложностью в изготовлении углового эксцентрикового вала, конических колес и двухвенцового сателлита с плоскими начальными поверхностями зубчатых венцов.

[4]

Наиболее близким техническим решением к заявленной передаче и выбранным в качестве прототипа признана планетарная прецессионная передача (BY 11070 C1, МПК F16H 1/32, опубл. 30.08. 2008), содержащая связанный с входным валом кривошип, неподвижное центральное колесо, внутренний зубчатый венец которого выполнен в виде роликов с осями параллельными оси вращения входного вала, взаимодействующих с внешними зубьями конического сателлита, установленного посредством сферического подшипника на кривошипе и связанного с выходным валом посредством угловой муфты [2].

[5]

Недостатком этой конструкции также является низкий уровень технологичности, что связано с наличием сложных в изготовлении деталей: неподвижного центрального колеса, внутренний зубчатый венец которого выполнен в виде набора роликов, и неэвольвентного конического сателлита.

[6]

Задачей данного изобретения является повышение уровня технологичности планетарной прецессионной передачи.

[7]

Для решения поставленной задачи в планетарной прецессионной передаче, содержащей связанный с входным валом кривошип, неподвижное центральное колесо с внутренним зубчатым венцом, сателлит с внешними зубьями, установленный посредством сферического подшипника на кривошипе и связанный с выходным валом посредством угловой муфты, неподвижное центральное колесо с внутренним зубчатым венцом выполнено эвольвентным прямозубым, а сателлит - с эвольвентными бочкообразными зубьями.

[8]

Повышение уровня технологичности планетарной прецессионной передачи обеспечивается выполнением неподвижного центрального колеса с внутренним зубчатым венцом эвольвентным прямозубым, а сателлита - с эвольвентными бочкообразными зубьями, что упрощает их изготовление.

[9]

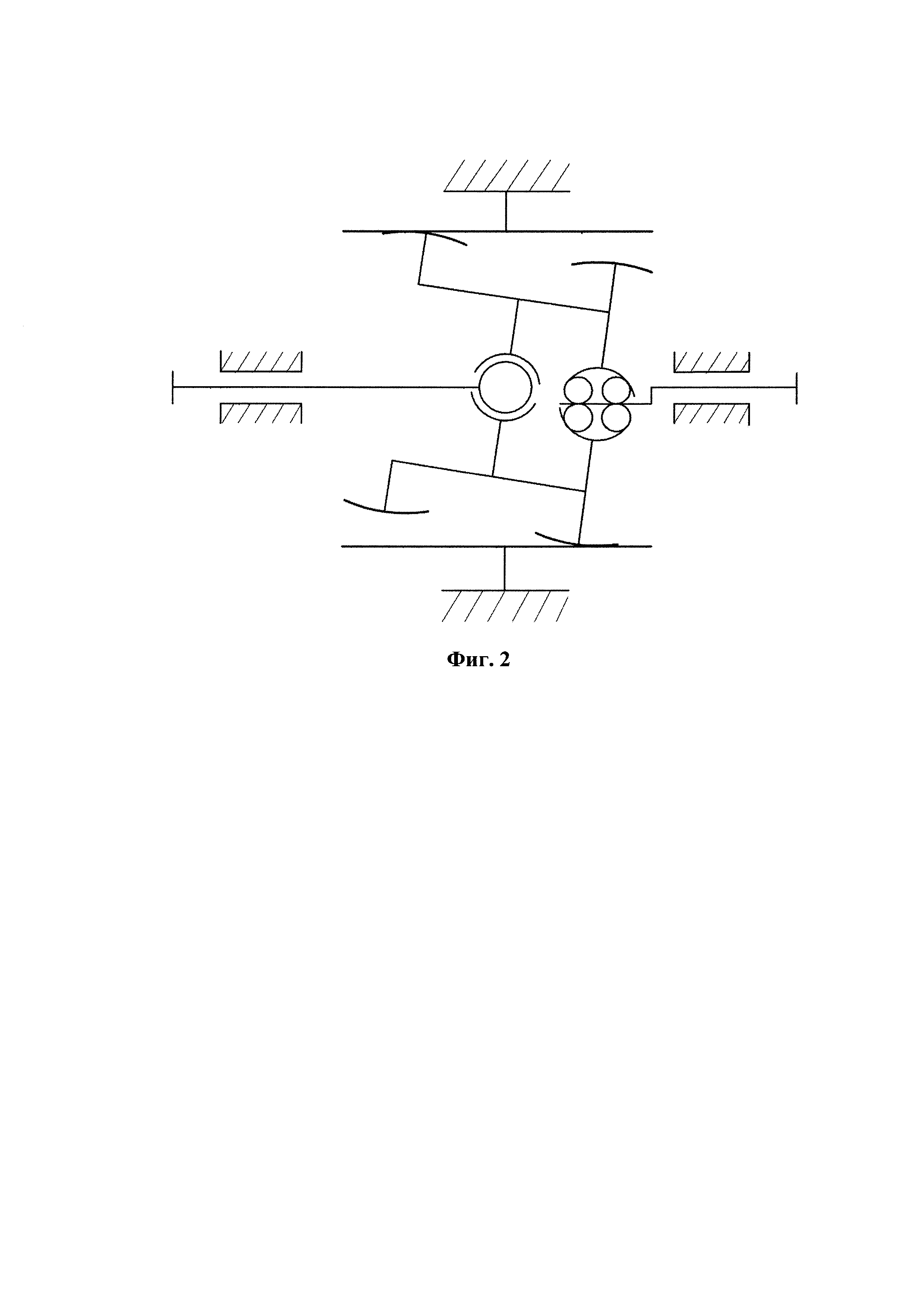
Изобретение поясняется чертежами, где на фиг. 1 изображен общий вид планетарной прецессионной передачи в разрезе, на фиг. 2 - ее кинематическая схема.

[10]

Планетарная прецессионная передача содержит связанный с входным валом кривошип 1, сателлит 2, сферический подшипник сателлита 3, неподвижное центральное колесо 4, выходной вал 5, угловую муфту 6, подшипник входного вала 7, подшипник выходного вала 8, корпус 9 и крышку корпуса 10. Сателлит 2 выполнен с эвольвентными бочкообразными зубьями, цилиндрическими пазами под ролики угловой муфты 6 и посадочным гнездом под сферический подшипник 3. Выходной вал 5 имеет цилиндрические пазы под ролики угловой муфты 6. Неподвижное центральное колесо 4 выполнено с внутренними прямыми эвольвентными зубьями. Сателлит 2 посажен на ролики угловой муфты 6 и посредством сферического подшипника 3 - на входной вал с кривошипом 1 и зацепляется с неподвижным центральным колесом 4. Подшипник выходного вала 8 и сферический подшипник 3 выполняют, предпочтительно, из сталей, подвергающихся химико-термической обработке, например марок 15Г1, 18ХГТ или 20Х2Н4А.

[11]

Сборка планетарной прецессионной передачи осуществляется в следующей последовательности.

[12]

В корпусе 9 устанавливаются неподвижное центральное колесо 4 и подшипник выходного вала 8, на который сажается выходной вал 5. На входной вал 1 с предварительно установленным на нем подшипником 7 сажается сферический подшипник 3. Сателлит 2 сажается на сферический подшипник 3. Собранный таким образом блок деталей вводится внутрь неподвижного центрального колеса 4 так, чтобы сателлит 2 цилиндрическими пазами сел на ролики угловой муфты 6, предварительно расположенные в цилиндрических пазах выходного вала 5. После этого крышка корпуса 10 сажается одновременно в корпус 9 и на подшипник входного вала 8.

[13]

Для повышения нагрузочной способности планетарной прецессионной передачи сателлит 2 может быть выполнен с двумя венцами, расположенными симметрично относительно угловой муфты, что позволяет увеличить в два раза число зон зацепления и число пар зубьев, несущих нагрузку.

[14]

Планетарная прецессионная передача работает следующим образом.

[15]

Вращение от входного вала с кривошипом 1 передается сателлиту 2, зацепляющемуся с неподвижным центральным колесом 4 и совершающему прецессирующее вращательное движение. От сателлита 2 вращение через угловую муфту 6 передается на выходной вал 8.

[16]

Планетарная прецессирующая передача с таким конструктивным решением имеет высокий уровень технологичности, а выполнение сателлита двухвенцовым позволяет повысить ее нагрузочную способность.

[17]

Список использованных источников

[18]

1. Пат. RU 2529943 C1, МПК F16H 1/32, F04B 47/02, F04C 2/107. Соосный редуктор / Денисов Ю.Г., Сызранцев В.Н., Вибе В.П. Опубл. 10.10.2014, Бюл. №28.

[19]

2. Пат. BY11070 C1, МПК F16H 1/32. Планетарная прецессионная передача / Галюжин Д.С., Громыко П.Н., Трусов И.В. Опубл. 30.08. 2008 (прототип).

Как компенсировать расходы
на инновационную разработку
Похожие патенты