патент
№ RU 2704643
МПК B64C27/04

ВЕРТОЛЕТ

Авторы:
Болотин Николай Борисович
Номер заявки
2018141020
Дата подачи заявки
21.11.2018
Опубликовано
30.10.2019
Страна
RU
Как управлять
интеллектуальной собственностью
Чертежи 
4
Реферат

Изобретение относится к области авиации, в частности к конструкциям вертолетов. Вертолет содержит фюзеляж с днищем, несущий винт на валу, соединенном через редуктор с газотурбинным двигателем, имеющим воздухозаборник, компрессор, камеру сгорания, турбину и сопло. Газотурбинный двигатель установлен вертикально соосно с валом, выполнен с форсажной камерой между соплом и турбиной. За компрессором выполнен коллектор, который трубопроводами отбора воздуха соединен с соплами крена, установленными на днище фюзеляжа. На днище фюзеляжа выполнена платформа безопасности, внутри которой установлена сотовая конструкция. Обеспечивается безопасная посадка вертолета в случае разрушения винта. 1 з.п. ф-лы, 6 ил.

Формула изобретения

1. Вертолет, содержащий фюзеляж с днищем, несущий винт на валу, соединенном через редуктор с газотурбинным двигателем, имеющим воздухозаборник, компрессор, камеру сгорания, турбину и сопло, отличающийся тем, что газотурбинный двигатель установлен вертикально соосно с валом и выполнен с форсажной камерой между соплом и турбиной, за компрессором выполнен коллектор, который трубопроводами отбора воздуха соединен с соплами крена, установленными на днище фюзеляжа.

2. Вертолет по п. 1, отличающийся тем, что на днище фюзеляжа выполнена платформа безопасности, внутри которой установлена сотовая конструкция.

Описание

[1]

Группа изобретений относится к авиации, более конкретно - к вертолетам и направлено на повышение безопасности их полета.

[2]

Известен безопасный вертолет по патенту РФ на изобретение №2333135, МПК В64С 27/04, опубл. 10.09.2008 г.

[3]

Этот вертолет содержит тяговый двигатель и несущий винт с вертикальной осью, на вершине которой располагается четное количество, но не менее четырех лопастей. Вертолет также содержит соединительное устройство, выполняющее роль трансмиссии в режиме работы тягового двигателя, а в режиме работы стартовых двигателей - роль механизма обгонной муфты. Каждая вторая лопасть несущего винта имеет расчетно-укороченный размер габаритной длины и включает в свое устройство один или несколько элементарных работающих, например, на твердом топливе стартовых двигателей. Изобретение позволяет повысить безопасность при аварийной посадке вертолета.

[4]

Недостаток:

[5]

Известен вертолет по патенту РФ на изобретение №2335432, МПК В64С 27/04, опубл. 10.10.2008 г.

[6]

Этот вертолет включает фюзеляж и соосные винты, причем винтов может быть два или более и они могут быть разного диаметра. По меньшей мере, один из винтов - управляемый с изменяемым шагом, а остальные - с фиксированным шагом. Во втором варианте вертолет имеет хвостовую балку с эластичной пневмокамерой на конце, причем при поднятой балке блокируется снижение тяги. В третьем варианте двигатель и редуктор размещены в отдельной мотогондоле, расположенной над фюзеляжем на пилонах и/или эластичных вставках. Изобретение повышает эффективность работы несущего винта.

[7]

Недостаток низкая надежность вертолета связанная с тем, что при поломке одного винта тяги другого недостаточно для его посадки и, кроме того, возникновение дисбаланса нарушает работу второго винта.

[8]

Известен вертолет по патенту РФ на изобретение №2148537, МПК В64С 7/20, опубл. 10.05.200 г., прототип.

[9]

Этот вертолет содержит корпус, воздушно-реактивный двигатель создания силы тяги для горизонтального полета, несущие винты, которые расположены внутри указанного корпуса и служат компрессором воздушно-реактивного двигателя, двигатель, который предназначен для вращения указанных несущих винтов, и кабину пилота. Предусмотрена защитная сетка, под которой расположены несущие винты. Створки расположены внизу под сеткой и предназначены для взлета и посадки.

[10]

Недостаток: плохая безопасность полета в связи с тем, что при разрушении винта посадка вертолета почти всегда приведет к катастрофическим последствиям.

[11]

Задача создания изобретения: повышение надежности и безопасности полета.

[12]

Технический результат: обеспечение безопасной посадки при разрушении винта.

[13]

Решение указанной задачи достигнуто в безопасном вертолете, содержащем фюзеляж с днищем, несущий винт на валу, соединенном через редуктор с газотурбинным двигателем, имеющим воздухозаборник, компрессор, камеру сгорания и турбину, тем, что газотурбинный двигатель с выходным соплом, установлен вертикально соосно с валом, который выполнен с форсажной камерой между соплом и турбиной, за компрессором выполнен коллектор который трубопроводами отбора воздуха соединен с соплами крепа установленными на днище фюзеляжа.

[14]

На днище фюзеляжа может быть выполнена платформа безопасности, внутри которой установлена сотовая конструкция.

[15]

Решение указанной задачи достигнуто в газотурбинном двигателе безопасного вертолета, содержащем воздухозаборник, компрессор, камеру сгорания, турбину и сопло тем, что между турбиной и соплом выполнена форсажная камера.

[16]

Сущность группы изобретений поясняется на чертежах (фиг. 1…6), где:

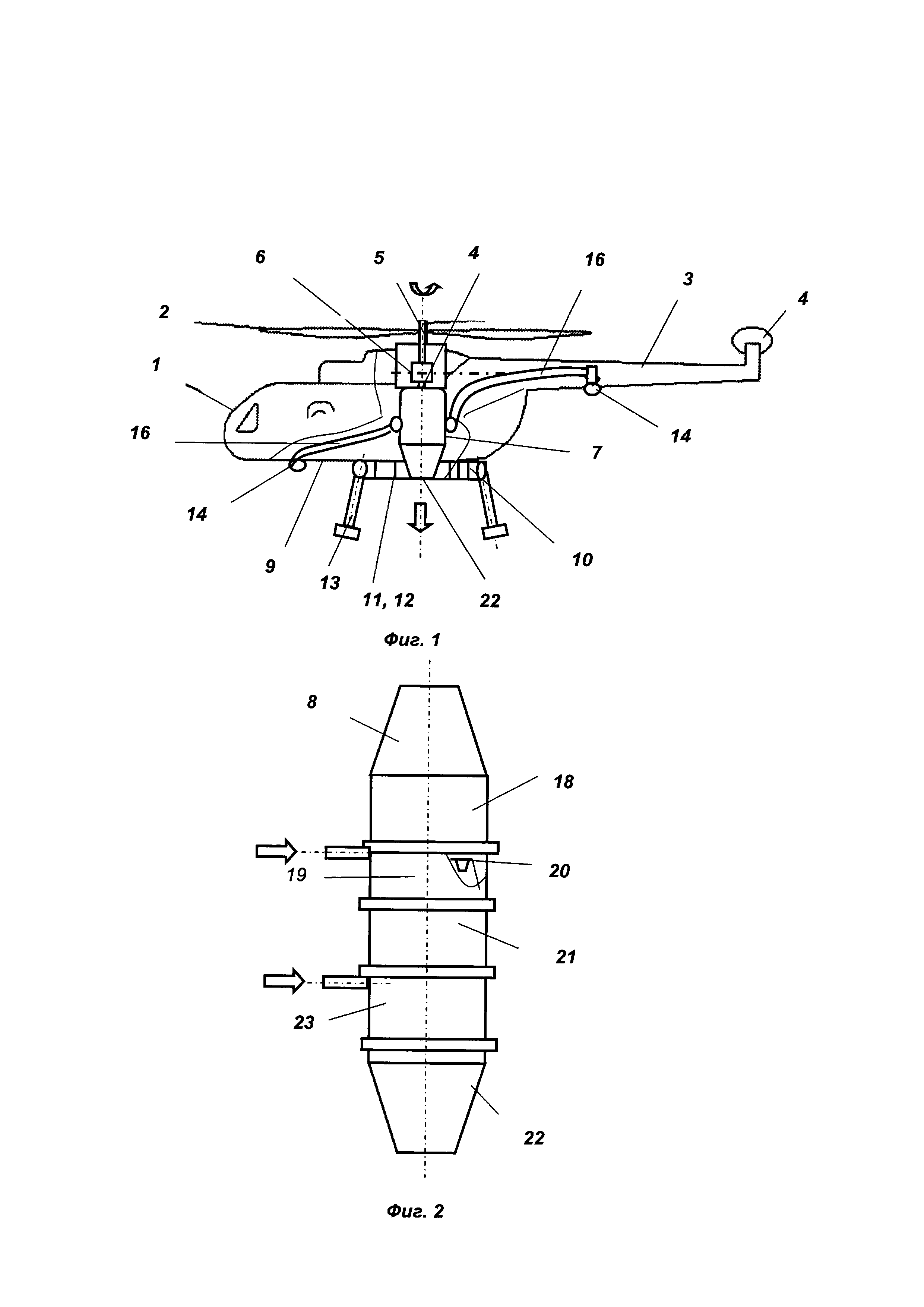
[17]

- на фиг. 1 приведена схема вертолета,

[18]

- на фиг. 2 приведена конструкция газотурбинного двигателя вертолета,

[19]

- на фиг. 3 приведена более подробная конструкция газотурбинного двигателя,

[20]

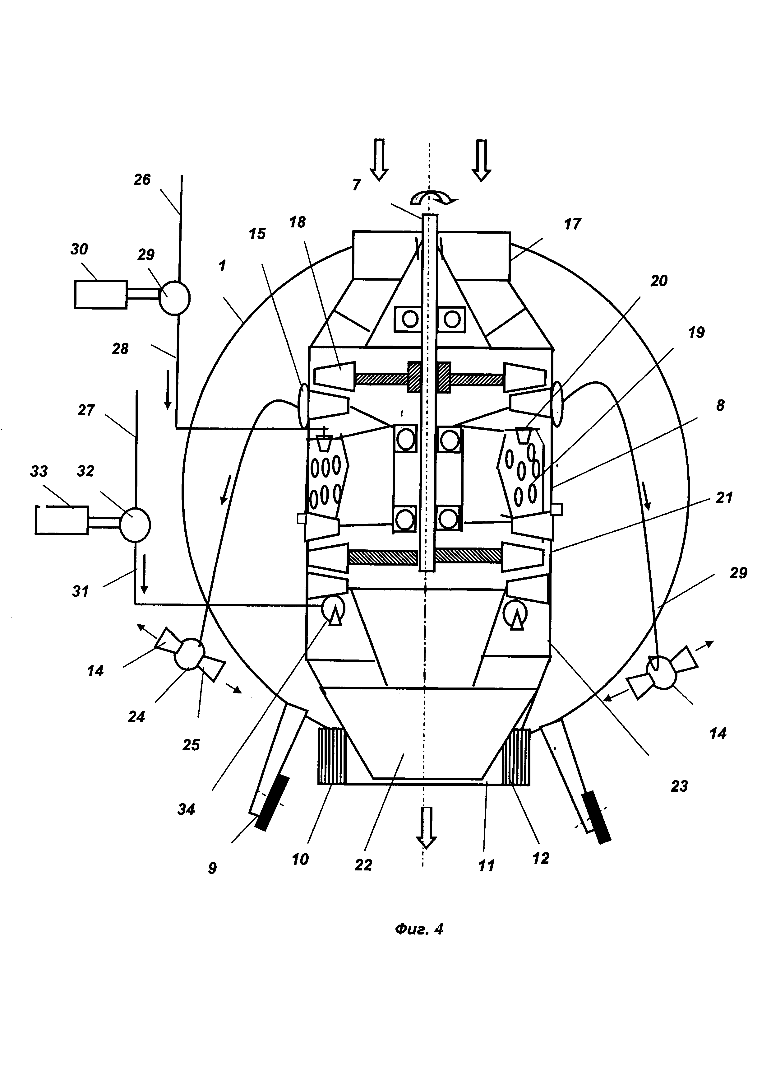
- на фиг. 4 приведен газотурбинный двигатель в фюзеляже,

[21]

- на фиг. 5 приведена платформа безопасности,

[22]

- на фиг. 6 приведен вид А-А.

[23]

Безопасный вертолет (фиг. 1) содержит фюзеляж 1, несущий винт 2, хвост 3, управляющий винт 4, вал 5 соединяющий винт 2 через редуктор 6 с валом 7 газотурбинного двигателя 8.

[24]

На днище 9 фюзеляжа 1 закреплена платформа безопасности 10, в полости 11 которой установлен сотовый наполнитель 12. К днищу 9 прикреплены посадочные опоры 13. К днищу 9 прикреплены блоки сопел крена 14. На газотурбинном двигателе 8 выполнен коллектор 15, который трубопроводами 16 соединен с блоками сопел крена 14.

[25]

Газотурбинный двигатель 8 содержит (фиг. 2) воздухозаборник 17, компрессор 18, камеру сгорания 19 с форсунками 20, турбину 21, сопло 22 и выполненную между турбиной 21 и соплом 22 форсажную камеру 23. Применение форсажных камер в газотурбинных двигателях на сверхзвуковых самолетах известно. Они позволяют кратковременно увеличить скорость полета самолета ценой большого расхода топлива.

[26]

В вертолетах газотурбинные двигатели с форсажной камерой никогда не применялись.

[27]

На фиг. 3 приведена более детально конструкция газотурбинного двигателя 8.

[28]

Система аварийного управления креном содержит сопла крена 14, которые содержат два сопла крена 24 и трехходовой кран 25 с дистанционным управлением.

[29]

Газотурбинный двигатель 8 имеет две топливные системы выполненные независимыми друг от друга: основной 26 и форсажной 27.

[30]

Основная топливная система 25 содержит топливопровод 28, в котором установлен топливный насос 29, соединенный с приводом 30.

[31]

Форсажная топливная система 27 содержит топливопровод 31, в котором установлен форсажный топливный насос 33, соединенный с форсажным приводом 33 и форсажный коллектор 34.

[32]

Газотурбинный двигатель 8 установлена вертикально в центре масс фюзеляжа 1 вертолета (фиг. 1).

[33]

РАБОТА ВЕРТОЛЕТА В НОРМАЛЬНОМ РЕЖИМЕ

[34]

При помощи стартера (не показан) раскручивают вал 7 газотурбинного двигателя 8 запускают привод 30, который раскручивает топливный насос 29, топливо (авиационный керосин) по топливопроводу 28 подается в форсунки 20 камеры сгорания 19, где воспламеняется при помощи запальника (не показан). Продукты сгорания проходят через турбину 21. Мощность с турбины 21 передается на компрессор 18, который сжимают воздух, идущий через воздухозаборник 17. Сжатый воздух подается в камеру сгорания 19 для поддержания процесса горения.

[35]

Реактивная тяга основной газотурбинного двигателя 8 передается на фюзеляж 1, что в совокупностью с силой тяги винта 2 обеспечивает вертикальный взлет и посадку вертолета. Тяговооруженность винта 2 и составляет 1,1…1,2, что достаточно для практически мгновенного взлета.

[36]

РАБОТА ВЕРТОЛЕТА В АВАРИЙНОМ РЕЖИМЕ

[37]

При поломке винта 2 задействуют форсажную топливную систему 27, для этого запускают форсажный привод 33, который раскручивает топливный насос 32, топливо (авиационный керосин) по топливопроводу 31 подается в форсажный коллектор 34 форсажной камеры сгорания 32, где воспламеняется при помощи запальника (не показан). Продукты сгорания проходят через сопло 22.

[38]

Тяга, создаваемая соплом 22 увеличивается в 2…3 раза, что компенсирует отсутствие винта 2.

[39]

Блоки сопел крена 14 компенсируют вращающий момент, действующий на вертолет.

[40]

РАБОТА ВЕРТОЛЕТА И ЕГО СИЛОВОЙ УСТАНОВКИ

[41]

При эксплуатации вертолета (фиг. 1) несущий винт 1 создает около 50% подъемной силы и до 50% создает сопло 9, выбрасывая воздух вертикально вниз.

[42]

РАБОТА ВЕРТОЛЕТА И ЕГО СИЛОВОЙ УСТАНОВКИ В АВАРИЙНОЙ СИТУАЦИИ

[43]

При поломке несущего винта 2 включают формажную камеру 10 и сопло 8 создает подъемную силу до от 99% до 100% от веса вертолета и вертолет будет иметь возможность сесть на поверхность земли без повреждений или с небольшими повреждениями кожуха 8, которые компенсируются сотовой конструкцией 23 и демпфирующей прокладкой 24.

[44]

Применение группы изобретений позволило:

[45]

- обеспечить безопасную посадку при разрушении винта,

[46]

- сохранить жизнь экипажу и пассажирам.

Как компенсировать расходы
на инновационную разработку
Похожие патенты