патент
№ RU 2702055
МПК F16K31/00

ОТСЕЧНОЙ КЛАПАН С ПРИВОДОМ И СИСТЕМА УПРАВЛЕНИЯ ИМ

Авторы:
Каменская Ирина Михайловна Черкасов Михаил Андреевич Суббота Олег Евгеньевич
Все (5)
Номер заявки
2019105074
Дата подачи заявки
22.02.2019
Опубликовано
03.10.2019
Страна
RU
Как управлять
интеллектуальной собственностью
Чертежи 
2
Реферат

Отсечной клапан относится к нормально открытым клапанам и может быть использован в производственных помещениях с ограниченным доступом обслуживающего персонала, например в зонах с повышенной радиацией, пожаровзрывоопасных зонах, в дистанционно удаленных зонах эксплуатации. Предложен отсечной клапан с приводом, нормально открытый, содержащий выходное звено привода, корпус с седлом, входной и выходной патрубки, запорный орган, шток, отведенный пружиной от седла на ход, обеспечивающий проходное сечение клапана в исходном открытом положении, при этом в исходном открытом положении выходное звено привода установлено с зазором по отношению к штоку, а выходное звено привода взаимодействует контактно со штоком клапана только в сторону закрытия клапана. Предложена также система управления отсечного клапана с приводом, содержащая датчики давления на входе, выходе и перепада давления на входе и выходе, задатчики величины давления закрытия клапана и величины перепада давления отвода выходного звена привода в исходное открытое положение, первое и второе сравнивающие устройства, формирователь команды на закрытие клапана, формирователь команды на отвод в исходное открытое положение выходного звена привода, при этом выходы задатчика величины давления закрытия клапана и датчика давления на входе соединены с входами первого сравнивающего устройства, выход которого соединен с входом формирователя команды на закрытие клапана, а выходы датчика перепада давления на входе и выходе и задатчика величины перепада давления на отвод выходного звена привода в исходное открытое положение соединены с входами второго сравнивающего устройства, выход которого подключен к входу формирователя команды на отвод в исходное открытое положение выходного звена привода, причем выходы обоих формирователей соединены с приводом. Преимуществом предложенного клапана является обеспечение открытия клапана в пассивном режиме как в штатных условиях, так и в условиях отключения электропитания при невозможности ручного управления входным давлением. Клапан открывается пассивным способом без команды от автоматической системы управления и без подвода внешней энергии. Клапан надежен, прост в исполнении, технологичен. 2 н.п. ф-лы, 2 ил.

Формула изобретения

1. Отсечной клапан с приводом, нормально открытый, содержащий выходное звено привода, корпус с седлом, входной и выходной патрубки, запорный орган, шток, отведенный пружиной от седла на ход, обеспечивающий проходное сечение клапана в исходном открытом положении, отличающийся тем, что в исходном открытом положении выходное звено привода установлено с зазором по отношению к штоку, выходное звено привода взаимодействует контактно со штоком клапана только в сторону закрытия клапана.

2. Система управления отсечного клапана с приводом, отличающаяся тем, что в нее введены датчики давления на входе, выходе и перепада давления на входе и выходе, задатчики величины давления закрытия клапана и величины перепада давления отвода выходного звена привода в исходное открытое положение, первое и второе сравнивающие устройства, формирователь команды на закрытие клапана, формирователь команды на отвод в исходное открытое положение выходного звена привода, при этом выходы задатчика величины давления закрытия клапана и датчика давления на входе соединены с входами первого сравнивающего устройства, выход которого соединен с входом формирователя команды на закрытие клапана, а выходы датчика перепада давления на входе и выходе и задатчика величины перепада давления на отвод выходного звена электропривода в исходное открытое положение соединены с входами второго сравнивающего устройства, выход которого подключен к входу формирователя команды на отвод в исходное открытое положение выходного звена привода, причем выходы обоих формирователей соединены с приводом.

Описание

[1]

Предлагаемый отсечной клапан относится к нормально открытым клапанам и может быть использован в производственных помещениях с ограниченным доступом обслуживающего персонала, например, в зонах с повышенной радиацией, пожаро-взрывоопасных зонах, в дистанционно удаленных зонах эксплуатации.

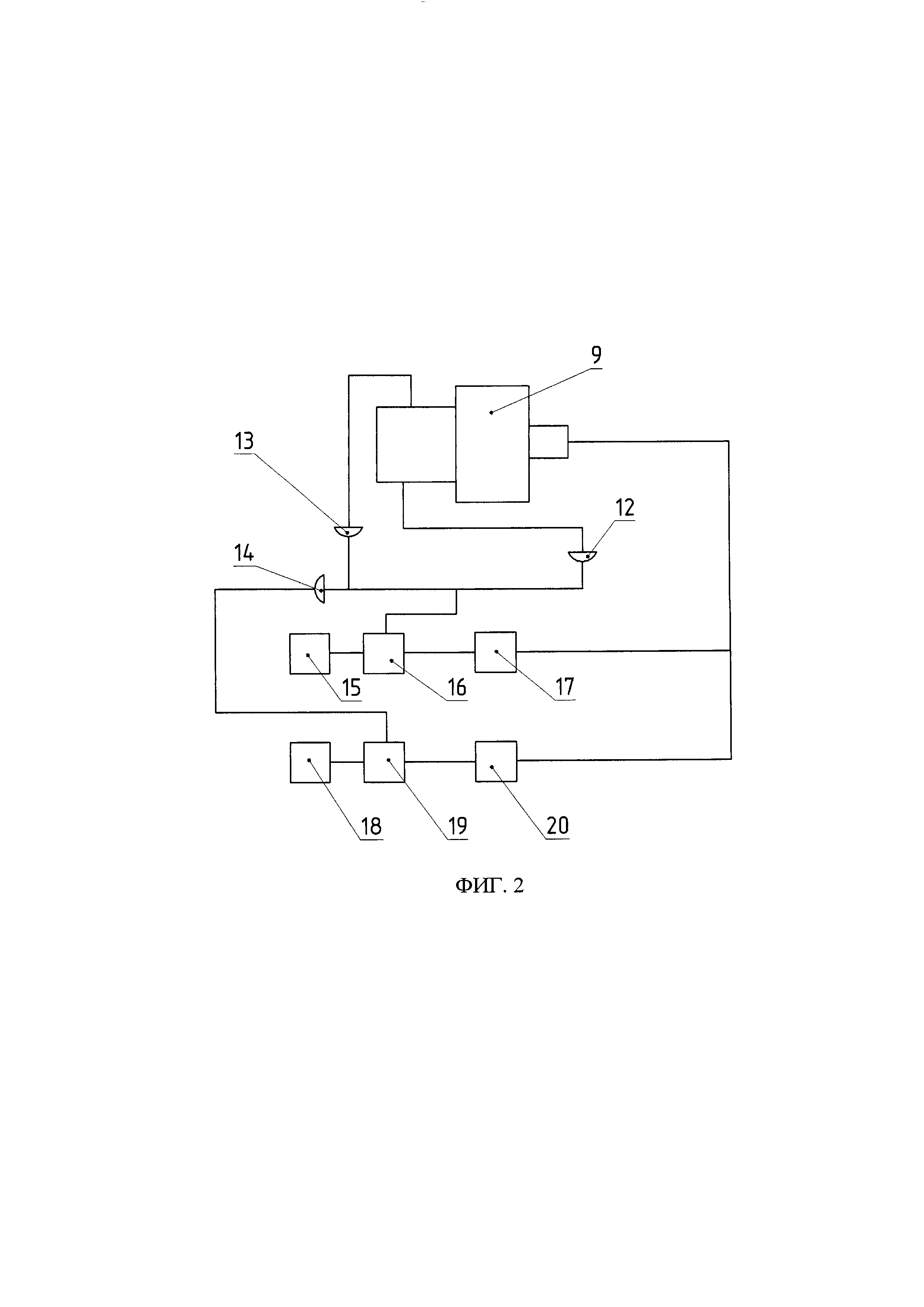
[2]

Так, например, подобный отсечной клапан может устанавливаться внутри герметичной оболочки АЭС (атомной электростанции) на уравнительных трубопроводах системы терморегулирования, соединяющих верхнюю часть гидроемкостей второй ступени с первым контуром и предназначен для отсечки гидроемкостей второй ступени от первого контура при повышении давления с помощью автоматического привода, например, электропривода, и для соединения в пассивном режиме первого контура с гидроемкостями второй ступени при понижении давления в первом контуре.

[3]

Известно множество отсечных клапанов, содержащих корпус, запорный орган, связанный со штоком, пружину и седло, при этом движение штока обеспечивает ручной или автоматический привод, например, клапана с электроприводом по заявкам на изобретение США US №№2018172173, 2018274691, 2018283574 (МПК F16K 31/05), в полезных моделях Китая CN №№207569298, 207364288 (МПК F16K 31/05).

[4]

Однако, в аварийном случае, когда привод не работает, например, при выключении электричества, клапан также перестает работать. Особенно это критично в аварийных ситуациях, когда требуется непрерывная подача жидкости, например, при тушении пожара, в частности, на атомной станции, а ручное управление по выше описанным причинам невозможно. В технике известны попытки решить данную задачу.

[5]

Так по патенту на полезную модель РФ №RU158385 (МПК F16K 31/05) электромеханический клапан оснащен дополнительным автономным источником электропитания, что громоздко и дорого.

[6]

В техническом решении электромеханического клапана по патенту на полезную модель RU 103882 (MПК F16K 31/56) предусмотрен рычаг, взаимодействующий со штоком и управляемый магнитом с реле времени, фактически дублирующий действие электропривода, однако при отключении электропитания, не спасающего ситуацию. Подобное же решение представлено в заявке РСТ Канады (СА) W0 9324778 (МПК F16K 31/05).

[7]

В полезных моделях №RU 158365 (МПК F16K 31/05), №RU 82286 (МПК F16K 31/02), патентах на изобретения №RU 2132011 (МПК F16K 31/05), №RU 2319055 (MПК F16K 31/05), патенте №RU 2062933 (МПК F16K 31/05), патенте №US 3990511 (МПК F16K 31/05), заявке на изобретение №US 2018172173 (МПК F16K 31/05), заявке на изобретение №US 2018274691 (МПК F16K 31/05), патенте DE 2643550 (МПК F16K 31/05), заявке Канады РСТ СА №W0 9324778 (МПК F16K 31/05) также установлены либо дополнительный автономный источник электропитания, либо ручной привод, либо магнитный, либо их комбинации, обладающие вышеописанными недостатками.

[8]

В качестве прототипа предлагаемого решения принят электромеханический отсечной запорный клапан с узлом управления по патенту на полезную модель №RU82286 (МПК F16К 31/02).

[9]

Электромеханический отсечной запорный клапан по этому патенту содержит корпус с седлом, входной и выходной патрубки, запорный орган с пружиной и штоком, выходное звено электропривода, жестко связанное со штоком, две серьги, втягивающий электромагнит с якорем, рычаг, и узел управления, имеющий цепи управления электромагнитом и реверсивным управлением электродвигателя, электромагниты, при этом якорь втягивающего электромагнита соединен через серьгу с подпружиненным штоком, который через другую серьгу шарнирно соединен с фиксатором; вспомогательный рычаг, установлен на оси двухплечего рычага, а на его конце закреплены соосно с фиксатором фиксирующий палец и фиксатор ручной защелки, при этом рычаг электродвигателя соединен с вспомогательным рычагом.

[10]

Узел управления этим клапаном содержит контактор с одним размыкающим и тремя замыкающими контактами, три концевых выключателя с размыкающей и замыкающей парами контактов и мостовой выпрямитель, при этом цепь реверсированного управления электродвигателем с редуктором состоит из последовательно соединенных замкнутого контакта контактора, размыкающей пары контактов второго концевого выключателя для положения клапана «закрыто» и клеммы электродвигателя прямого вращения, а также из последовательно соединенных первого разомкнутого контакта контактора, замыкающей пары контактов первого концевого выключателя для положения клапана «открыто» и клеммы электродвигателя обратного вращения, причем эти контакты контактора имеют общую точку соединения с фазой сети, а нейтраль соединена с клеммой электродвигателя.

[11]

Однако данный клапан неработоспособен в условиях отключения электричества, сложен, громоздок и нетехнологичен.

[12]

Задачей изобретения является увеличение надежности отсечного клапана с приводом за счет обеспечения открытия клапана в пассивном режиме как в штатных условиях, так и в условиях отсутствия питания, например, электропитания электродвигателя, при невозможности ручного управления, а также обеспечение простоты, технологичности и дешевизны клапана.

[13]

Данная задача решается тем, что в предлагаемом отсечном клапане с приводом, нормально открытом, содержащем выходное звено привода, корпус с седлом, входной и выходной патрубки, запорный орган, шток, отведенный пружиной от седла на ход, обеспечивающий проходное сечение клапана в исходном открытом положении, причем в этом исходном открытом положении выходное звено привода установлено с зазором по отношению к штоку, а выходное звено привода взаимодействует контактно со штоком клапана только в сторону закрытия клапана.

[14]

Данная задача решается также тем, что в систему управления предложенного отсечного клапана с приводом введены датчики давления на входе, выходе и перепада давления на входе и выходе, задатчики величины давления закрытия клапана и величины перепада давления отвода выходного звена привода в исходное открытое положение, первое и второе сравнивающие устройства, формирователь команды на закрытие клапана, формирователь команды на отвод в исходное открытое положение выходного звена привода, при этом выходы задатчика величины давления закрытия клапана и датчика давления на входе соединены с входами первого сравнивающего устройства, выход которого соединен с входом формирователя команды на закрытие клапана, а выходы датчика перепада давления на входе и выходе и задатчика величины перепада давления на отвод в исходное открытое положение выходного звена привода соединены с входами второго сравнивающего устройства, выход которого подключен к входу формирователя команды на отвод в исходное открытое положение выходного звена привода, причем выходы обоих формирователей соединены с приводом.

[15]

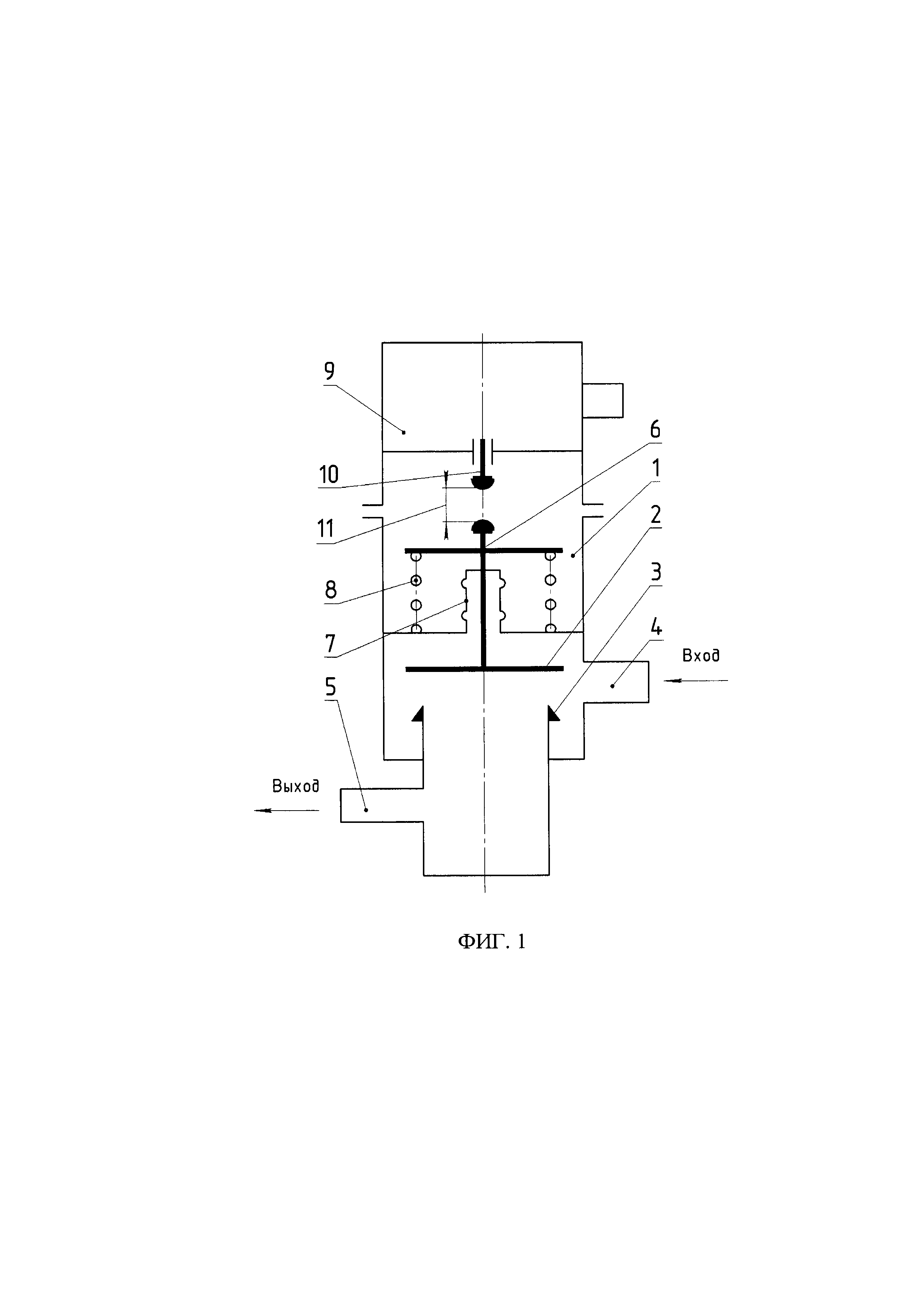
На Фиг. 1 изображен отсечной клапан с приводом, где:

[16]

1 - корпус;

[17]

2 - запорный орган;

[18]

3 - седло;

[19]

4 - входной патрубок;

[20]

5 - входной патрубок;

[21]

6 - шток;

[22]

7 - сильфонный узел;

[23]

8 - пружина;

[24]

9 - привод;

[25]

10 - выходное звено привода;

[26]

11 - зазор;

[27]

На Фиг. 2 изображена система управления отсечным клапаном с приводом, где:

[28]

12 - датчик давления на входе (Рвх);

[29]

13 - датчик давления на выходе (Рвых);

[30]

14 - датчик перепада давления на входе и выходе (ΔР=Рвх- Рвых);

[31]

15 - задатчик величины давления закрытия клапана (Рвхзакр.заданное);

[32]

16 - первое сравнивающее устройство (величин Рвх и Рзакр.заданное);

[33]

17 - формирователь команды на закрытие клапана;

[34]

18 - задатчик величины перепада давления отвода выходного звена привода (ΔРотв.) в исходное состояние;

[35]

19 - второе сравнивающее устройство (ΔР и ΔРотв);

[36]

20 - формирователь команды на отвод в исходное открытое положение выходного звена привода.

[37]

Предлагаемый отсечной клапан с приводом, нормально открытый содержащий корпус 1 с запорным органом 2, седлом 3, входным 4 и выходным 5 патрубками, пружину 8, сильфонный узел 7, запорный орган 2, шток 6, отведенный в открытом исходном положении от седла 3 пружиной 8 на ход, обеспечивающий проходное сечение клапана в этом положении, причем в этом исходном открытом положении выходное звено 10 привода 9 установлено с зазором 11 по отношению к штоку 6. Выходное звено 10 привода 9 взаимодействует контактно со штоком 6 клапана только в сторону закрытия клапана.

[38]

Система управления предложенного отсечного клапана с приводом, содержит датчики давления на входе 12 и выходе 13 и перепада давления на входе и выходе 14, задатчик величины давления закрытия клапана 15 и задатчик величины перепада давления отвода выходного звена привода в исходное положение 18, первое 16 и второе 19 сравнивающее устройства, формирователь команды на закрытие клапана 17, формирователь команды на отвод выходного звена привода в исходное состояние 20, при этом выходы задатчика величины давления закрытия 15 и датчика давления на входе 12 соединены с входами первой схемы сравнения 16, выход которой соединен с входом формирователя команды на закрытие клапана 17, а выходы датчика перепада давления на входе и выходе 14 и задатчика величины перепада давления отвода выходного звена привода в исходное положение 18 соединены с входами второй схемы сравнения 19, выход которой подключен к входу формирователя команды на отвод в исходное открытое положение выходного звена привода 20, причем выходы обоих формирователей соединены с приводом 9.

[39]

Работа клапана осуществляется следующим образом.

[40]

В исходном состоянии предлагаемый клапан нормально открыт, т.е. запорный орган 2 отведен штоком 6 от седла 3 пружиной 8, при этом входной 4 и выходной 5 патрубки сообщены. При достижении входного давления, измеряемого датчиком давления на входе 12, значения, равного заданному давлению закрытия клапана, заложенного в задатчик величины давления закрытия клапана 15, сигналы от датчика 12 и задатчика 15 поступают на входы первого сравнивающего устройства 16, и, при равенстве этих значений, от него поступает сигнал на формирователь команды на закрытие клапана 17, который включает привод, например, электропривод 9, и выходное звено привода 10, взаимодействуя (контактируя) со штоком 6, прижимает запорный орган 2 к седлу 3, закрывая клапан. Привод 9 отключается. Клапан закрыт.

[41]

Входное давление растет. Как только перепад входного и выходного давления, измеряемого датчиком перепада давления на входе и выходе 14 достигает значения больше или равной величины, при котором усилие от этого перепада на площадь седла 3 становится больше усилия пружины 8, этот перепад сравнивается во втором сравнивающем устройстве 19 с заложенным в задатчик величины перепада давления отвода выходного звена электропривода 18 и при равенстве этих значений, сравнивающее устройство 19 подает сигнал на формирователь команды на отвод в исходное открытое положение выходного звена привода 20, например, электропривода 9. Запорный орган 2 остается прижатым к седлу 3 усилием от перепада давления на площадь седла, обеспечивая необходимую герметичность клапана по линии вход-выход.

[42]

При снижении давления на входе до величины, усилие которого на площадь седла 2 становится меньше усилия прижатия пружины 8 запорного органа 2 к седлу 3, шток 6 начинает перемещаться по направлению к выходному звену 10 привода 9, отводя запорный орган 2 от седла 3 пассивным образом (при выключенном приводе 9). Клапан открыт - входной патрубок 4 сообщен с выходным 5.

[43]

Датчики давления на входе 12 и выходе 13 и перепада давления на входе и выходе 14 - это стандартные промышленные датчики.

[44]

Задатчик величины давления закрытия клапана 15 и задатчик величины перепада давления отвода выходного звена привода в исходное положение 18 могут быть выполнены в виде запоминающих устройств.

[45]

Первое 16 и второе 19 сравнивающее устройства могут быть выполнены в виде логических схем «И».

[46]

Формирователи 17 и 20 могут быть выполнены в виде электронных ключей.

[47]

В традиционных отсечных клапанах запорный орган жестко соединен с выходным звеном привода (электромеханического, электромагнитного, пневмопривода и т.д.) и перемещается из положения «Открыто» в положение «Закрыто» и обратно приводом, который выполняет команду от автоматической системы управления или от оператора.

[48]

Таким образом, эти клапаны выполняют свою функцию «Закрыт-Открыт-Закрыт» только активным способом (с подводом внешней энергии по команде).

[49]

Заявленный клапан нормально открыт.В открытом положении шток запорного органа не связан с выходным звеном привода и расположен по отношению к нему с зазором. При закрытии клапана происходит лишь контакт штока с выходным звеном привода, после чего выходное звено привода отводится в исходное открытое положение, а привод отключается, при этом запорный орган остается прижатым к седлу, клапан закрыт.

[50]

Далее открытие клапана происходит в пассивном режиме как в штатных условиях, так и в условиях отключения привода, например, электропитания электродвигателя, при невозможности ручного управления входным давлением, когда последнее воздействует на запорный орган сильнее прижатия пружины.

[51]

Таким образом, клапан открывается пассивным способом без команды от автоматической системы управления и без подвода внешней энергии.

[52]

Клапан надежен, прост в исполнении, технологичен.

Как компенсировать расходы
на инновационную разработку
Похожие патенты