патент
№ RU 2701621
МПК F41H7/02

БОЕВОЙ ТАНК-РОБОТ

Авторы:
Грехов Виктор Александрович
Номер заявки
2018114593
Дата подачи заявки
19.04.2018
Опубликовано
30.09.2019
Страна
RU
Как управлять
интеллектуальной собственностью
Чертежи 
3
Реферат

Изобретение относится к бронированным машинам. Боевой танк-робот содержит броневой коробчатый корпус, оборудование роботизации, артиллерийское орудие в корпусе и дополнительное вооружение на внешних узлах. Орудие расположено в передней части с возможностью вертикальной наводки. Верхняя часть корпуса съемная, с углом наклона +6 градусов к горизонтали. Управление дистанционное. Технический результат – уменьшение высоты танка, повышение эффективности действий при разведывательных операциях и прорыве обороны, улучшение ремонтопригодности. 2 з.п. ф-лы, 5 ил.

Формула изобретения

1. Боевой танк-робот, содержащий броневой коробчатый корпус, оборудование роботизации и пушку в корпусе, отличающийся тем, что передняя часть корпуса выполнена по форме круговой цилиндрической поверхности, в центре которой расположены цапфы вращающейся в вертикальной плоскости пушки, крыша корпуса выполнена в сторону кормы с углом возвышения, численно равным максимальному углу снижения пушки.

2. Боевой танк-робот по п. 1, отличающийся тем, что наружные огневые средства танка установлены на бортовых и кормовой сторонах корпуса в пределах его высоты.

3. Боевой танк-робот по п. 2, отличающийся тем, что крыша корпуса выполнена съемной.

Описание

[1]

Изобретение относится к области танкостроения, конкретно к средним танкам.

[2]

Широко известны отечественные и зарубежные танки, содержащие броневой коробчатый корпус и вращающуюся орудийную башню. Известны и безбашенные танки с пушечным или ракетным вооружением, а также башенные танки с автономным пушечным блоком в передней части танка / см. книгу «Основы теории и конструкции танков, боевых машин пехоты, бронетранспортеров и армейских автомобилей. Учебник. Часть первая. Основы теории и конструкции танков и боевых машин пехоты. Военное издательство Министерства обороны СССР, М., 1972, с. 34, 114, 115, 116, 66, 117, 118; Интернет, ст. «Леопард-2», Т-14 «Армата»; книга Кудишин И.В. и др. «Военная техника» - М., ЗАО «РОСМЭН-ПРЕСС», 2007, с. 63, фото; WikipediA, ст. «Char В1» /. Это танки Т-54, Т-62 (СССР), М60А1 (США), «Чифтен» (Англия), АМХ- 30 (Франция), «Леопард» (ФРГ), «STRV 103» (Швеция), «Леопард-2» (ФРГ), Т-14 «Армата» (Россия), «В1 bis» (Франция).

[3]

Все вышеуказанные отечественные и зарубежные танки обладают одинаковым недостатком: они содержат экипаж из нескольких человек, которому в ходе боевых операций угрожает гибель.

[4]

Наиболее близким к заявляемому изобретению по технической сущности и времени разработки является боевой робот «Уран-9» (Россия). (см. Российская газета, Неделя, №125 от 09.06.2016, ст. А. Егоров « Здравствуй, оружие!» с. 15, « Уран-9», фото, текст).

[5]

Этот боевой робот не имеет экипажа, а содержит оборудование для автома тического выполнения заданной программы во взаимодействии с оператором передвижного пульта управления. / см. Интернет. ст.«Боевой робот «Уран-9»/, но и у него отсутствуют признаки заявляемого изобретения.

[6]

В основу изобретения положена задача создания боевого танка-робота, конструкция которого позволила бы улучшить его защищенность от различных средств поражения, повысить эффективность действий при разведке боем и прорыве обороны противника без использования личного состава, а также обеспечить необходимый уровень технического обслуживания и ремонта.

[7]

Поставленная задача решается тем, что в боевом танке-роботе, содержащем броневой коробчатый корпус, оборудование роботизации и пушку в корпусе, согласно изобретению, резко сокращена высота танка за счет размещения пушки в передней части корпуса (при соответствующем исключении башни) с возможностью изменения угла наведения ствола пушки в вертикальной плоскости и придания крыше корпуса угла возвышения в сторону кормы, зеркально равного углу снижения пушки.

[8]

Также, согласно изобретению, наружные огневые средства танка расположены на бортовых и кормовой сторонах корпуса в пределах его высоты.

[9]

Далее, согласно изобретению, крыша корпуса танка выполнена съемной.

[10]

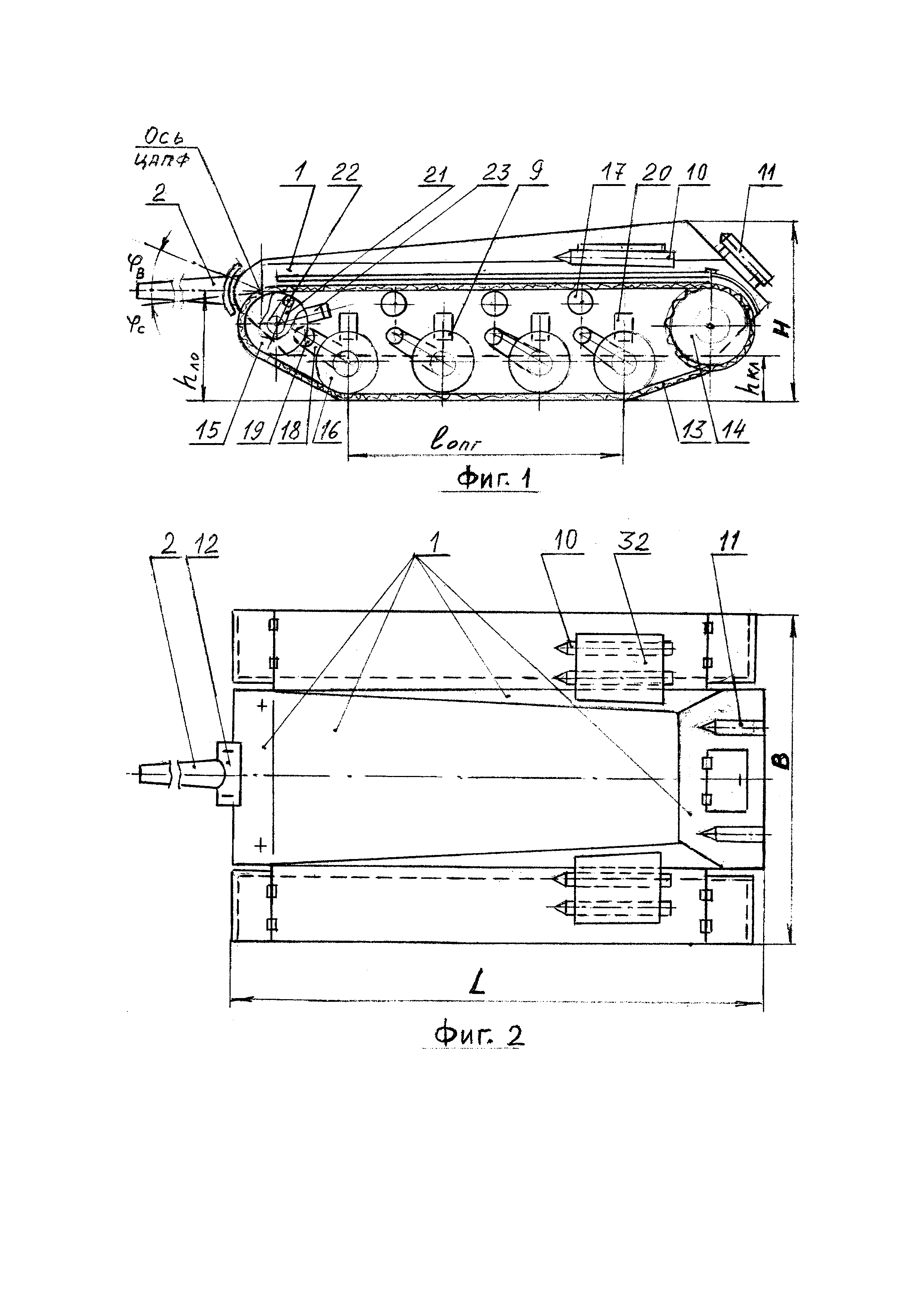
На фиг. 1 дан общий вид боевого танка-робота, на фиг. 2 - вид сверху, на фиг. 3 - вид спереди (фас), на фиг. 4 - продольный разрез корпуса танка с пушкой (поз. 2, 6, 7 и 8 условно не разрезаны), на фиг. 5 - сечение А-А на фиг. 4 автомата заряжания в исходной позиции со схемой подачи артвыстрелов в пушку.

[11]

Боевой танк-робот - безбашенный средний танк. Он содержит броневой коробчатый корпус 1, в передней части которого расположены пушка 2, спаренный с пушкой 2 пулемет 3, прицел 4, курсовые пулеметы 5. Далее в корпусе 1 расположены автомат заряжания 6 пушки 2 и оборудование роботизации 7 танка (изображено условно), в кормовой части танка расположен моторно-трансмиссионный блок 8. Снаружи корпус 1 опирается на ходовую часть 9, на бортовых поверхностях корпуса 1 установлены противотанковые управляемые реактивные снаряды 10 (ПТУРС), на корме танка - переносные зенитные ракетные комплексы 11 (ПЗРК).

[12]

Пушка 2 - крупнокалиберная, установлена в корпусе 1 с возможностью изменения угла наведения в вертикальной плоскости от угла снижения ϕс = -6° до угла возвышения ϕв=+20°. Снабжена броневой маской 12, во всем диапазоне «тангажа» перекрывающей амбразуру пушки 2 в корпусе 1.

[13]

Автомат заряжания 6 с боеукладкой характеризуется расположением на дне корпуса 1, заряжание происходит при выведении пушки 2 на линию заряжания. Он содержит транспортер для подачи в пушку за один цикл 16-ти артвыстрелов (схема транспортировки представлена далее).

[14]

Оборудование роботизации 7 танка содержит узлы и элементы, позволяющие танку в автоматическом режиме следование по маршруту, обход препятствий, обнаружение, распознавание и сопровождение целей, а также по команде оператора с передвижного пульта управления уничтожение выявленных целей огневыми средствами танка.

[15]

Ходовая часть 9 выполнена по классической схеме (близко к танку ИС-3) и содержит применительно к одному борту гусеничную цепь 13, ведущее колесо 14, направляющее колесо 15, опорные катки 16 (4 шт.), поддерживающие ролики 17 (3 шт.), балансиры 18, торсионы 19, ограничители 20 динамического хода опорных катков 16, кривошип 21, укороченный торсион 22 (до люльки пушки 2) и гидроамортизатор 23 направляющего колеса 15.

[16]

Корпус 1 включает лобовой, гнутый по радиусу лист 24, вставку 25 между листом 24 и крышей 26, нижний передний лист 27, днище 28, нижние бортовые листы 29 (вертикальные), надгусеничные листы 30, верхние бортовые листы 31 (наклонные), консоли 32, нижний кормовой лист 33, верхний кормовой лист 34 с крышкой 35 входа в корпус 1 и перекладину 36, жестко связывающую противоположные бортовые листы 31 между собой.

[17]

В лобовом листе 24 выполнены отверстия 37 для курсовых пулеметов 5, в броневой маске 12 пушки 2 - щели 38 и 39 соответственно для спаренного пулемета 3 и прицела 4.

[18]

Место стыка лобового листа 24 и вставки 25 расположено в корпусе 1 под углом α1=30° к вертикали, место стыка лобового листа 24 и нижнего переднего листа 27 - под углом α2=45°.

[19]

Крыша 26 и верхний кормовой лист 34 выполнены съемными, с креплением болтами «впотай» к верхним бортовым листам 31, перекладине 36 и нижнему кормовому листу 33. Исполнение крыши 26 съемной под углом +6° к горизонтали в средней части корпуса 1 не снижает снарядостойкости корпуса 1.

[20]

В дополнение к ПЗРК для защиты крыши 26 от «крышебойных» средств поражения она может быть закрыта съемным многослойным экраном.

[21]

Параметры боевого танка-робота

[22]

1. Общая масса, т 21

[23]

2. Масса корпуса, т 10,5 (при равнотолщинности брони 50 мм)

[24]

3. Габариты, мм L*B*H 5000*3000*1700

[25]

4. Клиренс, мм hкл 400

[26]

5. Длина корпуса, мм I кц, 4600 (от кормы до оси цапф)

[27]

6. Радиус гиба лобового листа, мм R 200

[28]

7. Ширина корпуса, мм bк 1600

[29]

8. Высота корпуса, мм hк 1300

[30]

9. Ширина гусеницы, мм bг 600

[31]

10. Длина опорной поверхности гусеницы, мм I опг 2500

[32]

11. Среднее удельное давление на грунт, кгс/см2р 0,7

[33]

12. Калибр пушки, мм 100

[34]

13. Высота линии огня, мм hлo 1000

[35]

Устройство «Боевой танк - робот» работает следующим образом.

[36]

Наведение пушки 2 на цель в вертикальной плоскости осуществляют за счет ее вращения на цапфах в пределах суммарно 26 градусов. Наведение на цель в горизонтальной плоскости производят поворотом танка на месте путем движения одной из гусениц 13 вперед или назад при торможении другой. При более «крутом» варианте поворота на месте его осуществляют одновременным движением гусениц 13 в противоположных направлениях.

[37]

Короткий ствол пушки 2 облегчает ее балансировку, повышает точность стрельбы на ходу, исключается «зачерпывание» стволом земли на ухабах.

[38]

Техническое обслуживание и ремонт внутренних механизмов и систем осуществляют, проникая в корпус 1 через проем крышки 35 в верхнем кормовом листе 34. Монтаж и демонтаж пушки 2 и моторно-трансмиссионного блока 8 - через проемы снятых крыши 26 и верхнего кормового листа 34.

[39]

Боевой танк-робот - это гусеничный дрон для ведения разведки боем и прорыва обороны противника. Получив от оператора передвижного пульта управления (далее - ППУ) команду на атаку, танк начинает движение на позиции противника. При этом, действуя по заданной программе, он обходит препятствия, совершает безопасные маневры, ведет провоцирующий обстрел позиций противника, вызывая огонь на себя. Выявив и распознав цели, танк отслеживает их и передает информацию на ППУ с запросом на их уничтожение. Получив радиоуказание, уничтожает цели своими огневыми средствами. Далее действия повторяются. По результатам разведки боем танк или отводится по команде оператора на исходные позиции, или участвует в прорыве обороны противника на дальности до 3-4 км совместно с «пилотируемыми» танками своих войск.

[40]

В ходе разведки и прорыва боевой танк-робот реализует свои преимущества как перед известными безбашенными танками, так и перед современными боевыми роботами.

[41]

Конкретно конструкция заявляемого танка позволяет вести стрельбу из пушки «с ходу», не теряя времени на манипуляции с подъемом и запрокидыванием корпуса. Тем самым сохраняется его штатная скорострельность. Кроме того, сохраняется и его малая уязвимость, обусловленная постоянством его небольшой высоты. У танка «STRV103» при подъеме на средних опорных катках высота увеличивается до уровня башенных танков. /см. книгу «Основы теории и конструкции танков…» с. 129, табл. 6/.

[42]

Боевой танк-робот обладает мощным вооружением и всесторонней бронезащитой внутреннего оборудования в отличие от боевых роботов с открытой платформой. Благодаря меньшей, по сравнению с «Уран-9», высоте (соотношение 1700 мм и 2500 мм) боевой танк-робот лучше защищен, имеет устойчивость при движении по пересеченной местности и по косогорам. Он способен двигаться к зоне боевых действий своим ходом, не требуя громоздких тягачей. Наружные огневые средства также расположены в малоуязвимых местах - на корме и бортах корпуса ниже верхнего уровня крыши.

[43]

Использование заявляемого изобретения «Боевой танк-робот» позволяет в ходе разведки боем и прорыве обороны противника исключить потери личного состава и успешно выполнить поставленные боевые задачи.

[44]

Также возможно использование боевого танка-робота при проведении контртеррористических операций.

Как компенсировать расходы
на инновационную разработку
Похожие патенты