патент
№ RU 2689495
МПК F26B17/10

Установка для сушки пастообразных материалов в закрученном взвешенном слое инертных тел

Авторы:
Никитин Дмитрий Вячеславович Родионов Юрий Викторович Талыков Валерий Александрович
Все (4)
Номер заявки
2017136443
Дата подачи заявки
16.10.2017
Опубликовано
28.05.2019
Страна
RU
Как управлять
интеллектуальной собственностью
Чертежи 
6
Реферат

Изобретение относятся к сушильной технике, а более конкретно к сушилкам с активным гидродинамическим режимом, предназначенным для сушки пастообразных материалов, и может найти применение в производстве пищевых продуктов, медицинских препаратов и красителей. Сушилка для пастообразных материалов на инертных телах содержит биконическую камеру, сопряженную с цилиндрической сепарационной камерой, слой инертных тел, барабан с тангенциальными вводами теплоносителя, фильерный питатель влажного материала. Внутри биконической камеры расположен центральный цилиндр с коаксиальными диффузорами, снабженный в верхней части центральным конусом и оборудованный секционированным регулятором расхода дополнительного теплоносителя. Изобретение должно интенсифицировать процесс сушки. 6 ил.

Формула изобретения

Сушилка для пастообразных материалов на инертных телах, содержащая биконическую камеру, сопряженную с цилиндрической сепарационной камерой, слой инертных тел, барабан с тангенциальными вводами теплоносителя, фильерный питатель влажного материала, отличающаяся тем, что внутри биконической камеры расположен центральный цилиндр с коаксиальными диффузорами, снабженный в верхней части центральным конусом и оборудованный секционированным регулятором расхода дополнительного теплоносителя.

Описание

[1]

Изобретение относятся к сушильной технике, а более конкретно к сушилкам с активным гидродинамическим режимом, предназначенным для сушки пастообразных материалов, и может найти применение в производстве пищевых продуктов, медицинских препаратов и красителей.

[2]

Аналогом является сушилка для суспензий и пастообразных материалов на инертных телах, содержащая биконическую камеру, сопряженную с цилиндрической сепарационной камерой, устройство для подвода теплоносителя с диффузором, полый ротор с насадком, выполненным из двух частей, имеющих криволинейную образующую боковой поверхности и сопряженными большими основаниями, при этом нижняя поверхность насадка снабжена перфорацией, а ротор установлен с возможностью перемещения (SU 1778478 А1).

[3]

Недостатком данной конструкции является незначительная высота рабочего слоя, что обусловлено монодисперностью частиц инерта, и налипание влажного материала в верхней части сушилки.

[4]

Прототипом является сушилка для пастообразных материалов на инертных телах (SU 1666898 А1), содержащая цилиндро-коническую камеру взвешенного слоя, барабан для тангенциального ввода теплоносителя с конусом, соосные с камерой диффузор и кольцо, и боковое фильерное устройство.

[5]

Сушилка работает следующим образом. Теплоноситель, подаваемый через тангенциальные вводы барабана, делится при помощи конической вставки и цилиндрической вставки на два потока - пристеночный и центральный, вставки имеют прямоугольные окна, позволяющие задавать соотношение потоков теплоносителя. Пристеночный и центральный потоки теплоносителя воздействуют на инертный носитель и приводят его во взвешенное состояние. При этом образуется плотный кольцеобразный закрученный поток инертных частиц, в который через боковое фильерное устройство вводится пастообразный материал, высушивается и, в виде аэровзвеси, отводится с отработанным теплоносителем. Пристеночный поток имеет большую, чем центральный поток, скорость, что способствует истиранию высохшего слоя материала. Организация оптимального гидродинамического режима выполняется за счет регулирования соотношения потоков теплоносителя.

[6]

К недостаткам этой сушилки следует отнести следующее:

[7]

- незначительная высота рабочего слоя инерта;

[8]

- недостаточная кинетическая энергия частиц инерта для удаления высохших пленок материалов, проявляющих при высыхании ощутимую адгезию к поверхности инерта;

[9]

- попытки дальнейшего увеличения производительности сушилки за счет увеличения общего расхода теплоносителя приводят к нарушению устойчивости гидродинамического режима;

[10]

- увеличение количества носимого инерта приводит к нестабильности гидродинамики взвешенного слоя инерта.

[11]

Техническая задача - создание установки для сушки пастообразных материалов в закрученном взвешенном слое инертных тел, позволяющей интенсифицировать процесс сушки с помощью применения центрального цилиндра с коаксиальными диффузорами, оборудованного секционированным регулятором расхода дополнительного теплоносителя.

[12]

Решение технической задачи заключается в том, что в установке для сушки пастообразных материалов в закрученном взвешенном слое инертных тел, содержащей биконическую камеру, сопряженную с цилиндрической сепарационной камерой, слой инертных тел, барабан с тангенциальными вводами теплоносителя, фильерный питатель влажного материала, интенсификация процесса сушки осуществляется с помощью центрального цилиндра с коаксиальными диффузорами, расположенного внутри биконической камеры и оборудованного секционированным регулятором расхода дополнительного теплоносителя.

[13]

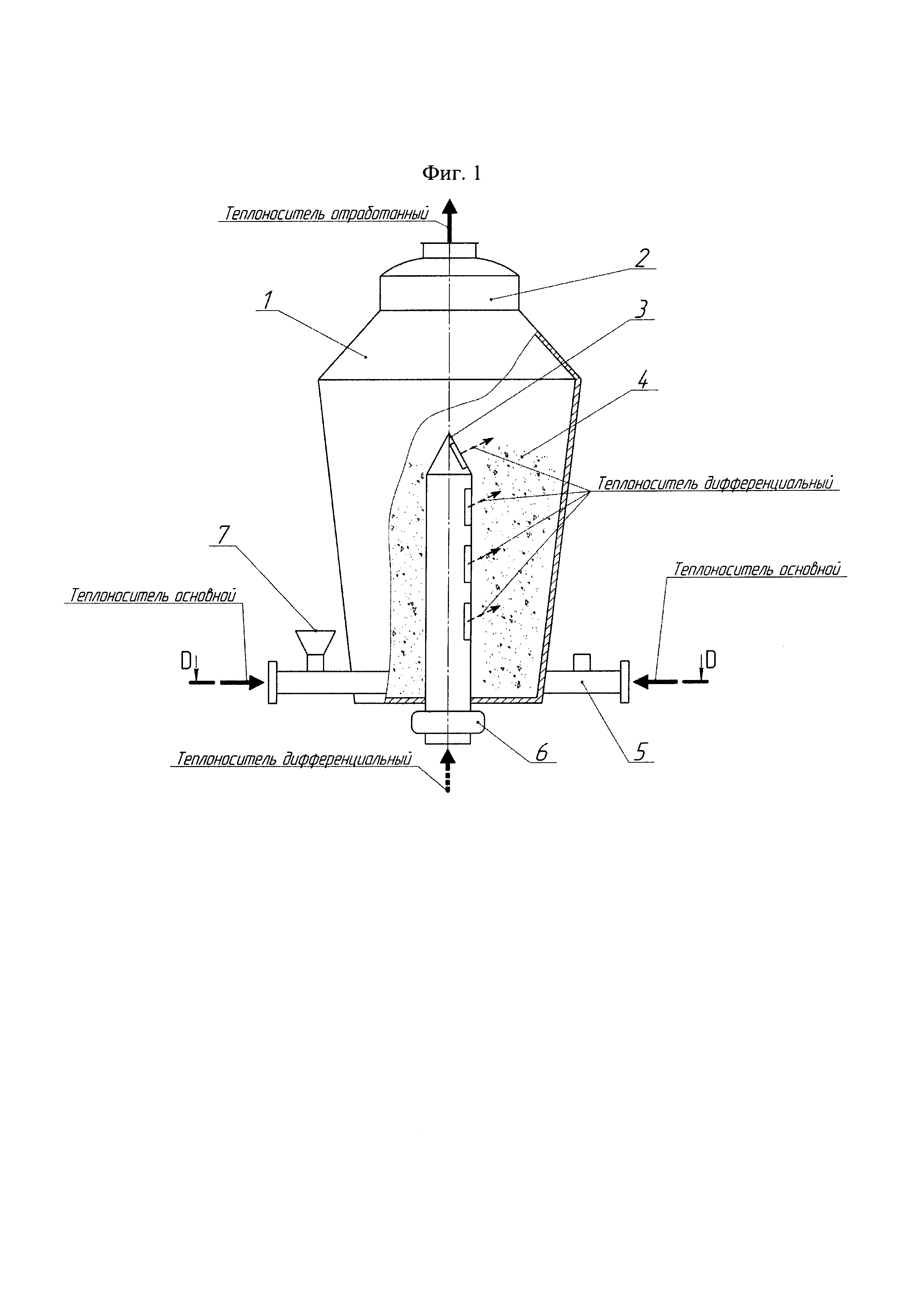
На фиг. 1 схематично изображена предлагаемая сушилка; на фиг. 2 - сечение D-D на фиг. 1; на фиг. 3 - центральный цилиндр с коаксиальными диффузорами; на фиг. 4 - сечение А-А на фиг. 3; на фиг. 5 - сечение В-В на фиг. 3; на фиг. 6 - вид С (увеличено) на фиг. 5.

[14]

Установка для сушки пастообразных материалов в закрученном взвешенном слое инертных тел содержит биконическую камеру 1, сепарационную камеру 2, центральный цилиндр 3 с коаксиальными диффузорами Д1, Д2, Д3, слой инертных тел 4; барабан 5 с тангенциальными вводами теплоносителя, секционированный регулятор расхода теплоносителя 6; фильерный питатель влажного материала 7, направляющие пластины 8 и окна 9.

[15]

Сушилка работает следующим образом.

[16]

В биконическую камеру 1 загружаются инертные тела 4 (гранулы округлой формы, близкой к сферической, плотностью 1050…2400 кг/м3, диаметром (2,3…3,1)⋅10-3 м (гранулированные полиэтилен, полипропилен, фторопласт)). Теплоноситель, подаваемый через тангенциальные вводы барабана 5, воздействует на слой инертных тел и приводит его во взвешенное состояние. При этом образуется плотный кольцеобразный закрученный полидисперсный слой 4 инертных частиц. Высота слоя инертных частиц при такой организации подачи теплоносителя является характерной для аппаратов с конической формой рабочей камеры. В нижней части слоя вертикальная составляющая скорости теплоносителя составляет 1,5…1,8 скорости витания частиц инерта. В верхней части сушилки площадь поперечного сечения существенно увеличивается, что обусловливает снижение скорости теплоносителя до 1,1…1,2 скорости витания и является ограничительным условием высоты рабочего слоя. Затем через центральный цилиндр подается дополнительный теплоноситель, который дифференцированно распределяется по высоте слоя таким образом, что в каждом последующем по высоте сечении сушилки удельный расход суммарного теплоносителя близок к оптимальному для выполнения условия существования взвешенного слоя. Расход дополнительного теплоносителя регулируется отдельно по каждому диффузору с помощью секционированного регулятора расхода 6. Таким образом, дифференцированное по высоте введение дополнительного теплоносителя позволяет увеличить высоту рабочего слоя взвешенного инерта и ввести в аппарат дополнительное количество носимого инерта (по сравнению с прототипом на 35…42% больше). Дополнительный теплоноситель подается через коаксиальные диффузоры Д1…Д3, расположенные внутри центрального цилиндра 3, и окна 9. Количество окон для каждого диффузора 6…8. Для организации тангенциальной направленности дополнительного потока теплоносителя установлены пластины 8. Струйная по радиусу и распределенная по высоте подача дополнительного теплоносителя обусловливает локальное активное перемешивание слоя инертных тел, что способствует интенсификации тепломассообмена по всему объему слоя инерта. Кроме того, инертные тела, захваченные струями дополнительного теплоносителя, ударно воздействуют на основной пристенный взвешенный слой инертных тел, что способствует как перераспределению влажного материала по поверхности инертных частиц, так и активному отслаиванию высохшего материала. Следует отметить, что при струйной подаче дополнительного теплоносителя отмечается достаточно четко выраженное вращательное перемещение основной массы частиц инерта в верхнюю часть сушилки (в пристеночном слое биконической камеры 1). Возврат частиц инерта в нижнюю часть сушилки происходит, в основном, вдоль центрального цилиндра в промежутках между струй дополнительного теплоносителя. При этом организуется активная постоянная замена частиц инерта в зоне подачи влажного материала, что способствует улучшению условий нанесения и перераспределения влажного материала.

[17]

Таким образом, при одинаковых габаритах сушилки (по сравнению с прототипом) более полно используется рабочая зона сушилки, увеличивается количество носимого инерта, активнее применяется ударно-истирающее воздействие на инертный носитель, уменьшается вероятность агрегатирования инерта, что в целом обусловливает увеличение производительности.

Как компенсировать расходы
на инновационную разработку
Похожие патенты