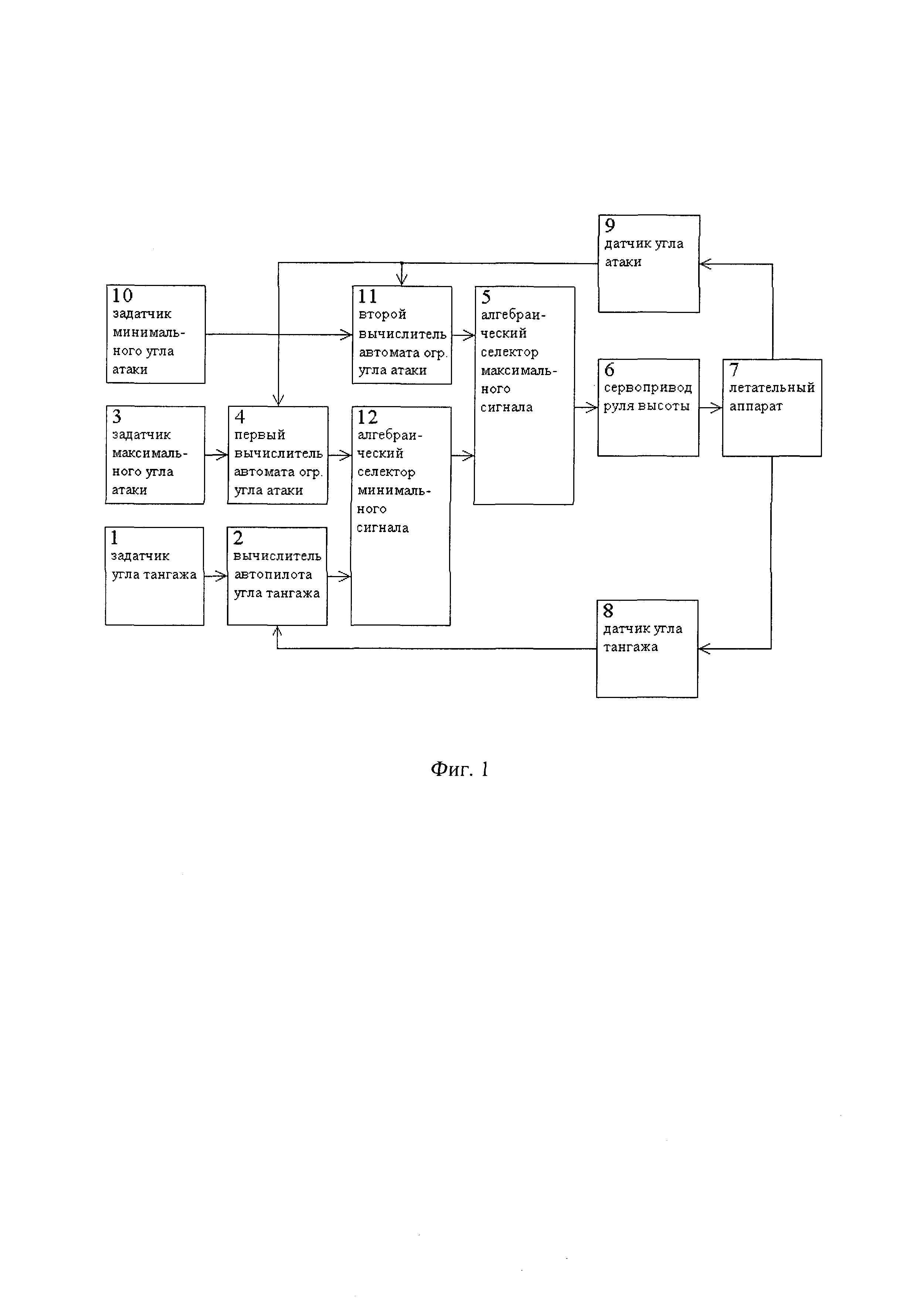
Система автоматического управления углом тангажа и ограничения угла атаки летательного аппарата содержит задатчик угла тангажа, вычислитель автопилота угла тангажа, задатчик максимального угла атаки, два вычислителя автомата ограничения угла атаки, алгебраические селекторы максимального и минимального сигнала, сервопривод руля высоты, датчик угла тангажа, датчик угла атаки, задатчик минимального угла атаки, соединенные определенным образом. Обеспечивается необходимая точность ограничения угла атаки летательного аппарата, повышение надежности продольного управления. 2 ил.
Система автоматического управления углом тангажа и ограничения угла атаки летательного аппарата, содержащая последовательно соединенные задатчик угла тангажа и вычислитель автопилота угла тангажа, последовательно соединенные задатчик максимального угла атаки и первый вычислитель автомата ограничения угла атаки, последовательно соединенные алгебраический селектор максимального сигнала, сервопривод руля высоты, выходной сигнал которого определяет угол отклонения руля высоты летательного аппарата, и датчик угла тангажа летательного аппарата, имеющий выход, подключенный ко второму входу вычислителя автопилота угла тангажа, датчик угла атаки летательного аппарата, имеющий выход, подключенный ко второму входу первого вычислителя автомата ограничения угла атаки, отличающаяся тем, что дополнительно содержит последовательно соединенные задатчик минимального угла атаки и второй вычислитель автомата ограничения угла атаки, второй вход которого соединен с выходом датчика угла атаки, а выход с первым входом алгебраического селектора максимального сигнала, алгебраический селектор минимального сигнала, первый вход которого соединен с выходом первого вычислителя автомата ограничения угла атаки, второй вход соединен с выходом вычислителя автопилота угла тангажа, а выход соединен со вторым входом алгебраического селектора максимального сигнала.
Изобретение относится к области систем автоматического управления (САУ) углом тангажа летательного аппарата (ЛА). Известны САУ, обеспечивающие отработку заданного угла тангажа ЛА с помощью автопилота, воздействующего на угол отклонения руля высоты ЛА [Боднер В.А. Системы управления летательными аппаратами. - М.: Машиностроение, 1973. - 506 с. Стр. 101, рис. 3.9], [Красовский А.А. Системы автоматического управления полетом и их аналитическое конструирование. - М.: Наука, 1973. - 560 с. Стр. 179, рис. 5.2], [Михалев И.А., Окоемов Б.Н., Чикулаев М.С. Системы автоматического управления самолетом. - М.: Машиностроение, 1987. - с. 240. Стр. 192, рис. 14.2, стр. 194, рис. 14.4, стр. 198, рис. 14.7, стр. 201, рис. 14.9]. Эти САУ за счет астатизма системы обеспечивают хорошую точность поддержания заданного значения угла тангажа. Однако они не позволяют ограничивать значение угла атаки в процессе управления ЛА, что может привести к его сваливанию на больших углах атаки. Наиболее близкой по достигаемому техническому результату, выбранной в качестве прототипа, принимается система автоматического управления углом тангажа и ограничения угла атаки летательного аппарата, содержащая последовательно соединенные задатчик угла тангажа и вычислитель автопилота угла тангажа, последовательно соединенные задатчик максимального угла атаки и первый вычислитель автомата ограничения угла атаки, последовательно соединенные алгебраический селектор максимального сигнала, сервопривод руля высоты, выходной сигнал которого определяет угол отклонения руля высоты летательного аппарата, и датчик угла тангажа летательного аппарата, имеющий выход, подключенный ко второму входу вычислителя автопилота угла тангажа, датчик угла атаки летательного аппарата, имеющий выход, подключенный ко второму входу первого вычислителя автомата ограничения угла атаки [Патент №2434785 РФ на изобретение: МПК 8 В64С 13/18. Система автоматического управления углом тангажа и ограничения угла атаки летательного аппарата / В.И. Петунии, Э.Ю. Абдуллина, В.Н. Ефанов. - Заявка №2010107693/11; Заявл. 02.03.2010; Зарегистр. в Государственном реестре изобретений РФ 27.11.2011. Бюл. №33]. Эта САУ обеспечивает хорошие статические и динамические характеристики канала управления углом тангажа ЛА и канала ограничения максимального угла атаки, но не позволяет ограничить минимальные значения угла атаки, что может привести к сваливанию ЛА и нарушению безопасности полета на больших отрицательных углах атаки. Как известно, одним из наиболее важных ограничений при полете ЛА являются коэффициент подъемной силы су и угол атаки α, определяющиеся возможностью выхода самолета на режимы сваливания или тряски. Диапазон эксплуатационных углов атаки заключен между предельными допустимыми углами атаки αдоп.min и αдоп.max [Михалев И.А., Окоемов Б.Н., Чикулаев М.С. Системы автоматического управления самолетом. - М.: Машиностроение, 1987. - с. 240. Стр. 42, рис. 4.1]. Сваливанием самолета называют его непроизвольное быстро развивающееся движение со значительной угловой скоростью или амплитудой, обусловленное потерей устойчивости на больших околокритических и критических углах атаки. Сваливание возможно как на положительных, так и на отрицательных углах атаки, и сопровождается переходом в их закритическую область. Выход на околокритические и закритические углы атаки возможен в результате грубых ошибок пилотирования, при полете в сложных метеоусловиях. К выходу на критические углы атаки может привести и отказ в системе управления, связанный с быстрым неконтролируемым отклонением руля высоты. Для сваливания характерна быстрая потеря высоты, что особенно опасно на режимах взлета и захода на посадку. Выход на углы сваливания при нормальной эксплуатации недопустим. При эксплуатации самолета ограничивают предельные углы атаки допустимыми значениями с заданным запасом по отношению к углу сваливания [Аэромеханика самолета: Динамика полета / Под ред. А.Ф. Бочкарева и В.В. Андриевского. - М.: Машиностроение, 1985. - 360 с. Стр. 340, рис. 19.1]. Задачей, на решение которой направлено заявляемое изобретение, является повышение надежности продольного управления и сохранение нормальной эксплуатации летательного аппарата в заданном диапазоне углов атаки. Техническим результатом является обеспечение необходимой точности ограничения угла атаки летательного аппарата за счет включения в систему автоматического управления углом тангажа каналов ограничения максимального и минимального углов атаки с помощью алгебраических селекторов минимального и максимального сигналов. Поставленная задача решается, а технический результат достигается тем, что в систему автоматического управления углом тангажа и ограничения угла атаки летательного аппарата, содержащую последовательно соединенные задатчик угла тангажа и вычислитель автопилота угла тангажа, последовательно соединенные задатчик максимального угла атаки и первый вычислитель автомата ограничения угла атаки, последовательно соединенные алгебраический селектор максимального сигнала, сервопривод руля высоты, выходной сигнал которого определяет угол отклонения руля высоты летательного аппарата, и датчик угла тангажа летательного аппарата, имеющий выход, подключенный ко второму входу вычислителя автопилота угла тангажа, датчик угла атаки летательного аппарата, имеющий выход, подключенный ко второму входу первого вычислителя автомата ограничения угла атаки, в отличие от прототипа дополнительно введены последовательно соединенные задатчик минимального угла атаки и второй вычислитель автомата ограничения угла атаки, второй вход которого соединен с выходом датчика угла атаки, а выход с первым входом алгебраического селектора максимального сигнала, алгебраический селектор минимального сигнала, первый вход которого соединен с выходом первого вычислителя автомата ограничения угла атаки, второй вход соединен с выходом вычислителя автопилота угла тангажа, а выход соединен со вторым входом алгебраического селектора максимального сигнала. Существо изобретения поясняется чертежами. На фиг. 1 представлена структурная схема заявляемой системы автоматического управления углом тангажа и ограничения угла атаки летательного аппарата. На фиг. 2 представлены результаты моделирования переходных процессов: Система автоматического управления углом тангажа и ограничения угла атаки летательного аппарата, содержащая последовательно соединенные задатчик угла тангажа 1 и вычислитель автопилота угла тангажа 2, последовательно соединенные задатчик максимального угла атаки 3 и первый вычислитель автомата ограничения угла атаки 4, последовательно соединенные алгебраический селектор максимального сигнала 5, сервопривод руля высоты 6, выходной сигнал которого определяет угол отклонения руля высоты летательного аппарата 7, и датчик угла тангажа 8 летательного аппарата 7, имеющий выход, подключенный ко второму входу вычислителя автопилота угла тангажа 2, датчик угла атаки 9 летательного аппарата 7, имеющий выход, подключенный ко второму входу первого вычислителя автомата ограничения угла атаки 4, отличающаяся тем, что дополнительно содержит последовательно соединенные задатчик минимального угла атаки 10 и второй вычислитель автомата ограничения угла атаки 11, второй вход которого соединен с выходом датчика угла атаки 9, а выход с первым входом алгебраического селектора максимального сигнала 5, алгебраический селектор минимального сигнала 12, первый вход которого соединен с выходом первого вычислителя автомата ограничения угла атаки 4, второй вход соединен с выходом вычислителя автопилота угла тангажа 2, а выход соединен со вторым входом алгебраического селектора максимального сигнала 5. Ограничение отрицательного угла атаки в приведенной системе достигается за счет введения в ее структуру задатчика минимального угла атаки 10, второго вычислителя автомата ограничения угла атаки 11 и алгебраического селектора минимального сигнала 12. Система автоматического управления углом тангажа с вычислителем автомата ограничения угла атаки работает следующим образом. Сигнал заданного угла тангажа ϑзад с выхода задатчика угла тангажа 1 поступает на первый вход вычислителя автопилота угла тангажа 2, на второй вход которого поступает сигнал текущего значения угла тангажа ϑ с выхода датчика угла тангажа 8. На выходе вычислителя автопилота угла тангажа 2 формируется сигнал поступающий на второй вход алгебраического селектора минимального сигнала 12. Здесь Для построения САУ с ограничением параметров ЛА можно использовать логические устройства, реализующие алгоритмы алгебраического селектирования каналов. Обычно применяется принцип селектирования, согласно которому регулируется параметр многомерного объекта управления, наиболее приблизившийся к величине, определяемой программой управления [Петунии В.И. Синтез систем автоматического управления летательными аппаратами с автоматами ограничений предельных параметров // Изв. вузов. Приборостроение. 2010. Том 53. №10. - С.18-24.]. Для того чтобы регулируемые параметры не превысили максимальных допустимых значений (ограничение сверху), селектор должен пропустить на управление сигнал, соответствующий получению минимальной величины управляющего сигнала. Такое селектирование называют селектированием по минимуму, а селектор - селектором минимальных сигналов управления. Если же ограничивают минимальные значения параметров (ограничение снизу), то предпочтение отдается регулятору параметра, для поддержания которого требуется наибольший управляющий сигнал, т.е. осуществляется селектирование по максимуму. В этом случае используют селектор максимальных сигналов управления. В отличие от прототипа знак коэффициента передачи объекта управления - летательного аппарата 7 здесь не учитывается. Сигнал заданного максимального угла атаки αmax с выхода задатчика максимального угла атаки 3 поступает на первый вход первого вычислителя автомата ограничения угла атаки 4, на второй вход которого поступает сигнал текущего значения угла атаки α с выхода датчика угла атаки 9. На выходе первого вычислителя автомата ограничения угла атаки 4 формируется сигнал поступающий на первый вход алгебраического селектора минимального сигнала 12. Здесь Сигнал заданного минимального угла атаки αmin с выхода задатчика минимального угла атаки 10 поступает на первый вход второго вычислителя автомата ограничения угла атаки 11, на второй вход которого поступает сигнал текущего значения угла атаки α с выхода датчика угла атаки 9. На выходе второго вычислителя автомата ограничения угла атаки 11 формируется сигнал поступающий на первый вход алгебраического селектора максимального сигнала 5. Здесь Выходной сигнал U12 алгебраического селектора минимального сигнала 12 U12=min(U1, U2) поступает на второй вход алгебраического селектора максимального сигнала 5. Выходной сигнал U алгебраического селектора максимального сигнала 5 U=max(C3, U12)=max[U3, min(U1, U2)] поступает на вход астатического сервопривода руля высоты 6 с передаточной функцией изменяющего угол отклонения руля высоты δв летательного аппарата 7 δв=Wсп(p)U. При этом происходит изменение угла тангажа ЛА ϑ и требуемое ограничение угла атаки α. Селекторы вводятся в САУ для плавного переключения каналов управления и обеспечивают во всех условиях работы управляющее воздействие только одного из нескольких каналов управления, включаемых в работу в зависимости от режима работы объекта управления. При этом каждый из каналов управления работает автономно, и его параметры обычно выбираются без учета взаимодействия с другими каналами. Это позволяет сохранить статическую точность и запасы устойчивости, свойственные отдельным каналам управления. Следовательно, алгебраический селектор обеспечивает плавное переключение с одного канала на другой, например, с автопилота на автомат ограничения и обратно на автопилот. Аналитический синтез передаточных чисел автопилота угла тангажа и автомата ограничения угла атаки с учетом заданного качества САУ проведен в работе [Петунии В.И. Синтез систем автоматического управления летательными аппаратами с автоматами ограничений предельных параметров // Изв. вузов. Приборостроение. 2010. Том 53. №10. - С. 18-24.]. Результаты синтеза подтверждаются результатами моделирования переходных процессов в заявляемой САУ углом тангажа и ограничения положительного и отрицательного углов атаки ЛА, представленными на фиг. 2, где задающие воздействия каналов: ϑзад=1; αmax=0,2; αmin=-0,2. Переходные процессы: Итак, заявляемое изобретение, благодаря введению в структуру САУ углом тангажа ЛА автомата ограничения положительного и отрицательного углов атаки с помощью алгебраических селекторов минимального и максимального сигнала, позволяет обеспечить необходимую точность ограничения углов атаки и плавные переходные процессы при переключении каналов.
- передаточные числа автопилота.
- передаточные числа автомата ограничения.
- передаточные числа автомата ограничения.