патент
№ RU 2683592
МПК H01Q1/27

ПОЕЗДНАЯ МОДУЛЬНАЯ ПЕРЕДАЮЩАЯ ФАЗИРОВАННАЯ АНТЕННАЯ РЕШЕТКА

Авторы:
Малыгин Игорь Геннадьевич
Номер заявки
2017142895
Дата подачи заявки
07.12.2017
Опубликовано
29.03.2019
Страна
RU
Как управлять
интеллектуальной собственностью
Чертежи 
6
Реферат

Изобретение относится к радиотехнике и предназначено для использования в системах подвижной радиосвязи преимущественно в коротковолновом (KB) диапазоне. Поездная модульная передающая (ПМП) фазированная антенная решетка (ФАР) состоит из: блока автоматического управления параметрами (БАУП) 1 ФАР, коммутатора информационных сигналов (КИС) 3, N≥2 базовых модулей (БМ) 4, навигационного приемника (НП), средства 10 для определения протяженности и азимута радиолиний и средства 11 для прогнозирования рабочей частоты. С помощью шины сигналов управления и информации (ШСУИ) 12 обеспечивается передача формируемых сигналов управления от БАУП 1 к соответствующим входам/выходам БМ 4. Техническим результатом при использовании заявленного объекта является обеспечение более высокой стабильности энергетического потенциала радиолиний с использованием ПМП ФАР при движении поездного состава. Путем коррекции амплитудно-фазового распределения сигналов на выходах БМ при перемещении поездного состава достигается стабильность ориентации максимума диаграммы направленности ФАР в направлении на корреспондента. 2 з.п. ф-лы, 5 ил.

Формула изобретения

1. Поездная модульная передающая (ПМП) фазированная антенная решетка (ФАР), содержащая блок автоматизированного управления параметрами (БАУП) (1) ФАР, снабженный шиной (2) ввода исходных данных, коммутатор информационных сигналов (КИС) (3), М≥2 информационных входов которого являются М информационными входами ПМП ФАР, N≥2 базовых модулей (БМ) (41, 42, 4N) и шину сигналов управления и информации (ШСУИ) (12), предназначенную для подключения управляющих и информационных входов/выходов N БМ (41, 42, …4N) к соответствующим портам БАУП (1), а n-й, где n=1, 2, …, N, БМ (4n) содержит антенный блок (АБ) (5) и блок формирования радиотракта (БФРТ) (6), отличающаяся тем, что n-й БМ (4n) установлен в подкрышевом пространстве, экранированном от салона n-го вагона (7n) поездного состава, а БАУП (1) размещен в аппаратном отсеке (8) одного из вагонов (7) поездного состава, дополнительно в n-м БМ (4n) установлен навигационный приемник (НП) (9), взаимодействующий с системой спутниковой радионавигации (ССРН) и предназначенный для местоопределения n-го БМ (4n) при движении поездного состава, причем АБ (5) n-го БМ (4n) состоит из каскадно включенных малогабаритного излучателя (МГИ) (5.1), фазометра (5.2), измерителя мощности (ИМ) (5.3) и блока настройки и согласования (БНС) (5.4), а БФРТ (6) состоит из каскадно включенных широкополосного усилителя мощности (ШПУМ) (6.1), аттенюатора (6.2), фазового корректора (6.3) и возбудителя (6.4), высокочастотный (в.ч.) выход ШПУМ (6.1) является одноименным выходом БФРТ (6) и подключен к в.ч. входу АБ (5), являющемуся в.ч. входом БНС (5.4), дополнительно в состав ПМП ФАР введены средство вычисления протяженности и азимута радиолиний (СВПАРЛ) (10) и средство (11) прогнозирования рабочей частоты для каждой планируемой радиолинии, шины управляющих и информационных входов/выходов БАУП (1) через порты П1-П11 «координаты БМ» П1, «фаза» П2, «уровень мощности» П3, «настройка» П4, «передача» П5, «корректировка уровня мощности» П6, «корректировка фазы» П7, «базовый модуль» П8, «информационный сигнал» П9, «протяженность и азимут радиолинии» П10, «рабочая частота» П11, с помощью ШСУИ (12) подключены к соответствующим входам\выходам каждого из N БМ (4), а также к входам\выходам СВПАРЛ (10) и средства (11) прогнозирования рабочей частоты, а шина «сигнал» КИС (3) подключена к одноименному входу «сигнал» П12 БАУП (1) ФАР.

2. Поездная модульная передающая ФАР по п. 1, отличающаяся тем, что в качестве системы спутниковой радионавигации использована система «ГЛОНАСС» или система «GPS».

3. Поездная модульная передающая ФАР по п. 1, отличающая тем, что в качестве средства (11) прогнозирования рабочей частоты использована станция вертикального зондирования ионосферы или станция возвратно-наклонного зондирования ионосферы.

Описание

[1]

Изобретение относится к радиотехнике и заявленная поездная модульная передающая (ПМП) фазированная антенна решетка (ФАР) предназначена для использования в системах подвижной радиосвязи, функционирующих в одной или нескольких радиолиниях, преимущественно в коротковолновом (KB) диапазоне в одном или нескольких радиолиниях.

[2]

Известны передающие KB ФАР. Так, известная модульная KB ФАР по патенту РФ №2170997 от 20.07.2001 г., состоит из блока базовых антенных модулей (ББАМ),. Каждый ББАМ выполнен в виде пары ортогональных плоских симметричных вибраторов, возбуждаемых независимо. ББАМ установлены попарно симметрично относительно центра апертуры ФАР, образуя кольцевую решетку. ББАМ размещенны в толще земли и с помощью фидеров подключены к входам фидерного тракта. Путем коммутации соответствующих излучателей и их фазирования обеспечивается возможность управления формой и ориентацией в пространстве максимума диаграммы направленности (ДН) и, следовательно, возможность работаты с корреспондентом, перемещающимся в пространстве.

[3]

Недостатком аналога является узкая область его применения. Такая ФАР неприемлема для установки по подвижном объекте, в частности на поездном составе.

[4]

Известна также передающая модульная антенная фазированная антенная решетка (АФАР) по патенту РФ №2325742, опубл. 27.05.2008. Указанный аналог состоит из N≥2 базовых антенных модулей (БАМ), каждый из которых включает пару ортогональных симметричных излучателей, погруженных в толщу земли, и блок формирования радиотрактов (БФРТ), блок автоматизированного управления параметрами (БАУП) АФАР, снабженный шиной ввода исходных данных. Блок из Р≥2 возбудителей и коммутатор информационных сигналов (КИС). Р информационных выходов КИС подключенны к соответствующим Р информационных входам блока возбудителей (БВ). Шина сигналов управления и информации обеспечивает подключение выходов БАМ к соответствующим портам БАУП.

[5]

Недостатком данного аналога также является узкая область его использования, т.к. такое техническое решение не может быть использовано в составе радиоэлектронного комплекса, установленного на подвижном объекте.

[6]

Наиболее близким по своей технической сущности аналогом (прототипом) является известная модульная передающая активная фазированная антенная решетка по 1-му независимому пункту формулы изобретения по патенту РФ №2557447, опубл. 20.07.2015. АФАР состоит из БАУП, снабженного шиной ввода исходных данных, КИС, N≥2 базовых модулей (БМ). Каждый БМ состоит из излучателя, выполненного с возможностью его автоматического развертывания и свертывания, БФРТ, шины управляющих входов/ выходов которого подключены с помощью шины сигналов управления и информации (ШСУИ) к соответствующим входам каждого из N БМ. Шина управления «сигнал» КИС подключена к одноименному входу БАУП АФАР.

[7]

Управляющий вход «подъем-спуск» БМ является управляющим входом исполнительного механизма подъемного спуска излучателя.

[8]

В прототипе допускается как регулярная, так и произвольная установка модулей на местности, а также работа АФАР в одной или нескольких радиолиниях (р/л). Недостатком ближайшего аналога является нестабильность энергетического потенциала р/л при работе АФАР в радиолиниях подвижной связи с перемещающимся в пространстве корреспондентом, из-за отклонения от заданного направления максимума ДН и отсутствия механизма его корректировки.

[9]

Ближайший аналог не допускает его использование на подвижном объекте, например, в составе средств радиосвязи поездного железнодорожного состава.

[10]

Техническим результатом при использовании заявленной ПМП ФАР является обеспечение стабильности энергетического потенциала радиолинии при работе ПМП ФАР в системах подвижной радиосвязи за счет автоматической адаптации параметров ФАР при движении поездного состава, приводящему к изменениям направления и местоположения ФАР относительно корреспондента.

[11]

Указанный технический результат достигается тем, что в известной модульной передающей ФАР, содержащей БАУП ФАР, снабженный шиной ввода исходных данных, КИС, М≥2 информационных входов которого являются М информационными входами ПМП ФАР, N≥2 БМ и шину сигналов управления и информаций (ШСУИ), предназначенную для подключения управляющих и информационных входов/выходов N БМ к соответствующим портам БАУП, а n-й, где n=1, 2, …, N, БМ содержит антенный блок (АБ) и блок формирования радиотракта (БФРТ), причем n-й БМ установлен в подкрышевом пространстве, экранированном от салона n-го вагона поездного состава. БАУП размещен в аппаратном отсеке одного из вагонов поездного состава.

[12]

Дополнительно в n-ом БМ установлен навигационный приемник (НП), взаимодействующий с системой спутниковой радионавигации (ССРН) и предназначенный для местоопределения n-го БМ при движении поездного состава.

[13]

АБ состоит из каскадно включенных малогабаритного излучателя (МГИ), фазометра, измерителя мощности и блока настройки и согласования.

[14]

БФРТ состоит из каскадно включенных широкополосного усилителя мощности (ШПУМ), антеннюатора, фазового корректора и возбудителя. Высокочастотный (в.ч.) выход ШПУМ является одноименным выходом БФРТ и подключен к в.ч. входу АБ, являющемуся в.ч. входом БНС.

[15]

Дополнительно в состав ПМП ФАР введены средство для вычисления протяжности D и азимута ϕР.Л. радиолиний и средство для прогнозирования рабочей частоты для каждой из планируемых радиолиний.

[16]

Шины управляющих и информационных выходов БАУП через порты П1-П11 «координаты БМ «П1», «фазы» П2, «уровень мощности» П3, «настройка» П4, «передача» П5, «корректировка уровня сигнала» П6, «корректировка фазы» П7, «базовый модуль» П8, «информационный сигнал» П9, «протяженность и азимут радиолинии» П10, «рабочая частота» П11 с помощью ШСУИ подключены к соответствующим входам/выходам каждого из N БМ, а также к входам/выходам средства для вычисления протяженности D и азимута радиолиний и средства для прогнозирования рабочей частоты. Шина «сигнал» КИС подключена к одноименному входу П12 БАУП ФАР.

[17]

В качестве системы спутниковой радионавигации использована система «ГЛОНАСС» или система «GPS».

[18]

В качестве средства прогнозирования рабочей частоты использована станция вертикального зондирования ионосферы или станция вертикально-наклонного зондирования ионосферы.

[19]

В качестве средства для определения протяженности и азимута радиолиний использована номограмма Постеля.

[20]

Перечисленная новая совокупность существенных признаков обеспечивает возможность при движении поездного состава, приводящем к изменению протяженности D радиолинии и взаимной ориентации корреспондирующих пунктов, осуществлять динамическую корректировку параметров ФАР с целью сохранения ориентации максимума ДН на корреспондента, что сохраняет стабильность энергетического потенциала в выбранных радиолиниях, тем самым обеспечивает достижение указанного технического результата при эксплуатации заявленной ПМП ФАР.

[21]

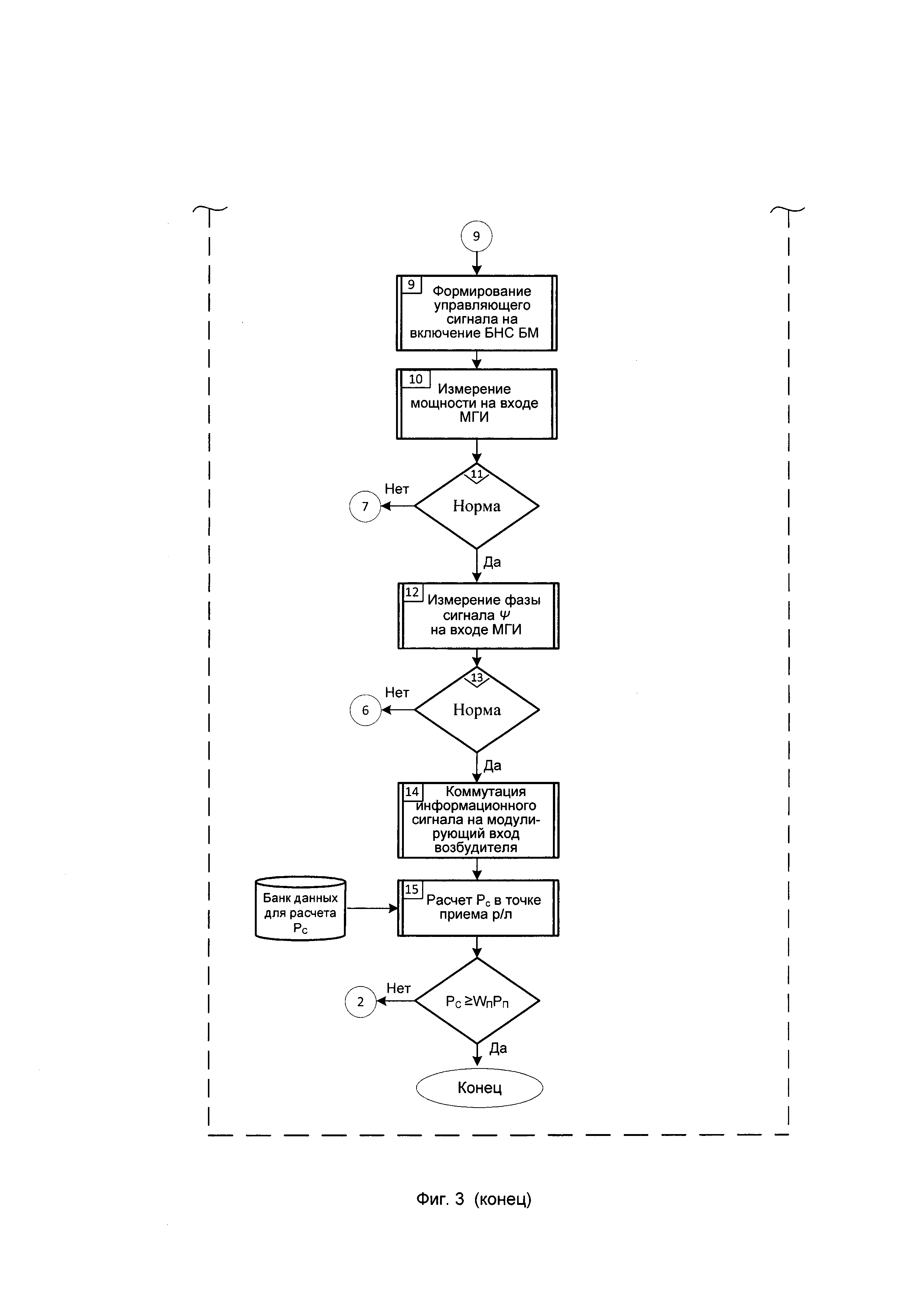
Заявленное техническое решение поясняется чертежами, на которых показано:

[22]

на фиг. 1 - структурная схема ПМП ФАР;

[23]

на фиг. 2 - рисунок, поясняющий принцип формирования фронта плоской волны при перемещении поездного состава;

[24]

на фиг. 3 - структурная схема алгоритма работы ПМП ФАР;

[25]

на фиг. 4 - рисунок, поясняющий процесс функционирования радиолиний различной протяженности;

[26]

на фиг. 5 - пример размещения элементов ПМП ФАР на поездном составе.

[27]

Заявленная ПМП ФАР, структурная схема которой показана на фиг. 1, состоит БАУП 1, снабженного шиной 2 ввода исходных данных, КИС 3, М≥2 информационных входов которого являются М информационными входами ПМП ФАР, N≥2 базовых модулей 41, 42, …, 4N, а также средства 10 вычисления протяженности D и азимута радиолиний, средства 11 для прогнозирования рабочей частоты и шину сигналов управления и информации (ШСУИ) 12.

[28]

Каждый БМ 4 содержит навигационный приемник 9, взаимодействующей с ССРН «ГЛОНАСС» или «GPS». Навигационный приемник 9, например, типа КС-100М, предназначен для определения местоположения БМ 4 в процессе движения поездного состава непрерывно или через заданные временные интервалы ΔT.

[29]

В состав БМ 4 также входит АБ 5 и БФРТ 6. Шины управляющих и информационных входов/выходов БАУП 1: «координаты БМ» П1, «фаза» П2, «уровень мощности» П3, «настройка» П4, «передача» П5, «корректировка уровня сигнала» П6, «корректировка фазы» П7, «базовый модуль» П8, «информационный сигнал» П9, «протяженность и азимут радиолиний» П10, «рабочая частота» П11 с помощью ШСУИ 12 подключены к соответствующим входам/выходам каждого из N БМ 4, а также к входам/выходам средства 10 для определения протяженности D и азимута ϕрл радиолиний и средства 11 для прогнозирования рабочей частоты. Шина «сигнал» КИС 3 подключена к одноименному порту «сигнал» П12 БАУП 1 ФАР.

[30]

БАУП 1 ФАР предназначен для формирования управляющих сигналов в соответствии с поступающими на его входы информационными сигналами и исходными данными, используемые затем для формирования радиотрактов в каждом из БМ 4; первоначальной установки и последующей ккорректировки управляющих сигналов при движении поездного состава. БАУП 1 ФАР может быть реализован в виде процессора, блок-схема, поясняющая работу которого, показана на фиг. 3.

[31]

Базовый модуль 4 предназначен для выполнения следующих функций:

[32]

формирования с помощью БФРТ 6 выходного уровня мощности с частотой, задаваемой возбудителем в.ч. с последующим его усилением ШПУМ 6.1 до необходимого уровня;

[33]

корректировки амплитуды и фазы сигнала на выходе ШПУМ 6.1 при поступлении от БАУП 1 управляющих сигналов с выходов П6 «корректировка уровня мощности» и П7 «корректировка фазы» на соответствующие входы БМ 4, являющиеся управляющими входами аттенюатора 6.2 и фазового корректора 6.3;

[34]

постоянного или через установленные временные интервалы ΔT контроля параметров в.ч. сигнала амплитуды и фазы с помощью измерителя мощности 5.3 и фазометра 5.2;

[35]

непрерывного определения местоположения БМ 4 с помощью навигационного приемника 9, взаимодействующего ССРН.

[36]

Принцип работы навигационных приемников 9 в системе спутниковой радионавигации подробно описан в литературе, например, в книге [5]. С приемлемой точностью для определения координат БМ 4 достаточно одновременное взаимодействие навигационного приемника 9 с группировкой из 2-4 спутников (см. фиг. 5).

[37]

Входящие в структуру БМ элементы предназначены.

[38]

Малогабаритный излучатель 5.1 предназначен для преобразования подводимой к его входу энергии в.ч. токов в энергию свободно распространяющихся электромагнитных волн (ЭВМ) в свободном пространстве. С учетом того, что для установки в подкрышевом пространстве вагона размеры выделяемого объема для этой цели малы по сравнению с длинами волн в KB диапазоне, как правило, используют малогабаритные излучатели, для которых любой их линейный размер выбирают из условия где λр - рабочая длина волны.

[39]

В качестве подкрышевых KB МГИ 5.1 могут быть использованы известные из уровня техники решения по пат. РФ №2556446 или №2585918, 2016 г.

[40]

Фазометр 5.2 предназначен для непрерывного измерения фазы в.ч сигнала на входе МГИ 5.1 и передаче измеренного значения фазы в БАУП 1 для выработки, при необходимости, управляющего сигнала на корректировку фазы, передаваемого через порт П7 «корректировка фазы» от БАУП 1 на одноименный вход фазокорректора 6.3. В качестве фазокорректора могут быть использованы известные коммутируемые дискретные реактивные цели, реализованные, например, на отрезках коаксиального кабеля, описанных в пат. РФ №2276454, 2006.

[41]

Измеритель мощности 5.3 предназначен для непрерывного измерения уровня мощности, подводимой к входу МГИ 5.1 и формирования сигнала, соответствующего этому уровню и передаваемого затем в БАУП 1, где, при необходимости, вырабатывается управляющий сигнал для корректировки выходного уровня мощности. Управляющий сигнал затем передается по шине «корректировка уровня мощности» П6 от БАУП 1 на вход П6 аттенюатора 6.2 в БФРТ 6.

[42]

В качестве измерителя мощности 5.3 могут быть использованы известные схемы на основе датчиков тока и напряжения, установленных на выходе БНС 5.1. Подобные схемы описаны, например, в книге [1, с. 22-23].

[43]

БНС 5.4 предназначен для согласования и настройки выходного сопротивления ШПУМ 6.1 с комплексным сопротивлением ZA на входе МГИ 5.1. В качестве БНС 5.1 могут быть использованы перестраиваемые согласующие устройства, подробное описание которых содержится в книге [2, с. 538-541].

[44]

Широкополосный усилитель мощности 6.1 предназначен для усиления сигнала до заданного уровня мощности на выходе БФРТ 6. В качестве ШПУМ 6.1 может быть использован серийно выпускаемый промышленностью усилитель мощности типа СУМ-Р-631-2Б или 15Э1389-6 с регулируемой выходной мощностью. В таком исполнении сигнальный вход ШПУМ 6.1 подключен через аттенюатор 6.2 и шину «передача» П5 к БАУП 1. Управляющий вход аттенюатора 6.2 с помощью шины «корректировка уровня мощности» П6 подключен к одноименному выходу БАУП 1, чем обеспечивается регулирование выходной мощности ШПУМ 6.1.

[45]

Аттенюатор 6.2 предназначен для регулировки уровня мощности в.ч. сигнала, поступающего с выхода ШПУМ 6.1. В качестве аттенюатора 6.2 могут быть использованы известные схемы мостовых балансных регуляторов. Управление аттенюатором 6.2 обеспечивается управляющим сигналом по шине «корректировка уровня мощности» П6, формируемого в БАУП 1.

[46]

Фазокорректор 6.3 предназначен для установки фазового сдвига в.ч. сигнала. Управляющий сигнал на установку требуемой фазы поступает от БАУП 1 по шине «корректировка фазы» П7.

[47]

Возбудитель 6.4 предназначен для генерирования в.ч. сигнала с частотой, задаваемой по шине «рабочая частота» П11, и затем модулируемого информационным сигналом, поступающим по шине «информационный сигнал» П9 на информационный вход П9 возбудителя 6.4.

[48]

В качестве возбудителя 6.4 может быть использован выпускаемый промышленностью возбудитель типа Р-170 В.

[49]

КИС 3 предназначен для комутации любого из М информационных входов на порт «сигнал» П12 БАУП 1, через который по шине «информационный сигнал» П9, поступает на модуляционный вход П9 возбудителя 6.4. КИС 3 может быть реализован различным образом, в частности, по схеме в.ч. коммутатора, представленного на фиг. 5 описания патента РФ №2325742, 2008 г.

[50]

Шина сигналов управления и информации 12 предназначена для подключения входов/выходов каждого из N БМ 4, размещенных в подкрышевых пространствах вагонов поездного состава, к соответствующим портам БАУП 1, установленного в аппаратном отсеке 8 одного из вагонов поездного состава.

[51]

Средство 10 для вычисления протяженности D и азимута ϕР.Л радиолинии, назначение которого следует из его названия, размещено в выделенном для этой цели отсеке 8 одного из вагонов 7. В качестве такого средства использована Номограмма Постеля, подробное описание правил применения, которой известно и описано в работе [3, с. 57-60].

[52]

Указанное средство может быть выполнено также в виде процессора, в котором реализована процедура вычисления дальности и азимута радиолиний при известных координатах первого (λ1, ϕ1 и второго (λ2, ϕ2) корреспондентов.

[53]

Средство 11 для прогнозирования рабочей частоты предназначено для определения рабочей частоты fp для каждой из запланированных радиолиний ионосферных ЭМВ. Известны средства для выполнения этой задачи:

[54]

станция вертикального зондирования (СВЗ) ионосферы, которую как правило, применяют для определения fp при односкачковых трассах (см. фиг.4). Электрическая схема СВЗ и принцип ее работы описаны в книге: [4, с. 238-240]. Для прогнозирования fp при многоскачковых трассах (см. фиг. 4) целесообразно использовать станцию возвратно-наклонного зондирования ионосферы, также описанной в указанной книге [4, с. 238-240].

[55]

Заявленное устройство работает следующим образом.

[56]

В выделенном подкрышевом пространстве вагонов поездного состава (см. фиг. 5) устанавливают БМ 4. Объем подкрышевого пространства, в котором размещен БМ 4, предварительно экранируют от салона данного вагона. В БАУП 1 МПМ ФАР вводят через шину 2 необходимые исходные данные для подготовки ФАР к работе:

[57]

Y - число радиолиний, WH - необходимое превышение уровня сигнала РC над мощностью помех РП в точке приема, т.е. WH=PC/PП для каждой из радиолиний; координаты λК, ϕК корреспондентов. Входы/выходы N БМ 4, средства 10 для определения протяженности и азимута радиолиний и средства 11 для прогнозирования рабочей частоты fp подключены с помощью ШСУИ 12 к соответствующим портам П1-П12 БАУП 1 ПМП ФАР.

[58]

Производят первоначальное вычисление протяженности D и азимута ϕрл каждой радиолинии. Исходными данными для вычисления D являются известные координаты каждого из корреспондентов и координаты поездного состава при его подготовке к движению. Методика вычисления D известна и описана, например, в указанной выше работе [3, с. 57-60].

[59]

Последовательность дальнейших действий при работе ПМП ФАП отражена на фиг. 3.

[60]

По исходным данным и с учетом вычисленной протяженности D и азимута ϕрл. радиолинии формируют радиотракты каждого из БМ для чего:

[61]

формируют управляющий сигнал на включение БМ 4;

[62]

вычисляют необходимые углы (θ, ϕ) ориентации максимума DH в каждом из радионаправлений (см. фиг. 4); методика вычисления углов (θ, ϕ) при ранее вычисленной протяженности радиолиний описана в указанной выше работе [3, с. 118].

[63]

Рассчитывают необходимую мощность излучения РА ФАР в каждой из радиолиний с учетом заданного значения WН в точке приема с использованием общего управления радиопередачи (см., например, книгу [3, с. 22-35].

[64]

В зависимости от координат (λБМ, ϕБМ) каждого из БМ 4 и координат (λТО, ϕТО) точки отражения А сигнала от ионосферы (см. фиг. 4) вычисляют требуемый сдвиг фазы ψ сигнала в каждом БМ 4, обеспечивающих формирования фронта плоской волны, при котором максимум ДН ФАР будет ориентирован в направлении на корреспондента (фиг. 2). Необходимый сдвиг фаз будет определиться разностью хода лучей от БМ Δd (см. фиг. 2), возникающих при эволюциях поездного состава.

[65]

По вычисленным параметрам радиотракта в БАУП 1 формируют управляющие сигналы на установку аттенюатора 6.2 и фазокорректоров 6.3 в положения, обеспечивающие необходимый относительный фазовый сдвиг Δψ сигналов на выходах БМ 4, обусловленный разностью хода лучей Δd (см. фиг. 2), чем достигается формирование плоского фронта волны в требуемом направлении VT.O. на точку отражения от ионосферы (фиг. 4).

[66]

После завершения формирования параметров БФРТ 6 для каждого из БМ 4, в БАУП 1 формируют управляющий сигнал на включение БНС 5.4 в БМ 4, относящихся к рассматриваемой радиолинии.

[67]

На следующем шаге подготовки к работе ПМП ФАР производится проверка уровня мощности и фазы сигнала на входе МГИ 5.1 с помощью измерителя мощности 5.3 и фазометра 5.2. Сравнивают измеренные значения уровня мощности и фазы сигнала с ранее рассчитанными. В случаях их отклонения от «нормы» в БАУП (1) вырабатывают управляющие сигналы на их корректировку, которые от БАУП (1) поступают на входы аттенюатора 6.2 и фазокорректора 6.3.

[68]

При достижении «нормы» уровня мощности и фазы на всех БМ 5, задействованных в данной радиолинии, в БАУП (1) формируют управляющий сигнал на коммутацию информационного сигнала на модулирующий вход возбудителя 6.4 по шине «информационный сигнал» П9.

[69]

Рассчитывают с использованием общего уравнения радиопередачи [3, с. 55-56] уровень мощности сигнала РС в точке приема относительно уровня мощности помех Рп с учетом необходимого уровня превышения WН. Методика вычисления уровня помех РП в точке приема известна и описана в работе [3, с. 46-47]. При выполнении условия РС≥WНPП подготовка ПМП ФАР к работе завершена. В противном случае процедуру, подготовки повторяют, начиная с этапа формирования радиотракта.

[70]

С началом движения поездного состава его местоположение постоянно меняется относительно корреспондента (см. фиг. 2). В этих условиях для обеспечения стабильности энергетического потенциала радиолиний, т.е. выполнения условия РС≥WНPП, необходима постоянная корректировка параметров БФРТ 6, включенных в работу конкретной радиолинии.

[71]

С этой целью постоянно или через установленный временный интервал ΔT производят корректировку параметров ФАР начиная от расчета протяженности D и азимута ϕР.Л. радиолиний до выполнения условия РС≥WHPП.

[72]

Таким образом при движении поездного состава происходит в автоматическом режиме контроль параметров ФАР и, в случае необходимости, их корректировка для достижения заданного энергетического потенциала радиолинии: РС≥WПPП, чем обеспечивается при использовании заявленной ПМП ФАР достижение сформулированного технического результата - обеспечение более высокой стабильности энергетического потенциала радиолинии функционирующей в системе подвижной радиосвязи.

[73]

Использованные источники

[74]

1. Кушнир Ф.В. Электроизмерения: уч. Пособие для вузов. - М.: Энергоатом, Издат. Ленинградское отделение, 1983 г. - С. 22-23.

[75]

2. Гавеля Н.П. Истрашкин А.Д. и др. Антенны, Часть 1, под ред. Муравьева Ю.К. - Л: ВКАС, 1963. - С. 538-541.

[76]

3. Гвоздев И.Н., Чернолес В.П. Методические рекомендации по дисциплине «Радиочастотная служба и антенные устройства». ВАС, 1980. - С. 57-60, рис. VI.I, с. 118.

[77]

4. Жуков В.А. Серков В.П. и др. Радиочастотная служба и антенные устройства. - Л.: ВАС, 1989. - С. 238-240.

[78]

5. Тяпкин В.Н., Горин Е.Н. Методы определения навигационных параметров подвижных средств с использованием спутниковой радионавигационной системы ГЛОНАСС. Красноярск: Сиб. Федер. Ун-т, 2012. 260 с.

Как компенсировать расходы
на инновационную разработку
Похожие патенты