патент
№ RU 2674810
МПК F15B21/12

ГИДРАВЛИЧЕСКИЙ СЛЕДЯЩИЙ ВИБРАТОР

Авторы:
Суслов Алексей Анатольевич
Номер заявки
2017118728
Дата подачи заявки
29.05.2017
Опубликовано
13.12.2018
Страна
RU
Как управлять
интеллектуальной собственностью
Чертежи 
2
Реферат

Изобретение относится к гидромашиностроению и может быть использовано в различных отраслях промышленности. Гидравлический следящий вибратор состоит из корпуса 1, поршня 21 со штоком 20, рабочих полостей 4 и 5, распределяющей золотниковой пары 2, гидравлических каналов 6, 7 между полостями 4, 5 и проточками пары 2, подводимых напорной и сливной магистралей 8, 9. Золотник 10 пары 2 прижат возвратной пружиной 11 к следящей плунжерной паре 3, которая имеет подвижную плунжерную камеру 12, контактирующую с золотником 10, и подвижный плунжер 18 с заданным ходом относительно камеры 12, контактирующий со штоком 20. Полость между подвижными плунжером 18 и камерой 12 сообщена с гидравлическим каналом 16 для подачи внешнего управляющего гидравлического сигнала от внешнего распределителя 17. Пара 2 имеет положительное или нулевое перекрытие окон в нейтральном положении. Изобретение направлено на обеспечение постоянства амплитуды колебаний, возможность фазовой синхронизации движения штоков двух и более гидравлических следящих приводов, независимую частотную регулировку колебания одного, двух и более гидравлических следящих вибраторов. 2 ил.

Формула изобретения

Гидравлический следящий вибратор, состоящий из корпуса, поршня со штоком, рабочих полостей, распределяющей золотниковой пары, гидравлических каналов между рабочими полостями и проточками золотниковой пары, подводимых напорной и сливной магистралей, отличающийся тем, что золотник распределяющей золотниковой пары прижат возвратной пружиной к следящей плунжерной паре, которая имеет подвижную плунжерную камеру, контактирующую с золотником, и подвижный плунжер с заданным ходом относительно плунжерной камеры, контактирующий со штоком, а полость между подвижными плунжером и камерой сообщена с гидравлическим каналом для подачи внешнего управляющего гидравлического сигнала от внешнего распределителя, при этом золотниковая пара имеет положительное или нулевое перекрытие окон в нейтральном положении.

Описание

[1]

Предлагаемое изобретение относится к гидромашиностроению и может быть использовано в различных отраслях промышленности, например, в строительной, в горной и т.д., а также для испытания конструкций при динамических воздействиях.

[2]

Известен гидравлический следящий вибратор, содержащий гидроцилиндр, имеющий поршень с штоком и две рабочие полости, и управляющий золотник, включающий плунжер и золотниковую втулку с рабочими окнами, выполненными с отрицательным перекрытием их кромками плунжера и сообщенными с рабочими полостями гидроцилиндра, напорной и сливной гидролиниями, причем золотниковая втулка жестко связана с штоком гидроцилиндра (см. Галыкин Н.С., Каменир Я.А., Коробочкин Б.Л., Красов И.М., Лещенко В.А., Хаймович Е.М., Гидравлический следящий привод, М. «Машиностроение», 1968, см. 20, фиг. 2, 1а).

[3]

Недостатком этого гидравлического следящего вибратора является наличие симметричных отрицательных перекрытий в нейтральном положении золотника, что снижает устойчивость вибратора, так как при этом обе полости гидроцилиндра соединяются не только с напорной, но и со сливной магистралью, давая поршню возможность перебегать нейтральное положение, что ведет к образованию автоколебаний.

[4]

Известен гидравлический следящий вибратор состоящий из гидроцилиндра двухстороннего действия, трехлинейной двухпозиционной распределяющей золотниковой пары с положительным или нулевым перекрытием окон в нейтральном промежуточном положении золотника, следящей трехлинейной золотниковой пары с положительным или нулевым перекрытием окон в нейтральном промежуточном положении золотника, (см. Авторское свидетельство RU №2591472, М. Кл.: F5B 21/12, 2016).

[5]

Недостатком этого гидравлического следящего вибратора является отсутствие возможности фазовой синхронизации двух и более следящих вибраторов при одновременной работе, а также использование положительной обратной связи гидравлической схемы управления приводит к чрезмерным перегрузкам элементов конструкции и как следствие низкому ресурсу работы устройства.

[6]

Наиболее близким по технической сущности к предлагаемому является гидравлический следящий вибратор, содержащий гидроцилиндр, имеющий поршень с штоком и две рабочие полости, и управляющий золотник, включающий плунжер и золотниковую втулку с рабочими окнами, выполненными с отрицательным перекрытием их кромками плунжера и сообщенными с рабочими полостями гидроцилиндра, напорнок и сливной магистралями, причем золотниковая втулка жестко связана с штоком гидроцилиндра, при этом величина отрицательного перекрытия рабочих окон втулки, соединяющих полости гидроцилиндра с напорной магистралью, больше величины отрицательного перекрытия рабочих окон втулки, соединяющих полости гидроцилиндра с сливной магистралью, а отношение этих величин находится в пределах 5-50 (см. Авторское свидетельство СССР №926389, М. Кл.: F15B 21/12, 1982).

[7]

Недостатком этого гидравлического следящего вибратора является нестабильность амплитуды колебаний при изменении нагрузки на шток цилиндра, а также низкий КПД.

[8]

Техническим результатом предлагаемого изобретения является обеспечение постоянства амплитуды колебаний вне зависимости от нагрузки на шток гидроцилиндра, возможность фазовой синхронизации движения штоков двух и более гидравлических следящих приводов, независимая частотная регулировка колебания одного, двух и более гидравлических следящих вибраторов.

[9]

Поставленный технический результат достигается тем, что гидравлический следящий вибратор, состоящий из корпуса, поршня со штоком, рабочих полостей, распределяющей золотниковой пары, гидравлических каналов между рабочими полостями и проточками золотниковой пары, напорной и сливной магистралей, дополнительно содержит подвижную плунжерную пару состоящую из плунжерной камеры контактирующей с торцом золотника и подвижным плунжером с заданным ходом относительно плунжерной камеры контактирующим с штоком, а полость между подвижными плунжером и камерой сообщена с гидравлическим каналом для подачи внешнего управляющего гидравлического сигнала от внешнего распределителя, при этом золотниковая пара имеет положительное или нулевое перекрытие окон в нейтральном положении.

[10]

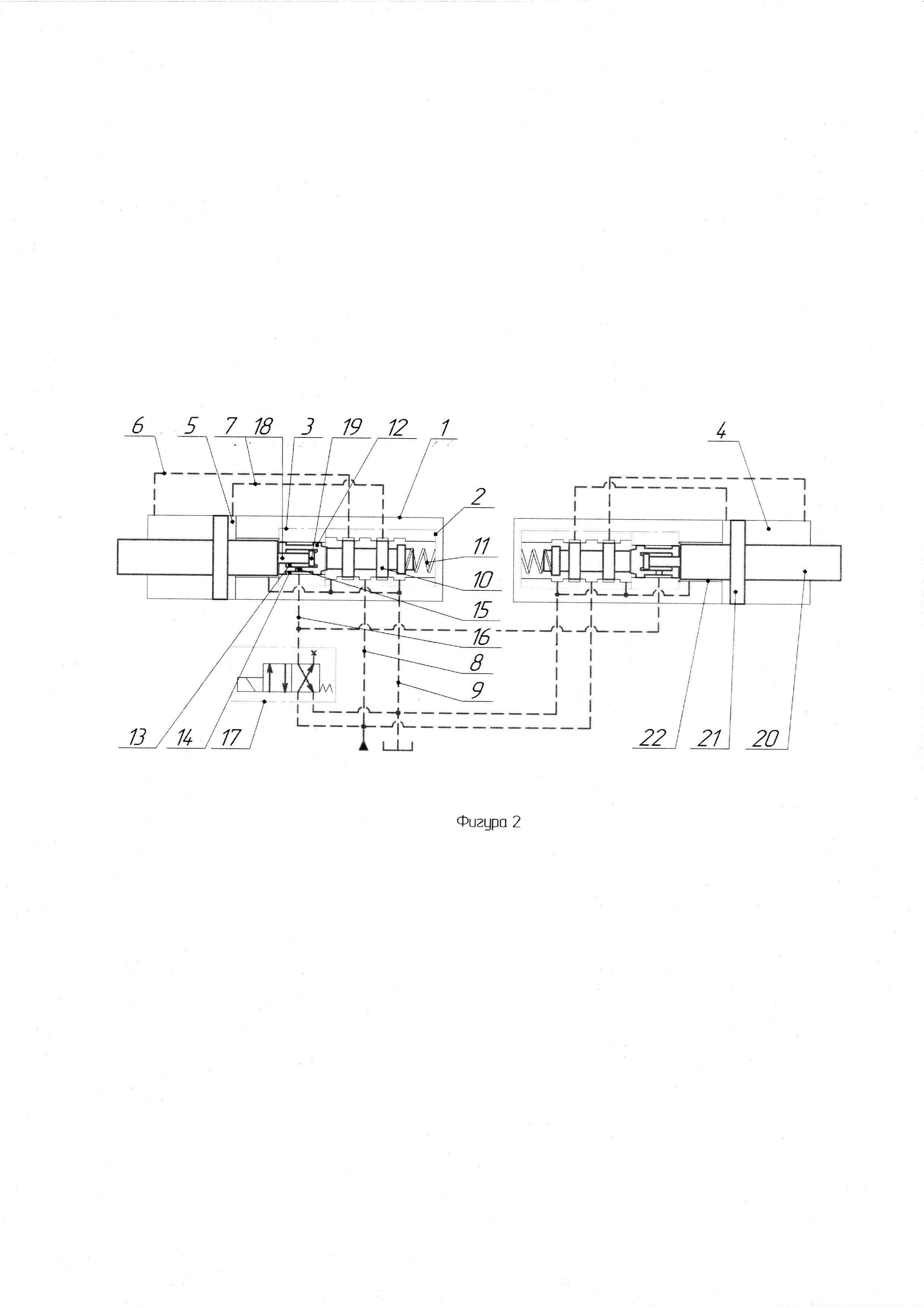
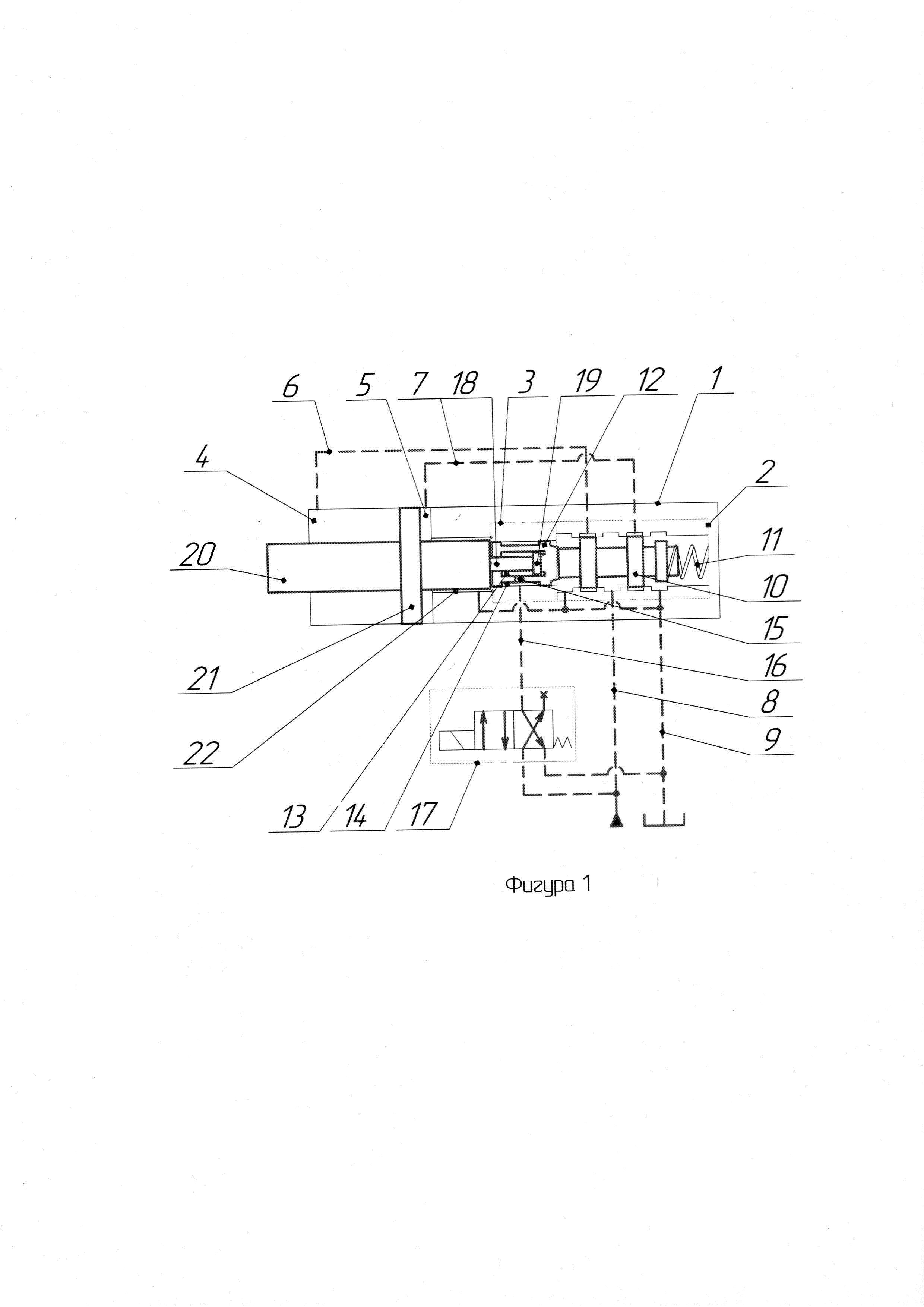
Гидравлический следящий вибратор состоит из корпуса гидроцилиндра двухстороннего действия 1, распределяющей золотниковой пары 2 с положительным или нулевым перекрытием окон в нейтральном положении золотника, следящей плунжерной пары 3. Рабочих полостей 4 и 5 имеющих соответствующие гидравлические каналы 6 и 7 с рабочими проточками распределяющей золотниковой пары 2. Напорной 8 и сливной 9 магистралей подведенных к соответствующим проточкам распределяющей золотниковой пары 2. Золотника 10 распределяющей золотниковой пары 2. Возвратной пружины 11 прижимающей золотник 10 влево к подвижной камере 12 следящей плунжерной пары 3, имеющей полость 13, проточку 14, связанных между собой отверстием 15 и гидравлическим каналом 16 с внешним управляющим распределителем 17. Подвижного плунжера 18 имеющего ограничитель 19 ограничивающий его выход из полости 13 подвижной плунжерной камеры 12, прижатого левым торцом к правому торцу штока 20. Поршня 21 закрепленного на штоке 20. Дренажной полости 22 имеющей гидравлический канал с сливной магистралью 9.

[11]

Предлагаемый гидравлический следящий вибратор работает следующим образом.

[12]

В исходном положении, показанном на фиг. 1, из напорной магистрали 8 рабочая жидкость поступает к распределяющей золотниковой паре 2, золотник 10 в исходном состоянии герметично перекрывает магистрали 6, 7, 8, 9 препятствуя перемещению штока20 и поршня 21 относительно корпуса 1. Параллельно рабочая жидкость поступает к внешнему управляющему распределителю 17, при переключении распределителя в крайнее левое положение рабочая жидкость поступает по каналу 16, проточке 14, через отверстие 15 в полость 13 подвижной плунжерной камеры 12 следящей плунжерной пары 3. При этом подвижный плунжер 18 прижат левым торцом к правому торцу штока 20, рабочая жидкость вытесняет подвижный плунжер 18 до ограничителя 19 из полости 13, происходит смещение вправо подвижной плунжерной камеры 12 и золотника 10 который прижат к подвижной плунжерной камере 12 возвратной пружиной 11. При этом рабочая жидкость из напорной магистрали 8 через открывшуюся проточку распределяющей золотниковой пары 2 поступает через канал 7 в рабочую полость 5, при этом шток 20 и поршень 21 движется влево относительно корпуса 1. Из полости 4 жидкость вытесняется через канал 6 и открытую проточку распределяющей золотниковой пары 2 в сливную магистраль, при этом часть рабочей жидкости поступает в дренажную полость 22. Возвратная пружина сдвигает золотник 10 и подвижную плунжерную камеру 12 с плунжером 18 влево, происходит отслеживание положение штока 20. Движение прекращается при достижении нейтрального исходного положения золотника 10. Далее при переключении внешнего управляющего распределителя в крайнее правое положение жидкость из полости 13 под усилием возвратной пружины 11 вытесняется через канал 16, внешний управляющий распределитель 17 в сливную магистраль 9. При этом происходит смещение влево подвижной плунжерной камеры 12 и золотника 10 до упора подвижного плунжера 18 с подвижной плунжерной камерой 12. Жидкость из напорной магистрали 8 через открывшуюся проточку распределяющей золотниковой пары 2 поступает через канал 6 в полость 4, происходит движение штока 20 и поршня 21 вправо относительно корпуса 1. При этом рабочая жидкость из полости 5 вытесняется через канал 7 и открытую проточку распределяющей золотниковой пары 2 в сливную магистраль 9. Одновременно рабочая жидкость вытесняется из дренажной камеры 22 в сливную магистраль 9. Шток 20 сдвигает подвижный плунжер 18, подвижную плунжерную камеру 12, золотник 10 сжимая возвратную пружину 11, происходит отслеживание положения штока 20. Движение прекращается при достижении нейтрального исходного положения золотника 10. В дальнейшем цикл повторяется.

[13]

На фиг. 2 показан вариант параллельного подключения двух и более гидравлических следящих вибраторов.

[14]

Предложенная схема управления позволяет обеспечить постоянную амплитуду колебаний, независимо от нагрузки на шток цилиндра, а также обеспечить фазовую синхронизацию движений штока двумя и более гидравлическими следящими вибраторами при помощи дискретного управляющего сигнала. Частота колебаний регулируется также при помощи дискретного управляющего сигнала.

[15]

Постоянство амплитуды колебаний вне зависимости от нагрузки на шток гидроцилиндра, возможность фазовой синхронизации движения штоков двух и более гидравлических следящих вибраторов, независимая частотная регулировка колебания одного, двух и более устройств является достоинством и преимуществом предлагаемого технического решения по сравнению с прототипом.

Как компенсировать расходы
на инновационную разработку
Похожие патенты