патент
№ RU 2669037
МПК F41C7/00

АВТОМАТИЧЕСКОЕ ОРУЖИЕ С ВНУТРЕННИМ ПОРШНЕМ ДЛЯ БЕЗГИЛЬЗОВОГО ПАТРОНА

Авторы:
Палецких Владимир Михайлович
Номер заявки
2016152450
Дата подачи заявки
28.12.2016
Опубликовано
05.10.2018
Страна
RU
Как управлять
интеллектуальной собственностью
Реферат

Автоматическое оружие с внутренним поршнем для безгильзового патрона содержит ствольную, поршневую, затворную группы; системы - автоматики, боепитания, охлаждения; патронник, для установки безгильзового патрона, ведущий и/или обтюрирующий поясок снаряда которого оборудован, по крайней мере, одним стопором. Поршневая группа содержит возвратную, захватную, отжимную пружины; упорную и поршневую шайбы; возвратную втулку; поршень газового двигателя, установленный в патроннике и соединенный штоком, проходящим через переднюю стенку патронника с поршневой шайбой. Патронник состоит из двух камер - газового аккумулятора и камеры сгорания, разделенных каналом сужения. Упрощается конструкция оружия, повышаются его боевая эффективность и универсальность. 36 з.п. ф-лы, 13 ил.

Формула изобретения

1. Автоматическое оружие с внутренним поршнем для безгильзового патрона, содержащее: группы - ствольную, поршневую, затворную; системы - автоматики, боепитания, охлаждения; патронник, для установки безгильзового патрона, ведущий и/или обтюрирующий поясок снаряда которого оборудован, по крайней мере, одним стопором, характеризующееся тем, что поршневая группа содержит пружины: возвратную, захватную, отжимную; шайбы упорную и поршневую; втулку возвратную; поршень газового двигателя, установленный в патроннике и соединенный, по крайней мере, одним штоком, проходящим через переднюю стенку патронника, с поршневой шайбой; и может содержать, по крайней мере, одну амортизационную пружину; патронник состоит из двух камер - газового аккумулятора и камеры сгорания, разделенных каналом сужения.

2. Оружие по п. 1, характеризующееся тем, что затвор содержит, по крайней мере, одну створку, представляющую собой качающийся на оси двуплечий рычаг, одно плечо которого является упорным плечом, переходящим в створку затвора, другое плечо является открывающим плечом и отогнуто по отношению к упорному плечу под углом, ограничивающим открытие створки; упорное плечо двуплечего рычага створки оборудовано с наружной стороны горкой, а с внутренней стороны, обращенной к патроннику, оборудовано зубчатым упорным зацеплением, взаимодействующим с ответным зубчатым упорным зацеплением, оборудованным на внешней стороне патронника; по плечам рычага перемещается, под действием привода, приводной ролик и/или ползун, установленный на подвижную прижимную конструкцию, при этом затвор оборудован или не оборудован обтюратором.

3. Оружие по п. 1, характеризующееся тем, что снаряд безгильзового патрона, устанавливаемый в патронник оружия, оборудован ведущим и/или обтюрирующим пояском, содержащим упругий стопор, который выполнен либо в виде, по крайней мере, одного кольца или плоской сегментной шайбы и установлен перпендикулярно оси снаряда в проточке пояска, либо в виде сегментного конуса, оборудованного по окружности ведущего и/или обтюрирующего пояска или установленного в его проточке, при этом наружный диаметр стопора выступает за диаметры ведущего и/или обтюрирующего пояска и входного снарядного отверстия захвата.

4. Оружие по п. 1, характеризующееся тем, что ствольная группа содержит амортизирующее устройство, включающее цилиндрический корпус с торцевыми стенками, оборудованными центральными отверстиями и установленным на участке ствола, оборудованном тормозной втулкой; внутри корпуса содержатся накатная и откатная тарельчатые пружины, установленные с упором в торцевые стенки и в разделяющую их тормозную втулку ствола, или установленные свободно без упора.

5. Оружие по п. 2, отличающееся тем, что зубчатое упорное зацепление содержит, по крайней мере, один зуб, профиль которого выполнен в треугольной или трапециевидной форме, при этом рабочая сторона профиля зуба имеет профиль с углом наклона 3-15°, нерабочая сторона профиля выполнена с углом 30-70°, или профиль зуба выполнен в закругленной, или фигурной форме, или в комбинации форм.

6. Оружие по п. 5, отличающееся тем, что продольный канал поршня содержит сужение, в котором оборудованы нарезной участок и захват.

7. Оружие по п. 6, отличающееся тем, что захват содержит две последовательно оборудованные проточки в виде входного и удерживающего конусов, вершины которых направлены по оси ствола в сторону дульного среза; входной конус захвата выполнен открытым, в узкой части которого оборудовано отверстие с диаметром несколько меньшим диаметра упругого стопора снаряда; удерживающий конус захвата оборудован основанием конуса, являющимся упорной стенкой для стопора, при этом его внутренняя поверхность оборудована изнутри полностью или частично электропроводной поверхностью, к которой подведено электропитание; удерживающий конус в своей узкой части соединен с нарезным участком.

8. Оружие по п. 6 или 7, отличающееся тем, что нарезной участок поршня оборудован винтовыми нарезами, которые имеют свое продолжение в стволе.

9. Оружие по п. 1, отличающееся тем, что ствольная группа содержит ствол, оборудованный надульным устройством в виде дульного тормоза, и/или компенсатора, и/или локализатора, упорную и/или тормозную шайбы, при этом ствол разделен на ведущую и направляющую части, последняя установлена в патроннике и оборудована или не оборудована ограничителем выдвижения.

10. Оружие по п. 1, отличающееся тем, что поршень выполнен разъемным в продольной плоскости, по крайней мере, на две части.

11. Оружие по п. 1, отличающееся тем, что камера сгорания патронника оборудована магнетроном или индуктором нагрева.

12. Оружие по п. 1, отличающееся тем, что патронник оборудован, по крайней мере, одним разгрузочным клапаном, установленным в газовом аккумуляторе и/или в камере сгорания, и выполнен по типу кингстона.

13. Оружие по п. 1, отличающееся тем, что сужение патронника оборудовано, по крайней мере, одним замком.

14. Оружие по п. 1, отличающееся тем, что на внешней стороне патронника оборудовано зубчатое упорное зацепление для створок затвора.

15. Оружие по п. 1, отличающееся тем, что метательное взрывчатое вещество патрона, устанавливаемого в патронник оружия, содержит, по крайней мере, в наружном слое, ферромагнитные и/или электропроводные включения, воспламеняемые токами высокой и/или сверхвысокой частоты.

16. Оружие по п. 1, отличающееся тем, что донная часть контейнера безгильзового боеприпаса, устанавливаемого в патронник оружия, оборудована отверстием, закрытым пленкой и оборудованным изнутри контактной группой для замыкания контактов электропроводной воспламенительной сети и/или программирования взрывателя снаряда.

17. Оружие по п. 1, отличающееся тем, что контейнер патрона устанавливается к камере сгорания патронника с воздушным зазором без касания его стенок.

18. Оружие по п. 1, отличающееся тем, что электрический импульс на электровоспламенитель метательного заряда патрона поступает через корпус и стопор снаряда.

19. Оружие по п. 1, отличающееся тем, что кольцо стопора выполнено разрезным или неразрезным и имеет поперечное сечение, преимущественно, в виде круга, овала, полуовала или прямоугольника со скошенными, или нескошенными, или закругленными углами, или выполненный в любой другой геометрической форме, или в комбинации видов.

20. Оружие по п. 19, отличающееся тем, что кольцо стопора установлено в проточке ведущего и/или обтюрирующего пояска на упругую и/или эластичную подложку, например, на кольцо из кремнийорганической резины.

21. Оружие по п. 3, отличающееся тем, что поверхность сегментного конуса или сегментной шайбы разделены посредством треугольных или трапециевидных вырезов на сегменты, которые выполнены в виде равномерно расположенных по окружности фигур с, преимущественно, параллельными боковыми краями и с закругленным наружным краем, соответствующим максимальному диаметру упорной стенки удерживающего конуса захвата поршня.

22. Оружие по п. 3 или 21, отличающееся тем, что сегменты стопора выполнены с желобообразным поперечным сечением с выпуклостью, направленной к головной части снаряда.

23. Оружие по п. 3 или 21, отличающееся тем, что вершина сегментного конуса стопора направлена в сторону головной части снаряда, а угол раствора сегментного конуса составляет от 1°до 179°.

24. Оружие по п. 3, отличающееся тем, что на ведущем пояске за сегментами стопора выполнена цилиндрическая проточка, в которую укладываются прижатые к ведущему пояску сегменты при проходе направляющей и/или ведущей части ствола и/или нарезного участка поршня; задняя стенка проточки оборудована выступом, являющимся замковым элементом, посредством которой прижатые сегменты фиксируются в проточке, при этом глубина и профиль проточки обеспечивает номинальный диаметр ведущего и/или обтюрирующего пояска при укладке в нее сегментов.

25. Оружие по п. 19, отличающееся тем, что стопор в виде кольца и/или шайбы выполнен с возможностью сцепления их концов в сжатом состоянии при входе в ствол и/или в нарезной участок поршня посредством следующих способов: оборудованием на концах стопора взаимодействующих защелок, фиксации защелок на концах стопора в деформированных стенках проточки ведущего пояска в стволе, или в комбинации способов.

26. Оружие по п. 1, отличающееся тем, что элементы автоматики включают возвратную, удерживающую, захватную пружины, электрофиксаторы, шаговые электромоторы, по крайней мере, один датчик давления и/или деформаций, систему электровоспламенения патрона, систему управления боепитанием.

27. Оружие по п. 1, отличающееся тем, что затвор затворной группы выполнен клиновым, оборудован захватом отсекающей заслонки, с которой взаимодействует посредством магнитной связи и/или механического зацепления, при этом затвор оборудован обтюратором.

28. Оружие по п. 2, отличающееся тем, что затворная группа содержит затвор, обтюратор, привод затвора, две шторки, установленные с двух противоположных сторон казенного среза, по крайней мере, одно газоотводные окно, соединенное с газоотводным каналом, между шторками подвижно установлена, по крайней мере, одна отсекающая заслонка.

29. Оружие по п. 27, отличающееся тем, что подвижно установленная, по крайней мере, одна отсекающая заслонка, перемещается в плоскости, параллельной движению клина, под действием его захвата, которая синхронно с открыванием затвора, посредством опусканием клина, закрывает проем патронника до средины, а после достижения средины патронника, клин и отсекающая заслонка разъединяются, освобождая проем патронника, при этом отсекающая заслонка движется вверх под действием своей возвратной пружины, а клин движется вниз под действием привода затвора.

30. Оружие по п. 2 или 27, отличающееся тем, что обтюратор затвора содержит, по крайней мере, одну упругопластическую пластину, расположенную прослойкой на затворе со стороны патронника, имеющей геометрические размеры, превышающие площадь внутреннего проема патронника в трех или четырех измерениях, установленную по геометрии его рабочей плоскости, и закрытую со стороны патронника плитой, обладающей возможностью ограниченного смещения по оси патронника от давления выстрела.

31. Оружие по п. 2 или 27, отличающееся тем, что в качестве упругопластической пластины обтюратора использована кремнийорганическая резина.

32. Оружие по п. 2, отличающееся тем, что обтюратор створчатого затвора выполнен в виде комплементарных элементов лабиринтного уплотнения, оборудованных по торцу периметра входного отверстия патронника, створок и стыка соединения смежных створок при оборудовании затвора двумя створками.

33. Оружие по п. 2, отличающееся тем, что подвижная прижимная конструкция для роликов выполнена в виде двух параллельных планок, установленных по обеим сторонам патронника, соединенных между собой посредством перекладин.

34. Оружие по п. 4, отличающееся тем, что отверстие для ствола, выполненное, по крайней мере, в одной, преимущественно, передней торцевой стенке цилиндрического корпуса, оборудовано центрирующей ствол скользящей втулкой.

35. Оружие по п. 4, отличающееся тем, что набор тарелей, по крайней мере, одной тарельчатой пружины выполнен с прогрессивным повышением силы сжатия пружины.

36. Оружие по п. 4, отличающееся тем, что цилиндрический корпус амортизирующего устройства соединен со ствольной трубой.

37. Оружие по п. 1, отличающееся тем, что возвратная и/или захватная пружины, выполнены в виде волновых пружин с прогрессивно возрастающим усилием поджатая.

Описание

[1]

Изобретение относится к области вооружений, а именно к автоматическому огнестрельному оружию для безгильзового патрона с автоматикой, основанной на приводе газовым двигателем, поршень которого установлен в патроннике, и может быть применено в военной области в качестве артиллерийских комплексов для установки на боевых подвижных управляемых или роботизированных платформах - сухопутных, морских или авиационных, а также может быть использовано в военной, спортивной, охотничьей, охранной областях в качестве индивидуального ручного огнестрельного оружия. Створчатый затвор, кроме оружия, может быть применен в бункерах, дозаторах, в проточных системах для перекрытия канала.

[2]

Создание оружия с предельно возможной боевой эффективностью обеспечивается за счет повышения огневой мощи как основного боевого свойства оружия - его баллистических характеристик, определяющих дальность, точность и кучность ведения огня; темпа стрельбы оружия как свойства, кардинально влияющего на время решения огневой задачи; универсальности оружия и снаряда как средства для выполнения многих огневых задач одним оружием. При этом должны учитываться жесткие массогабаритные и функциональные ограничения.

[3]

Однако дальнейшее совместное наращивание этих характеристик с использованием традиционных технических решений, наталкивается на значительные проблемы, связанные, во-первых, с быстрым перегревом ствола и износом его канала и, во-вторых, с исчерпанием резервов по существенному увеличению технической скорострельности при применении как унитарных, так и выстрелов раздельного заряжания с безгильзовыми метательными зарядами, в-третьих, с известными системами автоматики, при работе которых возникают вибрации, влияющие на кучность.

[4]

При этом компиляции классических схем уже достигли предела повышения огневых характеристик оружия, поэтому требуются новые неординарные технические решения для роста боевой эффективности.

[5]

Одним из путей преодоления вышеизложенных технических проблем является создание систем вооружения с нетрадиционными конструктивно-компоновочными схемами, обеспечивающими приемлемые массу и габариты, как самого оружия, так и систем вооружения в целом.

[6]

Автоматические артиллерийские установки являются незаменимыми при решении многих огневых задач в сухопутных войсках, военно-морском флоте и воздушно-космических силах. Автоматика этих установок, как правило, основана на перемещении больших масс (ствола и/или затвора, ленты с патронами и других механизмов), при этом действие сил разнонаправлено, а для движения деталей оружия нужны технологические зазоры, которые в совокупности с высокой отдачей понижают точность и кучность стрельбы установок.

[7]

Наиболее высокие требования по увеличению коэффициента технического совершенства оружия предъявляются к авиационным системам, а также к системам противовоздушной обороны ближней зоны. Критерий оценки технического совершенства позволяет оценить удельную производительность оружия, т.е. секундный расход патронов на единицу массы оружия.

[8]

Известна высокотемпная одноствольная авиационная пушка ГШ-301 (http://www.kbptula.ru/ru/razrabotki-kbp/strelkovo-pushechoe-i-granatometnoe-vooruzhenie/pushechnoe-vooruzhenie/gsh-301), использующая гильзовый патрон с электровоспламенением. Работа автоматики пушки основана на использовании энергии отката ствола при его коротком ходе. Ствол вместе с казенником является основным звеном автоматики и совершает за один цикл (выстрел) возвратно-поступательное движение, обеспечивая работу исполнительных механизмов: подачи патрона, его снижения, досылания патрона, запирания и отпирания канала ствола, а также экстракцию стреляной гильзы. При выстреле ствол приводится в движение назад реактивной силой метательных газов (откат), обратное движение ствола вперед (накат) производится возвратной пружиной. Безударное торможение подвижных частей пушки при подходах к крайним переднему и заднему положениям обеспечивается амортизатором-гидротормозом двустороннего действия.

[9]

Пушка имеет один канал боепитания, но в ней реализована возможность право- или левостороннего приема ленточного питания путем перестановки деталей механизма подачи. Перезарядка пушки в случае осечки производится электропиротехническим способом - при его срабатывании гильза осечного патрона пробивается специальным бойком, происходит воспламенение пороха патрона, что вызывает выстрел и автоматическую перезарядку. Подача патронной ленты осуществляется устройством, оборудованным движком, перемещающим звенья ленты возвратно-поступательными движениями. Пушка оборудована системой жидкостного охлаждения и устройством наружного обдува ствола. Воспламенение заряда патронов осуществляется электрическими капсюлями-воспламенителями напряжением 27 Вольт от бортовой сети платформы. Пушка обладает максимальным темпом стрельбы, равным 1800 выстрелов в минуту.

[10]

Недостатки пушки:

[11]

- Наличие нескольких мощных пружин, длинной ствольной коробки с механическими приводами узлов автоматики требуют высокой прочности приводных деталей, в том числе, и самой ствольной коробки, что приводит к увеличению габаритов и веса оружия (хотя вес пушки минимален - до 50 кг).

[12]

- Она обладает недостаточной дальностью стрельбы.

[13]

- Боекомплект имеет большой вес из-за веса гильз и увеличенный объем для расположения боеприпасов из-за круглого поперечного сечения гильзы боеприпаса, что ограничивает его как по весу, так и по занимаемому им объему.

[14]

- Большая длина патрона увеличивает ход тяжелого ствола и, соответственно, время перезарядки, что также ограничивает темп стрельбы.

[15]

- Автоматика выполнена механической, хотя данное оружие устанавливается исключительно на платформах, оборудованных бортовым электроснабжением и для снижения веса могло бы иметь больше электромеханических приводов.

[16]

- Высокая величина отдачи - до 8 тонн, которая требует усиления и утяжеления узлов крепления самой пушки, а также конструкции платформы, что нивелирует малый вес пушки.

[17]

- Высокая величина силы отдачи оказывает влияние на динамику и устойчивость во время стрельбы той платформы (автомобиля, катера, летательного аппарата и т.д.), на которой она установлена. Это обстоятельство не позволяет использовать пушку на мобильных легких роботизированных платформах.

[18]

- Одноканальный способ боепитания не позволяет произвести выбор снаряда по задаче и вынуждает выстреливать длинную очередь, в которой чередуются разнотипные снаряды для поражения широкого круга целей, что ведет к нецелевому расходу боекомплекта, снижает боевую эффективность, излишне перегревает и изнашивает ствол.

[19]

- Работа автоматики не позволяет получить высокую кучность стрельбы из-за наличия технологических зазоров в парах скольжения для отката и наката ствола, изменения центра тяжести оружия при перемещении его движущихся частей, а также из-за рывков при его остановке в крайних положениях во время отката/наката и которая передается базе, а также отклонение стреляющего устройства при подтягивании тяжелой ленты с очередным патроном - все это приводит к возникновению вибраций в стволе и платформе, что, в свою очередь, приводит к увеличению рассеивания снарядов и снижает кучность стрельбы на больших расстояниях, свойственных авиационным дистанциям. Поэтому поражение воздушной, к тому же маневрирующей цели из этой пушки чрезвычайно сложно и требует повышенного расхода боеприпасов.

[20]

- Ведению длинных очередей препятствует ограничение, связанное с проблемой живучести ствола, то есть способностью нарезки ствола противостоять механическому воздействию ведущих поясков снарядов в условиях интенсивного разогрева во время стрельбы длинными очередями, которые необходимо вести из-за низкой кучности.

[21]

- Механическая автоматика пушки не оборудована системой стрельбы с открытого затвора, а постоянное нахождение патрона в патроннике не позволяет стволу охлаждаться изнутри посредством протяжки холодного воздуха через канал ствола, так как он закрыт патроном, а наружное охлаждение - воздушное и жидкостное требуют некоторого времени на отвод тепла.

[22]

- Ограничение темпа стрельбы также обуславливается низкой прочностью тонкостенных гильзовых патронов, которые при резком разгоне или остановке подавателя с патроном подвержены «распатрониванию» или «проскоку патрона», в результате чего эти явления могут привести к задержке при стрельбе.

[23]

Известен 30-мм шестиствольный Зенитно-артиллерийский комплекс (ЗАК) АК-630 (https://ru.wikipedia.org/wiki/АК-630), который включает в себя автомат А-213 и систему управления стрельбой MP-133 «Вымпел».

[24]

Автомат А-213 имеет темп стрельбы 4000-5000 выстрелов в минуту. Он содержит блок из шести стволов, вращающихся под действием метательных газов, отводимых поочередно из каналов стволов. Это позволило реализовать схему параллельной перезарядки каждого ствола после очередного выстрела. Питание автомата патронами при стрельбе осуществляется из ленты, состоящей из стальных звеньев, расцепляющихся при стрельбе. Лента укладывается в магазин емкостью 2000 патронов.

[25]

Недостатками этой артиллерийской установки являются ее недостаточные характеристики по созданию плотной огневой завесы на курсе воздушной цели в кратчайшее время. Причины этого недостатка кроются в конструкции оружия, а именно - низком темпе стрельбы отдельного ствола, оборудованного патронником и затвором, - max. 830 выстрелов минуту. При этом наличие большого количества вращающихся и возвратно-поступательно движущихся массивных деталей, для движения и вращения которых нужны технологические зазоры, создает разнонаправленные моменты инерции, что, в сочетании с отдачей, генерирует неустранимые вибрации, отрицательно влияющие на кучность. При этом установка принципиально не обладает возможностью ведения залпового огня и позволяет вести только малоэффективную стрельбу очередями, что обуславливает низкую вероятность поражения летящей цели, т.к. для того, чтобы выпустить по цели очередь из тысячи снарядов, необходимо потратить не менее 13 секунд, что, при высокой скорости объекта поражения, недопустимо.

[26]

Оружие, в котором используются гильзовые патроны, не позволяет существенно увеличить темп стрельбы и уменьшить массогабаритные показатели из-за наличия «паразитного» веса гильз, для работы с которыми в цикле стрельбы нужны дополнительные механизмы и процессы, на исполнение которых тратится время цикла.

[27]

Известно «Пусковое устройство для снарядов» (Патент РФ №2254555) - т.н. система оружия для стрельбы залпами «Металл шторм», содержащая передвижной блок из нескольких ствольных пусковых устройств, в стволах которого размещено друг за другом несколько снарядов. Каждый снаряд связан с отдельным индивидуально воспламеняемым метательным зарядом для последовательного выбрасывания снарядов через выходное отверстие ствола. Каждый снаряд имеет корпус, в котором могут помещаться вещества или предметы. Снаряды расположены относительно друг друга и ствола таким образом, чтобы препятствовать распространению газов от воспламененного метательного заряда назад по стволу к расположенному сзади следующего снаряда метательному заряду. Блок может содержать средство управления ориентацией стволов для регулирования положения ствольных пусковых устройств относительно друг друга по углу между их осями для изменения положения точек попадания снарядов, выпущенных из разных стволов. Изобретение позволяет сократить время наведения пускового устройства на поражаемую цель.

[28]

Данное оружие имеет несколько родовых неисправимых проблем, препятствующих ее применению для защиты ближней зоны противоракетной обороны:

[29]

- Для поражения воздушных целей типа противокорабельных ракет предпочтительно иметь калибр снаряда не менее 30 мм. Суммарная сила отдачи от множества выстрелов, произведенных с очень высоким темпом стрельбы, будет иметь столь высокое значение, что потребует кардинального усиления и утяжеления конструкции крепления стреляющего агрегата или оборудования платформы сложной системой компенсации реакции на отдачу.

[30]

- Применить нарезные стволы для этой системы сложно по причине того, что наличие длинного гладкоствольного участка «патронника» и нарезной ведущей части ствола потребует решения проблемы резкого изменения характера движения второго и последующих снарядов, т.к. нахождение их ведущих поясков будет располагаться на большом удалении от начала нарезов ствола, что вызовет значительный разгон снаряда при выстреле и придаст ему инерцию, поэтому переход с поступательного движения на поступательно-вращательное чреват срезанием ведущего пояска до размера калибра, либо ведущий поясок должен быть достаточно твердым, но это снизит живучесть ствола.

[31]

- Разность диаметров нарезной части ствола и гладкой части патронника потребует установки ведущих устройств в передней и задней части снаряда, что увеличит трение. Установка же одного ведущего пояска вынудит снаряд располагаться в гладком патроннике с перекосом, что при входе набравшего скорость снаряда в нарезной участок ствола вызовет удары и вибрацию установки.

[32]

- Сложность при выстреле устранения возможности несанкционированного воспламенения следующего, после воспламенившегося, метательного заряда.

[33]

- Сложность перезаряжания системы длинными зарядами в условиях боя, требующая прекращения стрельбы.

[34]

- Сложность дозарядки не полностью расстрелянного боекомплекта в стволе, что потребует дополнительного времени на удаление, либо дострел нерасстрелянного боекомплекта и замену его полным боекомплектом.

[35]

- Использование трубчатых снарядов к этой установке (см. Патент РФ №2236588 - «Сборка стволов с трубчатыми снарядами для огнестрельного оружия») вызовет их раздутие и прижим к стенкам ствола при воспламенении метательного заряда, что, в свою очередь, вызовет высокий уровень нагрева ствола от высокого трения при движении снаряда.

[36]

- Перегрев стволов от интенсивной стрельбы приведет к невозможности перезарядки безгильзового боекомплекта в раскаленные «патронники» стволов, что потребует времени на их охлаждение.

[37]

- Сложность обтюрации снарядов в стволе при оборудовании системы поочередного электровоспламенения нескольких последовательно установленных метательных зарядов с электровоспламенителями.

[38]

- Для разгона снаряда с целью получения высокой энергии для поражения цели и увеличения дальности стрельбы, потребуется длинный ствол, но при чрезмерно высоком темпе стрельбы скорость снарядов, движущихся один за другим в длинном стволе, будет низкой из-за противодействия разгону снаряда остаточным давлением в стволе от предыдущего выстрела, что не позволит получить необходимую скорость снаряда и, соответственно, дальность стрельбы и высокое поражающее действие. Для падения давления в стволе естественным способом нужно определенное время, либо, для ускорения падения давления, необходимо производить продувку ствола.

[39]

Известно «Безгильзовое оружие» (патент РФ №2549599), в котором в качестве привода систем и механизмов использован электромеханический привод. Ствол установлен в патроннике телескопически, с возможностью продольного перемещения, с целью захвата патрона за пулю посредством ее фиксации в пульном входе высокотемпературным магнитом и последующим втягиванием ее в патронник. Затвор патронника выполнен в виде клина. Воспламенение патрона осуществляется электрическим способом через контакты пули. За счет использования безгильзового патрона скорострельность может быть существенно увеличена, а массогабаритные показатели уменьшены. Оружие обладает возможностью селекции боеприпасов в любой последовательности, а также возможностью сопряжения траекторий при стрельбе разными боеприпасами в одной очереди.

[40]

Данное оружие может быть оборудовано неподвижным стволом, но его затруднительно использовать в качестве артиллерийской установки, т.к. для повышения темпа стрельбы система подачи патрона электроцилиндрами должна работать с большой скоростью, а относительно тяжелый патрон артиллерийской установки потребует увеличения электрической мощности питающих устройств, что не всегда возможно обеспечить.

[41]

Известен «Снаряд и обтюрирующе-ведущий поясок снаряда» (патент RU 2110808), который содержит скрепленные между собой отсеки и два ведущих пояска: центрирующий и обтюрирующе-ведущий. Центрирующий поясок, расположенный впереди обтюрирующего, выполнен в виде установленного между корпусами отсеков кольца с равномерно распределенными по окружности пружинящими выступами. На переднем торце кольца со стороны внутреннего диаметра выполнен кольцевой торцевой выступ, а на торце корпуса впереди расположенного отсека выполнена ответная проточка. Пружинящие выступы на кольце могут быть выполнены в виде равномерно расположенных по окружности и отогнутых вверх участков кольца между парами продольных подрезов со стороны заднего торца. Обтюрирующе-ведущий поясок снаряда выполнен из пластичного материала и содержит основание и выступающую за калибр снаряда часть с коническим передним участком и кольцевой выемкой за вершиной пояска. Выступающая за калибр снаряда часть пояска со стороны заднего торца выполнена с кольцевым поднутрением, переходящим в кольцевую выемку, дно выемки расположено ниже калибра снаряда. Угол наклона кольцевого поднутрения относительно оси снаряда может быть выполнен больше или равным углу наклона переднего конического участка пояска, а наружный диаметр пояска за кольцевой выемкой равен калибру снаряда.

[42]

Недостатком этого решения является то, что пружинящие выступы должны быть достаточно жесткими, т.к. снаряд своим весом может сжать нижние пружинящие выступы и тем самым центровка будет нарушена. Но жесткие пружинящие выступы затруднят ввод снаряда в ствол и при этом они, выполнив задачу центровки снаряда в стволе, после вылета из ствола снова расправятся и продолжат выступать за калибр снаряда, создавая завихрения и ухудшая баллистику, т.к. отсутствует их фиксация в сложенном положении.

[43]

Известен «Способ совершения механической работы по перезаряжанию огнестрельного оружия за счет запасенной потенциальной энергии» (патент RU 2279028), который заключается в том, что в конструкции оружия предусматривают один или несколько (газовых) аккумуляторов механической энергии, установленных вне ствольной группы, аккумуляторы заряжают при выстреле от энергии метательных газов, механизмы перезарядки приводят в движение только от аккумуляторов. При этом потенциальную энергию в аккумуляторе запасают посредством газового двигателя, связанного газоотводным отверстием с каналом ствола и имеющего газовый поршень, который пороховыми газами перемещают в направлении дульного среза ствола до полной зарядки аккумулятора, перемещая при этом связанный с газовым поршнем шток, затем осуществляют сцепление штока с механизмом перезаряжания, а затем за счет расходования запасенной в аккумуляторе потенциальной энергии перемещают газовый поршень со штоком, сцепленным с механизмом перезаряжания либо на всем ходе механизма перезаряжания, либо на части его хода, в обратном направлении и, перемещая таким образом механизм перезаряжания, производят перезаряжание оружия. Применение способа позволяет решить проблему, возникающую при конструировании оружия - снижение массы затвора и других частей оружия.

[44]

В описании указанного способа не рассматриваются действия, необходимые для подготовки к инициации порохового заряда боеприпаса и самой его инициации, такие как подача боеприпаса, работа затвора, ведение автоматической и одиночной стрельбы, остановка стрельбы, действия по обеспечению срабатывания немеханических спусковых устройств, а также устройство узлов и механизмов оружия и последовательности их работы. Тем не менее, можно предположить, что результатом последовательной схемы работы узлов и механизмов, примененных в этом способе, будет являться низкий темп стрельбы, неприемлемый для автоматических пушечных и пулеметных систем. К тому же движение поршня газоотводного двигателя, газовая камера которого соединена со стволом определенной длины газовым каналом, имеет плечо момента силы отдачи и будет создавать вибрацию при стрельбе.

[45]

Известна обширная группа автоматического оружия, в основном, от пистолетов до пистолетов-пулеметов, в основе автоматики которых используется свободный затвор (https://ru.wilipedia.org/wiki/Свободный_затвор), в которых роль приводного поршня двигателя автоматики, действующего по продольной оси ствола, выполняет стреляная гильза.

[46]

Недостатком систем автоматики со свободным затвором является то, что для обеспечения их работы ствол необходимо делать коротким, чтобы снаряд успевал покинуть его канал до отхода затвора на критическую величину, а это отрицательно сказывается на баллистике оружия. Количество энергии, необходимой для перезаряжания, зависит от массы и скорости перемещения подвижной перезаряжающей системы, поскольку используется кинетическая энергия, что требует утяжеления подвижной системы, включающей затвор. Это, в свою очередь, усиливает вибрацию оружия, как из-за соударения тяжелой подвижной части с корпусом оружия в конце отката, так и из-за перемещения центра тяжести оружия при движении тяжелой подвижной части. Подброс, в свою очередь, ухудшает эксплуатационные характеристики оружия: увеличивает время прицеливания для следующего выстрела при стрельбе одиночными выстрелами и ухудшает кучность при стрельбе очередями.

[47]

Системы со свободным затвором являются ненадежными по той причине, что являются требовательными к качеству патронов и состоянию подвижных частей, в них практически невозможно использование безгильзовых боеприпасов, т.к. при такой автоматике сложно организовать отсечение остаточных метательных газов с высокой температурой и давлением, вылетающими в ствольную коробку при открытии канала ствола, которые могут поджечь безгильзовые патроны в боеукладке, к тому же эти газы содержат твердые продукты сгорания, что приводит к повышенному загрязнению механизма, а их отведение из ствольной коробки затруднительно.

[48]

Известен клиновой затвор (https://ru.wikipedia.org/wiki/Клиновый_затвор), обеспечивающий открывание и закрывание канала ствола путем поступательного движения клина перпендикулярно оси ствола.

[49]

Его недостатки состоят в том, что при закрывании патронника с недостаточно досланным патроном, может произойти замятие его гильзы, а при ведении высокотемпной автоматической стрельбы происходит зажим клина в пазе высоким давлением газов в стволе и патроннике, что и требует больших усилий для страгивания и открывания затвора клина из-за высокого значения сил трения. Для стрельбы безгильзовыми патронами, ствол и/или клин оборудуются сложными обтюраторами, например, обтюратором Бродвела, не позволяющими вести высокотемпную стрельбу.

[50]

Известен пластический обтюратор Банжа (см. Устройство и проектирование стволов артиллерийских орудий, авторы: Орлов Б.В., Ларман Э.К., Маликов В.Г., Машиностроение, 1981, стр. 336-359), применяемый в поршневых затворах, содержащий обтюрирующее кольцо, представляющее из себя армированную проволокой асбестовую оболочку, заполненную резиновой массой и обжатую в дискообразную форму, которая располагалась между поршнем затвора и грибовидным стержнем. При выстреле сила давления метательных газов в каморе, воспринимая головкой грибовидного стержня, передается на поршень только через обтюрирующее кольцо, которое под действием давления расплющивается и заполняет все неровности и просветы в затворной части. Данный затвор может применяться для стрельбы безгильзовыми боеприпасами.

[51]

Недостатком этого обтюратора является невозможность его применения в клиновых затворах.

[52]

Недостатком этого обтюратора является невозможность его применения в клиновых затворах.

[53]

Известно «Устройство для уменьшения отдачи оружия» (патент RU 2258883), сущность которого заключается в том, что амортизирующее устройство выполнено в виде корпуса, закрепленного на переднем торце ствольной коробки. Внутри корпуса размещен пакет подвижных в осевом направлении колец кольцевой пружины, имеющих возможность взаимного перемещения по наклонным направляющим, выполненным на каждом кольце. При этом одно из двух крайних колец установлено с упором в передний торец ствольной коробки, а другое крайнее кольцо установлено с упором в торец корпуса. Ствол снабжен направляющей и упорной втулками. Направляющая втулка соединена с возвратной пружиной и установлена в полости ствольной коробки. Упорная втулка установлена с возможностью взаимодействия с пакетом колец при накате ствола. Технический результат изобретения состоит в повышении эксплуатационных характеристик оружия и уменьшении его габаритных параметров.

[54]

Недостатки этого устройства:

[55]

При автоматической стрельбе, в условиях значительных ударных нагрузок, частое демпфирование ударов приведет к повышенному износу и нарушению микрорельефа на взаимодействующих поверхностях пружины, который сопровождается перераспределением объемов металла, и при работе пружины у края впадин будут образовываться выступы, по которым будет происходить взаимодействие поверхностей в условиях высокого контактного напряжения. При этом силы упругости пружины будет недостаточно для преодоления сил трения между поверхностями, что воспрепятствует перемещению колец между собой и приведет к их заклиниванию - пружина приобретет вид и сущность стального неупругого цилиндра и не обеспечит амортизацию последующих перемещений ствола. Высокое трение в парах колец вызовет их перегрев, что может привести к потере упругих свойств кольцевой пружины.

[56]

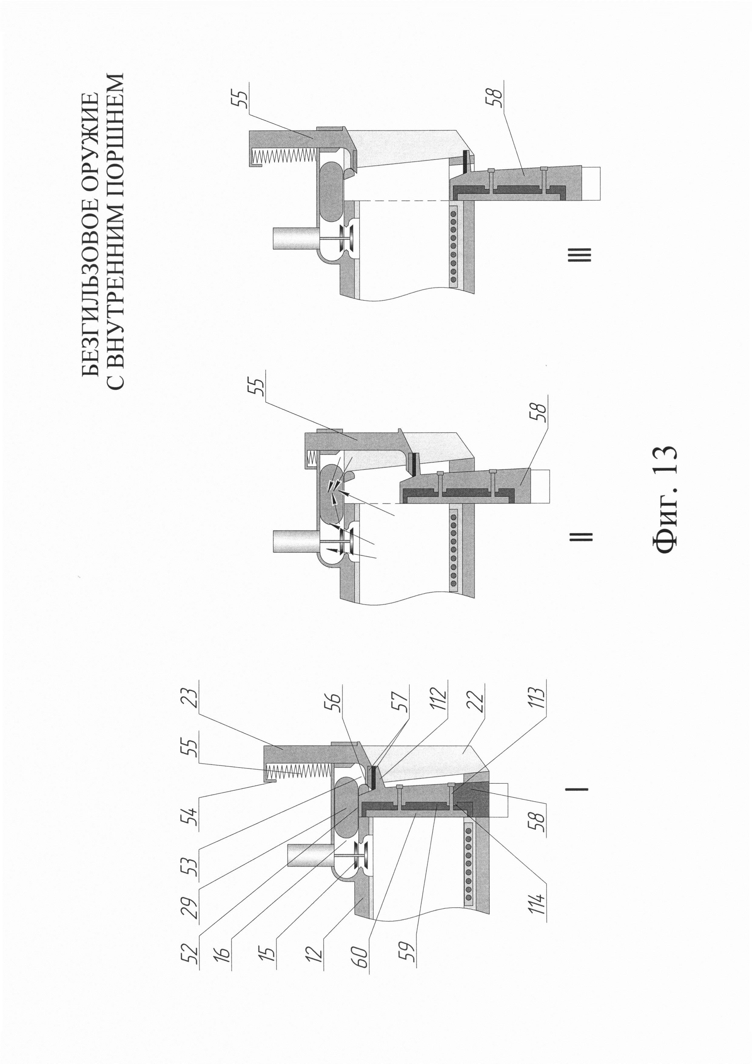
При этом одна и та же пружина должна обеспечить амортизацию сильного удара при откате и слабого удара при накате, поэтому вместо амортизации наката будет удар. К тому же, небольшая протяженность рабочего участка пружины при торможении не обеспечит плавность амортизации отката ствола, и она будет мало отличаться от удара.

[57]

Наличие технических решений, которые можно было использовать в качестве прототипа, не выявлено.

[58]

Цель изобретения состоит в повышении боевой эффективности, универсальности и технического совершенства оружия.

[59]

Технический результат, достигаемый при осуществлении изобретения, позволяет:

[60]

1. Снизить вес оружия;

[61]

2. Увеличить темп стрельбы оружия посредством:

[62]

- применения легких (малоинерционных) материалов для деталей автоматики -затвора и поршня до уровня их конструкционной прочности;

[63]

- повышения скорости перезарядки;

[64]

- уменьшения расстояний ходов отдельных подвижных деталей автоматики;

[65]

- уменьшения длины безгильзового боеприпаса;

[66]

- использования быстродействующего затвора, работающего без задержек при высоком давлении;

[67]

- обеспечения параллельной работы механизмов при стрельбе;

[68]

- отсутствия экстракции стреляной гильзы;

[69]

3. Уменьшить вес боекомплекта вследствие отсутствия гильз в патронах в безгильзовом исполнении;

[70]

4. Обеспечить стойкость электровоспламенительной цепи патрона к внешним воздействиям (таким, как электромагнитный импульс, статическое электричество, «эксперименты» персонала);

[71]

5. Обеспечить огнестойкость патрона при перезарядке посредством отведения горячих газов из патронника за его пределы;

[72]

6. Повысить надежность выстрела посредством:

[73]

- надежным соединением контактов патрона в стволе и захвате;

[74]

- электрического контактного и/или бесконтактного воспламенения метательного заряда патрона;

[75]

7. Увеличить точность и кучность стрельбы вследствие стабилизации оси оружия в направлении стрельбы, уменьшения вибраций, снижения отдачи, отсутствия плеча отдачи, использования легкого поршня для перезаряжания, движущегося строго по оси ствола, отсутствие вибраций от ударно-спускового механизма и механизма экстракции;

[76]

8. Увеличить боевую эффективность вследствие:

[77]

- использования селективного чередования патронов в очереди по характеру цели;

[78]

- увеличения номенклатуры патронов до пяти типов, чередующихся в одной очереди;

[79]

- возможности сопрягать навесные и настильные траектории посредством регулирования давления в патроннике при выстреле, т.е. вести огонь режимом «шквал огня» и быстро покидать огневую позицию после поражения цели одновременно достигаемыми несколькими снарядами;

[80]

- увеличения вероятности поражения быстродвижущейся цели посредством стрельбы залповыми очередями из нескольких соединенных в блок орудий;

[81]

- программирования взрывателя для траекторного подрыва;

[82]

- регулирования темпа стрельбы;

[83]

- применения и чередования боеприпасов с разной мощностью метательного заряда;

[84]

9. Ведение стрельбы с открытого затвора позволит:

[85]

- использовать в ведущем пояске полимеры с низкой температурой плавления;

[86]

- предотвратить воспламенение безгильзового патрона в раскаленном патроннике;

[87]

- улучшить охлаждение ствола вследствие его продувки набегающим потоком

[88]

воздуха;

[89]

- улучшить охлаждение ствола вследствие продувки ствола перемещающимся поршнем при перезаряжании;

[90]

10. Предотвратить воспламенение безгильзового патрона в приемнике;

[91]

11. Увеличить боекомплект вследствие облегчения патронов и увеличения коэффициента использования пространства боекомплектом;

[92]

12. Обеспечить отсутствие стреляных гильз и элементов ленты, которые могут попасть в обшивку или в двигатель летательного аппарата;

[93]

13. Упростить конструкцию Оружия посредством применения электроуправления процессами, без излишних механических связей;

[94]

14. Упростить технологию изготовления безгильзовых патронов за счет использования в них снарядов, выпускающихся промышленностью, с небольшим изменением ведущего пояска;

[95]

15. Упростить технологию изготовления Оружия посредством уменьшения точных участков в патроннике;

[96]

16. Увеличить сектор вертикальной наводки и подвижность Оружия из-за ствольной коробки;

[97]

17. Увеличить ресурс ствола посредством применения на снарядах полимерных ведущих устройств и предварительной нарезки выемок на ведущем пояске снаряда в нарезном участке поршня;

[98]

18. Повысить универсальность оружия использованием его в любых видах вооруженных сил для решения разноплановых огневых задач стрельбой настильными, как пушка, или навесными, как миномет или гаубица, траекториями.

[99]

19. Использование полимерного ведущего пояска позволяет:

[100]

- повысить ресурс ствола;

[101]

- вести стрельбу длинными очередями;

[102]

- повысить начальную скорость снаряда.

[103]

20. Обеспечение возможности дифференцированной амортизации ствола при откате и накате.

[104]

21. Повысить надежность оружия посредством отсутствия обрыва гильз, отказов из-за осаждения нагара.

[105]

Указанный технический результат достигается тем, что Автоматическое оружие с внутренним поршнем для безгильзового патрона, содержащее: группы - ствольную, поршневую, затворную; системы - автоматики, боепитания, охлаждения; патронник; безгильзовый патрон; характеризующееся тем, что поршневая группа содержит пружины возвратную, захватную, отжимную; шайбы упорную и поршневую; втулку возвратную; поршень газового двигателя, установленный в патроннике и соединенный, по крайней мере, одним штоком, проходящим через переднюю стенку патронника, с поршневой шайбой; по крайней мере, одну амортизационную пружину или не содержит амортизационную пружину; патронник состоит из двух камер - газового аккумулятора и камеры сгорания, разделенных каналом сужения; ведущий и/или обтюрирующий поясок снаряда безгильзового патрона оборудован, по крайней мере, одним стопором; содержит, по крайней мере, одну створку, представляющую собой качающийся на оси двуплечий рычаг, одно плечо которого является упорным плечом, переходящим в створку затвора, другое плечо является открывающим плечом и отогнуто по отношению к упорному плечу под углом, ограничивающим открытие створки; упорное плечо двуплечего рычага створки оборудовано с наружной стороны горкой, а с внутренней стороны, обращенной к патроннику, оборудовано зубчатым упорным зацеплением, взаимодействующим с ответным зубчатым упорным зацеплением, оборудованным на внешней стороне патронника; по плечам рычага перемещается, под действием привода, приводной ролик и/или ползун, установленный на подвижную прижимную конструкцию, при этом затвор оборудован или не оборудован обтюратором; снаряд безгильзового патрона, устанавливаемый в патронник оружия, оборудован ведущим и/или обтюрирующим пояском, содержащим упругий стопор, который выполнен либо в виде, по крайней мере, одного кольца или плоской сегментной шайбы и установлен перпендикулярно оси снаряда в проточке пояска, либо в виде сегментного конуса, оборудованного по окружности ведущего и/или обтюрирующего пояска или установленного в его проточке, при этом наружный диаметр стопора выступает за диаметры ведущего и/или обтюрирующего пояска и входного снарядного отверстия захвата; ствольная группа содержит амортизирующее устройство, включающее цилиндрический корпус с торцевыми стенками, оборудованными центральными отверстиями и установленным на участке ствола, оборудованном тормозной втулкой; внутри корпуса содержатся накатная и откатная тарельчатые пружины, установленные с упором в торцевые стенки и в разделяющую их тормозную втулку ствола, или установленные свободно без упора; зубчатое упорное зацепление содержит, по крайней мере, один зуб, профиль которого выполнен в треугольной или трапециевидной форме, при этом рабочая сторона профиля зуба имеет профиль с углом наклона 3-15°, нерабочая сторона профиля выполнена с углом 30-70°, или профиль зуба выполнен в закругленной, или фигурной форме, или в комбинации форм; продольный канал поршня содержит сужение, в котором оборудованы нарезной участок и захват; захват содержит две последовательно оборудованные проточки в виде входного и удерживающего конусов, вершины которых направлены по оси ствола в сторону дульного среза; входной конус захвата выполнен открытым, в узкой части которого оборудовано отверстие с диаметром несколько меньшим диаметра упругого стопора снаряда; удерживающий конус захвата оборудован основанием конуса, являющимся упорной стенкой для стопора, при этом его внутренняя поверхность оборудована изнутри полностью или частично электропроводной поверхностью, к которой подведено электропитание; удерживающий конус в своей узкой части соединен с нарезным участком; нарезной участок поршня оборудован винтовыми нарезами, которые имеют свое продолжение в стволе; ствольная группа содержит ствол, оборудованный надульным устройством в виде дульного тормоза, и/или компенсатора, и/или локализатора, упорную и/или тормозную шайбы, при этом ствол разделен на ведущую и направляющую части, последняя установлена в патроннике и оборудована или не оборудована ограничителем выдвижения; поршень выполнен разъемным в продольной плоскости, по крайней мере, на две части; камера сгорания патронника оборудована магнетроном или индуктором нагрева; патронник оборудован, по крайней мере, одним разгрузочным клапаном, установленным в газовом аккумуляторе и/или в камере сгорания, и выполнен по типу кингстона; сужение патронника оборудовано, по крайней мере, одним замком; на внешней стороне патронника оборудовано зубчатое упорное зацепление для створок затвора; метательное взрывчатое вещество патрона, устанавливаемого в патронник оружия, содержит, по крайней мере, в наружном слое, ферромагнитные и/или электропроводные включения, воспламеняемые токами высокой и/или сверхвысокой частоты; донная часть контейнера безгильзового боеприпаса, устанавливаемого в патронник оружия, оборудована отверстием, закрытым пленкой и оборудованным изнутри контактной группой для замыкания контактов электропроводной воспламенительной сети и/или программирования взрывателя снаряда; контейнер патрона устанавливается к камере сгорания патронника с воздушным зазором без касания его стенок; электрический импульс на электровоспламенитель метательного заряда патрона поступает через корпус и стопор снаряда; кольцо стопора выполнено разрезным или неразрезным и имеет поперечное сечение, преимущественно, в виде круга, овала, полуовала или прямоугольника со скошенными, или нескошенными, или закругленными углами, или выполненный в любой другой геометрической форме, или в комбинации видов; кольцо стопора установлено в проточке ведущего и/или обтюрирующего пояска на упругую и/или эластичную подложку, например, на кольцо из кремнийорганической резины; поверхность сегментного конуса или сегментной шайбы разделены посредством треугольных или трапециевидных вырезов на сегменты, которые выполнены в виде равномерно расположенных по окружности фигур с, преимущественно, параллельными боковыми краями и с закругленным наружным краем, соответствующим максимальному диаметру упорной стенки удерживающего конуса захвата поршня; сегменты стопора выполнены с желобообразным поперечным сечением с выпуклостью, направленной к головной части снаряда; вершина сегментного конуса стопора направлена в сторону головной части снаряда, а угол раствора сегментного конуса составляет от 1° до 179°; на ведущем пояске за сегментами стопора выполнена цилиндрическая проточка, в которую укладываются прижатые к ведущему пояску сегменты при проходе направляющей и/или ведущей части ствола и/или нарезного участка поршня; задняя стенка проточки оборудована выступом, являющимся замковым элементом, посредством которой прижатые сегменты фиксируются в проточке, при этом глубина и профиль проточки обеспечивает номинальный диаметр ведущего и/или обтюрирующего пояска при укладке в нее сегментов; стопор в виде кольца и/или шайбы выполнен с возможностью сцепления их концов в сжатом состоянии при входе в ствол и/или в нарезной участок поршня посредством следующих способов: оборудованием на концах стопора взаимодействующих защелок, фиксации защелок на концах стопора в деформированных стенках проточки ведущего пояска в стволе, или в комбинации способов; элементы автоматики включают возвратную, удерживающую, захватную пружины, электрофиксаторы, шаговые электромоторы, по крайней мере, один датчик давления и/или деформаций, систему электровоспламенения патрона, систему управления боепитанием; затвор затворной группы выполнен клиновым, оборудован захватом отсекающей заслонки, с которой взаимодействует посредством магнитной связи и/или механического зацепления, при этом затвор оборудован обтюратором; затворная группа содержит затвор, обтюратор, привод затвора, две шторки, установленные с двух противоположных сторон казенного среза, по крайней мере, одно газоотводные окно, соединенное с газоотводным каналом, между шторками подвижно установлена, по крайней мере, одна отсекающая заслонка; подвижно установленная, по крайней мере, одна отсекающая заслонка, перемещается в плоскости, параллельной движению клина, под действием его захвата, которая синхронно с открыванием затвора, посредством опусканием клина, закрывает проем патронника до средины, а после достижения средины патронника, клин и отсекающая заслонка разъединяются, освобождая проем патронника, при этом отсекающая заслонка движется вверх под действием своей возвратной пружины, а клин движется вниз под действием привода затвора; обтюратор затвора содержит, по крайней мере, одну упругопластическую пластину, расположенную прослойкой на затворе со стороны патронника, имеющей геометрические размеры, превышающие площадь внутреннего проема патронника в трех или четырех измерениях, установленную по геометрии его рабочей плоскости, и закрытую со стороны патронника плитой, обладающей возможностью ограниченного смещения по оси патронника от давления выстрела; в качестве упругопластической пластины обтюратора использована кремнийорганическая резина; обтюратор створчатого затвора выполнен в виде комплементарных элементов лабиринтного уплотнения, оборудованных по торцу периметра входного отверстия патронника, створок и стыка соединения смежных створок при оборудовании затвора двумя створками; подвижная прижимная конструкция для роликов выполнена в виде двух параллельных планок, установленных по обеим сторонам патронника, соединенных между собой посредством перекладин; отверстие для ствола, выполненное, по крайней мере, в одной, преимущественно, передней торцевой стенке цилиндрического корпуса, оборудовано центрирующей ствол скользящей втулкой; набор тарелей, по крайней мере, одной тарельчатой пружины выполнен с прогрессивным повышением силы сжатия пружины; цилиндрический корпус амортизирующего устройства соединен со ствольной трубой; возвратная и/или захватная пружины, выполнены в виде волновых пружин с прогрессивно возрастающим усилием поджатая; оружие выполнено в упрощенном варианте и содержит неполный объем элементов, или групп, или систем.

[106]

Сущность изобретения поясняется чертежами, на которых изображена конструктивная схема Автоматического оружия с внутренним поршнем для безгильзового патрона. Составные части оружия, не относящиеся к объекту изобретения, описаны и показаны в упрощенном виде.

[107]

Фиг. 1. Оружие со створчатым затвором взведенное в предзахватном положении поршня.

[108]

Фиг. 2. Оружие со створчатым затвором в положении захвата патрона.

[109]

Фиг. 3. Оружие со створчатым затвором в заряженном положении.

[110]

Фиг. 4. Первый этап выстрела.

[111]

Фиг. 5. Оружие со створчатым затвором и амортизирующим устройством в период последействия.

[112]

Фиг. 6. Оружие с клиновым затвором в положении захвата патрона.

[113]

Фиг. 7. Устройство ведущего пояска снаряда с фиксаторами.

[114]

Фиг. 8. Устройство обтюрации и газоотражения створчатого затвора.

[115]

Фиг. 9. Устройство согласования работы замков и створок затвора.

[116]

Фиг. 10. Устройство безгильзового патрона и подавателя.

[117]

Фиг. 11. Устройство разгрузочного клапана.

[118]

Фиг. 12. Положение снаряда в камере сгорания патронника.

[119]

Фиг. 13. Устройство системы обтюрации и газоотражения клинового затвора.

[120]

Основные термины, принятые в изобретении.

[121]

Направления, приведенные в описании, соответствуют следующим направлениям на листах с графическим пояснением:

[122]

- «вперед» - направление по горизонтали в направлении от казенного среза оружия к дульному срезу, или слева направо;

[123]

- «назад» - направление по горизонтали в направлении от дульного среза к казенному срезу оружия, или справа налево;

[124]

- «вверх» - направление по вертикали снизу вверх относительно нормально расположенного листа чертежа;

[125]

- «вниз» - направление по вертикали сверху вниз относительно нормально расположенного листа чертежа.

[126]

Оружие содержит, по крайней мере, следующие основные узлы: группы -ствольную, поршневую, затворную, патронник, безгильзовый патрон, системы - автоматики, боепитания, охлаждения.

[127]

Ствольная группа содержит надульное устройство в виде дульного тормоза, и/или компенсатор, и/или локализатор, или не содержит надульное устройство 1 (фиг. 1-6); упорную шайбу 2; ствол, условно разделенный на ведущую 6 и направляющую 13 части, при этом направляющая часть ствола 13 установлена в патроннике 12 и является направляющей для движения поршня 20. При исполнении Оружия в качестве стрелкового, ствол 13, 6 выполняется, преимущественно, неподвижным. При исполнении Оружия в качестве артиллерийского, ствол 13, 6 выполняется, преимущественно, подвижным и, с целью уменьшения отдачи, оборудуется амортизирующим устройством, которое устанавливается на стволе 6 (фиг. 5) в виде цилиндрического корпуса 46, содержащего по краям торцевые стенки 2, 49 с центральными отверстиями для движения ствола 6. Внутри корпус 46 установлены тарельчатые пружины 45, 48. Сила отдачи при выстреле снижется за счет деформации этих тарелей пружин 45, 48, на которые воздействует тормозная втулка 47 ствола 6.

[128]

Ствол 13 установлен в патроннике 12 таким образом, чтобы иметь ход наката (т.е. передние утолщение ствола 13, служащее ограничителем его движения вперед установлено на определенном расстоянии от передней стенки патронника 12), который выбирается при выстреле - когда давление метательных газов давит на поршень 20 и на ствол 13 и толкает ствол 13 вперед, а после вылета снаряда 43, происходит реакция ствола 13 на вылет снаряда, сопровождающее движением отката, а после израсходования импульса отката происходит разжатие тарелей откатной пружины 45, что вызывает обратный ход ствола 13 - накат, после него реакция накатной 48 тарельчатой пружины устанавливает ствол 13 в исходное положение.

[129]

Для обеспечения хода ствола 6, 13 в ствольном канале патронника 12 при высоких температурах, возникающих при интенсивной стрельбе, целесообразно оборудовать его охлаждением и использовать систему, состоящую из компрессионных и/или, по крайней мере, одного линейного подшипника в виде втулки. Аналогичный линейный подшипник также можно установить и в отверстие тормозной втулки 47 для исключения отклонений и лучшей центровки ствола при возвратно-поступательном движении во время стрельбы, либо обеспечить амортизацию всего стреляющего агрегата.

[130]

Амортизирующее устройство устанавливается перед упорной шайбой 2, что позволяет стволу 6 свободно перемещаться в продольном направлении, не влияя на перемещение возвратной муфты 9, поршневой шайбы 7 и, соответственно, поршня 20.

[131]

Ствол 6 для взаимодействия с тарельчатыми пружинами 45, 48 оборудуется тормозной втулкой 47. Внутри корпуса 46 установлены свободно или с упором в торцевые стенки 2, 49 и тормозную втулку 47 наборы тарелей накатной 48 и/или откатной 45 тарельчатых пружин, при этом тормозная втулка 47 при откате ствола 6 сжимает откатную 45 тарельчатую пружину, установленную за тормозной втулкой 47, а при накате ствола 6 сжимает накатную 48 тарельчатую пружину, при этом корпус 46 амортизирующего устройства имеет продолжение в виде ствольной трубы 4, посредством которой соединен с патронником 12. Отверстие для ствола 6, выполненное, по крайней мере, в одной, преимущественно, передней торцевой стенке 49 цилиндрического корпуса 46, оборудовано скользящей втулкой 50, центрирующей ствол 6, выполненной из антифрикционного материала. Внутри ствольной трубы 4, вплотную к упорной шайбе 2, установлен упор 3 для остановки продвижения возвратной втулки 9. Упор может быть выполнен в виде, по крайней мере, одного ребра 3 (фиг. 1-5), либо в виде цилиндра 3 (фиг. 6), либо в виде упорного кольца (не показано).

[132]

Торцевые стенки представляют собой упорную 2 и накатную 49 шайбы, оборудованные центральными отверстиями для движения ствола 6.

[133]

Для удобства обслуживания Оружия, либо передняя торцевая стенка - накатная шайба 49, либо корпус устройства 46 - выполнены с винтовой резьбой для присоединения, либо к цилиндрическому корпусу устройства 46 снаружи или изнутри, либо к ствольной трубе 4, а тормозная втулка 47 соединена со стволом 6 любым способом либо посредством кольцевых фиксаторов, либо винтовой втулки 51.

[134]

Передняя тарельчатая пружина 49 является накатным амортизатором и ее жесткость уменьшена, по сравнению с откатной пружиной 45.

[135]

По крайней мере, одна тарельчатая пружина 45 или 48 амортизирующего устройства выполнена с прогрессивным повышением силы сжатия пружины при растущем прогибе. Этого достигается изменением количества параллельных тарелей в пружине при их комбинированном укладывании либо укладыванием в пружине тарелей разной толщины.

[136]

Ствол 6, 13 (фиг. 6) при выстреле откатывается назад на расстояние сжатия откатной тарельчатой пружины 45 и входит в пустой газовый аккумулятор 14, и т.к. контейнер 43 (фиг. 3) безгильзового патрона к моменту отдачи уже сгорает, то это не приводит ни к каким последствиям (при открытом замке 38). При накате на тормозную втулку 47 воздействует более жесткая откатная тарельчатая пружина 45, которая разжимаясь, сжимает накатную тарельчатую пружину 48 и амортизирует накат.

[137]

Для устранения прорыва газов через канал патронника, в котором движется ствол 6, 13, ствол и/или канал ствола патронника 12 оборудован, по крайней мере, одним компрессионным устройством, например, кольцом 44.

[138]

Размещение амортизирующего устройства в области переднего торца ствольной трубы 4 вокруг подвижного ствола 6 позволяет снизить габариты Оружия, а выполнение устройства амортизации в виде пакета тарелей и поочередное взаимодействие пакета тарелей с тормозной втулкой 47 обеспечивает уменьшение отдачи оружия как при откате, так и при накате ствола, что улучшает его эксплуатационные характеристики.

[139]

Патронник 12 состоит из двух камер - газового аккумулятора 14 и камеры сгорания 18, разделенных каналом сужения 39. Камера сгорания 18 оборудована устройством неконтактного воспламенения - индуктором нагрева и/или магнетроном 36 ферромагнитных и/или электропроводных включений в метательном заряде патрона 43. Снаружи патронник 12 оборудован элементами крепления к платформе, маске и т.п. и/или крепления устройств различных приводов механизмов затвора и элементов системы управления и других устройств, например, приемника патронов системы боепитания и т.д. Камера сгорания 18 и/или камера газового аккумулятора 14 оборудуются регулирующим клапаном 15 с газоотводным каналом 16, предназначенным для снижения высокого давления метательных газов либо для уменьшения импульса движения, передаваемого поршню 20, либо при выстреле - для снижения начальной скорости снаряда при стрельбе навесными траекториями, либо перед открытием затвора для уменьшения воздействия на контейнер патрона, находящегося в приемнике 98, или не оборудуются регулирующим клапаном 15. С двух противоположных сторон казенник оборудован двумя параллельными шторками 22, по крайней мере, одна из которых оборудована окном газоотводного канала 29, между шторок 22 и вплотную к ним перемещаются створки 21 затвора.

[140]

Газовый аккумулятор 14 предназначен для накопления давления метательных газов во время выстрела с целью последующего использования потенциальной энергии этого давления для передвижения поршня 20, которое происходит после снижения давления в объеме камеры сгорания 18 посредством ухода газов через ствол 13, 6 и/или разгрузочный клапан 15 и/или через открывающийся затвор. Наполнение газового аккумулятора 14 происходит во время воспламенения заряда патрона 43, при этом образовавшееся высокое давление в объеме камеры сгорания 18 вынуждает переместиться вперед поршень 20 из положения «Б-Б» в положение «А-А», при этом его поршневая шайба 7, преодолевая упругость захватной пружины 5, позволяет поршню 20 приблизиться к передней стенке патронника 12, тем самым выйти из сужения 39 и открыть канал сужения 39 для перетока высокого давления из камеры сгорания 18 в газовый аккумулятор 14. После выравнивания давлений в обеих камерах патронника 12, на захватную пружину 5 перестает воздействовать сила давления от поршневой шайбы 7 и поршня 20, и она, восстанавливая свою форму, перемещает поршень 20 в положение «Б-Б», при этом в объеме камеры газового аккумулятора 14 остается запертое поршнем 20 высокое давление метательных газов. Поршень 20 может задерживаться на некоторое время в положении «Б-Б» посредством удержания его замком 38.

[141]

После выстрела и выхода части метательных газов высокого давления через ствол 13, 6 и/или разгрузочный клапан 15, происходит уменьшение давления метательных газов в камере сгорания 18, а в замкнутом объеме газового аккумулятора 14 остается высокое давление метательных газов, которое, при открытии замка 38, двигает поршень 20 из положения «Б-Б» к открывающемуся проему патронника 12 и далее в положение «Г-Г». Во избежание воздействия остающимися после выстрела в патроннике 12 остаточными метательными газами, толкающими поршень 20 к открытому проему патронника 12, и воздействующими высокими температурой, давлением и ударными нагрузками на слабо защищенный корпус контейнера 25 безгильзового боеприпаса, находящегося в приемнике 98 (фиг. 10), при раскрытии створок 21 (фиг. 1-6, 8) затвора, на пути движения поршня 20 установлены отсекающие заслонки 23, которые перенаправляют обгоняющее поршень 20 остаточное давление метательных газов в окно газоотводного канала 29. Одновременно происходит и выпуск избыточного остаточного давления метательных газов через ствол 13, 6 и газоотводный канал 16 открывшегося регулировочного клапана 15 и, далее, в атмосферу. При этом поршень 20, получивший импульс движения от давления газов из газового аккумулятора 14, сжимая возвратную пружину 11 посредством поршневой шайбы 7, выдвигается в положение «Г-Г», где надвигается на очередной снаряд 25 и фиксирует его в захвате 28 (фиг. 11). Поршень 20 может быть зафиксирован в положении «Г-Г» (фиг. 5) посредством удержания возвратной втулки 9 в положении «г-г» посредством фиксатора 10 и удержанием фиксатором 37 отжимной пружины 40 в сжатом состоянии для того, чтобы фиксатор 41 не мог отжать поршневую шайбу 7 в положение «в-в». Это возможно делать при стрельбе при одноканальном боепитании для увеличения темпа стрельбы Оружия.

[142]

Во время работы по перезаряжанию поршень 20 «плавает» в патроннике 12 на границе сред с разным давлением (при открытом замке 38), которое в этом случае с обеих сторон поршня 20 почти уравновешено, поэтому конструктивно допустимая прочность поршня 20 может быть выдержана при его меньшей массе.

[143]

Давление газов из газового аккумулятора 14 способно осуществлять дать импульс для разгона поршня 20 только до выхода поршня из канала сужения 39 (фиг. 1-5, 13), а после преодоления границ газоотводного канала 16 регулировочного клапана 15 и окна газоотводного канала 29, газовый аккумулятор 14 разряжается и его горячие газы высокого давления уходят через газоотводные каналы 16, 29, и ствол 13, 6 в атмосферу. Далее до линии «Г-Г» поршень 20 движется под воздействием инерции до фиксации захватом 28 снаряда 27, находящегося на линии заряжания в приемнике 98 (фиг. 10).

[144]

В начальный момент движения поршень 20 получает максимальную часть энергии, необходимую как для страгивания затвора при открывании (при механическом приводе затвора), так и для преодоления расстояния до положения «Г-Г» для захвата очередного снаряда 27 патрона.

[145]

Камера сгорания 18 предназначена для расположения в ней контейнера 43 безгильзового патрона и сжигания его метательного заряда. Она выполнена с некоторым превышением линейных размеров контейнера 43 с метательным зарядом для обеспечения воздушного зазора 111 (фиг. 12), являющегося теплоизоляционной прослойкой, между стенками контейнера 43 и стенками камеры сгорания 18, с целью недопущении касания поверхностью безгильзового контейнера 43 раскаленных стенок камеры сгорания 18. Внутреннюю поверхность 17 стенок камеры сгорания 18 целесообразно выполнить из диэлектрического и/или немагнитного материала, например, из керамики, т.к. для воспламенения осечных боеприпасов он оборудуется индуктором нагрева или магнетроном 36 для бесконтактного накаливания металлических ферромагнитных и/или электропроводных частиц в заряде патрона 43, служащих источником инициации метательного заряда контейнера 43.

[146]

Проем канала сужения 39 предназначен для перетока давления из камеры сгорания 18 в газовый аккумулятор 14 в предварительном и первом периодах выстрела, а также для герметизации камеры газового аккумулятора 14 при выталкивании поршня 20 высоким давлением из камеры газового аккумулятора 14 в периоде последействия газов.

[147]

Канал сужения 39 (фиг. 1-6) может быть оборудован, по крайней мере, одним замком 38 (фиг. 1-5, 9), назначение которого в том, чтобы задержать поршень 20 от преждевременного выдвижения на линию «Г-Г» до открытия затвора, которое может произойти при стрельбе с приоткрытым клапаном 15 из-за понижения давления в камере сгорания 18.

[148]

Замок 38 (фиг. 9) состоит из вала, оборудованного в месте взаимодействия с поршнем 20 диагональным, в поперечном сечении, срезом одной половины. При вращении вала замка 38 срез, при вертикальном расположении, позволяет либо цепляться за выступ поршня 20 (фиг. 9/I) и тем самым удерживать его на линии «Б-Б», либо, при горизонтальном расположении, т.е. при повороте на 90° (фиг. 9/II), освобождать ход поршню 20.

[149]

Канал сужения 39 расположен так, что при перемещении поршня 20 из положения «Б-Б» в положение «А-А» происходит открытие этого канала для свободного перетекания давления метательных газов из камеры сгорания 18 в газовый аккумулятор 14, а при уравнении давлений в камере сгорания 18 и газовом аккумуляторе 14, сжатая захватная пружина 5, отталкиваясь от неподвижной упорной шайбы 2, распрямляется и толкает поршневую шайбу 7, штоки 8 и связанный с ними поршень 20, назад и тем самым перекрывают канал сужения 39, а далее снижение давления в камере сгорания 18 посредством выхода метательных газов через ствол 13, 6 и/или клапан 15 и окно газоотводного канала 29, приводит к перемещению поршня 20 назад - в положение «Б-Б», где он стопорится замком 38 до тех пор, пока снаряд 42 не покинет ствол 6. Если же мощность метательного заряда в патроне 43 будет применена пониженной, то необходимости стопорения поршня 20 замком 38 нет и замок может быть отключен.

[150]

Затворная группа содержит привод затвора, боковые шторки 22 (фиг. 1-6, 8), установленные с обеих сторон казенного среза, по крайней мере, одну отсекающую заслонку 23, окно газоотводного канала 29, затвор, выполненный в виде, по крайней мере, одной створки 21 или клина 58 (фиг. 6, 13). Выбор типа затвора зависит от назначения Оружия, т.к. клиновой затвор обеспечивает компактность казенной части, но требует повышенных усилий для его страгивания при высоком темпе стрельбы, а створчатый затвор занимает больший объем, но легко открываем.

[151]

Клин 58 и створки 21, при стрельбе безгильзовым боеприпасом, целесообразно оборудовать упругопластическим обтюратором, но, при высокой технологической дисциплине, они могут не оборудоваться обтюратором, или использовать более простые варианты обтюрации, например, в виде комплементарных элементов лабиринтного уплотнения, оборудованных по торцу периметра входного отверстия патронника 12 и створок 21 и в стыке соединения смежных створок при оборудовании затвора двумя створками 21.

[152]

В качестве упругопластического обтюратора используется пластина 59, расположенная, по крайней мере, одним слоем на затворе со стороны патронника 12, и установленная по его геометрии рабочей плоскости, при этом пластина обтюратора 59 закрыта со стороны патронника 12 плитой 60, обладающей возможностью ограниченного смещения по оси патронника от давления выстрела. Геометрические размеры плиты 60 несколько превышают площадь внутреннего проема патронника 12 в трех (для двухстворчатого затвора) или четырех (для клинового и одностворчатого затвора) измерениях.

[153]

В качестве упругопластической пластины 59 может быть использована жесткая высокотемпературная антифрикционная кремнийорганическая (силиконовая) резина.

[154]

Упругопластическая пластина 59 расположена таким образом, чтобы при воздействии на нее сжимающего усилия плиты 60, ее расширение ограничивалось бы контактирующими с затвором стенками патронника 12 и/или шторок 22, при этом расширение может идти как по прямой, так и под углом к контактирующей поверхности. При повышении давления в патроннике 12 при выстреле, плита 60 сжимает упругопластическую пластину 59 и выдавливает ее по краям плиты 60, при этом имеющиеся зазоры между затвором и казенником заполняются массой пластины 59, обеспечивая должную герметичность стыков.

[155]

Обтюрация между смежными пластинами 59 створок 21 достигается тем, что расширяющиеся при выстреле пластины 59 плотно прижимаются одна к другой и устраняют возможность выхода газа высокого давления.

[156]

При снижении давления в патроннике 12 через регулирующий клапан 15, размеры пластины 59 нормализуются и страгивание затвора осуществляется при меньшем усилии.

[157]

Перемещение плит 60 ограничивают штоки 73. Между плитой 60 и затвором установлены ограничители их сближения, например, втулки на штоках 73 передней плиты 60 или выступы 75 на передней поверхности затвора.

[158]

Такое исполнение обтюратора затвора позволяет обеспечить высокий темп стрельбы оружия.

[159]

Створчатый затвор (фиг. 8, 9) содержит, по крайней мере, одну створку 21, которая представляет собой двуплечий рычаг, качающийся на оси 33, одно плечо которого является упорным плечом 32, переходящим в створку затвора 21. Второе плечо является отклоняющим плечом 35 и отогнуто по отношению к упорному плечу 32 под углом, обеспечивающим ограничение открытия створки 21 на необходимый угол. С наружной стороны упорное плечо 32 оборудовано горкой 76, а для купирования большой односторонней нагрузки от выстрела, действующей на створку в осевом направлении, с внутренней стороны, обращенной к патроннику 12, упорное плечо 32 оборудовано зубчатым упорным зацеплением 31, взаимодействующим с ответным зубчатым упорным зацеплением 30, оборудованным на внешней стороне патронника 12.

[160]

По плечам рычага перемещается, под действием привода, ролик 19 и/или ползун (не показан), установленный на удерживающую его конструкцию, выполненную в виде двух параллельных планок 34, установленных по обеим сторонам патронника, соединенных между собой посредством перекладин.

[161]

Затвор приводится в действие электрическим и/или механическим приводом.

[162]

Зубчатое упорное зацепление 30, 31 содержит, по крайней мере, один зуб, профиль которого выполнен в треугольной или трапециевидной форме, при этом рабочая сторона профиля зуба имеет профиль с углом наклона 3-15°, нерабочая сторона профиля выполнена с углом 30-70°, или профиль зуба выполнен в закругленной, или фигурной форме, или в комбинации форм.

[163]

В закрытом положении затвора створка 21 затвора (фиг. 8/I) плотно прилегает к торцам стенок проема патронника 12, а зубья упорного зацепления 31 входят в зубья зубчатого упорного зацепления 30 на патроннике 12, при этом горка 76, оборудованная на конце упорного плеча 32, имеющая несколько большую высоту, чем передняя часть упорного плеча 32, обеспечивает выборку технологических зазоров в парах вращения роликов 19, поэтому обеспечивается плотное прижатие зубчатого упорного зацепления 31 упорных плеч 32 к зубчатому упорному зацеплению 30, что совершенно не позволяет створке 21 затвора отклоняться даже под действием значительного давления метательных газов при выстреле. При этом взаимодействие двух упорных зубчатых зацеплений 30, 31 устраняет возможность сдвига створок 21 назад при выстреле. Вместо роликов 19 могут быть применены ползуны. Привод роликов 19 выполнен в виде двух параллельных планок 34, установленных по обеим сторонам патронника 12, которые соединены между собой посредством перекладин.

[164]

Отпирание затвора осуществляется сразу после вылета снаряда 42 из ствола 6. Сигнал на открытие затвора и регулировочного клапана поступает, по крайней мере, от одного датчика давления (не показано) и/или, преимущественно, тензометрического датчика, установленных, преимущественно на стволе 6 и/или патроннике 12. Открывание створок 21 затвора должно быть синхронизировано с движением поршневой шайбы 7, а при закрывании - с движением патрона 25 в камеру сгорания 18, чтобы не допустить замятие его контейнера 25 при раннем закрывании створок 21. Синхронное перемещение роликов 19 по плечам 32, 35 двуплечего рычага позволяет одновременно открывать или закрывать обе створки 21 затвора. При открывании створок 21 затвора не требуется больших усилий для их страгивания, т.к. их открытию способствует давление метательных газов в камере сгорания 18, поэтому механизм привода затвора целесообразно выполнить на основе электропривода.

[165]

С целью предотвращения разрушения и/или воспламенения контейнера патрона 25, находящегося в приемнике 98, остаточным давлением метательных газов, обладающих высокой температурой и вырывающимися из патронника 12 при открывании створок 21 (фиг. 8/I, II, III), установлены, преимущественно, две (при двухстворчатом исполнении затвора) отсекающие заслонки 23, которые открываются толкателями 72 створок 21 по мере открывания створок 21 после того, как остаточные метательные газы будут удалены через газоотводные окна каналов 16 и 29. До полного открытия створок 21, они с вместе толкателями 72 со шторками 22, отсекающими заслонками 23 и проемом патронника 12 образуют замкнутый объем, обеспечивая удаление остаточного давления метательных газов, не позволяя ему воздействовать на боекомплект 24, 25, 26. Отсекающие заслонки 23 также можно перемещать электрическим механизмом, при этом их возврат в закрытое положение осуществляется под действием пружин.

[166]

Отсекающие заслонки 23 имеют возможность быть закрытыми почти до полного открытия створками 21 (фиг. 8/II) проема патронника 12. Далее (фиг. 8/III), после удаления остаточного давления метательных газов из патронника 12, створки 21 и заслонки 23 полностью открываются для прохода поршня 20 и патрона 25. Воздействие створок 21 на отсекающие заслонки 23 осуществляется посредством толкателей 72 и полок 74. К моменту открытия отсекающих заслонок 23, поршень 20 переходит их границу и перемещается в положение «Г-Г» для захвата очередного снаряда 27, стоящего в приемнике 98.

[167]

После закрытия створок затвора 21, отсекающие заслонки 23 под действием своих пружин возвращаются на свое место, закрывая проем, ведущий к приемнику 98 патрона (фиг. 8/I).

[168]

Клиновой затвор (фиг. 13/I) содержит привод затвора (не показан), две боковые шторки 22, установленные с обоих сторон казенного среза, который оборудован заклиновым 53 и/или надклиновым 52 газоотводными окнами, соединенными с газоотводным каналом 29. Между шторками 22 подвижно установлена, по крайней мере, одна отсекающая заслонка 23, перемещающаяся в плоскости, преимущественно, параллельной движению клина 58, под действием разнополюсных магнитов 57, установленных на захватных полках 112 клина 58 и 56 отсекающей заслонки 23. Захват отсекающей заслонки 23 может быть выполнен механическим.

[169]

Отсекающая заслонка 23 (фиг. 13/II) синхронно с открыванием затвора опускается вместе с клином 58 до средины проема патронника 12, и тем самым перекрывает верхнюю часть проема, а клин 58 перекрывает нижнюю часть, при этом происходит выпуск в газоотводные каналы 52, 53 избыточного давления метательных газов после выстрела, которые могут воздействовать на безгильзовую оболочку патрона 25, находящегося в приемнике 98. После достижения средины патронника, клин 58 и отсекающая заслонка 23 разъединяются, т.к. ход опускания отсекающей заслонки 23 ограничен упором 54, и она под действием своей возвратной пружины 55, двигается вверх, а клин 58 продолжает движение вниз, тем самым освобождается проем патронника 12 (фиг. 13/III) для выдвижения поршня 20 в положение «Г-Г».

[170]

Клин 58 устанавливается в пазах в казенной части патронника 20 и, для использования с безгильзовым патроном, желательно его оборудование обтюратором, в котором в качестве упругопластической пластины обтюратора 59 использован, например, по крайней мере, один слой высокотемпературной жесткой антифрикционной кремнийорганической резины, расположенный прослойкой на внутренней поверхности клина 58 затвора со стороны патронника, установленный по геометрии площади его выемки и закрытый со стороны патронника передней плитой 60, обладающей возможностью ограниченного смещения по оси патронника от давления выстрела. Плита 60 оборудована направляющими штоками 113 и ограничителями движения 114 и имеет геометрические размеры, несколько превышающие внутренний проем патронника с четырех сторон.

[171]

Поршень 20 газового двигателя, являющийся основным подвижным элементом автоматики, установлен в патроннике 12 с возможностью выхода из него и предназначен для захвата, втягивания и удержания патрона 43 (фиг. 3) в патроннике 12, подвода электрического импульса к электровоспламенителю 95 (фиг. 10), сжатия возвратной 11 и отжимной 40 пружин, привода створок 21 затвора и замка 38 (при механическом приводе).

[172]

Поршень 20 (фиг. 1-6) оборудован, по крайней мере, одним штоком 8, который проходит через переднюю стенку патронника 12 и соединен с поршневой шайбой 7, посредством которой воздействует на возвратную пружину 11 через возвратную втулку 9. Поршень 20 перемещается по входному участку ствола 13, находящемуся в патроннике 12, под действием пружин 5, 11, 40 и разницы давлений в камерах патронника 12 - газовом аккумуляторе 14 и камере сгорания 18, при этом его движение назад осуществляется под действием давления газов метательного заряда (из положения «Б-Б» в положение «Г-Г») или захватной пружины 5 (из положения «В-В» в положение «Г-Г»), а вперед - под действием возвратной пружины 11 (из положения «Г-Г» в положение «Б-Б»), под действием отжимной пружины 40 - из положения «Г-Г» в положение «В-В», или давлением газов метательного заряда (из положения «Б-Б» в положение «А-А»).

[173]

Поперечное сечение поршня 20 выполнено, преимущественно, круглым, и соответствует поперечному сечению каналу сужения 39, а диаметр продольного канала поршня 20 соответствует диаметру направляющего участка 13 ствола, при этом продольный канал поршня 20, со стороны казенника, содержит сужение, в котором оборудованы нарезной участок 97 и захват 28. Захват 28 содержит две последовательно оборудованные проточки в виде входного и удерживающего (усеченных) конусов, вершины которых направлены по оси ствола в сторону дульного среза.

[174]

Входной конус захвата 28 предназначен для центрирования и ввода снаряда 27, он выполнен открытым - без основания конуса и содержит только конусную внутреннюю поверхность. По продольной оси входного конуса, в его узкой части, оборудовано входное отверстие для снаряда 27, диаметр которого несколько меньше диаметра упругого стопора 61, 67, 68 (фиг. 7) его ведущего пояска, чтобы при его проходе через входное отверстие эти стопоры снаряда 27 не могли бы защелкнуться в ведущем пояске, но позже могли бы разжаться в удерживающем конусе захвате 28, чтобы удерживать снаряд 27.

[175]

Удерживающий конус захвата 28 также содержит конусную внутреннюю поверхность, но уже оборудованную основанием конуса, перпендикулярно расположенного к продольной оси поршня 20 и являющегося упорной стенкой для упругих элементов 61, 67, 68 стопора. При этом внутренняя поверхность удерживающего конуса оборудована изнутри электропроводной поверхностью, к которой подведено электропитание, она является вторым контактом воспламенителя 95 заряда контейнеров 43, 25 и электроизолирована от массы поршня 20 и Оружия, являющихся первым контактом. Удерживающий конус захвата 28 соединен узкой частью с нарезным участком 97.

[176]

Нарезной участок 97 оборудован винтовыми нарезами, которые имеют свое продолжение в стволе 13, 6.

[177]

Поршень 20 также является цилиндрическим клапаном газового аккумулятора 14, перекрывающим каналы ствола 13 и сужения 39.

[178]

Наружная поверхность поршня 20 и/или его продольный канал оборудованы, по крайней мере, одним компрессионным устройством (например, кольцом - не показано), которое при движении поршня 20 по контактирующим с ним поверхностям, краями боковой поверхности поршня 20 или компрессионного устройства образуют скребок, удаляющий нагар со ствола 13 и стенок канала сужения 39, который, посредством эжекции, уносится либо через ствол 13, 6 в атмосферу, либо выталкивается избыточным давлением в патроннике через газоотводные каналы 16, 29 также в атмосферу.

[179]

Для извлечения патрона 43 со снарядом 42 из поршня 20 вручную, которое можно осуществить при нахождении поршня 20 в положении «Г-Г», поршень выполнен разъемным в продольной плоскости, по крайней мере, на две части.

[180]

Удержание снаряда происходит в удерживающем конусе захвата 28, в котором упругие элементы стопора упираются в его упорную стенку, что не позволяет снаряду 27 двигаться назад, а нарезной участок 97 не позволяет снаряду 27 двигаться вперед, т.к. ведущий поясок не может без существенного усилия войти в нарезной участок 97. При выстреле же снаряд 42 и давление газов сдвигают поршень 20 вплотную к казенному срезу ствола 13, и снаряд 42, преодолевая нарезной участок 97 под давлением метательных газов, входит в нарезы нарезного участка 13, получает крутящий момент и движется по стволу 13, 6.

[181]

Поршень 20 и/или нарезной участок 97 является расходной запасной частью и могут заменяться по мере необходимости.

[182]

Поршень 20 может находиться в следующих положениях:

[183]

А-А - положение выстрела (открытие канала в газовый аккумулятор - газы из камеры сгорания 18 перетекают в газовый аккумулятор 14);

[184]

Б-Б - боевое положение;

[185]

В-В - предзахватное положение;

[186]

Г-Г - захват патрона.

[187]

Поршневая шайба 7, соединенная штоками 8 с поршнем 20, может находиться, соответственно, в положениях:

[188]

а-а - положение выстрела (сжатие волновой амортизационной пружины 3);

[189]

б-б - боевое положение;

[190]

в-в - предзахватное положение (поршневая шайба 7 остановлена электрофиксатором 41);

[191]

г-г - захват патрона.

[192]

Элементы автоматики Оружия предназначены для обеспечения процесса автоматической стрельбы, включают в себя: пружины - возвратную 11, отжимную 40, захватную 5, электрофиксаторы 10, 37, 41, 91, разгрузочный клапан 15 с шаговым электромотором 103 (фиг. 11), по крайней мере, один замок 38, датчики давления и/или деформаций, систему электровоспламенения патрона, систему управления боепитанием.

[193]

Возвратная втулка 9 предназначена для воздействия на поршневую шайбу 7 для осуществления перемещений поршня 20 под действием либо возвратной пружины 11, либо отжимной пружины 40, либо захватной пружины 5, либо высокого давления в газовом аккумуляторе 14. Вперед возвратная втулка 9 движется под действием возвратной пружины 11 с целью втягивания патрона 25 за снаряд 27 в камеру сгорания 18.

[194]

Движение назад возвратной втулки 9 осуществляется после выстрела под действием высокого давления метательных газов из газового аккумулятора 14, воздействующих на поршень 20 и через него на поршневую шайбу 7, которая, двигаясь назад, преодолевает сопротивление возвратной 11 и отжимной 40 пружин. Для устранения перекосов при движении, возвратная втулка 9 выполнена с удлинением, в котором установлена возвратная пружина 11, это же удлинение является ограничителем для выдвижения поршня 20 из патронника 12.

[195]

При своих перемещениях назад и/или вперед возвратная втулка 9 приводит в действие механизмы системы подачи патронов, движения затвора и других устройств (не показано).

[196]

Снижение массы подвижных и неподвижных частей до уровня их конструкционной прочности, а также перемещение легкого поршня 20 строго по оси ствола, позволяет снизить влияние на Оружие таких отрицательных факторов, как изменение центра тяжести оружия при перемещении его движущихся частей, так и от меньшего воздействия соударений более легких подвижных частей между собой, что позволяет снизить общую массу оружия, повысить быстродействие автоматики и улучшить устойчивость Оружия при стрельбе.

[197]

Для устранения отскока поршня 20, рассеивания избыточной энергии подвижных частей и стабилизации работы автоматики при высоком темпе ведения огня, а также для уменьшения сотрясений при стрельбе очередями, применены буферы крайних положений и/или установлены «мягкие» пружины, выполненные в виде волновых пружин с прогрессивно возрастающим усилием поджатия, например, возвратная 11 и/или захватная 5 пружина, оборудованные амортизационными прокладками (не показано).

[198]

Замок 38 (фиг. 9/I) работает синхронно со створками 21 затвора следующим образом. Пластина 34 с роликами 19 оборудована зубчатыми рейками 78, которые через шестерни 79 валов замков 38 взаимодействуют с приводной зубчатой рейкой 77. При перемещении приводной зубчатой рейки 77 по стрелке «а» для поворота вала 38 против хода часовой стрелки для открывания замков, зубчатые рейки 78 пластины 34 будут двигаться по стрелке «б» и тем самым ролики 19 (фиг. 9/II) будут перекатываться по плечу рычага 32 с переходом на плечо 35 и тем самым открывать створки 21.

[199]

Разгрузочный клапан 15 предназначен для регулируемого снижения давления в газовом аккумуляторе 14 (фиг. 1-5) и/или в камере сгорания 18 (фиг. 6) при стрельбе, например, навесными траекториями или для сопряжения траекторий разных по весу снарядов, или по мощности заряда патронов. Он позволит снижать начальную скорость снаряда 42, и, соответственно, дальность стрельбы, а также уменьшать мощность импульса для движения поршня 20 при перезарядке. Он выполнен по типу кингстона, т.е. в виде пары тарельчатых клапанов 15, 108 (фиг. 11), соединенных двуплечим рычагом 104 коромыслового типа, посаженным на ось 105. Такая конструкция обеспечивает одинаковые усилия открытия/закрытия канала 16, независимо от противодавления с любой стороны клапанов. Клапан управляется дистанционно от блока управления и приводится в действие с помощью любого привода, например, гидравлического, пневматического или, преимущественно, электромеханического, выполненного, например, в виде шагового двигателя 103 с полым валом, оборудованным гайкой 101, при этом шток 100 клапана 15 - с нижним расположением тарелки оборудован, винтовой резьбой 102 и вместе с гайкой 101, соединенной с полым валом, образуют винтовую пару. Шток 106 клапана 108 пассивно скользит в направляющих короба 107 газоотводного канала 16. Выхлопное окно 99 может быть направлено в любую сторону и/или давление метательных газов из этого окна может быть утилизировано, например, посредством раскрутки турбины электрогенератора. Регулировку количества отводимых метательных газов посредством регулировочного клапана 15 можно использовать для обеспечения работы автоматики при разных температурах, разном состоянии канала ствола 13, 6, сопряжения траекторий при применении в одной очереди боеприпасов с разным весом снарядов и/или разной мощностью метательного заряда, а также для регулировки темпа стрельбы или длины пути поршня 20 под воздействием высокого давления.

[200]

Высокооборотный шаговый двигатель 103 позволяет более точно и быстро регулировать открытие клапана 15, при этом такой привод не нуждается в обратной связи, что имеет значение в быстродействующих системах. При применении тензометрических датчиков, установленных на стволе 6 и/или патроннике 12 и обеспечивающих обратную связь, возможно осуществить максимально точное регулирование давления выстрела.

[201]

Для обеспечения двухтактной работы разгрузочного клапана 15 (фиг. 1-6, 11) перед выстрелом - когда нет давления газов - производят открытие клапана 15 для дозированного выпуска избыточного давления, например, для уменьшения дальности стрельбы при стрельбе навесными траекториями, а после вылета снаряда полностью открывают клапан 15 для снижения импульса движения для выдвижения поршня 20. При этом уменьшение давления в газовом аккумуляторе 14 позволяет снизить давление и в камере сгорания 18 патронника 12, т.к. канал сужения 39 для перетока давления может закрыться только после выравнивания давлений в обоих объемах патронника или уменьшении давления в камере сгорания 18. Уменьшенное давление выстрела бросает снаряд на небольшую дальность, что обеспечит возможность стрельбы по регулируемой навесной траектории. Шаговый электродвигатель 103 разгрузочного клапана 15 может осуществлять регулирование расхода и давления метательных газов при выстреле и/или при выталкивании поршня 20, отталкиваясь от опорного сигнала.

[202]

Система управления стрельбой включает в себя блок управления элементами автоматики (не показан) и предназначена для управления процессом стрельбы и выбора параметров работы групп и систем, обеспечивающих лучшее поражение цели.

[203]

Оружие предназначено для стрельбы безгильзовыми патронами.

[204]

Безгильзовый патрон 43, 24, 25, 26 - боеприпас, в котором соединены в одно целое, снаряд 42, 27 (фиг. 10) и безгильзовый контейнер с зарядом метательного взрывчатого вещества, выполненный в бескорпусном виде или со сгораемым корпусом.

[205]

Поперечное сечение контейнера патрона 43, установленного в патронник, может быть выполнено в виде круга (фиг. 12/I), многоугольника (фиг. 12/II), или квадрата (фиг. 12/III). Возможно оборудование ребер квадратного в поперечном сечении контейнера квадратными технологическими выемками 110 для фиксации их в рукавах системы боепитания. Патрон устанавливается в патронник 12 таким образом, чтобы между стенками патронника 12 и поверхностью контейнера 43 был термоизоляционный воздушный зазор 111.

[206]

Безгильзовый патрон содержит снаряд с полимерным ведущим пояском, оборудованным фиксатором 61, 67, 68 (фиг. 7), детонатором, источником электроэнергии с системой его включения, контейнером 25 (фиг. 10) с метательным зарядом, электровоспламенителем 95, электроконтактным устройством 89 (фиг. 10). Для обеспечения сохранности безгильзового патрона от преждевременного воспламенения в камере сгорания 18, патронник 12 выполнен несколько большего размера, чем контейнер 43 патрона, с целью создания воздушного теплоизоляционного зазора 111 вокруг патрона, а подвод электроэнергии к электровоспламенителю 95 осуществлен через снаряд 42, т.к. он без последствий может соприкасаться с раскаленными деталями поршня 20 и ствола 13 и, имея определенную тепловую инерцию, может находиться в раскаленном патроннике 12 продолжительное время, а сам контейнер заряда патрона 43 имеет сгораемую термо/гидроизоляционную облицовку (или напыление), отражающую лучистую тепловую энергию, исходящую от разогретых стенок патронника 12. При этом сразу же после постановки патрона 43 (фиг. 3) в камеру сгорания 18, происходит запирание затвора и выстрел. Малое время, отведенное на постановку патрона в патронник 12 и последующий выстрел, а также термо/гидроизоляционное сгораемое покрытие, не позволяет метательному заряду 43 патрона преждевременно воспламениться.

[207]

При этом защита боекомплекта от остаточных метательных газов при перезаряжании осуществлена посредством их отражения отсекающими заслонками 23 и отводом по газоотводным каналам 16, 29 в атмосферу, что также снижает загазованность боевого отсека носителя, на котором установлено оружие, и значительно сокращает воздействие метательных газов на расчет. Питание оружия может обеспечиваться из нескольких (до 5) каналов боепитания (не показано) с селекцией патронов во время очереди. Перезарядка электрическая и/или ручная. Способ воспламенения заряда патрона осуществляется электрическим воздействием. Управление стрельбой дистанционное.

[208]

Контейнер 25 патрона содержит такое количество метательного заряда, чтобы компенсировать наличие воздушных зазоров 111 (фиг. 12) между контейнером 43 патрона и стенками камеры сгорания 18. Внутри контейнера 25 патрона установлена электропроводная сеть, включающая: сгораемые электрические провода 96, спираль накаливания электровоспламенителя 95 с напрессованной на нее шашкой инициирующего состава, контактный замыкатель 94 и контакты 80, контактную группу 89 для программирования траекторного подрыва, другие дополнительные элементы.

[209]

Контейнер 25 (фиг. 10) безгильзового патрона имеет прочность сгораемой оболочки такой, чтобы без деформаций контейнера 25 выдержать процесс подачи патрона в приемник 98 и патронник 12 на большой скорости. Для уменьшения хрупкости метательного заряда, в него целесообразно добавить эластомер.

[210]

Устранение задержек типа «осечка» и аварийное воспламенение патрона при отказе электровоспламенителя 95 или при разрушении контейнера 43 патрона, происходит бесконтактактным способом посредством нагрева токами высокой или сверхвысокой частоты включений в виде электропроводных или ферромагнитных крупиц металла, рассредоточенных, преимущественно, в наружном слое состава метательного взрывчатого вещества контейнера 43 патрона и, преимущественно, помещенных в капсулы с инициирующим зарядом. Нагрев металлических (электропроводящих и/или ферромагнитных) крупиц вызывает воспламенение инициирующего взрывчатого вещества и, тем самым, поджог метательного заряда патрона 43 в патроннике 18 и выстрел, при этом высокая температура воспламенения метательного и/или инициирующего заряда должна обеспечить сгорание крупиц металла. Система нагрева включений содержит, преимущественно, магнетрон или индуктор нагрева 36, который целесообразно расположить в нижней части камеры сгорания 18 под контейнером 43 патрона, чтобы при возможном разрушении патрона, его фрагменты под действием гравитации упали бы вниз и были ближе к источнику нагрева для лучшего воспламенения.

[211]

Оружие может быть оборудовано системой тестирования патронов перед постановкой в приемник 98. Это позволяет не использовать канал боепитания с заведомо дефектным патроном, либо установить систему удаления неисправных патронов из приемника 98 за его пределы.

[212]

При изготовлении безгильзовых патронов, с целью уменьшения технологических операций по переделке снарядов, в конструкцию снаряда внесены минимальные изменения - вместо металлического ведущего пояска применен полимерный ведущий поясок 66, оборудованный контактным стопором в виде кольца 68 или сегментного конуса 61, 67 и сгораемыми электрическими проводами 63 для подвода электричества к контактам электровоспламенителя 95 метательного заряда 43. Электрические провода сгорают при воспламенении метательного заряда 43 в патроннике 12 и при выходе снаряда 42 из ствола 6, когда раскаленные метательные газы обгоняют снаряд 42.

[213]

Для обеспечения возможности подачи снаряда 27 из приемника 98 в патронник 12, снаряд 27 оборудуется стопором 61, 67 или 68, который может иметь вариативность исполнения для оружия, использующегося в различных видах вооруженных сил. Так для авиационных пулеметных или пушечных систем важно, чтобы при выстреле от снаряда 42 не отделялись никакие элементы типа поддонов, элементы патронный ленты, стопоры и т.п., так как при высоких скоростях движения это чревато тем, что летательный аппарат может догнать отделившийся элемент и засосать его с потоком воздуха в двигатель или повредить им обшивку. Поэтому для авиационных пулеметных или пушечных комплексов патрон выполняется без элементов, которые могут отделиться от снаряда. В этом случае целесообразно выполнить стопор в виде упругих - металлического стопорной кольца (фиг-7/V, VI, VII), полимерного или металлического сегментного конуса 61 (фиг. 7/I-III), или металлической сегментной втулки 67 (фиг. 7/IV). Стопоры должны обеспечить электропроводность к электровоспламенителю 95 заряда патрона 43. Для наземных артсистем стопор 68 (фиг. 7/VI) может быть выполнен с разрезом 70.

[214]

Стопор, выполненный в виде упругого стопорного кольца 68 (фиг. 7/V, VI, VII,), это, по крайней мере, один электропроводный пружинный упорно-стопорный разрезной или неразрезной кольцевой элемент, имеющий сечение, преимущественно, в виде круга, овала, полуовала или прямоугольника со скошенными, или нескошенными, или закругленными углами, или выполненный в любой другой геометрической форме, или в комбинации видов. Кольцо 68 устанавливается в поперечной кольцевой выемке полимерного ведущего пояска 66 (фиг. 7/V) на эластичное кольцо 69, выполненное, например, из кремнийорганической резины и т.п. Эластичное основание позволяет кольцу 68 равномерно выступать над поверхностью ведущего пояска 66 по всей его окружности, что повышает условия для лучшего захвата снаряда 27. Свободные концы кольца 68 оборудуются защелками 71, которые защелкиваются между собой во время прохождения по нарезному участку 97 поршня 20 и/или нарезам ствола 6.

[215]

Выступающая за калибр ствола часть кольца 68, при начале движения снаряда в нарезном участке 97, обжимается коническим входом его канала, а также ствола 13 таким образом, что кольцо 68 сжимается, прижимаясь к корпусу снаряда 27, и его концы сближаются, при этом защелки 71, оборудованные на концах кольца 68, входят одна за другую и защелкиваются и оно становится плотно утопленным в кольцевой проточке на ведущем пояске 66. Полимерные ведущие пояски, при проходе по каналу ствола, расклепываются, увеличиваются по толщине и надежно обжимают кольцо 68 в проточке с обеих сторон, не позволяя ему разжаться, при этом обеспечивается обтюрация метательных газов, а в полете не создается аэродинамическое сопротивление и дисбаланс от неравномерного расположения кольца.

[216]

Стопорный упругий сегментный конус 61 (фиг. 7/I, II, III) оборудуется на ведущем устройстве 66 снаряда 27 и выполнен (в сложенном состоянии) толщиной, преимущественно, приблизительно равной надкалиберной высоте ведущего пояска 66, которая выполнена как часть усеченного конуса, вершина которого направлена в сторону головной части снаряда, а угол раствора сегментного конуса составляет от 1° до 179°, при этом конус равномерно поделен по окружности треугольными или трапециевидными разрезами на пружинящие сегменты 61, образованные между парами таких разрезов, которые начинаются от наружного диаметра ведущего пояска 66. Сегменты 61 выполняются желобообразными с выпуклостью наружу, чтобы в сложенном состоянии наружный диаметр сегментов 61 был равен или несколько превышал диаметр ведущего пояска 66.

[217]

Сегменты 61, при трапециевидных разрезах, укладываются каждый в свою выемку 65 между ребер, оборудованных в выемке 65 ведущего пояска 66.

[218]

При треугольных разрезах внутреннюю поверхность сегмента 61 целесообразно выполнить в виде ребра или треугольной призмы с гранью, чтобы в сложенном положении они были направлены к продольной оси снаряда 27, а в ведущем пояске 66 выполнить кольцевую выемку 65 для укладки в нее складывающихся сегментов 61, дно которой расположить ниже калибра снаряда 27, и для каждого сегмента 61 выполнить ложе, либо оборудованное ответным углублением для ребра, либо в виде ответного треугольного продольного канала, с целью плотной укладки в него ребристого или призматического сегмента 61 для образования лучшего сцепления сложенных сегментов 61 (фиг. 7/II) с ведущим устройством 66, что обеспечит лучшую передачу крутящего момента от нарезов ствола 13, 6 и/или нарезного участка 97 ведущему пояску 66, частью которого является участок со сложенными сегментами 61. Верхние (наружные) концы сегментов 61 выполнены со скосом, при этом задний край выемки оборудован ответным скосом 64, что является замковым элементом для фиксации сегментов 61 (фиг. 7/II) в сложенном положении и обеспечивает их защелкивание и фиксацию.

[219]

Сегментный конус 61 может быть выполнен либо из полимера, либо из полосы пружинного материала (металла) и закручен в кольцо так, чтобы сегменты 61 были отклонены назад под углом 1-179°, при этом стык кольца цилиндра конусного фиксатора позволяет его разжимать и устанавливать его на подготовленное место на ведущем пояске 66 снаряда посредством его разжима.

[220]

Сегментная шайба 67 (фиг. 8/IV) выполняется из плоской металлической или полимерной шайбы, сегменты оборудуются так же, как и на сегментном конусе 61.

[221]

Электропроводящий слой 62 на сегменте 61 отделен от массы снаряда 27 посредством полимерного ведущего пояска 66 и является вторым контактом для подвода электрического импульса для электровоспламенителя 95 заряда 25 патрона.

[222]

Нижнюю часть сегментного конуса 61, которая возвышается над диаметром ведущего пояска 66, целесообразно выполнить с утолщением, чтобы она могла остановить снаряд 27 во входном участке 97 поршня 20 с целью недопущения его проскока вперед, но при воспламенении метательного заряда, давление прижимало бы сегменты 61 и, при вхождении в калиберную часть ствола 13, фиксировало бы сегменты 61 в кольцевой выемке 65.

[223]

Для обеспечения подачи электрического импульса к электровоспламенителю 95 метательного заряда патрона, наружная поверхность 62 сегментов 61 выполнена электропроводящей, причем электропроводность может быть обеспечена посредством напыления электропроводящего слоя 62 на наружную поверхность сегментов 61, либо оборудования их электропроводящими пластинами 62, либо выполнения сегментов из электропроводящего материала, либо в комбинации способов.

[224]

Для сухопутных и морских комплексов, отделяющиеся от снаряда при выстреле элементы не представляют опасности, поэтому стопорные устройства на этих снарядах могут быть выполнены в любом виде, которые, выполнив задачу по фиксации снаряда в захвате и передаче электрического импульса на электровоспламенитель снаряда, после вылета из ствола отделяются от него, либо сгорают, либо фрагментируются и отделяются, либо распыляются.

[225]

Представленная конструкция стопоров выбрана из тех соображений, что при разработке безгильзового боеприпаса можно использовать уже отработанные и выпускающиеся промышленностью снаряды с незначительными изменениями ведущего пояска. При этом посадка стопора в кольцевую проточку ведущего пояска снаряда была бы простой технологической операцией.

[226]

Воспламенение метательного заряда патрона осуществляется электрическим способом. Т.к. Оружие предназначено для стрельбы с открытого затвора, то имеется возможность непосредственно перед выстрелом ввести в патрон время подрыва взрывателя, которое отсчитывается таймером от момента воспламенения метательного заряда, и/или на ударный разрыв снаряда. Обработанная блоком управления стрельбой программа передается в снаряд в момент подачи патрона 25 в патронник 12. Для ввода команд, взрыватель снаряда снабжен контактным приемником команд, получаемых от штока 83 (фиг. 10) толкателя 82 по проводникам от контактов 89 во время захвата патрона 27 поршнем 20 при затягивании его из приемника 98 в патронник 12.

[227]

Тенденция смещения спектра боевых действий к городским операциям, которые позиционируют миномет в качестве предпочтительного вооружения, требуют от оружия возможности ведения стрельбы навесными траекториями, что позволит использовать осколочные, осветительные и специальные снаряды-мины, и при этом максимально увеличить их поражающие возможности вертикально ориентированного при взрыве осколочного снаряда-мины.

[228]

Для стрельбы навесными траекториями безгильзовый патрон содержит осколочный снаряд-мину с уменьшенной навеской метательного заряда, либо нормативное количество метательного заряда, при этом регулирование дистанции выстрела осуществляется разгрузочным клапаном 15, установленным в любой камере патронника 12, снижающим давление выстрела и, тем самым, дальность стрельбы. Для уменьшения гироскопической стабилизации осколочных снарядов-мин, выстреливаемых по навесной траектории, с целью обеспечения следования головной части снаряда-мины согласно траектории и обеспечения стабильности баллистических показателей, а также кумулятивных снарядов, выстреливаемых по настильной траектории, снаряды оборудуются обтюраторным плавающим пояском (вместо ведущего пояска 66, фиг. 7), выполненным из материала с низким коэффициентом трения (например, из фторопластовых композиций), с возможностью скользящего вращения в кольцевой проточке снаряда 27, предназначенной для установки ведущего пояска 66. При движении снаряда 27 по ведущему участку ствола 6 при выстреле, обтюраторный скользящий поясок будет вращаться под воздействием нарезки, но сам снаряд 42 (фиг. 3) будет идти прямо с минимальным вращением. Для уменьшения вращения на внешнебаллистической траектории снаряд 42 оборудуется раскрывающимся надкалиберным, или жестким калиберным, или подкалиберным оперением, плоскости перьев которых установлены к продольной оси снаряда 42 любым способом: параллельно, перпендикулярно, с наклоном в сторону противоположную или по направлению нарезов, или в комбинации способов. В сочетании с полусферической формой головной части осколочного снаряда-мины, увеличивающей аэродинамическое сопротивление его движению, и активного противодействия вращению снаряда-мины перьями стабилизатора, снижающую его гироскопическую стабилизацию, это понудит его следовать на нисходящем участке траектории головной частью вниз, что, в свою очередь, повысит эффективность действия поражающих элементов при траекторном подрыве снаряда-мины.

[229]

При траекторном подрыве полусферическая головная часть обеспечивает получение полусферического равноплотного осколочного поля.

[230]

При ударном подрыве полусферическая форма головной части создает большее начальное сопротивление при внедрении в грунт, чем остроголовая оживальная или коническая формы и, следовательно, обеспечивает быстродействие и надежность срабатывания инерционного ударного механизма донного взрывателя.

[231]

Система воспламенения метательного заряда 25 патрона может быть выполнена несколькими способами.

[232]

1. Контактным способом (фиг. 3):

[233]

- посредством электрического импульса, который можно подать внутрь патрона 43 к электровоспламенителю заряда через контакты снаряда 42.

[234]

- касанием контейнера с метательным зарядом разогретым предметом.

[235]

2. Бесконтактным способом посредством:

[236]

- токов высокой частоты, которые разогреют электропродящие и/или ферромагнитные включения в пороховом заряде 43 и воспламенят его;

[237]

- высокого напряжения, которое произведет пробой искрой воздушного промежутка между контейнером 43 патрона и патронником 12;

[238]

- радиосигнала, который даст команду на замыкание огневой сети воспламенителя 95 с питанием от микробатареи или микроконденсатора;

[239]

- лазером;

[240]

- пиропатроном;

[241]

3. Комбинированным способом, при котором возможно воспламенение патрона сочетанием в различной комбинации способов воспламенения.

[242]

Патрон может быть оборудован системой безопасности, включающей контактную группу 80, установленную в центральном канале заднего торца контейнера 25, стенки которого оборудованы контактами 89 для передачи команды со штока толкателя 83 на исполнительное устройство траекторного взрывателя. Центральный канал контейнера 25 закрыт пленкой 81, которая во время подачи патрона в патронник 12 прорывается штоком замыкателя 83 и замыкает электровоспламенительную сеть 96 патрона посредством передвижения упругой втулки 94, оборудованной контактным замыкателем, к контактам 80, позволяя передать электрический импульс к электровоспламенителю 95 метательного заряда 25 только при нахождении патрон в патроннике.

[243]

Перемещение подвижных элементов механизмов автоматики Оружия осуществляется, преимущественно, электроприводом: электромагнитами, электроцилиндрами, электродвигателями и/или шаговыми электродвигателями, у которых точности по перемещению достаточно высокие и они не нуждаются в конечных датчиках положения.

[244]

Система боепитания (не показана), содержит привод механизма подачи, по крайней мере, один канал боепитания, патронную ленту, боекомплект, упакованный в магазины и/или патронные ленты, патронные короба, рукава и ящики, приемник 98, толкатель 77, подаватель, по крайней мере, один канал боепитания или рукав.

[245]

Толкатель патрона 82 (фиг. 10) предназначен для подталкивания патрона 25 к поршню 20 с целью предотвращения его распатронивания при резком рывке при затягивании в патронник 12. Он работает следующим образом. При выходе поршня 20 из патронника 12 для захвата патрона 25, он посредством тяги 93, соединенной с возвратной 9 или поршневой 7 шайбой, толкает по стрелке «а» нижнее плечо рычага 92, при этом верхнее плечо 87 воздействует на поршень 85, который сжимает пружину подачи 84. При этом толкатель 82 зафиксирован за защелку 88 электромагнитным фиксатором 91. При достижении поршнем 20 снаряда 27 патрона 25, стоящего в приемнике 98 на линии подачи, он толкает его на линию «Г-Г», при этом электрофиксатор 91 отключается и освобождает защелку 88 толкателя 82. Далее поршень 20, израсходовав импульс движения, начинает двигаться под действием возвратной пружины 11 в патронник 12 вместе с захваченным снарядом 27 патрона 25, при этом сжатая пружина 84 толкателя 82 разжимается и тем самым толкатель 82 толкает патрон 25 сзади, придавая ему импульс движения и предотвращая его распатронивание от рывка поршнем 20 на начальном этапе разгона. После небольшого сопровождения патрона 25 толкателем 82, патрон 25 отходит от толкателя 82, пружина 84 толкателя 82 полностью разжимается и втулка толкателя 82, упершись поршень 85, останавливается от движения перед, и далее, под действием возвращения поршня 85 назад, происходит обратное движение толкателя 82, т.к. возвратная втулка 9, при движении вперед, тянет тягу 93, соединенную с нижним плечом рычага 92 уже в противоположную сторону - по стрелке «б», и посредством верхнего плеча 87 рычага поршень 85 тянет втулку толкателя и сам толкатель 82 назад. При достижении исходного положения защелка 88 толкателя 82 фиксируется электрофиксатором 91.

[246]

Толкатель патрона оборудован электромагнитом 86 со штоком замыкателя 83, посредством которого во время подвижки патрона 25 назад на линию «Г-Г» под действием поршня 20, происходит выдвижение штока замыкателя 83 в задний центральный канал 90 патрона 25 с прорывом защитной пленки 81, при этом он сдвигает вперед упругий контактный диск 94 и замыкает контакты 80 электровоспламенительной цепи 96 патрона 25, при этом на контакт 89 через шток замыкателя 83 передается сигнал времени замедления для срабатывания таймера самоликвидатора снаряда 27, чем обеспечивается его траекторный подрыв.

[247]

Оружие может быть оборудовано 1…5-канальной комбинированной системой подачи боепитания - пять подводящих участков каналов боепитания размещаются при расположении их под 72° по отношению одного к другому, при этом подача патронов может осуществляться несколькими способами - посредством, по крайней мере, одного отъемного магазина и/или, по крайней мере, одной патронной ленты, причем, при ленточной подаче патронная лента может подаваться как с любой одной стороны, так и с пяти сторон сразу. При этом в каждом канале боепитания могут быть однотипные боеприпасы. Ведение очередей разнотипными патронами обеспечивается селекцией патронов из каждого канала боепитания. Таким образом, стрелок может применять наиболее удобный и подходящий к предполагаемым условиям применения способ подачи патронов.

[248]

Система боепитания Оружия в данном изобретении не рассматривается.

[249]

Ствольная труба 4 и цилиндрический корпус - 46 амортизирующего устройства, включая его торцевые стенки 2, 49, оборудованы отверстиями или перфорированы с целью свободного прохождения воздуха для охлаждения ствола при перемещении поршневой шайбы 7 и возвратной втулки 9 во время стрельбы.

[250]

Термостойкость и живучесть ствола 13, 6 также обеспечивают полимерный ведущий поясок 66 (фиг. 7), предварительная винтовая нарезка ведущего пояска нарезным участком 97 поршня 20, являющейся продолжением нарезки ведущей части ствола 13, 6, и выполняющего основную работу по формированию на ведущем пояске канавок от полей нарезов, а также работа поршня 20 по нагнетанию воздуха в патронник 12 и ствол 13, 6 при ведении автоматической стрельбы. Охлаждение поршня 20 может осуществляться струей охлаждающей среды во время его движения на участке от затвора до снаряда 27 и обратно. Возможно оборудование Оружия компактной водяной системой охлаждения (не показано), каналы которой оборудованы в стволе 6, 13 и/или патроннике 12. Возможен также впрыск на внутренние стенки патронника 12 воды, пары которой, будут выталкиваться поршнем 20 в ствол 13, 6 при затягивании очередного патрона в патронник 12.

[251]

Оружие работает следующим образом.

[252]

Принцип действия автоматики основан на приводе механизмов газовым двигателем, представляющим из себя рабочую камеру, образованную внутренними стенками газового аккумулятора 14, канала сужения 39, стволом 13 и поршнем 20, причем движение поршня 20 вперед осуществляется под действием возвратной пружины 11, а назад - под действием давления метательных газов, запасенных в газовом аккумуляторе 14 во время выстрела.

[253]

Первоначальный взвод Оружия осуществляется любым способом: вручную, электроприводом, давлением газов (например, азотом, воздухом, пиропатроном), подаваемых в газовый аккумулятор 14, или в комбинации способов.

[254]

Для взвода Оружия (при одноканальном боепитании) необходимо осуществить перемещение поршня 20 в положение «Г-Г», при этом заряжание Оружия может быть осуществлено следующим образом:

[255]

- без захвата снаряда 27 патрона 25, после чего поршень 20 становится в положение «В-В» посредством отжима поршневой шайбы 7 на линию «в-в» отжимной пружиной 40 в предзахватном положении снаряда 27 при отпускании фиксатора 37 (фиг. 1).

[256]

- с захватом снаряда 27 патрона 25, после чего поршень 20 возвращается в положение «Б-Б» посредством возврата поршневой шайбы 7 в положение «б-б» возвратной пружиной 11 (фиг. 3).

[257]

- с захватом снаряда 27 патрона 25, после чего поршень 20 остается в положении «Г-Г» посредством удержания в сжатом положении отжимной пружины 40 электрофиксатором 37 и удержания возвратной втулки 9 со сжатой возвратной пружиной 11 электрофиксатором 10 (положение, аналогичное фиг. 5).

[258]

При многоканальном боепитании с селекцией типа боеприпасов, при взводе Оружия, поршень 20, после установки на линию «Г-Г», возвращается на линию «В-В» без захвата снаряда 27 патрона 25. Его возврат в предзахватное положение «В-В» осуществляется посредством отжима поршневой шайбы 7 на линию «в-в» отжимной пружиной 40 и при отпускании фиксатора 37. Для выстрела в приемник 98 должен быть установлен боеприпас выбранного типа, после чего электрофиксатор 37 освобождает поршневую шайбу 7 и она, двигаясь в положение «Г-Г», захватывает снаряд 27 патрона 25, вставший в подаватель, после этого фиксатор 10 освобождет возвратную втулку 9 и она, под действием возвратной пружины 11, втягивает патрон 25 в патронник 12, створки 21 затвора закрываются, затем через снаряд 42 подается электроимпульс для воспламенения электровоспламенителя 95 -происходит выстрел.

[259]

Для уменьшения массы связей механизмов, процесс выстрела контролируется датчиками, данные с которых обрабатывает блок управления стрельбой и дает команду исполнительным механизмам на исполнение того или иного действия. Для уменьшения отдачи использован дульный тормоз 1. Если в Оружии предусмотрена многоканальная система питания или оружие разогрето предыдущими выстрелами, то стрельба, преимущественно, может вестись с открытого затвора, а при одноканальном боепитании вести и холодном стволе первый выстрел можно делать с закрытого затвора.

[260]

Работа снаряда осуществляется следующим образом.

[261]

Снаряд 42, 27 (фиг. 3, 7, 11) и его стопор 37 работают следующим образом. Перед выстрелом снаряд 27 патрона 25 устанавливается в приемнике 98, затем на него надвигается захват 28, во входное отверстие которого входит снаряд 27 и упирается скатом переднего участка ведущего пояска 41 в нарезной участок 97 захвата 28. Снаряд 27 не может двигаться в захвате 28: вперед - из-за упора в нарезной участок 97 поршня 20, а назад - из-за упора стопора 37 в упорную стенку захвата 28. При этом стопор 37 на пояске 41, при проходе через отверстие захвата 28, центрирует снаряд 27 относительно канала ствола 7.

[262]

Во время выстрела блок управления огнем выбирает следующий боеприпас, которым может быть любой патрон из любого канала боепитания 24 или 26 и механизм подачи патрона перемещает очередной патрон 25 на линию заряжания.

[263]

Экстракция в боевых условиях, преимущественно, (извлечение и удаление осечного патрона или разряжание оружия) не осуществляется, т.к. осечный патрон принудительно воспламеняется в патроннике посредством нагрева индуктором или магнетроном 37 электропроводных или ферромагнитных вкраплений в составе метательного заряда 72. Но схема автоматики Оружия позволяет удалить патрон из поршня 20 вручную, посредством частичной разборки поршня 20 на две (например, равные продольные) части при его выдвижении в положение «Г-Г» и выемкой патрона из захвата.

[264]

В патроннике 12 во время выстрела происходят следующие явления. Поршень 20 и затянутый в патронник 12 патрон 43 останавливаются в камере сгорания 18 патронника 12 в положении «Б-Б». Затем осуществляется подача электрического импульса на электровоспламенитель патрона 43 и происходит его воспламенение с образованием высокого давления газов сгоревшего метательного заряда, которые давят во все стороны, в том числе и на торцевую поверхность поршня 20 со стороны затвора, при этом высокое давление и трение движущегося снаряда 15 в нарезном участке 97 заставляют поршень 20 переместится вперед на линию «А-А», а связанная с ним штоками 8 поршневая втулка 7 также перемещается на линию «а-а» и сжимает волновую амортизационную пружину 3, при этом открывается канал сужения 38 для перетока давления газов высокого давления из камеры сгорания 18 в газовый аккумулятор 14. После выравнивания давления в газовом аккумуляторе 14 и камере сгорания 18 патронника 12, захватная пружина 5 своей упругостью, посредством воздействия на поршневую шайбу 7, передвигает поршень 20 снова в положение «Б-Б», а снаряд 42, двигаясь по стволу 6, уменьшает давление метательных газов в стволе 6 и камере сгорания 18. И т.к. давление в газовом аккумуляторе 14 остается высоким, то оно начинает смещать поршень 20 в направлении затвора. Чтобы давление в газовом аккумуляторе 14 не ушло в ствол 13, поршень 20 выполнен с цилиндрическим удлинением, являющимся клапаном, запирающим ствол 13 от утечки в него газов. Поршень 20, при движении назад, тянет назад возвратную втулку 9, которая сжимает возвратную 11 и отжимную 40 пружины. Возвратная втулка 9 кинематически соединена (при механическом приводе) с механизмом привода затвора, и отпирает затвор, освобождая пространство для выхода из патронника 12 поршня 20 для захвата очередного снаряда 27 патрона 25.

[265]

Цикл предлагаемого оружия состоит из следующих операций.

[266]

При многоканальном боепитании перед выстрелом происходит взведение необходимых пружин - возвратной 11, отжимной 40, включение фиксации электрофиксаторов 10, 37, 40, 91, выбирается (автоматически или вручную) тип снаряда, нажимается привод пуска стрельбы, после срабатывания которого происходят следующие процессы:

[267]

1. поршень 20 устанавливается в предзахватное положение «В-В» (фиг. 1);

[268]

2. подача выбранного типа патрона в приемник 98 на линию заряжания;

[269]

3. выдвижение поршня 20 в положение «Г-Г» и захват снаряда 27 патрона 25 (фиг. 2, 6);

[270]

4. подача патрона 25 в патронник 12 - перемещение поршня 20 с патроном из положения «Г-Г» в положение «Б-Б» (фиг. 3);

[271]

5. запирание патронника и начало подачи патрона 25 или 28 в приемник 98 на линию заряжания;

[272]

6. выстрел (фиг. 4);

[273]

7. движение поршня 20 в положение «А-А»;

[274]

8. вылет снаряда 15;

[275]

9. движение поршня 20 в положение «Б-Б»;

[276]

10. выпуск метательного газа разгрузочным клапаном 15;

[277]

11. отпирание замков 38 и открытие створок 21 затвора;

[278]

12. постановка патрона 25 в приемник 98 на линию заряжания;

[279]

13. выпуск метательного газа через окно газоотводного канала 29;

[280]

14. открывание отсекающих заслонок 23;

[281]

15. выдвижение поршня 20 в положение «Г-Г» и захват снаряда 27 патрона 25 (фиг. 5, 6) и повторение операций с п. 3.

[282]

После окончания первого цикла стрельбы, при нажатой кнопке спуска, Оружие продолжает отрабатывать следующие циклы стрельбы до отпускания кнопки, т.е. если подача электроэнергии в определенной последовательности на электрические фиксаторы систем Оружия не прекращается, то подача патронов в приемник осуществляется непрерывно, и циклы повторяются один за другим, тем самым осуществляется стрельба очередью.

[283]

Если во время стрельбы очередью попадается патрон, который даст осечку, то он воспламеняется посредством нагрева индуктором или магнетроном 36 ферромагнитных или электропроводящих включений, находящихся, преимущественно, в наружном слое метательного заряда. При этом происходит выстрел и продолжается работа автоматики Оружия.

[284]

Для остановки стрельбы прекращается подача электричества на электромагнитный фиксатор 10 возвратной шайбы 7 и механизмы боепитания. При этом достреливается последний патрон, находящийся в приемнике и механизмы Оружия останавливаются в положении своих частей, которое было до стрельбы, начиная с п. 1. При этом патрон в приемник 98 не подается. Поршень 20, дойдя до крайнего заднего положения «Г-Г», и не захватив патрон, под действием отжимной пружины 40 возвращается в положение «В-В», которая сжав захватную пружину 5, удерживает поршень 20 в этом положении (фиг. 1).

[285]

При выстреле метательные газы, образующиеся в патроннике 12, толкают снаряд 42 вперед, но часть газов проходит через канал сужения 39 патронника 12 в газовый аккумулятор 14. После вылета снаряда 42 из канала ствола 6, в газовом аккумуляторе 14 остается высокое давление метательных газов, а в камере сгорания 18 давление падает, т.к. газы свободно уходят в атмосферу либо через ствол 6 или разгрузочный клапан 15, либо, при открывающихся створках 21, через окно газоотводного канала 29. При этом пороховые газы высокого давления, сконцентрированные в газовом аккумуляторе 14, давят на переднюю поверхность поршня 20 и толкают его назад, но он удерживается в канале сужения 39 от движения вперед замком 38. Датчик давления (например, тензометрический), установленный на стволе 6, определяет снижение напряжения от давления выстрела в материале ствола 6, и дает команду на открытие замка 38 и створок 21 затвора. Поршень 20, преодолевая сопротивление возвратной пружины 11, выходит за пределы патронника 12 и натыкается на снаряд 27, который входит в его захват 28 и там стопорится.

[286]

Следствием внедрения безгильзового патрона, с подводом электрического импульса для электровоспламенения через снаряд, оборудованным полимерным ведущим пояском со стопором, стало конструктивное упрощение схемы автоматики оружия, т.к. возможность автоматического огня реализуется при, практически, полном исключении из конструкции газоотводных трубок, подвижных массивных частей, в т.ч. и ствола и затвора, что является потенциалом для увеличения точности и кучности стрельбы Оружия, уменьшения его массогабаритных показателей, повышения начальной скорости снаряда, и т.д. Электровоспламенение дает возможность программирования взрывателя снаряда, тестирования патронов перед выстрелом на предмет исправности, использования цифровых технологий для защиты от несанкционированного применения Оружия, позволяет упростить предохранительные системы оружия и повысить их надежность. Реализация перезаряжания посредством внутреннего поршня позволяет отказаться от ствольной коробки.

[287]

Электровоспламенение заряда метательного взрывчатого вещества безгильзового патрона принципиально отличается от капсюльного инициирования тем, что появляется возможность регулировать темп стрельбы и количество выстрелов в очереди, отсутствует громоздкий и медленно работающие экстракционный и ударный механизмы, нет вибраций от движения деталей ударного механизма.

[288]

Технический результат от реализации изобретения заключается в повышении обеспечении высокой стабилизации оси оружия во время стрельбы, повышении коэффициента технического совершенства, боевой эффективности и универсальности пушечного и/или стрелкового комплекса.

[289]

Изложенная выше конструкция «Автоматического оружия с внутренним поршнем для безгильзового патрона» является полной версией, но для конкретных целей использования Оружия возможна реализация упрощенной версии его конструкции, когда оно исполнено в неполном виде без каких-либо систем, групп или элементов и/или деталей в группах, системах и/или узлах. Схема Оружия показана принципиально и является общей иллюстрацией, которая имеет большую вариативность конкретного исполнения деталей, узлов, механизмов и последовательности их работы. Показанная схема работы не является ограничением для применения других технических решений, которые могут быть использованы на практике, без нарушения основной идеи изобретения.

Как компенсировать расходы
на инновационную разработку
Похожие патенты