патент
№ RU 2656529
МПК F02M65/00

Способ определения угла начала нагнетания топлива секцией топливного насоса высокого давления

Авторы:
Соловьев Рудольф Юрьевич Аксенов Алексей Зиновьевич Кочуров Алексей Алексеевич
Все (4)
Номер заявки
2017113917
Дата подачи заявки
21.04.2017
Опубликовано
05.06.2018
Страна
RU
Как управлять
интеллектуальной собственностью
Чертежи 
1
Реферат

Изобретение относится к области испытания и регулировки топливных систем дизелей. Изобретение направлено на автоматизацию процесса измерений и повышение точности определения угла начала нагнетания топлива секцией топливного насоса высокого давления (ТНВД). Предложенный способ определения угла начала нагнетания топлива секцией ТНВД заключается в том, что устанавливают ТНВД на стенд, переводят рейку управления подачей топлива стенда в положение, соответствующее максимальной подаче, и вращают кулачковый вал ТНВД вначале по направлению его вращения, а затем - против. Определение угла начала нагнетания топлива секцией ТНВД выполняют на работающем стенде при частоте вращения вала привода, равной 70 мин, по изменению величины давления топлива в камере впрыскивания 1, установленной на выходном штуцере 12 секции ТНВД и оснащенной датчиком давления 2. Момент перекрытия впускного отверстия 26 втулки секции ТНВД торцом плунжера 20 фиксируется по моменту начала возрастания давления топлива в камере впрыскивания 1 относительно величины установленного избыточного давления в ней. Значения углов поворота кулачкового вала 14, соответствующих моментам открытия отсечного отверстия 37 (отсечки топлива), при достижении верхней кромкой отсечной канавки плунжера нижней кромки отсечного отверстия втулки, определяют по моменту снижения давления топлива в камере впрыскивания 1 до установленной величины. Значение угла начала нагнетания топлива секцией ТНВД определяют как разность между средними за сто циклов измерений значениями углов, соответствующих начальной точке отсчета и моменту перекрытия впускного отверстия 26 втулки секции ТНВД торцом плунжера 20 при вращении вала насоса. 1 ил.

Формула изобретения

Способ определения угла начала нагнетания топлива секцией топливного насоса высокого давления (ТНВД), заключающийся в том, что устанавливают ТНВД на стенд, переводят рейку управления подачей топлива стенда в положение, соответствующее максимальной подаче, и вращают кулачковый вал ТНВД вначале по направлению его вращения, а затем - против, отличающийся тем, что определение угла начала нагнетания топлива секцией ТНВД выполняют на работающем стенде при частоте вращения вала привода стенда, равной 70 мин-1, по изменению величины давления топлива в камере впрыскивания, установленной на выходном штуцере первой по порядку работы секции ТНВД и оснащенной датчиком давления, при этом момент перекрытия впускного отверстия втулки секции ТНВД торцом плунжера фиксируется по моменту начала возрастания давления топлива в камере впрыскивания относительно величины установленного избыточного давления в ней, значения углов поворота кулачкового вала, соответствующих моментам открытия отсечного отверстия (отсечки топлива) при достижении верхней кромкой отсечной канавки плунжера нижней кромки отсечного отверстия втулки - по моменту снижения давления топлива в камере впрыскивания до значения величины установленного избыточного давления в ней, а значение угла начала нагнетания топлива секцией ТНВД определяют как разность между средними за сто циклов измерений значениями углов, соответствующих начальной точке отсчета и моменту перекрытия впускного отверстия втулки секции ТНВД торцом плунжера при вращении вала ТНВД по направлению вращения.

Описание

[1]

Изобретение относится к области испытания и регулировки топливных систем дизелей и предназначено для автоматизированного определения угла начала нагнетания топлива секцией топливного насоса высокого давления.

[2]

Известен способ определения угла начала нагнетания топлива секцией топливного насоса высокого давления (ТНВД) (Федосов И.М., Машкин А.Л. Руководство по испытанию и регулировке топливной аппаратуры автотракторных дизелей. - Малоярославец: ОАО «МОПАЗ», e-mail: mopaz@kaluga.ru www.mopaz.ru, с. 9-13), заключающийся в том, что при вращении кулачкового вала ТНВД на стенде вручную вначале по направлению его вращения, а затем против, по моменту начала подъема уровня топлива в трубке моментоскопа (момент страгивания мениска) или моменту прекращения вытекания топлива через штуцер секции ТНВД при его проливке, используя градуированную шкалу на диске стенда, фиксируют значения углов, соответствующих моментам перекрытия впускного отверстия втулки секции ТНВД торцом плунжера, подсчитывают количество градусов между зафиксированными значениями углов и принимают среднее их значение за угол начала нагнетания топлива.

[3]

Недостатком известного способа является недостаточная точность измерения действительного значения угла начала нагнетания топлива секцией ТНВД, обусловленная невозможностью прямого измерения значения угла поворота кулачкового вала ТНВД, соответствующего моменту совпадения осей плунжера и профиля кулачка, а также вносимыми в измерения погрешностями, вызываемыми кронштейном, плитой крепления ТНВД, соединительной муфтой стенда при угловом перемещении вала ТНВД 100-120 град, а также износом рабочих поверхностей профиля кулачка, о чем свидетельствуют результаты измерения угла начала нагнетания топлива секцией ТНВД УТН-5 при вращения кулачкового вала "по ходу и против хода", проведенные на Малоярославецком опытно-производственном акционерном заводе (АОА "МОПАЗ").

[4]

Известен способ определения угла начала нагнетания топлива секцией ТНВД, заключающийся в том, что устанавливают ТНВД на стенд, переводят рейку управления подачей топлива стенда в положение, соответствующее максимальной подаче, и вращают кулачковый вал ТНВД вначале по направлению его вращения, а затем - против. При вращении кулачкового вала ТНВД на стенде вручную по направлению его вращения по моменту начала подъема уровня топлива в трубке моментоскопа (момент страгивания мениска) или моменту прекращения вытекания топлива через штуцер секции ТНВД при его проливке, используя градуированную шкалу на диске стенда, фиксируют значение угла, соответствующего моменту перекрытия впускного отверстия втулки секции ТНВД торцом плунжера, одновременно, при вращении вала ТНВД сначала по направлению вращения, а затем - против, при нахождении рейки подачи топлива в положении, соответствующем максимальной подаче, дополнительно, используя градуированную шкалу диска стенда, по моменту прекращения движения топлива в трубке моментоскопа или моменту начала интенсивного вытекания топлива через штуцер секции ТНВД при его проливке, фиксируют значения углов поворота кулачкового вала, соответствующих моментам открытия отсечного отверстия (отсечки топлива) при достижении верхней кромкой отсечной канавки плунжера нижней кромки отсечного отверстия втулки, при этом среднее из двух зафиксированных значений принимается за угол, соответствующий моменту совпадения оси профиля кулачка с осью плунжера секции ТНВД (начальную точку отсчета), а значение угла начала нагнетания топлива секцией ТНВД определяют как разность между значениями углов, соответствующих начальной точке отсчета и моменту перекрытия впускного отверстия втулки секции ТНВД торцом плунжера при вращении вала ТНВД по направлению вращения (патент на изобретение RU 2299351, опубл. 20.05.2007, бюл. №14 - прототип).

[5]

Недостатком известного способа является то, что положение нулевого деления градуированной шкалы подвижного диска определяется на неработающем стенде путем вращения кулачкового вала ТНВД вручную вначале по направлению его вращения, в связи с чем в измерения вносятся дополнительные погрешности, обусловленные возникающими при испытании колебаниями и деформацией деталей привода ТНВД и стенда, изменяющие действительное положение момента совпадения осей плунжера и профиля кулачка вала ТНВД относительно нулевого деления градуированной шкалы подвижного диска стенда, не представляется возможным выполнить измерения в автоматизированном режиме.

[6]

Технический результат направлен на решение задачи автоматизированного измерения угла начала нагнетания топлива секцией ТНВД при одновременном повышении точности измерений при стендовых испытаниях.

[7]

Технический результат достигается тем, что в способе определения угла начала нагнетания топлива секцией топливного насоса высокого давления (ТНВД), заключающемся в том, что устанавливают ТНВД на стенд, переводят рейку управления подачей топлива стенда в положение, соответствующее максимальной подаче, и вращают кулачковый вал ТНВД вначале по направлению его вращения, а затем - против, согласно изобретению, определение угла начала нагнетания топлива секцией ТНВД выполняют на работающем стенде при частоте вращения вала привода стенда, равной 70 мин-1, по изменению величины давления топлива в камере впрыскивания, установленной на выходном штуцере первой по порядку работы секции ТНВД и оснащенной датчиком давления, при этом момент перекрытия впускного отверстия втулки секции ТНВД торцом плунжера фиксируется по моменту начала возрастания давления топлива в камере впрыскивания относительно величины установленного избыточного давления в ней, а значения углов поворота кулачкового вала, соответствующих моментам открытия отсечного отверстия (отсечки топлива) при достижении верхней кромкой отсечной канавки плунжера нижней кромки отсечного отверстия втулки - по моменту снижения давления топлива в камере впрыскивания до значения величины установленного избыточного давления в ней, а значение угла начала нагнетания топлива секцией ТНВД определяют как разность между средними за сто циклов измерений значениями углов, соответствующих начальной точке отсчета и моменту перекрытия впускного отверстия втулки секции ТНВД торцом плунжера при вращении вала ТНВД по направлению вращения.

[8]

Отличительным признаком является то, что определение угла начала нагнетания топлива секцией ТНВД выполняют на работающем стенде при частоте вращения вала привода стенда, равной 70 мин-1, по изменению величины давления топлива в камере впрыскивания, установленной на выходном штуцере первой по порядку работы секции ТНВД и оснащенной датчиком давления, при этом момент перекрытия впускного отверстия втулки секции ТНВД торцом плунжера фиксируется по моменту начала возрастания давления топлива в камере впрыскивания относительно величины установленного избыточного давления в ней, а значения углов поворота кулачкового вала, соответствующих моментам открытия отсечного отверстия (отсечки топлива) при достижении верхней кромкой отсечной канавки плунжера нижней кромки отсечного отверстия втулки - по моменту снижения давления топлива в камере впрыскивания до значения величины установленного избыточного давления в ней, а значение угла начала нагнетания топлива секцией ТНВД определяют как разность между средними за сто циклов измерений значениями углов, соответствующих начальной точке отсчета и моменту перекрытия впускного отверстия втулки секции ТНВД торцом плунжера при вращении вала ТНВД по направлению вращения.

[9]

Способ поясняется чертежом, на котором изображена насосная секция топливного насоса высокого давления типа УТН с установленной камерой впрыскивания.

[10]

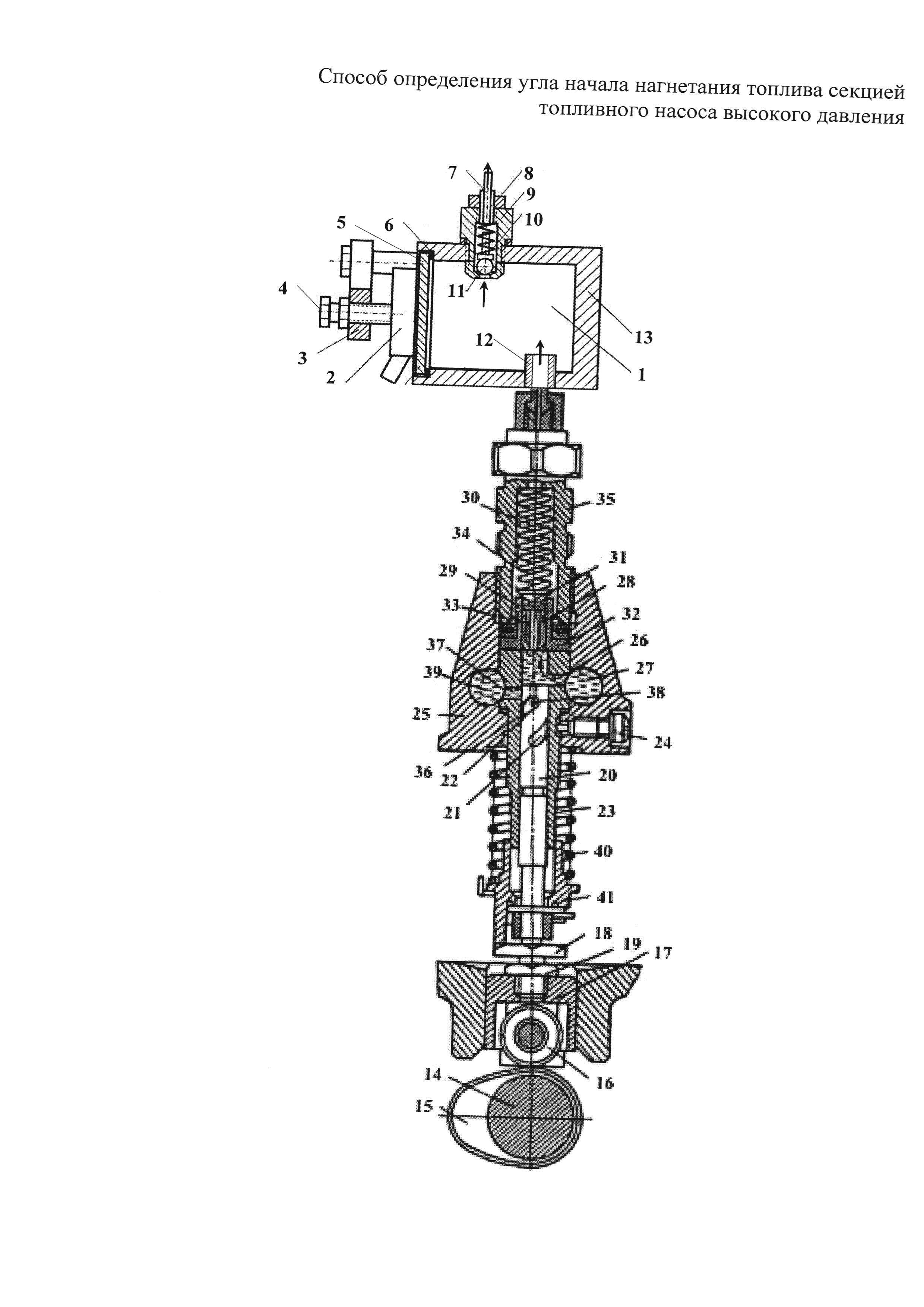
Для реализации способа автоматизированного определения угла начала нагнетания топлива секцией топливного насоса высокого давления (ТНВД) на выходной штуцер секции ТНВД установлена камера впрыскивания 1, содержащая пьезодатчик 2; прижим 3; болт 4; крышку 5; прокладку 6; сливной канал 7; регулировочный винт 8; корпус клапана-ограничителя давления 9; пружину 10; шарик клапана-ограничителя давления 11; штуцер клапана-ограничителя давления 12; корпус камеры впрыскивания 13.

[11]

В качестве датчика низкого давления 2, установленного в камере впрыскивания 1, использован пьезоэлектрический датчик начала впрыскивания топлива форсункой модели ДВП-8/12 доработанный (ДВП-1М), сигнал с которого поступает в электронный блок управления работой стенда (на рисунке не показан).

[12]

Секция ТНВД работает следующим образом.

[13]

При вращении кулачкового вала 14 ТНВД его кулачок 15 через ролик 16, толкатель 17, регулировочный болт 18, зафиксированный контргайкой 19, приводит в движение плунжер 20, имеющий на своей боковой поверхности две винтовые канавки 21 и 22, который перемещаясь вверх во втулке 23, зафиксированной винтом 24 в головке 25 ТНВД, перекрывает впускное отверстие 26, прекращая поступление топлива из продольного канала 27 в надплунжерную полость. При дальнейшем движении плунжера 20 вверх, давление в надплунжерной полости повышается, нагнетательный клапан 28 вместе с разгружающим пояском 29, преодолевая усилие пружины 30, отрывается от запирающего конуса 31 седла 32 клапана, и топливо по канавкам 33 поступает в полость 34 штуцера 35, о чем свидетельствует начало повышения давления в камере впрыскивания 1.

[14]

При достижении верхней кромкой отсечной канавки 36 плунжера 20 нижней кромки отсечного отверстия 37 топливо из надплунжерного пространства по каналу 38 перетекает в продольный канал 39, давление топлива снижается, клапан 28 закрывается, а давление топлива в камере впрыскивания 1 снижается до заданного исходного уровня.

[15]

При дальнейшем вращении кулачкового вала 14 плунжер 20 под действием пружины 40 с тарелью 41 опускается вниз, после чего процесс нагнетания топлива повторяется.

[16]

В силу того, что клапан-ограничитель давления 9 отрегулирован на заданное при испытаниях низкое давление (в пределах 3-6 кг/см2), которое регулируется регулировочным винтом 8 и постоянно поддерживается внутри камеры впрыскивания 1, в момент начала нагнетания топлива давление в камере 1 начнет повышаться, что зафиксируется датчиком 2, а в момент «отсечки» топлива при приближении плунжера 20 секции ТНВД к крайнему верхнему положению, давление в камере впрыскивания 1 снизится до значения, поддерживаемого клапаном 9, что также будет зафиксировано датчиком 2. При этом регистрация сигнала с датчика 2 осуществляется электронным блоком управления работой стенда строго в соответствии с углом поворота вала привода стенда. Таким образом, в силу высокой чувствительности датчика и отсутствия задержки в его срабатывании моменты начала и конца нагнетания топлива секцией ТНВД, а следовательно, и углы поворота кулачкового вала ТНВД будут фиксироваться автоматически и с высокой точностью.

[17]

Предлагаемый способ реализуется следующим образом.

[18]

Для определения угла начала нагнетания топлива секцией ТНВД топливный насос устанавливают на стенд, устанавливают камеру впрыскивания 1 на первую по порядку работы секцию ТНВД, сливной канал 7 которой соединяют топливопроводом с топливным баком стенда (на рисунке не показан).

[19]

Переводят рейку управления подачей топлива стенда в положение, соответствующее максимальной подаче, устанавливают количество последовательных циклов измерений равными 100, включают стенд и устанавливают частоту вращения вала привода стенда равной 70 мин-1. Вращают кулачковый вал 14 ТНВД вначале по направлению его вращения, а затем - против, при этом, используя электронный блок управления работой стенда, градуированную шкалу стенда или счетчик углов поворота вала стенда, последовательно фиксируют значения углов, соответствующих моментам перекрытия впускного отверстия 26 втулки секции ТНВД торцом плунжера 20 в момент начала возрастания давления топлива в полости камеры 1, а также соответствующих открытию отсечного отверстия 37 (отсечки топлива) при достижении верхней кромкой отсечной канавки 36 плунжера 20 нижней кромки отсечного отверстия 37 втулки 23 в момент снижения давления топлива в полости камеры 1 до значения, регулируемого клапаном 9.

[20]

Среднее за сто циклов измерений значение между зафиксированными углами в момент снижения давления топлива в полости камеры 1 до значения, регулируемого клапаном 9, при вращении кулачкового вала по направлению вращения и против принимается за угол, соответствующий моменту совпадения оси профиля кулачка 15 с осью плунжера 20 секции ТНВД, то есть за угол начальной точки отсчета.

[21]

После этого определяют значение угла начала нагнетания топлива секцией ТНВД, как разность между средними за сто циклов измерений значениями углов, соответствующих начальной точке отсчета и моменту перекрытия впускного отверстия 26 втулки 23 секции ТНВД торцом плунжера 20 при вращении кулачкового вала насоса 14 по направлению вращения.

[22]

Предлагаемый способ более совершенен по сравнению с известными, так как выполняется на работающем стенде в автоматизированном режиме, а при его реализации повышается точность измерения угла поворота кулачкового вала насоса, соответствующего моменту совпадения оси профиля кулачка с осью плунжера секции ТНВД. Это обусловлено уменьшением величины углового перемещения кулачка при проведении измерений (до 10-15 град по результатам испытаний, выполненных авторами), снижением относительной погрешности измерений, связанной с износом рабочей поверхности профиля кулачка, а также вызванной деталями крепления ТНВД и приводом стенда. В свою очередь, это будет способствовать более точной регулировке угла опережения впрыскивания топлива в цилиндры двигателя, а следовательно, позволит улучшить (или поддержать на заданном уровне) мощностные и экономические характеристики двигателя.

Как компенсировать расходы
на инновационную разработку
Похожие патенты