Группа изобретений относится к области летательных аппаратов. Законцовка крыла в виде крылышка большого удлинения, являющегося продолжением основного крыла и выполненного с размахом не менее 10% полуразмаха крыла, а размер концевой хорды не менее 30% ее корневой хорды. Выполнена она в виде рулевой поверхности, плоскость которой составляет с плоскостью основного крыла угол, не превышающий 90 градусов. В первом варианте законцовка имеет угол положительной стреловидности по передней кромке, превышающий угол стреловидности основного крыла не менее чем на 15 градусов, но составляющий по абсолютной величине не более 70 градусов. Во втором варианте законцовка имеет угол отрицательной стреловидности, не превышающий 60 градусов. Группа изобретений направлена на подавление вибраций, обусловленных полетом в неспокойной атмосфере. 2 н. и 4 з.п. ф-лы, 17 ил.
1. Законцовка крыла в виде крылышка большого удлинения, являющегося продолжением основного крыла, отличающаяся тем, что законцовка имеет угол положительной стреловидности по передней кромке, превышающий угол стреловидности основного крыла не менее, чем на 15 градусов, но составляющий не более 70 градусов, размах не менее 10% полуразмаха крыла, размер концевой хорды не менее 30% ее корневой хорды, и выполнена в виде рулевой поверхности, плоскость которой составляет с плоскостью основного крыла угол, не превышающий 90 градусов. 2. Законцовка крыла по п. 1, отличающаяся тем, что рулевая поверхность выполнена цельноповоротной с возможностью изменения ее угла атаки. 3. Законцовка крыла по п. 1, отличающаяся тем, что рулевая поверхность выполнена в виде отклоняемых задней и передней кромок, связанных с кессоном законцовки, моментно заделанным в концевой части основного крыла. 4. Законцовка крыла в виде крылышка большого удлинения, являющегося продолжением основного крыла, отличающаяся тем, что законцовка имеет угол отрицательной стреловидности, не превышающий 60 градусов, размах не менее 10% полуразмаха крыла, размер концевой хорды не менее 30% ее корневой хорды и выполнена в виде рулевой поверхности, плоскость которой составляет с плоскостью основного крыла угол, не превышающий 90 градусов. 5. Законцовка крыла по п. 4, отличающаяся тем, что рулевая поверхность выполнена цельноповоротной с возможностью изменения ее угла атаки. 6. Законцовка крыла по п. 4, отличающаяся тем, что рулевая поверхность выполнена в виде отклоняемых задней и передней кромок, связанных с кессоном законцовки, моментно заделанным в концевой части основного крыла.
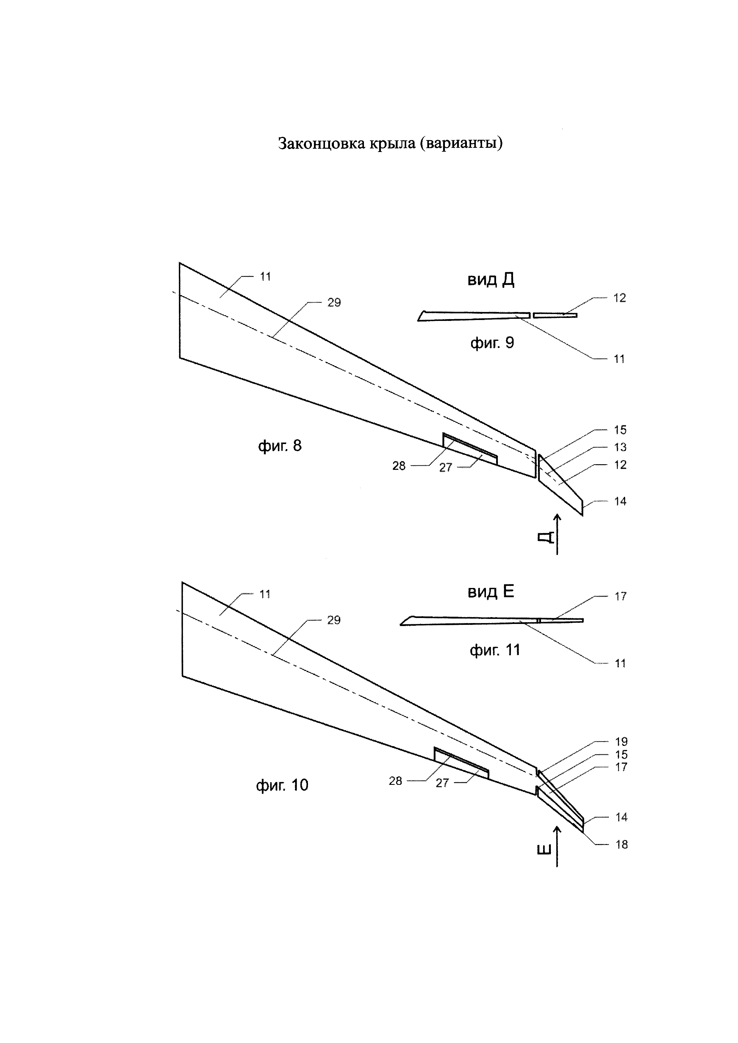
Изобретение относится к области летательных аппаратов (самолетов, крылатых и оперенных ракет). Оно направлено на повышение аэродинамического качества летательных аппаратов, а также повышение эффективности управления летательным аппаратом и решения проблемы реверса органов управления, управления аэродинамическими нагрузками, подавления вибраций, обусловленных полетом в неспокойной атмосфере, подавления флаттера - за счет целесообразного изменения распределения местных углов атаки по размаху упругого крыла самолетов (особенно самолетов со стреловидными крыльями большого удлинения). Известен рассматриваемый в качестве аналога предлагаемого изобретения «Спироидный винглет» (заявка на изобретение №2016143059 от 2.11.2016 Г.А. Амирьянца). Отличительной особенностью его является то, что, будучи элементом активного аэроупругого крыла, он оснащен выносными органами управления по типу выносного элерона («Устройство для улучшения управляемости и устойчивости крылатых летательных аппаратов при больших скоростях полета». Авторское свидетельство Г.А. Амирьянца, SU 1839845 А1, 1965 год). Выносной элерон, в том числе выполненный как цельноповоротный элемент активного аэроупругого крыла, вынесенный существенно вперед относительно оси жесткости крыла, имеет известный недостаток: для его установки требуются специальные выносные устройства на конце крыла. Недостатком выносного элерона, в том числе цельноповоротного, вынесенного назад относительно оси жесткости крыла, представляется также следующее. Хотя его эффективность с ростом скоростного напора уменьшается гораздо сильнее, чем у обычных элеронов, она может оказаться недостаточной, чтобы использовать предложенную в концепции «Спироидного винглета» смену в законе управления знака угла отклонения выносной рулевой поверхности на противоположный при значениях скоростного напора q, превышающих критическое значение скоростного напора реверса этой поверхности q кр рев. Недостатком «Спироидного винглета» представляется также сложность его пространственной конструкции. Известны также другие законцовки крыла (винглеты), главное назначение которых увеличение аэродинамического качества летательного аппарата. Наиболее близким к предлагаемому изобретению устройством, рассматриваемым в качестве прототипа, представляются так называемые raked wingstips, или гребневые законцовки (в буквальном переводе на русский язык: наклонные законцовки крыла). Они представляют собой продолжение основного крыла в виде крылышек, расположенных в той же плоскости, что и основное крыло, имеющих несколько больший (на 5-10%) угол стреловидности по передней кромке, чем основное крыло (см., например: Norris, Guy; Wagner, Mark (2009). Boeing 787 Dreamliner. Osceola, Wisconsin: Zenith Press. ISBN 978-0-7603-2815-6). Задняя кромка наклонной гребневой законцовки, являясь продолжением задней кромки основного крыла, имеет практически тот же угол стреловидности, что и задняя кромка основного крыла. Такая законцовка имеет гораздо большее сужение, чем основное крыло. Хорда такой законцовки равна не более примерно 20% от ее корневой хорды. Недостатком наклонных, гребневых законцовок представляется то, что они имеют ограниченное предназначение - лишь для повышения аэродинамического качества (хоть и весьма значительного) и не используются в качестве органов управления. Невозможность использования известного наклонного винглета в качестве рулевой поверхности как элемента активного аэроупругого крыла обусловлена тем, что он представляет собой продолжение основного крыла в виде горизонтального крылышка, не удаленного значительно вперед или значительно назад относительно оси жесткости крыла, к тому же вклад концевых сечений крылышка в его подъемную силу относительно невелик из-за относительно большого сужения, обусловленного малым размером его концевой хорды, близкого к нулю (Norris, Guy; Wagner, Mark (2009). Boeing 787 Dreamliner. Osceola, Wisconsin: Zenith Press. ISBN 978-0-7603-2815-6). Недостатком цельноповоротной рулевой поверхности (как элемента активного аэроупругого крыла) представляется, к тому же, возможное осложнение проблемы ее шарнирных моментов, а также проблемы прочности ее крепления в относительно тонкой концевой части крыла. Целью настоящего изобретения является повышение аэродинамического качества летательного аппарата, а также повышение эффективности управления по крену и повышение эффективности управления распределением аэродинамической нагрузки по размаху крыла, повышение весовой отдачи конструкции и безопасности по условиям флаттера - за счет активного использования упругости конструкции. Эта комплексная задача особенно актуальна для самолетов со стреловидными, тонкими, гладкими крыльями большого удлинения. Решение поставленной задачи и соответствующий технический результат достигаются тем, что используют законцовку крыла в виде крылышка большого удлинения, являющегося продолжением основного крыла. Отличительной особенностью такой законцовки является то, что она имеет угол положительной стреловидности по передней кромке, превышающий угол стреловидности основного крыла не менее чем на 15 градусов, но составляющий по абсолютной величине не более 70 градусов. Ее размах равен не менее 10% полуразмаха крыла, а размер концевой хорды не менее 30% ее корневой хорды. Выполнена она в виде рулевой поверхности, при этом плоскость законцовки составляет с плоскостью основного крыла угол, не превышающий 90 градусов. В одном из вариантов эта рулевая поверхность выполнена цельноповоротной с возможностью изменения ее угла атаки. А в другом - рулевая поверхность выполнена в виде отклоняемых задней и передней кромок, связанных с кессоном законцовки, моментно заделанным в концевой части основного крыла. Решение поставленной задачи и соответствующий технический результат также достигаются тем, что используют законцовку крыла в виде крылышка большого удлинения, являющегося продолжением основного крыла. При этом отличительной особенностью этой законцовки является то, что она имеет угол отрицательной стреловидности, не превышающий по абсолютной величине 60 градусов. Ее размах равен не менее 10% полуразмаха крыла, а размер концевой хорды не менее 30% ее корневой хорды. Выполнена она в виде рулевой поверхности, при этом плоскость законцовки составляет с плоскостью основного крыла угол, не превышающий 90 градусов. В одном из вариантов эта рулевая поверхность выполнена цельноповоротной с возможностью изменения ее угла атаки. А в другом - рулевая поверхность выполнена в виде отклоняемых задней и передней кромок, связанных с кессоном законцовки, моментно заделанным в концевой части основного крыла. Предлагаемые изобретения иллюстрируются фотографиями и схемами, на которых изображены: - на фиг. 1 - наклонные гребневые законцовки крыла («raked wingtips») на самолетах Боинг B-747-Freighter (фиг. 1a), Boeing-767-400ER (фиг. 1б), Boeing-787 Dreamliner (фиг. 1в); - на фиг. 2-4 - геометрия крыла, оснащенного задним спироидным винглетом (законцовкой); - на фиг. 5-7 - геометрия крыла, оснащенного передним спироидным винглетом; - на фиг. 8 - законцовка положительной стреловидности, выполненная в виде выносной рулевой цельноповоротной поверхности (вид сверху); - на фиг. 9 - вид сзади по стрелке Д на законцовку положительной стреловидности, выполненную в виде рулевой цельноповоротной поверхности; - на фиг. 10 - законцовка положительной стреловидности, выполненная в виде отклоняемых задней и передней кромок, связанных с кессоном законцовки, моментно заделанным в концевой части основного крыла (вид сверху); - на фиг. 11 - вид сзади по стрелке Е на законцовку положительной стреловидности, выполненную в виде отклоняемых задней и передней кромок, связанных с кессоном законцовки, моментно заделанным в концевой части основного крыла; - на фиг. 12 - законцовка обратной стреловидности, выполненная в виде рулевой цельноповоротной поверхности (вид сверху); - на фиг. 13 - вид сзади по стрелке Ж на законцовку обратной стреловидности, выполненную в виде рулевой цельноповоротной поверхности; - на фиг. 14 - законцовка обратной стреловидности, выполненная в виде отклоняемых задней и передней кромок, связанных с кессоном законцовки, моментно заделанным в концевой части основного крыла (вид сверху); - на фиг. 15 - вид сзади по стрелке З на законцовку обратной стреловидности, выполненную в виде отклоняемых задней и передней кромок, связанных с кессоном законцовки, моментно заделанным в концевой части основного крыла; - на фиг. 16 - эффективность поперечного управления самолета (производные момента крена по углу отклонения цельноповоротной законцовки большой прямой стреловидности, а также для сравнения - штатного элерона и спойлера - в зависимости от скоростного напора при различных числах М); - на фиг. 17 - эффективность поперечного управления самолета (производные момента крена по углу отклонения цельноповоротной законцовки большой обратной стреловидности, а также для сравнения - штатного элерона и спойлера - в зависимости от скоростного напора при различных числах М). Законцовка крыла устроена следующим образом. Законцовка 12 крыла (фиг. 8, 9) выполнена в виде рулевой поверхности и представляет собой продолжение основного крыла 11 в виде крылышка большого удлинения. Законцовка 12 имеет угол положительной стреловидности по передней кромке, превышающий угол стреловидности основного крыла не менее чем на 15 градусов, но составляющий по абсолютной величине не более 70 градусов. Размах законцовки 12 равен не менее 10% полуразмаха крыла. Сужение законцовки 12 примерно такое же, как и у основного крыла, так что размер концевой хорды 14 законцовки 12 равен не менее 30% корневой хорды 15 законцовки 12. Плоскость законцовки примерно расположена в плоскости основного крыла, но в любом случае плоскость законцовки составляет с плоскостью основного крыла угол, не превышающий 90 градусов. Законцовка 12 выполнена цельноповоротной с возможностью изменения ее угла атаки за счет поворота ее вокруг оси вала 13, а в другом варианте (фиг. 10, 11) она выполнена с возможностью отклонения задней 18 и передней 19 кромок, связанных с кессоном законцовки 17, моментно заделанным в концевой части основного крыла 11. В другом варианте (фиг. 12, 13) законцовка 20 крыла выполнена в виде рулевой поверхности и представляет собой также продолжение основного крыла 11 в виде крылышка большого удлинения. При этом законцовка 20 имеет отрицательный угол стреловидности, не превышающий по абсолютной величине 60 градусов. Размах законцовки 20 равен не менее 10% полуразмаха крыла. Сужение законцовки 20 примерно такое же, как и у основного крыла, так что размер концевой хорды 21 законцовки 20 равен не менее 30% корневой хорды 22 законцовки 20. Плоскость законцовки примерно расположена в плоскости основного крыла, но в любом случае плоскость законцовки составляет с плоскостью основного крыла угол, не превышающий 90 градусов. Законцовка 20 выполнена цельноповоротной с возможностью изменения ее угла атаки за счет поворота ее вокруг оси вала 23, а в другом варианте (фиг. 14, 15) она выполнена с возможностью отклонения задней 25 и передней 26 кромок, связанных с кессоном законцовки 24, моментно заделанным в концевой части основного крыла 11. Устройство работает следующим образом. Законцовка в виде рулевой цельноповоротной поверхности 12, вынесенная назад относительно оси жесткости 29 крыла 11, выполнена с возможностью поворота ее вокруг оси вала 13, чем обеспечивается изменение ее угла атаки. Угол атаки изменяется в зависимости от потребного момента крена, распределения изгибающего момента по размаху крыла, уровня вибраций, а также числа М и скоростного напора. В том числе предусматривается использование в законе управления смены знака угла отклонения выносной рулевой поверхности на противоположный при значениях скоростного напора q, превышающих критическое значение реверса рулевой поверхности qкр.рев. В случае невозможности использования цельноповоротной рулевой поверхности 12 из-за проблем, связанных с шарнирными моментами и прочностью закрепления в концевой части крыла 11, в качестве рулевой поверхности используют отклоняемые заднюю 18 и переднюю 19 кромки законцовки, при этом кессон законцовки 17 выполнен моментно заделанным в ее корне, в концевой части крыла 11. Рулевая цельноповоротная поверхность 20, вынесенная вперед относительно оси жесткости 29 крыла 11, выполнена с возможностью поворота ее вокруг оси вала, чем обеспечивается изменение ее угла атаки. Угол атаки изменяется в зависимости от потребного момента крена, распределения изгибающего момента по размаху крыла, уровня вибраций, а также числа М и скоростного напора. В случае невозможности использования цельноповоротной рулевой поверхности 20 из-за проблем, связанных с шарнирными моментами и прочностью закрепления законцовки в концевой части крыла 11, в качестве рулевой поверхности используют отклоняемые заднюю 25 и переднюю 26 кромки законцовки 24, при этом кессон законцовки 24 выполнен моментно заделанным в ее корне, в концевой части крыла 11. Достигаемый положительный эффект доказывается результатами выполненных расчетных исследований. Они свидетельствуют, во-первых, о том, что для дальнемагистрального пассажирского самолета с крылом большого удлинения прирост аэродинамического качества (и изгибающего момента в корне крыла), обусловленный применением активной (наклонной) законцовки крыла - винглетов (как прямой, так и обратной стреловидности, при постоянном значении коэффициента подъемной силы Су=0.5) составил соответственно: 10,4% (1,143). Во-вторых, они свидетельствуют о высокой эффективности предлагаемых законцовок крыла (винглетов) в качестве элементов активного аэроупругого крыла. В качестве иллюстрации на фиг. 16, 17 представлены, к примеру, графики зависимости производных момента крена по углу отклонения законцовки прямой стреловидности (фиг. 8, 9) и обратной стреловидности (фиг. 12, 13), а для сравнения - штатного элерона 27 и спойлера 28, располагаемых позади оси жесткости крыла 29 (фиг. 8-14) - в зависимости от скоростного напора при различных числах М. Эффективность штатного элерона (фиг. 16, 17) в значительной мере (и в меньшей степени эффективность спойлера) в качестве органов управления самолетом по крену быстро падает с ростом скоростного напора. Это обусловлено положением элеронов позади оси жесткости крыла и его неблагоприятными деформациями. Эффективность управления с помощью вынесенной назад законцовки, или законцовки прямой стреловидности, фиг. 16, падает с ростом скоростного напора гораздо сильнее, чем эффективность штатного элерона. Смена знака производных момента крена по углу отклонения вынесенной назад законцовки (то есть реверс органа управления) наступает при относительно небольшом значении скоростного напора. Причем реверс этот глубокий, и в законе управления при сверхкритических значениях скоростного напора следует использовать отклонение органа управления в противоположную сторону. Тем самым с помощью вынесенной назад законцовки обеспечивается повышение эффективности управления по крену, решение проблемы реверса органов управления, а также управления аэродинамическими нагрузками, подавления вибраций, обусловленных полетом в неспокойной атмосфере, подавления флаттера - за счет целесообразного изменения распределения местных углов атаки по размаху упругого крыла. Эффективность управления с помощью вынесенной вперед законцовки, или законцовки обратной стреловидности, фиг. 17, падает с ростом скоростного напора гораздо меньше, чем эффективность штатного элерона. Тем самым с помощью вынесенной вперед законцовки обеспечивается повышение эффективности управления по крену, решение проблемы реверса органов управления, а также управления аэродинамическими нагрузками, подавления вибраций, обусловленных полетом в неспокойной атмосфере, подавления флаттера - за счет целесообразного изменения распределения местных углов атаки по размаху упругого крыла. При этом в законе управления во всем диапазоне скоростных напоров нет необходимости использовать отклонение органа управления в противоположную сторону.