патент
№ RU 2647556
МПК E04C3/40

УГЛОВАЯ ДВУХЛУЧЕВАЯ ОБОЙМА ДЛЯ СТЫКОВОГО СОЕДИНЕНИЯ СЕКЦИЙ ДЛИННОМЕРНОЙ ПРОДОЛЬНОЙ СЕКЦИОННОЙ КОНСТРУКЦИИ (ДПСК), ПРОФИЛЬНАЯ ДПСК СО СТЫКОВЫМ СОЕДИНЕНИЕМ СЕКЦИЙ И ВРЕМЕННЫЕ ПУТИ ПЕРЕМЕЩЕНИЯ КРУПНОГАБАРИТНЫХ И ТЯЖЕЛОВЕСНЫХ ГРУЗОВ

Авторы:
Гусев Евгений Анатольевич Генкина Евгения Георгиевна Павлова Екатерина Евгеньевна
Все (4)
Номер заявки
2016151750
Дата подачи заявки
28.12.2016
Опубликовано
16.03.2018
Страна
RU
Как управлять
интеллектуальной собственностью
Чертежи 
10
Реферат

Настоящее изобретение относится к машиностроению, а именно к длинномерной продольной секционной конструкции (далее - ДПСК) и устройству для стыкового соединения секций ДПСК - угловой двухлучевой обойме (УДО). Единый технический результат состоит в возможности создания профильных участков ДПСК и достигается за счет того, что в ДПСК, состоящей из двух и более параллельно расположенных продольных элементов, имеющих каждый, по меньшей мере, одну пару стыкуемых секций, последние соединены между собой и объединены с соответствующими стыкуемыми секциями соседнего продольного элемента, образуя пару смежных секций ДПСК, с помощью УДО, состоящей из набора связей, включающего выполненные в форме тавра внутренние связи, каждая пара из которых образует стыковочный узел, и две наружные силовые связи (НСС), выполненные, каждая, в виде швеллера и снабженные маячковыми накладками, где в средней части пластины ребра ВУС и пластины ребра НСС со стороны, обращенной к оконечностям пары стыкуемых секций соответствующего продольного элемента ДПСК, размещаемым в продольных полостях обоймы, образующихся при ее сборе между стыковочным узлом и НСС или между соседними стыковочными узлами и крайними стыковочными узлами и НСС, установлены разделяющие указанные оконечности друг от друга дистанционные упорные пластины, а также из элементов крепления обоймы в виде пары регулируемых сердечников и пары упорных вкладышей, НСС и ВУС изогнуты каждая в средней части, в плоскости расположения пластины ребра на угол изгиба (α), являющийся углом отклонения полки/полок связи от горизонтали, а каждая внутренняя запирающая связь в стыковочном узле обоймы составлена (составная ВЗС) из двух являющихся зеркальным отражением друг друга отдельных частей, торцевые кромки каждой из которых, отстоящие в стыковочном узле обоймы друг от друга на величину зазора, срезаны под углом (α/2) к вертикали с вершиной угла на свободной кромке пластины ребра, где (0<α</=90°). Конструкции ДПСК, для соединения смежных секции которых применены, в том числе УДО, использованы в качестве направляющих путей повторяющих профиль берегового откоса временных путей перемещения крупногабаритных и тяжеловесных грузов. 3 н. и 15 з.п. ф-лы, 16 ил.

Формула изобретения

1. Обойма для стыкового соединения секций длинномерной продольной конструкции (ДПСК), состоящей из двух и более параллельно расположенных продольных элементов, каждый из которых имеет по меньшей мере одну пару стыкуемых секций, состоящая из набора связей, включающего выполненные в форме тавра внутренние связи, каждая пара из которых образует при соединении друг с другом стыковочный узел, в котором одна из связей является установочной (ВУС), и образующие наружный контур обоймы две наружные силовые связи (НСС), выполненные каждая в виде швеллера и снабженные маячковыми накладками, где в средней части пластины ребра ВУС и пластины ребра НСС со стороны, обращенной к оконечностям пары стыкуемых секций соответствующего продольного элемента ДПСК, размещаемым в продольных полостях обоймы, образующихся при ее сборе между стыковочным узлом и НСС или между соседними стыковочными узлами и крайними стыковочными узлами и НСС, установлены разделяющие указанные оконечности друг от друга дистанционные упорные пластины (ДУП), боковые стороны которых являются опорными для сопрягающихся с ними торцами указанных оконечностей, а также из элементов крепления обоймы в виде пары регулируемых сердечников и пары упорных вкладышей, отличающаяся тем, что:

НСС и ВУС изогнуты каждая в средней части, в плоскости расположения пластины ребра на угол изгиба (α), являющийся углом отклонения полки/полок связи от горизонтали, а

каждая внутренняя запирающая связь в стыковочном узле обоймы составлена (составная ВЗС) из двух являющихся зеркальным отражением друг друга отдельных частей, торцевые кромки каждой из которых, отстоящие в стыковочном узле обоймы друг от друга на величину зазора, необходимого для беспрепятственной сборки с ВУС, срезаны под углом (α/2) к вертикали с вершиной угла на свободной кромке пластины ребра, где (0<α</=90°).

2. Обойма по п. 1, отличающаяся тем, что ВУС и составная ВЗС содержат необходимые для функционирования обоймы конструктивные элементы, расположенные симметрично относительно биссектрисы профилирующего угла (β) между пересекающимися прямолинейными участками продольной оси ВУС или составной ВЗС соответственно, где (β=180°-α).

3. Обойма по п. 1, отличающаяся тем, что ДУП условно состоит из двух идентичных частей, каждая - в виде фигуры, образованной из прямоугольной трапеции с острым углом (180-α/2) и полукруга радиусом (R), хорда которого является одновременно боковой стороной указанной трапеции, примыкающей к прямому углу и расположенной напротив угла (180-α/2), совмещенных друг с другом по расположенным напротив прямого угла боковым сторонам указанных условных трапеций.

4. Обойма по п. 3, отличающаяся тем, что резьбовые отверстия, выполненные на лицевой поверхности ДУП и предназначенные для крепления ДУП к связям обоймы, расположены на хордах формообразующих ДУП полукругов с радиусом (R), попарно симметрично относительно поперечной линии симметрии ДУП, являющейся биссектрисой угла (β) между прямолинейными участками продольной оси ДУП.

5. Обойма по п. 1, отличающаяся тем, что НСС выполнена в виде швеллера коробчатого П-образного сечения с ребрами жесткости на наружной поверхности пластины ребра, в которых выполнены сквозные отверстия для присоединения опорных и/или дистанционных устройств.

6. Обойма по п. 1, отличающаяся тем, что оконечность стыкуемой секции продольного элемента ДПСК представляет собой пластину, являющуюся продолжением вертикального элемента стыкуемой секции, выполненной в форме двутавровой балки, и имеет контур, соответствующий контуру продольной полости обоймы, в которой она размещена.

7. Обойма по п. 1, отличающаяся тем, что объединение связей и оконечностей стыкуемых секций продольных элементов ДПСК в обойму в ее средней части осуществляется с помощью болтовых соединений, проходящих через сквозные установочные отверстия под болты, выполненные во всех связях обоймы и ДУП.

8. Длинномерная продольная конструкция со стыковым соединением секций (ДПСК), состоящая из двух и более параллельно расположенных продольных элементов, имеющих, каждый, по меньшей мере одну пару стыкуемых секций, которые соединены между собой и объединены с соответствующими стыкуемыми секциями соседнего продольного элемента с образованием стыкового соединения смежных секций ДПСК с помощью угловой двухлучевой. обоймы (УДО) по любому из пп. 1-7 формулы.

9. ДПСК по п. 8, отличающаяся тем, что представляет собой несущий элемент арочного перекрытия.

10. ДПСК по любому из пп. 8, 9, отличающаяся тем, что в зоне УДО дополнительно размещены опорные компенсирующие и дистанционные связующие устройства.

11. ДПСК по п. 10, отличающаяся тем, что опорные компенсирующие устройства размещены по обе стороны от УДО в местах установки работающих на сжатие вертикальных элементов в виде стоек или стеновых панелей, или перегородок и служат для передачи от несущего элемента арочного перекрытия на указанные вертикальные элементы сосредоточенной нагрузки и компенсации взаимного положения УДО относительно указанных вертикальных элементов.

12. ДПСК по п. 10, отличающаяся тем, что дистанционное связующее устройство выполнено в виде швеллера или прямолинейной секции ДПСК фиксированной или изменяемой длины.

13. ДПСК по любому из пп. 8, 9, отличающаяся тем, что для соединения смежных секции ДПСК использованы УДО с разными профилирующими углами (β).

14. ДПСК по любому из пп. 8, 9, отличающаяся тем, что состоит из секции ДПСК различной и/или одинаковой длины.

15. ДПСК по любому из пп. 8, 9, отличающаяся тем, что дополнительно содержит по меньшей мере одну пару смежных секций ДПСК, соединенных прямой двухлучевой обоймой.

16. Временные пути перемещения крупногабаритных и тяжеловесных грузов, характеризующиеся тем, что повторяют профиль берегового откоса и состоят из расположенных параллельно друг другу направляющих путей, по которым перемещается или перекатывается груз, объединенных между собой дистанционными связующими устройствами, где направляющие пути представляют собой, каждый, длинномерную продольную секционную конструкцию (ДПСК), состоящую из двух и более параллельно расположенных продольных элементов, имеющих, каждый, по меньшей мере одну пару стыкуемых секций, которые соединены между собой и объединены с соответствующими стыкуемыми секциями соседнего продольного элемента с образованием стыкового соединения смежных секций ДПСК, соединенных на прямолинейных участках направляющих путей с помощью прямой двухлучевой обоймы (ПДО), а в местах стыка прямолинейных участков направляющих путей с наклонными - с помощью УДО по любому из пп. 1-7 формулы.

17. Временные пути перемещения по п. 16, отличающиеся тем, что дистанционное связующее устройство выполнено в виде прямолинейной трубной конструкции или прямолинейной секции ДПСК.

18. Временные пути перемещения по любому из пп. 16, 17, отличающиеся тем, что дополнительно содержат установленные в местах соединения направляющих путей с дистанционными связующими устройствами по обе стороны от ПДО опорные распределительные устройства.

Описание

[1]

Группа изобретений(изобретение) относится к машиностроению, а именно к устройству для стыкового соединения секций длинномерной продольной секционной конструкции (далее - ДПСК) – к угловой двухлучевой обойме (УДО) и ДПСК со стыковым соединением секций с помощью УДО, которая может быть использована, например:

[2]

- в качестве несущего элемента арочного перекрытия - совмещенного в одну профильную из ригелей и стоек конструкцию арочного портала для возведения временных укрытий, складских или производственных помещений, теплиц крупного фермерского хозяйства;

[3]

- в составе конструкции временных путей перемещения (ВПП), повторяющих профиль берегового откоса и примыкающей к нему площадки погрузочно-разгрузочных работ, используемых, например, для выкатывания из воды на берег крупногабаритных и тяжеловесных грузов.

[4]

Известна (RU, 2589807, C1, МПК B60P 7/06, B60P 3/022, E04C 3/04, опубл. 10.07.2016.) принятая за прототип для объекта «профильная ДПСК со стыковым соединением секций» ДПСК, состоящая из двух и более параллельно расположенных продольных элементов, имеющих каждый, по меньшей мере, одну пару стыкуемых секций, которые соединены между собой и объединены с соответствующими стыкуемыми секциями соседнего продольного элемента с помощью принятой за прототип для объекта «УДО для стыкового соединения секций ДПСК» обоймы, состоящей:

[5]

из набора связей, включающего

[6]

- выполненные в форме тавра внутренние связи, каждая пара из которых образует при соединении друг с другом стыковочный узел, в котором одна из связей является установочной (ВУС), и

[7]

- две наружные силовые связи (НСС), образующие наружный контур обоймы и снабженные маячковыми накладками,

[8]

а также из элементов крепления обоймы в виде пары регулируемых сердечников и пары упорных вкладышей, при этом:

[9]

в каждой из продольных полостей, образующихся при сборе обоймы между соседними стыковочными узлами обоймы, а также между крайними стыковочными узлами обоймы и НСС, размещены оконечности пары стыкуемых секций соответствующего продольного элемента ДПСК, причем указанные оконечности отделены друг от друга дистанционной упорной пластиной (ДУП), установленной в средней части вертикальной пластины (пластины ребра) соответствующей ВУС и вертикальной пластины (пластины ребра) НСС со стороны, обращенной к оконечностям,

[10]

скругленные по радиусу боковые стороны ДУП являются опорными для сопрягающихся с ними торцами указанных оконечностей, каждая из которых представляет собой пластину, являющуюся продолжением вертикального элемента (пластины ребра) стыкуемой секции, выполненной в форме двутавровой балки, и имеет контур, соответствующий контуру продольной полости обоймы, в которой она размещена;

[11]

объединение связей и оконечностей стыкуемых секций продольных элементов ДПСК в обойму в ее средней части осуществляется с помощью болтовых соединений, проходящих через сквозные установочные отверстия под болты, выполненные во всех связях обоймы и ДУП.

[12]

К недостаткам известного технического решения, препятствующим получению нижеуказанного единого технического результата, является выполнение входящих в обойму силовых связей прямолинейными. Такая прямолинейная (с прямолинейными связями) двухлучевая обойма (ПДО) предназначена для восприятия растягивающих и сжимающих нагрузок и для использования, соответственно, исключительно в прямолинейных ДПСК таких, как тяги, штанги, раскосы и по отдельности - стойки и ригели.

[13]

Ниже представлены аналогичные заявленным ВПП технические решения.

[14]

Известно (http:www.sarens.ru/ru/aspx) относящееся к причальным сооружениям изготавливаемое фирмой Саренс (Sarens) техническое решение, в котором используется перегрузка тяжеловесного и крупногабаритного груза с плавсредства (понтон) на причал (или наоборот) методом скольжения - без отрыва основания груза от опорной поверхности. Направляющими путями перемещения в этом случае являются закрепленные на понтоне и причале металлические опорные балки, по которым перемещается груз посредством гидроцилиндров и тросовых систем. При изменении уровня воды водоема плавсредство с помощью имеющейся системы забора и сброса водного балласта поддерживает одинаковый с причалом уровень воды для обеспечения горизонтальной опорной поверхности балок в процессе перемещения по ним груза. Основной недостаток данного технического решения - это большие материальные и денежные затраты на строительство капитального гидротехнического сооружения (причала) на высоту, соответствующую максимальному уровню воды в водоеме. В условиях единичного использования выгрузки/погрузки грузов большой массы применяется одна, рассчитанная на большую грузоподъемность, конструкция металлических опорных балок. Таким образом, исключена вариативность по грузоподъемности, т.к. увеличение числа опорных балок приводит, соответственно, к большим затратам.

[15]

Известны (Справочник монтажника, т. 2. «Монтаж технологического оборудования», раздел VI. «Транспортные и погрузочно-разгрузочные работы» под ред. В.З. Маршева, М., Стройиздат, 1976 г.) ВПП, состоящие из расположенных параллельно друг другу направляющих путей перемещения в виде рельсов (ДПСК из одного продольного элемента), по которым перемещается или перекатывается груз. Площадка погрузочно-разгрузочных работ при этом формируется за счет использования самого плавсредства, посаженного своей «скулой» на дно водоема, при этом зона между бортом плавсредства и склоном берегового откоса засыпается песчано-гравийной смесью. Основным недостатком известного технического решения является чрезвычайно высокая трудоемкость формирования площадки погрузочно-разгрузочных работ при изменении уровня воды: для обеспечения горизонтальности опорных поверхностей плавсредства под грузом и опорных поверхностей берегового откоса требуются большие объемы земляных работ (насыпка или срез грунта) и, соответственно, последующая рекультивация почвы (исправление берегового откоса). Кроме того, следует отметить существенное ограничение весовых характеристик перемещаемых с помощью известной конструкции ВПП грузов из-за больших нагрузок на «скулу» плавсредства в момент прохождения груза над бортом плавсредства и из-за недостаточной несущей способности свеженасыпанной песчано-гравийной подушки под направляющими путями перемещения.

[16]

Известно (SU, а.с. №1463839, МПК(6) E01D 21/00, E01D 19/04, опубл. 07/03/1989) устройство для опускания пролетного моста на постоянные опорные части (причальное сооружение на необорудованном берегу), имеющее в своей конструкции береговые балки (направляющие пути перемещения) с опорами, которые, в свою очередь, уложены на береговом откосе вблизи уреза воды в водоеме. Опорная поверхность береговых балок служит для перемещения грузов методом скольжения с помощью лебедок или тросовых систем. Недостатком этого технического решения является сложность конструкции береговых путей перемещения, связанная с тем, что береговые балки используются в качестве береговой опоры переходного моста с плавсредства, для которой с целью компенсации зазоров в упорных элементах причального сооружения и устранения крена плавсредства во время перемещения груза необходимо применение специального ложа. Следует отметить также невозможность применения вариативности береговых балок по грузоподъемности: независимо от веса перемещаемого груза необходимо гарантировать восприятием нагрузки от навала плавсредства с другими имеющимися на нем грузами.

[17]

Известны (ВИНИТИ «Итоги науки и техники», сер. «Взаимодействие разных видов транспорта и контейнерные перевозки», т. 16. «Развитие перевозок негабаритных грузов большой массы», под ред. акад. АТР С.М. Резера, М., 1993, стр. 107-109) ВПП, где площадка погрузочно-разгрузочных работ устроена с помощью береговых балок (направляющие пути перемещения), уложенных, каждая, на береговом откосе таким образом, чтобы один конец балки находился в воде с учетом ее минимального уровня, а другой - выше максимального, при этом груз перемещается по ним методом перекатывания. Несмотря на очевидную простоту и экономичность этого способа работ, способ применим только для грузов цилиндрической формы, достигающих средних величин по массе и длине, так как для грузов с большими значениями этих характеристик требуется использование дополнительных, хорошо подогнанных к грузу бандажей заводского изготовления, способных увеличить площадь распределения нагрузок, возникающих между грузом и опорной поверхностью береговых балок, и усилить прочность корпуса груза. Укладка используемых в данной конструкции береговых балок повышенной металлоемкости требует применения малой грузоподъемной техники (например, трубоукладчиков), которая, к сожалению, не может обеспечить точность установки опорных поверхностей по уровню и параллельность путей перемещения относительно друг друга.

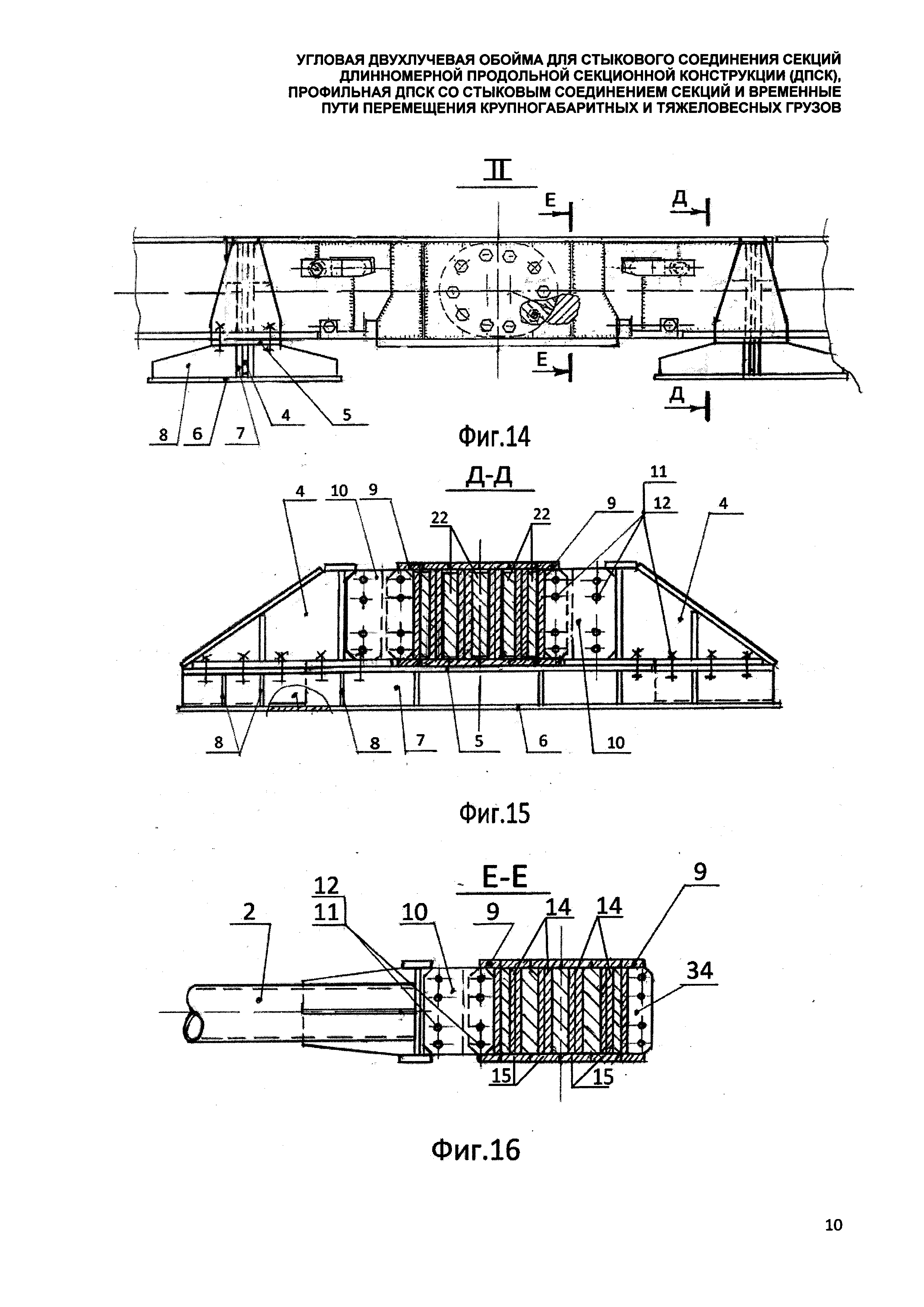
[18]

Известно (SU, №1481166 A1, МПК 4 B65G 69/22, опубл. 23.05.1989) устройство для перемещения грузов с судна на берег, с помощью которого осуществляются погрузочно-разгрузочные работы методом скольжения груза по береговым балкам на различных углах берегового откоса при колебаниях уровня воды. Береговые балки с опорами укладываются на всем склоне берегового откоса одним концом ниже минимального уровня воды, другим - выше оптимального. Особенностью данного устройства является наличие у береговых балок продольных ребер жесткости, обеспечивающих их взаимное сопряжение. Недостаток заключается в том, что для заданного устройства используются специальные балки, выполненные под груз или группу грузов максимальной массы.

[19]

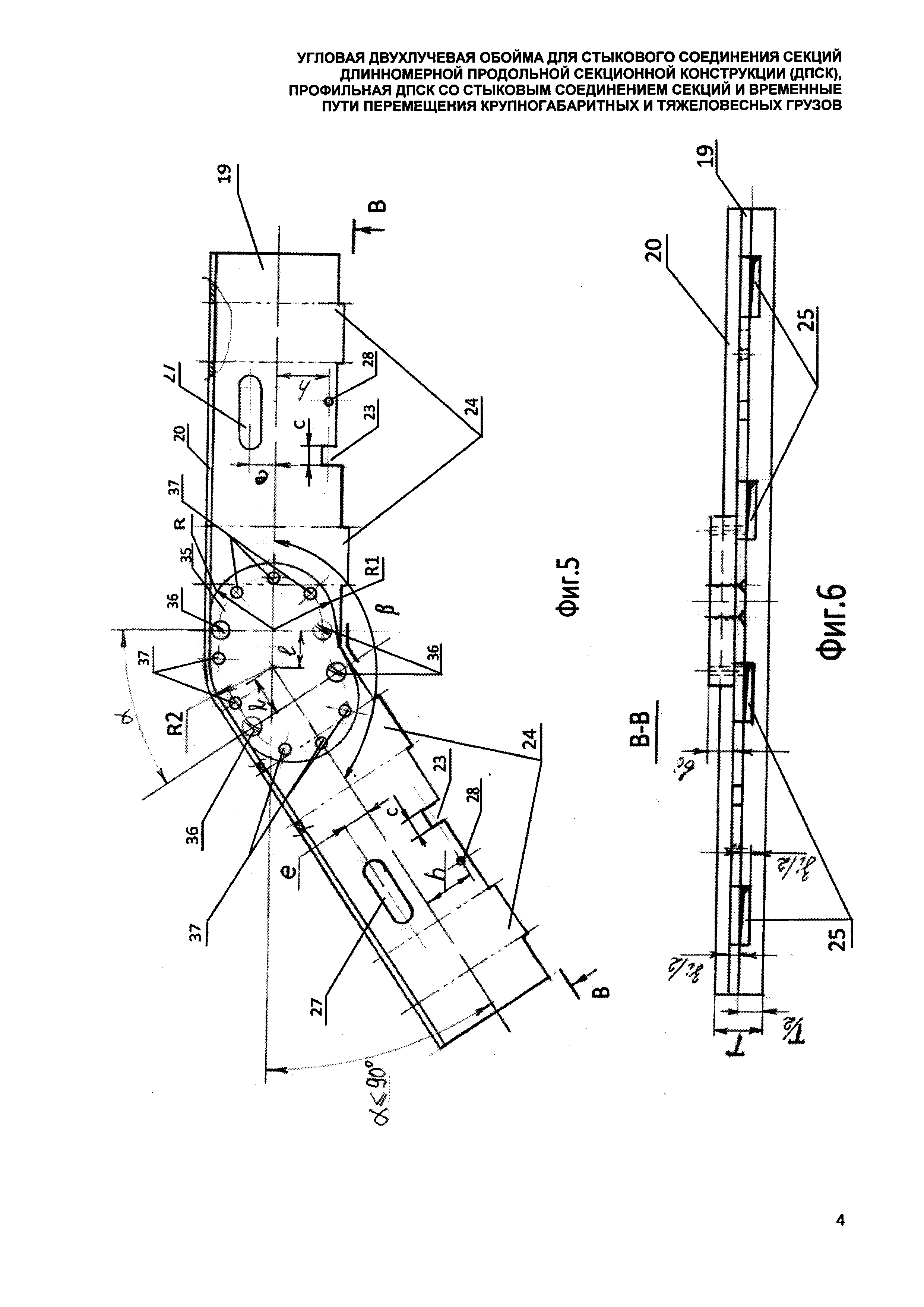
Общим же недостатком приведенных выше известных технических решений (аналогов ВПП) является отсутствие в конструкциях технического осуществления перехода наклонного участка направляющих путей перемещения в горизонтальный, на котором производится завершающая стадия перегрузки - погрузка на другой вид транспорта. Кроме того, в аналогах не оговорена проблема стыков прямых частей (секций) направляющих путей ВПП с учетом того, что стыковое соединение должно быть такой же прочности и жесткости, что и сами направляющие пути перемещения.

[20]

Задачей настоящего изобретения является расширение функциональных возможностей ДПСК.

[21]

Единый технический результат, который достигается в результате осуществления настоящего изобретения, состоит в возможности создания профильных участков ДПСК с помощью УДО.

[22]

В данном изобретении речь идет о ДПСК, состоящей из двух и более параллельно расположенных продольных элементов. Каждый продольный элемент имеет, по меньшей мере, одну пару стыкуемых секций. Секции продольного элемента соединены (соединение по длине) между собой и объединены (соединение по ширине) с соответствующими (противоположными) секциями соседнего продольного элемента с помощью стыкового соединения - обоймы.

[23]

Обойма - стыковое соединение смежных секций ДПСК, состоящее из двух наружных и расположенных между ними внутренних связей. Пара внутренних связей обоймы, выполненных, каждая, в виде тавра и собранных в стыковочный узел, образуют двутавр. Каждая секция (кроме оконечности) продольного элемента ДПСК также представляет собой двутавр. При объединении с помощью обоймы противоположные секции продольных элементов в сборе со связями обоймы образуют конструктивный элемент - стыковое соединение двух смежных секций ДПСК, верхняя и нижняя грани которого параллельны друг другу, так как представляют собой плоскости, составленные из наружных поверхностей верхних/нижних полок двутавров (двутавры секций продольных элементов и двутавры стыковочных узлов обоймы).

[24]

Вертикальная продольная плоскость симметрии ДПСК (1) - вертикальная продольная плоскость, проходящая по середине ДПСК и делящая ДПСК вдоль на одинаковое и равное количество продольных элементов (стыкуемых секций и связей обоймы).

[25]

Горизонтальная центральная продольная плоскость секции ДПСК (2) - плоскость расположения нейтральных линий (линии отсутствия напряжений) объединенных обоймой противоположных (смежных по ширине) секций продольных элементов ДПСК.

[26]

Центральная линия симметрии ДПСК (3) - линия пересечения вертикальной продольной плоскости симметрии ДПСК (1) с горизонтальной центральной продольной плоскостью секции ДПСК (2), является ломаной линией, которая определяет профиль ДПСК.

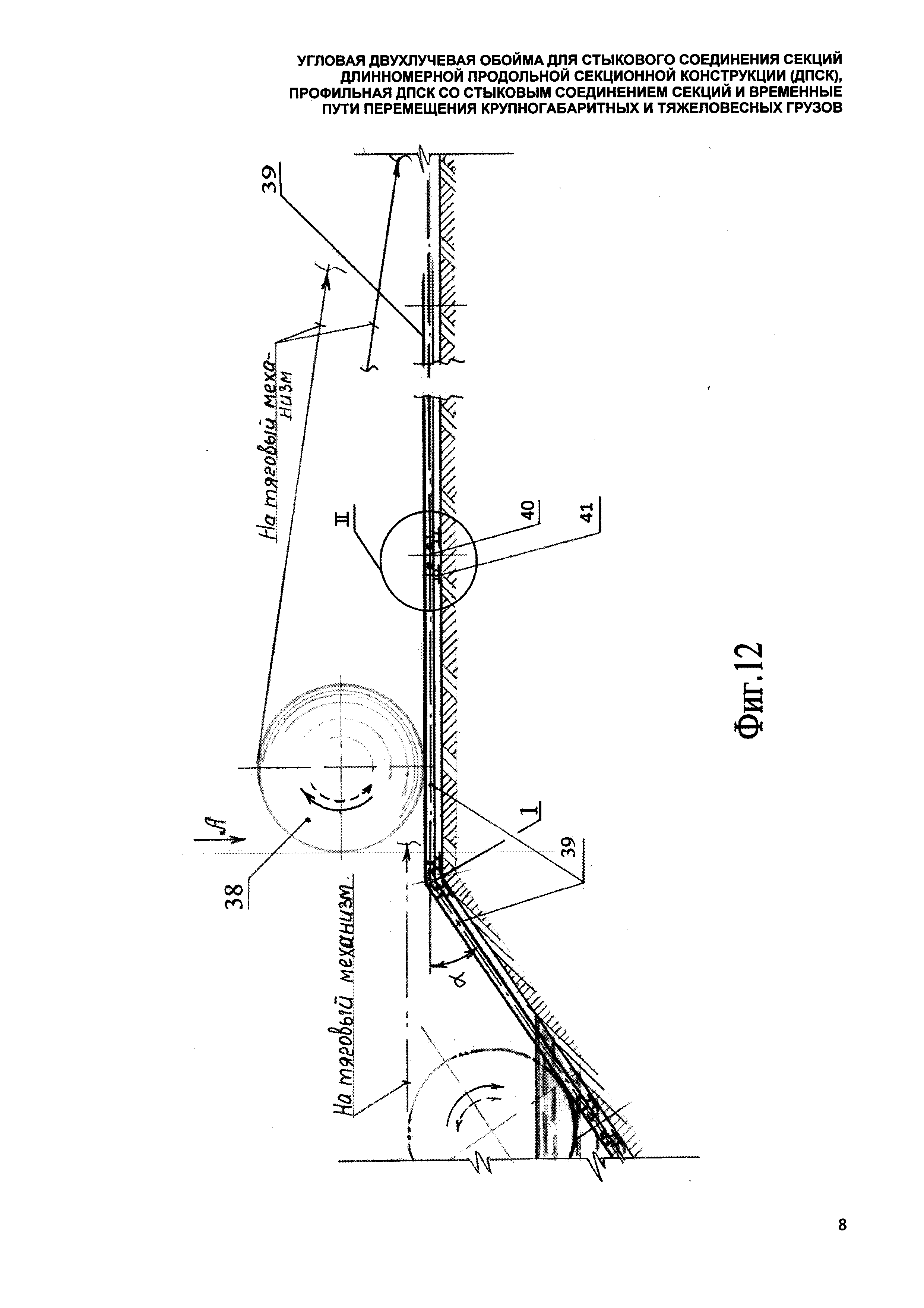
[27]

Центральный луч обоймы - исходящий из центра (место перелома центральной линии симметрии ДПСК (3)) обоймы участок центральной линии симметрии ДПСК (3).

[28]

Продольная ось связи обоймы - проекция центральной линии симметрии ДПСК (3) на плоскость ребра связи обоймы.

[29]

Луч связи обоймы - исходящий из центра связи (проекция центра обоймы на плоскость ребра связи) участок продольной оси связи.

[30]

УДО - двухлучевая обойма, лучи каждой связи которой располагаются под углом друг к другу (продольная ось - ломаная линия). В УДО (0<α</=90°), a (180°>β>90°), где:

[31]

α - угол изгиба - требуемый расчетный угол отклонения от горизонтали одного из лучей входящей в обойму связи (единой или составной связи);

[32]

β - профильный угол - угол между лучами входящей в обойму связи.

[33]

ПДО - двухлучевая обойма, лучи каждой связи которой лежат на одной прямой (образуют единую прямую ось). ПДО характеризуется тем, что (α=0), (β=180°).

[34]

Вышеуказанный технический результат для объекта «обойма» достигается за счет того, что в обойме для стыкового соединения секций ДПСК, состоящей из двух и более параллельно расположенных продольных элементов, каждый из которых имеет, по меньшей мере, одну пару стыкуемых секций, состоящей из набора связей, включающего выполненные в форме тавра внутренние связи, каждая пара из которых образует при соединении друг с другом стыковочный узел, в котором одна из связей является ВУС, и образующие наружный контур обоймы две НСС, выполненные, каждая, в виде швеллера и снабженные маячковыми накладками, где в средней части пластины ребра ВУС и пластины ребра НСС со стороны, обращенной к оконечностям пары стыкуемых секций соответствующего продольного элемента ДПСК, размещаемым в продольных полостях обоймы, образующихся при ее сборе между стыковочным узлом и НСС или между соседними стыковочными узлами и крайними стыковочными узлами и НСС, установлены разделяющие указанные оконечности друг от друга ДУП, боковые стороны которых являются опорными для сопрягающихся с ними торцами указанных оконечностей, а также из элементов крепления обоймы в виде пары регулируемых сердечников и пары упорных вкладышей,

[35]

НСС и ВУС изогнуты, каждая, в средней части, в плоскости расположения пластины ребра на угол изгиба (α), являющийся углом отклонения полки/полок связи от горизонтали, а

[36]

каждая внутренняя запирающая связь в стыковочном узле обоймы составлена (составная ВЗС) из двух являющихся зеркальным отражением друг друга отдельных частей, торцевые кромки каждой из которых, отстоящие в стыковочном узле обоймы друг от друга на величину зазора, необходимого для беспрепятственной сборки с ВУС, срезаны под углом (α/2) к вертикали с вершиной угла на свободной кромке пластины ребра, где (0<α</=90°).

[37]

ДПСК - это конструкция, одна из сторон которой, сформированная путем принудительного контактирования на всем протяжении при сборке с направляющей контрольной плоскостью, принята установочной. Установочная сторона ДПСК является основанием для всех составляющих ДПСК элементов и обращена при выполнении своей функции в сторону приложения нагрузки. У внутренних связей обоймы частью этой плоскости обладает ВУС (как один из элементов ДПСК): внешняя плоскость ее полки является также установочной.

[38]

ВУС и составная ВЗС обоймы имеют, каждая, необходимые для функционирования обоймы конструктивные элементы (пазы, отверстия, выступы, вырезы и т.п.), которые симметричны относительно биссектрисы профилирующего угла (β) между пересекающимися прямолинейными участками продольной оси связи, где (β=180°-α), при этом:

[39]

- пластина ребра ВУС смещена относительно продольной линии симметрии полки ВУС к ее краю на величину, равную толщине составной пластины ребра составной ВЗС (или толщине пластины ребра правой/левой части составной ВЗС);

[40]

- на поверхности полки ВУС, вплотную к пластине ребра, со стороны прилегания в стыковочном узле обоймы составной ВЗС имеются сквозные прямоугольные пазы, в которые при сборке стыковочного узла вставляются ответные П-образные выступы-запоры, выполненные на свободной кромке составной пластины ребра составной ВЗС (на свободной кромке пластины ребра правой/левой части ВЗС);

[41]

- на свободной кромке пластины ребра ВУС, которая является разноуровневой относительно полки и имеет средний высокий участок и более низкие, расположенные на одном уровне крайние участки, выполнены П-образные выступы-запоры, которые вставляются при сборке стыковочного узла обоймы в ответные сквозные прямоугольные пазы, расположенные на соответствующих разноуровневых участках составной полки составной ВЗС, вплотную к составной пластине ребра составной ВЗС, со стороны, обращенной в стыковочном узле к пластине ребра ВУС;

[42]

- в пластине ребра каждой внутренней связи обоймы (в ВУС - между полкой и продольной осью, в составной ВЗС - между свободной кромкой и продольной осью), если смотреть на обойму в сборе, попарно симметрично относительно биссектрисы угла (β) выполнены по два продольно ориентированных (параллельных продольной оси связи или полке тавра) сквозных прямоугольных паза, предназначенных для установки сердечников,

[43]

- разноуровневые участки свободной кромки пластины ребра ВУС, как и разноуровневые участки составной полки составной ВЗС, отделены друг от друга сквозными П-образными пазами, предназначенными каждый для установки упорного вкладыша с набором регулировочных прокладок.

[44]

Толщина пластины ребра ВУС равна толщине составной пластины ребра составной ВЗС и, соответственно, половине расстояния между двумя парами противостоящих в обойме оконечностей стыкуемых секций соседних продольных элементов ДПСК. Ширина полок внутренних связей, образующих стыковочный узел обоймы, равна, каждая, расстоянию между продольными осями пластин оконечностей стыкуемых секций соседних продольных элементов ДПСК, между которыми этот стыковочный узел располагается.

[45]

Для осуществления сборки стыковочного узла УДО необходимо выполнение следующих условий: (1) ВЗС должна быть составной и (2) между частями ВЗС в стыковочном узле обоймы должен быть технологический зазор, величина которого зависит от угла (β).

[46]

НСС - швеллер коробчатого П-образного сечения с ребрами жесткости на наружной поверхности пластины ребра, в которых выполнены сквозные отверстия для присоединения опорных компенсирующих и/или дистанционных связующих устройств, которые определяют специфику назначения ДПСК с учетом применения ПДО и/или УДО.

[47]

Установленные в средней части пластины ребра ВУС и в средней части пластины ребра НСС со стороны, обращенной к оконечностям пары стыкуемых секций соответствующего продольного элемента ДПСК, ДУП условно состоят, каждая, из двух идентичных частей. Каждая часть ДУП представляет собой фигуру, образованную из прямоугольной трапеции с острым углом (180-α/2), где 0<α</=90°, и полукруга радиусом (R), хорда которого является одновременно боковой стороной указанной трапеции, примыкающей к прямому углу и расположенной напротив угла (180-α/2), совмещенных друг с другом по расположенным напротив прямого угла боковым сторонам указанных условных трапеций. Продольная ось ДУП представляет собой пересекающуюся в центре ДУП (совпадает с центром связи обоймы) ломаную прямую. Скругленные по радиусу боковые стороны ДУП являются опорными для сопрягающихся с ними торцами оконечностей стыкуемых секций продольного элемента ДПСК, соответственно толщина ДУП должна быть равна толщине торцов указанной пары оконечностей. Базовые опорные поверхности (выгнутые боковые стороны) ДУП необходимы для обеспечения соосности и центрирования контактирующих с ними оконечностей стыкуемых секций.

[48]

На лицевой поверхности ДУП выполнены предназначенные для крепления ДУП к связям (ВУС и НСС) обоймы резьбовые отверстия. Указанные резьбовые отверстия расположены на хордах формообразующих ДУП полукругов с радиусом (R), попарно симметрично относительно поперечной линии симметрии ДУП, являющейся биссектрисой угла (β) между прямолинейными участками продольной оси ДУП.

[49]

Оконечность стыкуемой секции продольного элемента ДПСК представляет собой пластину, являющуюся продолжением вертикального элемента пластины ребра выполненной в форме двутавровой балки стыкуемой секции, и имеет контур, соответствующий контуру продольной полости обоймы, в которой она размещена. Одна кромка пластины оконечности стыкуемой секции является разноуровневой относительно продольной оси секции, причем высокий крайний участок отделен от низкого участка сквозным П-образным пазом, предназначенным для установки упорного вкладыша обоймы с набором регулировочных прокладок, а другая, противоположная кромка пластины оконечности - прямая, одноуровневая, параллельная продольной оси секции. Между продольной осью пластины оконечности и ее прямолинейной кромкой выполнен сквозной продольно ориентированный прямоугольный паз, предназначенный для установки сердечника обоймы.

[50]

Используемые для объединения всех связей в обойму, в ее средней части сквозные установочные отверстия под болты, выполненные в ДУП и всех связях обоймы, расположены симметрично относительно биссектрисы угла (β) по радиусам R1 окружностей, которые являются концентрическими окружностям с радиусом (R).

[51]

Дополнительные два отверстия под болты расположены каждое в ДУП на расстоянии «а» от ее продольной оси, где «а»=R, по разные стороны от биссектрисы угла (β) и на некотором расстоянии от вершины ДУП, которое зависит от технологического зазора между частям (полусвязями) составной ВЗС в стыковочном узле УДО.

[52]

Биссектриса профилирующего угла (β) может разделять связи УДО на равные или не равные по длине части (плечи), однако при этом в одной обойме правые части всех связей имеют одинаковую длину и, соответственно, левые части всех связей имеют также одинаковую между собой длину.

[53]

Элементы крепления обоймы в виде пары регулируемых сердечников и пары упорных вкладышей расположены попарно симметрично относительно поперечной плоскости, являющейся местом расположения биссектрис профилирующего угла (β) каждой связи УДО.

[54]

Каждый из пары регулируемых сердечников состоит из сопрягающихся между собой по наклонным поверхностям неподвижной и подвижной частей и устанавливается в любую из двух поперечных полостей, образованных, каждая, при сборе стыкуемых секций в обойму внутренними поверхностями соосных продольно ориентированных сквозных прямоугольных пазов, выполненных в пластинах ребер всех связей обоймы и оконечностей стыкуемых секций. Смещение «е» продольной оси установки сердечника от продольной оси УДО необходимо для гарантированного определения взаимного положения продольных осей смежных стыкуемых секций продольных элементов ДПСК и продольных осей силовых связей УДО, что важно для создания напряженного состояния в зоне упорных вкладышей УДО для осуществления контроля прямолинейности стыкуемых секций продольных элементов ДПСК в пределах прямолинейных участков продольных осей обоймы.

[55]

Размещение сердечников в указанных поперечных полостях производится с помощью установленных неподвижно на наружных поверхностях НСС маячковых накладок, представляющих, каждая, L-образную толстостенную пластину, на верхней поверхности горизонтального элемента которой выполнена опорная площадка, от которой вдоль нижней линии сквозного продольно ориентированного прямоугольного паза, расположенного на пластине ребра НСС, производится ориентация устанавливаемого в обойму сердечника.

[56]

При выравнивании по «маячку», которым служит вертикальная стенка площадки уступа в верхней части вертикального элемента маячковой накладки, боковых стенок П-образных поперечных каналов, образованных при сборке стыкуемых секций в обойму внутренними поверхностями сквозных П-образных пазов в оконечностях и связях обоймы, достигается соосность (в пределах прямолинейных участков продольной оси обоймы) оконечностей стыкуемых секций в продольных полостях обоймы.

[57]

Каждый из пары упорных вкладышей выполнен в виде соединенного с пластиной прямоугольного бруска, который размещается внутри любого из двух указанных поперечных П-образных каналов. При этом проушины пластины упорного вкладыша охватывают снаружи НСС обоймы, а в отверстиях проушин размещаются установочные оси, проходящие поперек обоймы через сквозные отверстия, выполненные в пластинах оконечностей стыкуемых секций и пластинах ребер всех связей обоймы под (если смотреть в собранной обойме) сквозными продольно ориентированными прямоугольными пазами, вблизи сквозных П-образных пазов.

[58]

Использование в УДО разрезных регулируемых сердечников, упорных вкладышей, а также маячковых накладок необходимо для обеспечения строгой направленности стыкуемых под углом секций продольных элементов ДПСК в соответствии с углом УДО, чтобы избежать (не допустить) дополнительного перелома стыка внутри УДО.

[59]

Преимущество заявленной УДО перед существующими аналогами состоит в возможности создания с ее помощью профильной ДПСК.

[60]

Единый технический результат для объекта «профильная длинномерная продольная конструкция со стыковым соединением секций» достигается за счет того, что профильная ДПСК состоит из двух и более параллельно расположенных продольных элементов, имеющих каждый, по меньшей мере, одну пару стыкуемых секций, которые соединены между собой и объединены с соответствующими стыкуемыми секциями соседнего продольного элемента с образованием стыкового соединения смежных секций ДПСК с помощью вышеописанной конструкции УДО.

[61]

В частном случае исполнения профильная ДПСК представляет собой несущий элемент (арка, хребтовой пояс) арочного перекрытия, контур (профиль) которого может быть изменен (пунктирные линии на фиг. 1) за счет применения секции ДПСК различной и/или одинаковой длины, а также использования для соединения смежных секции ДПСК УДО с разными профилирующими углами (β). Прочностные характеристики (показатели) арки зависят от количества продольных секционных элементов в составе ДПСК.

[62]

В арочных перекрытиях с большими внутренними объемами для снятия местной нагрузки от части несущего элемента арочного перекрытия на основание (пол, фундамент и т.п.) используют, как правило, вертикальные элементы в виде, например стоек, стеновых панелей или перегородок. В этом случае в местах установки работающих на сжатие вертикальных элементов, по обе стороны от УДО размещают опорные компенсирующие устройства, которые служат для передачи от несущего элемента арочного перекрытия на указанные вертикальные элементы сосредоточенной нагрузки и компенсации взаимного положения УДО относительно указанных вертикальных элементов.

[63]

В зоне УДО могут быть размещены дистанционные связующие устройства, выполненные, например, в виде швеллера или прямолинейной секции ДПСК фиксированной или изменяемой длины, выполняющие роль поперечных связей между арками (хребтовыми поясами).

[64]

В частном случае исполнения профильная ДПСК может содержать, по меньшей мере, одну пару смежных секций ДПСК, соединенных ПДО.

[65]

Вышеуказанный единый технический результат для объекта «ВПП крупногабаритных и тяжеловесных грузов» достигается за счет того, что ВПП повторяют профиль берегового откоса и состоят из расположенных параллельно друг другу направляющих путей, по которым перемещается или перекатывается груз, объединенных между собой дистанционными связующими устройствами, где направляющие пути представляют собой каждый ДПСК, состоящую из двух или более параллельно расположенных продольных элементов, имеющих каждый, по меньшей мере, одну пару стыкуемых секций, которые соединены между собой и объединены с соответствующими стыкуемыми секциями соседнего продольного элемента с образованием стыкового соединения смежных секций ДПСК, соединенных на прямолинейных участках направляющих путей с помощью ПДО, а в местах стыка прямолинейных участков с наклонными - с помощью УДО вышеописанной конструкции.

[66]

Дистанционное связующее устройство может быть выполнено в виде прямолинейной трубной конструкции или прямолинейной секции ДПСК.

[67]

В местах соединения направляющих путей с дистанционными связующими устройствами, по обе стороны от ПДО, как правило, устанавливают опорные распределительные устройства, которые служат для уменьшения путем распределения удельной нагрузки от груза и направляющих путей на грунт.

[68]

Предлагаемая конструкция ВПП позволяет унифицировать конструкцию направляющих путей за счет выполнения их секционными - в виде ДПСК из различного количества секции различной и/или одинаковой длины и грузоподъемности. За счет секционности направляющих путей, применения в конструкции ВПП УДО и ПДО, а также дистанционных связующих устройств повышается удобство сборки направляющих путей и в целом - ВПП. Возможность применения наборных (секционных) направляющих путей позволяет использовать ВПП для перемещения грузов любой формы и массы.

[69]

С помощью заявленной конструкции ВПП удалось совершенствовать систему обустройства участка необорудованного берега и берегового откоса путем формирования из связанных между собой с помощью ПДО и УДО секций ДПСК профильных направляющих путей для перемещения/перекатывания по ним на берег груза как методом скольжения, так и методом перекатывания.

[70]

Повышение эффективности процесса погрузочно-разгрузочных работ достигается за счет вариативности профиля ВПП относительно берегового откоса, имеющего как минимум один и/или более перегибов на уклоне берегового откоса, а также существенного снижения трудоемкости при формировании площадки погрузочно-разгрузочных работ.

[71]

Для пояснения сущности заявленного технического решения представлены следующие графические материалы:

[72]

- фиг. 1 - фронтальный вид арочного перекрытия - арка (хребтовой пояс) арочного перекрытия, где:

[73]

H - высота арочного свода,

[74]

B - ширина арочного свода у основания,

[75]

«lo» - концевая секция ДПСК,

[76]

«l1, l2, l3» - промежуточная секция ДПСК;

[77]

- фиг. 2 - фрагмент (I фиг. 1) стыкового соединения ДПСК с размещенными в зоне УДО опорными компенсирующими и дистанционными связующими устройствами;

[78]

- фиг. 3 - вид А-А фиг. 2: поперечное сечение стыкового соединения секций ДПСК в двухлучевой угловой обойме с видом на дистанционное связующее устройство;

[79]

- фиг. 4 - вид Б-Б фиг. 2: поперечное сечение стыкового соединения секций ДПСК с видом на опорное компенсирующее устройство;

[80]

- фиг. 5 - фронтальный вид ВУС обоймы в сборе с ДУП, где:

[81]

«T» - ширина полки ребра ВУС,

[82]

«R» - радиус формообразующего ДУП полукруга,

[83]

«e» - эксцентриситет - расстояние между продольной осью ВУС и продольной осью сквозного продольно ориентированного прямоугольного паза,

[84]

«l» - расстояние между центром ДУП и центром окружности (R) скругления боковых сторон ДУП,

[85]

«h» - расстояние от продольной оси связи до сквозного отверстия под установочную ось для крепления упорного вкладыша;

[86]

- фиг. 6 - В-В: вид В фиг. 5 на ВУС, где:

[87]

«Зi» - зазор между двумя противостоящими в обойме оконечностями стыкуемых секций соседних продольных элементов ДПСК;

[88]

- фиг. 7 - фронтальный вид левой и правой частей составной ВЗС обоймы (контурными линями указано относительное расположение частей составной ВЗС в УДО);

[89]

- фиг. 8 - вид сверху на левую и правую части составной ВЗС обоймы;

[90]

- фиг. 9 - фронтальный вид на УДО в сборе со стороны НСС, где Δi и Δδ - зазоры между оконечностями стыкуемых секций ДПСК, связями обоймы и бруском упорного вкладыша;

[91]

- фиг. 10 - фронтальный вид оконечности стыкуемой секции продольного элемента ДПСК, где:

[92]

«L/2» - длина оконечности стыкуемой секции продольного элемента ДПСК,

[93]

«bi» - толщина пластины ребра оконечности;

[94]

- фиг. 11 - вид сверху на оконечность стыкуемой секции продольного элемента ДПСК;

[95]

- фиг. 12 - фронтальный вид ВПП;

[96]

- фиг. 13 - вид А-А (вид А фиг. 12) в плане на ВПП, где «L1» - длина дистанционного связующего устройства;

[97]

- фиг. 14 - фрагмент II фиг. 12: фронтальный вид ВПП в зоне стыкового соединения секций направляющих путей с помощью ПДО;

[98]

- фиг. 15 - поперечное сечение (Д-Д фиг. 14) стыкового соединения секций ДПСК с видом на опорное распределительное устройство;

[99]

- фиг. 16 - поперечное сечение (Е-Е фиг. 14) стыкового соединения секций ДПСК с видом на дистанционное связующее устройство в виде трубной конструкции.

[100]

Ниже, в качестве подтверждения промышленной осуществимости заявленных объектов приводится подробное описание двух видов ДПСК, для стыкового соединения секций которых использованы УДО или УДО в комбинации с ПДО и которые оснащены опорными компенсирующими и дистанционными связующими устройствами.

[101]

Пример 1

[102]

Несущий элемент (арка) арочного перекрытия представляет собой (фиг. 1-4) ДПСК, состоящую из двух параллельно расположенных секционных продольных элементов. Смежные секции (lo-l1, l1-l2, l2-l3…li-li-1) каждого продольного элемента ДПСК расположены в данном частном случае относительно друг друга под одинаковым углом (β=180-α, где α</=90°) соединены между собой последовательно и объединены в местах соединения (стыка) с соответствующими противолежащими секциями (не показаны) второго продольного элемента (не показан) с помощью УДО 1 с образованием стыковых соединений смежных секций ДПСК.

[103]

Концевая секция (lo) арки (концевая секция ДПСК) закреплена на фундаменте (постоянном или временном) с помощью анкерного устройства.

[104]

В зоне каждой УДО 1, по обе стороны от нее размещены поперечные связи (дистанционные связующие устройства) 2, а в местах установки работающих на сжатие вертикальных стоек (обозначены пунктиром на фиг. 2) - опорные компенсирующие устройства (опорная конструкция) 3, которые служат для передачи от несущего элемента арочного перекрытия на вертикальные стойки сосредоточенной нагрузки и компенсации взаимного положения УДО 1 и вертикальных стоек.

[105]

Опорное компенсирующее устройство 3 состоит (фиг. 4) из двух кронштейнов 4 с консольной частью в виде приваренной к основанию вертикальной пластины каждый, установленных и закрепленных на верхней плите (ложе) 5 опорной распределительной плиты 6, двух лаг 7 с поперечными ребрами 8 и винтового механизма.

[106]

Кронштейн (опорная консоль) 4 служит для переноса части вертикальной нагрузки от ДПСК на периферию опорной конструкции 3. Связующим звеном при этом между кронштейном 4 и ребром жесткости НСС 9 УДО 1 служит связующая пластина 10. Консольная часть кронштейна 4 в нижней части имеет зуб, который заходит в вырез верхней плиты 5, располагаясь между двумя лагами 7, и служит для исключения продольных и поперечных нагрузок на болты 11 и 12, с помощью которых осуществляется крепление кронштейна 4 к ДПСК.

[107]

Винтовой механизм включает в себя два регулировочных винта 13, установленных по обе стороны от ДПСК. Концы регулировочных винтов 13 с осями (не показаны) в проушинах крепятся на опорной распределительной плите 6, другие концы регулировочных винтов 13 проходят через верхнюю плиту 5 и удерживаются с помощью гаек. Винтовой механизм обеспечивает регулируемое вращательное перемещение верхней плиты 5 относительно опорной распределительной плиты 6, компенсируя тем самым угол отклонения УДО 1 и, соответственно, ДПСК относительно вертикальной стойки.

[108]

Расположенные по обе стороны от УДО 1 поперечные связи 2, охватывающие параллельно установленные несущие элементы (арочные ДПСК) арочного перекрытия, выполнены (фиг. 3) в виде балочных связующих устройств, на которые в процессе эксплуатации опираются конструкции арочного перекрытия или крыша. В данном конкретном примере поперечная связь 2 представляет собой два швеллера с уложенным в каждый из них деревянным брусом.

[109]

Каждая УДО 1 состоит (фиг. 3, 4) из двух внутренних связей (ВУС 14 и составной ВЗС 15), двух наружных силовых связей (НСС) 9 с маячковыми накладками 16 и элементов крепления УДО 1 в виде пары регулируемых сердечников 17 и пары упорных вкладышей 18.

[110]

ВУС 14 УДО 1 представляет собой (фиг. 5, 6) балку в форме тавра, изогнутую в средней части в плоскости расположения пластины 19 ребра тавра на угол α (угол изгиба), где (0<α</=90°). При этом величина угла (β) между продольными осями (лучами связи) правой и левой частей составной ВУС 14 составляет (180°>β>90°), т.е. (180°-α).

[111]

Пластина 19 ребра ВУС 14 (изогнутая в средней части пластина ребра тавра) смещена (фиг. 5) относительно продольной линии симметрии полки 20 ВУС 14 (изогнутая в средней части полка тавра) к ее краю на величину, равную толщине пластины 21 ребра составной ВЗС 15. Толщина пластины 19 ребра каждой ВУС 14 равна половине зазора (Зi/2) между двумя противостоящими в обойме оконечностями 22 стыкуемых секций соседних продольных элементов ДПСК.

[112]

Свободная кромка пластины 19 ребра ВУС 14 имеет средний высокий участок и более низкие, расположенные на одном уровне крайние участки. Каждый из крайних участков отделен от среднего участка сквозным на всю толщину пластины 19 ребра ВУС 14 П-образным пазом 23 шириной «с», предназначенным для установки упорного вкладыша 18 с набором регулировочных прокладок.

[113]

На свободной кромке пластины 19 ребра ВУС 14 выполнены П-образные выступы-запоры 24: два выступа-запора - на среднем высоком участке кромки, по одному выступу-запору - на крайних участках кромки. Указанные выступы-запоры 24 вставляются при сборке УДО 1 в соответствующие ответные прямоугольные пазы 25, расположенные на соответственно среднем и крайних участках разноуровневой полки 26 составной ВЗС 15.

[114]

Между полкой 19 ребра и продольной осью ВУС 14, на некотором расстоянии «е» (эксцентриситет) от продольной оси ВУС 14 выполнены два сквозных, ориентированных вдоль продольной оси ВУС 14 прямоугольных паза 27 с радиусными скруглениями боковых стенок. Прямоугольные продольно ориентированные сквозные пазы 27 предусмотрены для установки сердечников 17 УДО 1.

[115]

На поверхности полки 20 ВУС 14, вплотную к пластине 19 ребра, со стороны установки (контакта, прилегания) составной ВЗС 15 выполнены четыре сквозных прямоугольных паза 25 (аналогичных пазам 25 на полках 26 правой и левой частей составной ВЗС 15), предназначенных для сопряжения с соответствующими прямоугольными выступами-запорами 24 на кромках пластин 21 ребра правой и левой частей составной ВЗС 15. Ширина прямоугольных пазов 25 равна толщине пластины 21 ребра смежной (образующей с ВУС 14 стыковочный узел) составной ВЗС 15.

[116]

Сквозные отверстия 28, расположенные на пластине 19 ребра ВУС 14, на расстоянии «h» от продольной оси ВУС 14, под продольно ориентированными сквозными прямоугольными пазами 27, вблизи сквозных П-образных пазов 23 шириной «с», служат для размещения в них установочных осей 29 для крепления упорного вкладыша 18.

[117]

Расположение П-образных выступов-запоров 24, сквозных П-образных пазов 23 шириной «с», продольно ориентированных сквозных прямоугольных пазов 27, прямоугольных пазов 25 и сквозных отверстий 28 попарно симметрично относительно биссектрисы профилирующего угла «β» ВУС 14 УДО 1.

[118]

Каждая составная ВЗС 15 в УДО 1 состоит (фиг. 7, 8) из двух отдельных деталей (частей, полусвязей), которые с целью обеспечения собираемости в обойме стыковочного узла (ВУС-составная ВЗС) являются зеркальным отражением друг друга (длина частей/плечей составной ВЗС может быть различная) и представляют собой, каждая, балку в форме тавра с вертикальной (относительно полки тавра) пластиной 21 ребра и горизонтальной (относительно пластины ребра тавра) полкой 26. Расположенные в обойме с технологическим зазором торцевые кромки правой и левой частей составной ВЗС 15 срезаны, каждая, под углом α/2 к вертикали с вершиной угла на свободной кромке пластины 21 ребра, при этом угол между продольными осями правой и левой частей составной ВЗС 15 в собранной УДО 1 равен углу «β»=(180°-α).

[119]

Составная ВЗС 15 - единая связь в собранной обойме, составленная из правой и левой частей; полка 26 составной ВЗС-полка, составленная из полок 26 правой и левой частей ВЗС; пластина 21 ребра составной ВЗС-пластина, составленная из пластин 21 ребра правой и левой частей ВЗС.

[120]

Пластина 21 ребра правой/левой части составной ВЗС 15 смещена относительно продольной линии симметрии полки 26 к ее краю на величину, равную толщине пластины 19 ребра смежной в УДО 1 ВУС 14. Толщина пластины 21 ребра правой/левой частей составной ВЗС 15 равна «Зi/2» (i - количество зазоров между противостоящими (по ширине) оконечностями стыкуемых секций в наборе продольных элементов ДПСК) - половине зазора между двумя противостоящими в обойме оконечностями 22 стыкуемых секций соседних продольных элементов ДПСК.

[121]

Расположенные на свободной кромке пластины 21 ребра правой/левой части составной ВЗС 15 два П-образных выступа-запора 24 вставляются при сборе стыковочного узла УДО 1 в соответствующие прямоугольные пазы 25, выполненные на полке 20 смежной ВУС 14.

[122]

В каждой из частей составной ВЗС 15, между полкой 26 ребра и продольной осью, на некотором расстоянии «е» (эксцентриситет) от продольной оси выполнен сквозной, ориентированный вдоль указанной продольной оси прямоугольный паз 27 с радиусным скруглением боковых (вертикальных) стенок. Назначение продольно ориентированных сквозных прямоугольных пазов 27 аналогично назначению таких же пазов 27 на ВУС 14 УДО 1.

[123]

Полка 26 правой/левой части составной ВЗС 15 имеет два разноуровневых относительно продольной оси части связи участка, отделенных друг от друга прямоугольным, на всю толщину пластины 21 ребра сквозным П-образным пазом 23 шириной «с», причем ближний к срезанному торцу балки участок является более высоким. Указанные сквозные П-образные пазы 23 шириной «с» используются каждый для установки при сборе УДО 1 упорного вкладыша 18 с набором регулировочных прокладок: боковые поверхности (стенки) сквозных П-образных пазов 23 сопрягаются с боковыми стенками упорного вкладыша 18 (бруска упорного вкладыша). На разноуровневых участках полки 26 правой/левой части составной ВЗС 15, вплотную к пластине 21 ребра, со стороны, обращенной к пластине 19 ребра, смежной в УДО 1 ВУС 14, выполнены два сквозных прямоугольных паза 25, по одному на каждом из разноуровневых участков. Ширина прямоугольных пазов 25 равна толщине пластины 19 ребра, смежной в УДО 1 ВУС 14. В указанные прямоугольные пазы 25 при сборке стыковочного узла УДО 1 вставляются соответствующие П-образные выступы-запоры 24, расположенные на свободной кромке пластины 19 ребра, смежной в УДО 1 ВУС 14.

[124]

Сквозные отверстия 28, расположенные на пластинах 21 ребер правой/левой части составной ВЗС 15, между полкой 26 и продольно ориентированными сквозными прямоугольными пазами 27, вблизи сквозных П-образных пазов 23 шириной «с», используются, как и аналогичные сквозные отверстия 28 на пластине 19 ВУС 14 УДО 1, для размещения установочной оси 29 для крепления упорного вкладыша 18.

[125]

В результате соединения при сборке УДО 1 ВУС 14 с частями смежной составной ВЗС 15 путем сопряжения выступов-запоров 24 на пластине 19 ВУС 14 с соответствующими ответными прямоугольными пазами 25 на полках 26 правой и левой частей составной ВЗС 15 и сопряжения П-образных выступов-запоров 24 на свободных кромках пластин 21 ребер правой и левой частей составной ВЗС 15 с соответствующими прямоугольными пазами 25 на полке 20 указанной ВУС 14 образуется изогнутый в средней части стыковочный узел, имеющий в сборе поперечное сечение в форме двутавра.

[126]

Ширина (Т) полок 20 и 26 соответственно ВУС 14 и составной ВЗС 15 УДО 1, образующих стыковочный узел, равны между собой и равны расстоянию между продольными осями пластин 30 оконечностей 22 стыкуемых секций соседних продольных элементов ДПСК, между которыми этот стыковочный узел располагается.

[127]

Расположение в правой/левой частях составной ВЗС 15 продольно ориентированных сквозных прямоугольных пазов 27, прямоугольных пазов 25, сквозных П-образных пазов 23 шириной «с», выступов-запоров 24 таково, что в составной ВЗС 15 в собранной УДО 1 они располагаются попарно симметрично относительно биссектрисы угла «β».

[128]

НСС 9 УДО 1 выполнены, каждая, в виде (фиг. 9) швеллера коробчатого П-образного сечения, изогнутого в средней части в плоскости расположения пластины 31 ребра под углом «α», где (0<α</=90°). При этом величина угла (β) между продольными осями НСС 9 (продольными осями правой и левой частей швеллера) составляет (180°>β>90°), т.е. (180°-α). Биссектриса угла «β» является осью симметрии для всех необходимых для функционирования НСС 9 в составе УДО 1 конструктивных элементов (пазов, отверстий, выступов и т.п.).

[129]

НСС 9 УДО 1 имеет габаритные размеры (длина и высота), равные габаритным размерам всех входящих в УДО 1 силовых (ВУС и составной ВЗС) связей.

[130]

Одна из полок 32 НСС 9 является сплошной, а конструктивное выполнение пластины 31 ребра и противоположной полки 33, включая расположение и форму выполненных на их поверхностях сквозных продольно ориентированных прямоугольных пазов 27, сквозных П-образных пазов 23 шириной «с» и отверстий 28 в основном идентично аналогичным элементам (составной полке 26, пластине 21 ребра) составной ВЗС 15 УДО 1. Исключением является лишь наличие у НСС 9 дополнительной полки 32, отличная ширина полок и наличие на наружной (лицевой) стороне пластины 31 ребра НСС 9, между полками швеллера - вертикальных ребер жесткости 34 с отверстиями для присоединения через связующие пластины 10, закрепленные с помощью пальцев и/или болтовых соединений, технологических приспособлений - опорных компенсирующих устройств 3 и дистанционных связующих устройств 2.

[131]

Расположение на пластине 31 ребра НСС 9 отверстий 28 и их назначение аналогично расположению и назначению отверстий 28 на внутренних связях УДО 1.

[132]

Дистанционная упорная пластина (ДУП) 35 УДО 1 условно состоит (фиг. 5) из двух идентичных частей, каждая, - в виде фигуры, образованной из прямоугольной трапеции с острым углом (180-α/2) и полукруга радиусом (R), хорда (линия диаметра) которого является одновременно примыкающей к прямому углу и расположенной напротив угла (180-α/2) боковой стороной указанной трапеции, совмещенных друг с другом по боковым сторонам указанных трапеций, расположенных (боковых сторонах), каждая, в трапеции напротив прямого угла, где: 0<α</=90°.

[133]

При этом точка пересечения (далее - центр ДУП) под углом (β) продольных осей частей ДУП 35 лежит на линии совмещения указанных частей, которая (линия совмещения) является поперечной линией симметрии ДУП и соответственно биссектрисой угла «β», где «β»=(180°-α), «α» - угол изгиба ДУП 35 УДО 1.

[134]

При этом расстояние "2l", измеренное по продольной линии симметрии ДУП (ломаная линия, составленная из продольных осей частей ДУП 35) от центра ДУП 35 до центра полукруга в соответствующей части ДУП 35, выбирается из расчета, чтобы суммарная длина ДПСК могла соответствовать длине между соединяемыми с помощью ДПСК узлами изделия

[135]

ДУП 35 устанавливаются в УДО 1, разделяя между собой оконечности 22 стыкуемых секций одного продольного элемента ДПСК, в средней части ВУС 14 и НСС 9 таким образом, что продольные оси указанных связей совпадают с продольной осью ДУП 35. Радиус (R) опорных боковых сторон (торцов) ДУП 35 равен радиусу (R) сопрягающихся с ними торцов оконечностей 22 стыкуемых секций продольного элемента ДПСК. Толщина ДУП 35 равна толщине сопрягающихся с ней пары оконечностей 22 стыкуемых секций.

[136]

На лицевой поверхности ДУП 35, попарно симметрично относительно ее поперечной оси симметрии, выполнены двенадцать установочных отверстий:

[137]

- четыре резьбовых отверстия 36, расположенные попарно симметрично относительно поперечной оси симметрии ДУП 35 на указанных выше хордах полукругов частей ДУП 35 и предназначенные для крепления ДУП 35 с помощью винтов к ВУС 14 или НСС 9;

[138]

и используемые для объединения всех связей в обойму в ее средней части сквозные отверстия под болты:

[139]

- шесть отверстий 37, расположенных попарно симметрично относительно поперечной оси симметрии ДУП 35, в каждой из ее частей на дуге полуокружности с радиусом (R1), где (R1<R), которая (полуокружность) является концентрической относительно окружности с радиусом (R);

[140]

- два отверстия 37, расположенных симметрично относительно поперечной оси симметрии ДУП 35, в каждой из ее частей между двумя, находящимися на большем расстоянии друг от друга, установочными резьбовыми отверстиями 36.

[141]

Установочные резьбовые отверстия 36 на ВУС 14 и НСС 9 и отверстия под болты 37 на всех связях обоймы располагаются в строгом соответствии с аналогичными отверстиями на ДУП 35 и выполняются по копиру.

[142]

В результате объединения продольных элементов смежных ДПСК с помощью УДО 1 между стыковочным узлом и НСС 9 образуются продольные полости (зазоры), ширина которых равна толщине размещаемых в них пар оконечностей 22 стыкуемых секций соответствующих продольных элементов ДПСК. Ширина полостей равна толщине соответствующих ДУП 35 и, соответственно, толщине контактирующих с ДУП 35 оконечностей 22. При сборке стыкуемых секций в обойму ДУП 35 устанавливаются в средней части ВУС 14, которая является базовой в стыковочном узле (ВУС-составная ВЗС), и в средней части НСС 9 с той стороны пластины (19, 31) ребра указанных связей, которая обращена в сторону оконечностей 22 пары стыкуемых секций. В рассматриваемом конкретном примере ДУП 35 установлены на свободной (не контактирующей с составной ВЗС 15) стороне пластины 19 ребра ВУС 14 и на внутренней стороне пластины 31 ребра НСС 9, соседней с которой в УДО 1 является составная ВЗС 15.

[143]

Оконечность 22 любой из стыкуемых секций продольного элемента ДПСК, имеющего форму двутавра, представляет собой пластину 30, являющуюся по существу продолжением пластины ребра двутавровой балки, при этом одна из кромок оконечности располагается на уровне верхней поверхности одной из полок двутавра. Форма и расположение конструктивных элементов оконечности 22 любой из стыкуемых секций в основном (отсутствуют выступы-запоры 24 на кромке пластины 30) идентична правой или соответственно левой части пластины 19 ребра ВУС 14 или (что то же самое) половине пластины 31 ребра НСС 9 со стороны, обращенной внутрь УДО 1, при этом:

[144]

- одна из кромок пластины 30 оконечности 22 является разноуровневой, высокий крайний участок оконечности 22 отделен от низкого ее участка сквозным П-образным пазом 23 шириной «с», предназначенным для установки упорного вкладыша 18 с набором регулировочных прокладок;

[145]

- между продольной осью пластины 30 оконечности 22 и ее одноуровневой кромкой, на некотором расстоянии «е» от продольной оси пластины 30 оконечности, выполнен сквозной продольно ориентированный прямоугольный паз 27, предназначенный для установки сердечника 17;

[146]

- над сквозным продольным прямоугольным пазом 27 вблизи сквозного П-образного паза 23 расположено сквозное отверстие 28, используемое для размещения в нем установочной оси 29 для крепления упорного вкладыша 18.

[147]

Длина оконечности 22 определяется (не превышает) величиной, равной половине длины (L/2) любой связи УДО 1 за вычетом величины «l» (величина, равная измеренному на ДУП 35 вдоль продольной оси оконечности (или связи) расстоянию между центром ДУП и центром окружности (R) скругления боковых сторон ДУП 35).

[148]

Торец оконечности 22, сопрягаемый с какой-либо из боковых сторон ДУП 35, имеет внутреннее скругление по радиусу (R) окружности, центр которой находится на продольной оси оконечности 22 или рассчитанной по ней и измеренной от нее нейтральной линии продольного элемента ДПСК на расстоянии «l» внутрь от размера (L/2), отмеренного от края полки двутавра стыкуемой секции, при этом центр скругления указанного торца оконечности 22 в собранной УДО 1 совпадает с центром скругления боковых сторон ДУП 35, а радиус скругления торца оконечности 22 равен радиусу скругления любой из боковых сторон ДУП 35, с которыми этот торец оконечности 18 сопрягается в УДО 1.

[149]

Способ изготовления угловых (изогнутых) связей (ВУС и НСС) УДО 1 заключается в следующем.

[150]

Каждая из указанных связей состоит из одной (ВУС) или двух (НСС) полок и вертикальной (относительно полок) пластины (пластина ребра). Пластина ребра и полка изготавливаются, каждая, из прокатного металлического листа соответствующей марки стали (предпочтительно сталь 10ХСНД ГОСТ 19282-89). После предварительной разметки по чертежу деталь вырезается методом плазменной резки с одновременным компьютерным контролем размеров по контуру. Изгиб полки и пластины ребра производят с помощью шаблонов нужного радиуса на прессах (гибочная машина).

[151]

Сборка узла связи производится путем временной местной приварки (прихватками) по кондуктору с целью обеспечения взаимной установки полки и пластины ребра. Окончательные сварочные работы производятся после проверки и необходимой подгонки правильности сборки узла.

[152]

Вершина перегиба полок ВУС и НСС при этом выполняется по радиусу (R2), рассчитанному исходя из равнопрочности пластин ребер этих связей в зонах перегиба и прямых участков, а также необходимости устранения концентрации напряжений в зоне перегиба полок, приваренных к пластинам.

[153]

Пример 2

[154]

Изображенные на фиг. 12-16 ВПП используют при выкатывании из воды на берег или перекатывании на слабых грунтах при необорудованном береговом откосе с помощью тягового механизма (в виде, например, лебедки или полиспаста) крупногабаритного и тяжеловесного груза 38.

[155]

ВПП состоят из расположенных параллельно друг другу направляющих путей 39, по которым перемещается груз (стрелками указано направление перемещения) 38, объединенных между собой для жесткости двумя поперечными связями 2 равной длины - дистанционными связующими устройствами, выполненными в данном конкретном примере виде трубной конструкции (фиг. 16).

[156]

Прямолинейные участки направляющих путей 39 образованы путем соединения секций ДПСК с помощью ПДО 40 (места прямого стыка секций). На участках же соединения направляющих путей 39 под углом (α) секции ДПСК соединены с помощью УДО 1 (места углового стыка секций ДПСК).

[157]

ПДО 40 может иметь конструкцию, описанную в известной ДПСК (RU, 2389807, C1, МПК B60P 7/06, B60P 3/022, E04C 3/04, опубл. 10.07.2016.). Конструкция УДО 1 и составляющие ее элементы описаны в примере 1 настоящей заявки.

[158]

В местах соединения направляющих путей 39 с поперечными связями 2 по обе стороны от ПДО 40 установлены опорные распределительные устройства 41, которые служат для уменьшения путем распределения удельной нагрузки (равной несущей способности грунта берегового откоса) от груза 38 и направляющих путей 39 на грунт. Каждое опорное распределительное устройство 41 состоит (фиг. 14-15) из двух кронштейнов 4 с консольной частью в виде приваренной к основанию вертикальной пластины каждый, установленных и закрепленных на верхней плите (ложе) 5 опорной распределительной плиты 6, и двух лаг 7 с поперечными вертикальными ребрами 8.

[159]

Кронштейн 4 служит для переноса от ДПСК части вертикальной нагрузки от груза 38 на периферию опорного распределительного устройства 41. Связующим звеном при этом между кронштейном 4 и ребром жесткости 34 НСС 9 ПДО 40 ДПСК служит связующая пластина 1. Консольная часть кронштейна 4 в нижней части имеет зуб, который заходит в вырез вертикальной плиты 5, располагаясь между двумя лагами 7, и служит для исключения продольных и поперечных нагрузок на болты, с помощью которых осуществляется крепление кронштейна 4 к ДПСК.

[160]

Опорная распределительная плита 6 предназначена для совместного с верхней плитой 5 распределения нагрузки от ДПСК на поверхность площадки погрузочно-разгрузочных работ и берегового откоса водоема. Лаги 7 совместно с плитами 5 и 6, величина которых определяет площадь опорной поверхности опорного распределительного устройства 41, обеспечивают жесткость конструкции опорного устройства в продольном направлении.

[161]

Основное преимущество рассмотренных ВПП состоит в том, что после их использования береговой откос остается в первозданном виде, так как заявленная конструкция ВПП исключает проведение укрепляющих работ берегового откоса (берег не портится причалами), соответственно профиль берега остается неизменным.

[162]

Профильные ВПП, сформированные из секций ДПСК, связанных между собой с помощью ПДО и УДО, приспособлены для перемещения по ним на берег груза как методом скольжения, так и методом перекатывания: для осуществления перехода от метода перекатывания к методу скольжения достаточно оснастить направляющие пути перемещения, уложенные на береговом откосе, настилом с продольными ребрами жесткости.

Как компенсировать расходы
на инновационную разработку
Похожие патенты