Изобретение относится к области железнодорожного транспорта, в частности к тормозным устройствам железнодорожных транспортных средств. Дисковый электромеханический тормоз содержит закрепленный на оси колесной пары тормозной диск из магнитного материала, на котором выполнены полюса, прикрепленный на раме тележки электромагнит, включающий электромагнитные полюса на его концах и подключенную к электронному блоку управления электромагнитную обмотку. Между электромагнитными полюсами размещен с минимальным рабочим воздушным зазором тормозной диск. По окружности по обе стороны электромагнитного полюса размещены датчики положения полюсов тормозного диска, подключенные к электронному блоку управления. Электромагнитные полюса выполнены расщепленными на два и более полюсов. К раме тележки рядом с тормозным диском прикреплен фиксатор диска, содержащий штифт. Достигается увеличение тормозного момента, создаваемого дисковым электромеханическим тормозом, и исключение потребления электроэнергии при неподвижном положении тележки. 8 ил.
Дисковый электромеханический тормоз, содержащий закрепленный на оси колесной пары тормозной диск из магнитного материала с выполненными на нем полюсами, закрепленный на раме тележки электромагнит, включающий электромагнитные полюса на его концах и подключенную к электронному блоку управления электромагнитную обмотку, размещенный между электромагнитными полюсами с минимальным рабочим воздушным зазором тормозной диск и размещенные по окружности по обе стороны электромагнитных полюсов датчики положения полюсов тормозного диска, подключенные к электронному блоку управления, отличающийся тем, что электромагнитные полюса выполнены расщепленными на два и более полюсов, к раме тележки рядом с тормозным диском прикреплен фиксатор диска, содержащий штифт.
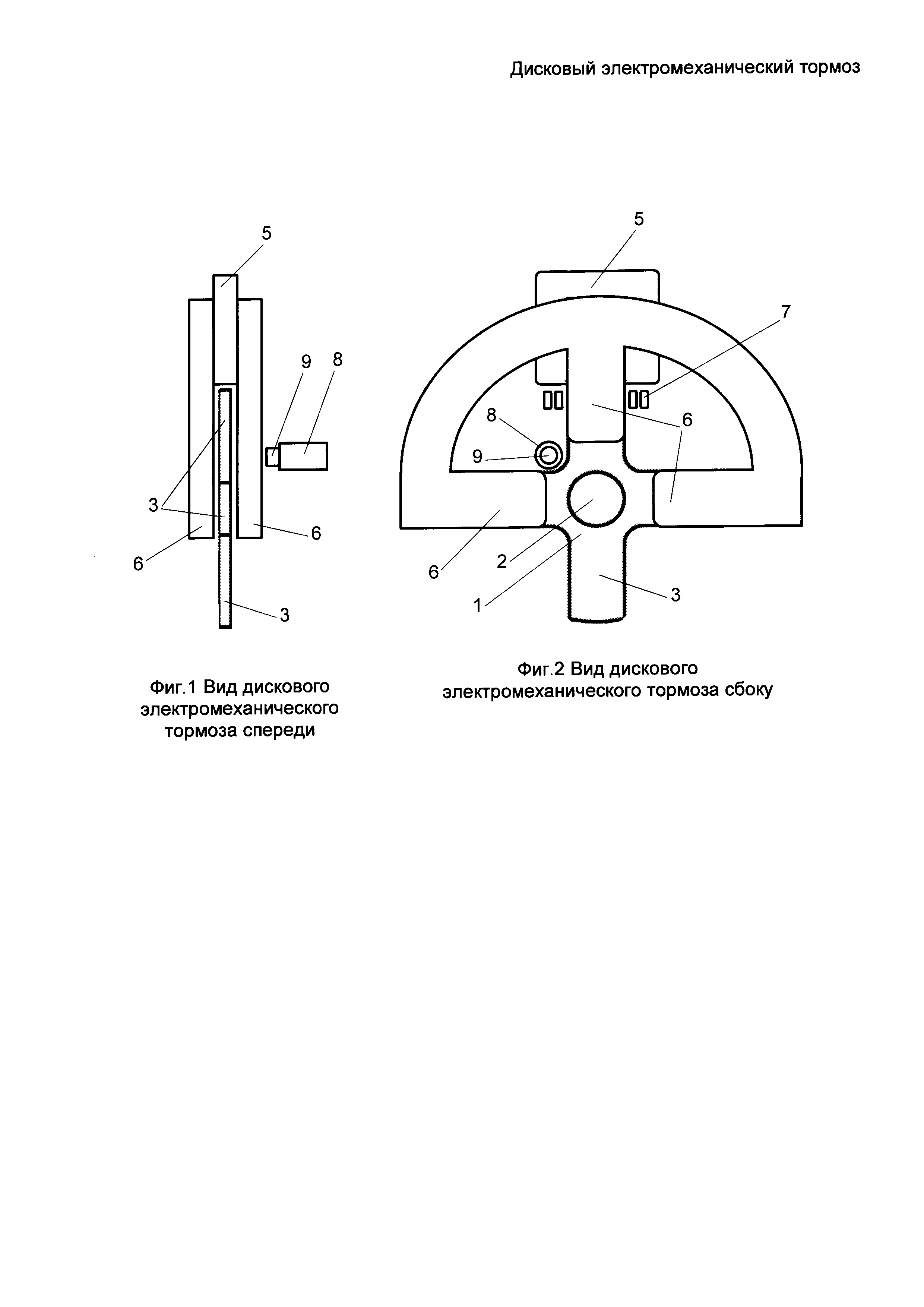
Изобретение относится к тормозным устройствам в подвижных железнодорожных транспортных средствах. Аналогом заявляемого изобретения является известный дисковый тормоз железнодорожного транспортного средства, содержащий связанные с опорами рамы тележки клещевые механизмы, тормозной цилиндр, шток которого связан с тормозными накладками через тяги и клещевые механизмы, а также тормозные диски, закрепленные на оси колесной пары и размещенные между тормозными накладками (патент РФ №2264940, B61H 5/00, заявл. 31.03.2004). Недостаток такого аналога заключается в высокой степени износа тормозных накладок и тормозного диска. Кроме того, значительные затраты расходуются на частое техническое обслуживание и неразрушающий контроль деталей трибопары дисковых тормозов, включающей тормозные накладки и тормозные диски. Прототипом заявляемого изобретения является известный дисковый электромеханический тормоз (патент РФ №2452636, B60L 7/24, заявл. 12.01.2011), содержащий закрепленный на оси колесной пары тормозной диск, на котором из магнитного материала выполнены дисковые полюса, ориентированные радиально в плоскости тормозного диска и перпендикулярно к оси вращения диска. На тележке закреплен электромагнит, на концах которого выполнены полюса, между которыми размещается с минимальным рабочим воздушным зазором тормозной диск. По окружности рядом с полюсами сердечника электромагнита размещены датчики положения полюсов тормозного диска, подключенные своими выходами к входам управляющего устройства, соединенного своим выходом со входом коммутационного устройства, которое подключает обмотку электромагнита к источнику электропитания. К другому входу управляющего устройства подключен выход источника команды включения режима торможения. Такое техническое решение отличается от аналога устранением трения элементов тормоза с тормозным диском. Однако недостатком является недостаточная величина тормозной силы и потребление электроэнергии при неподвижном положении транспортного средства. Целью предлагаемого изобретения увеличение тормозной силы, создаваемой дисковым электромеханическим тормозом, и исключение потребления электроэнергии при неподвижном положении транспортного средства. Для достижения поставленной цели электромагнитные полюса дискового электромеханического тормоза выполнены расщепленными на два и более полюсов. К раме тележки, рядом с тормозным диском, прикреплен фиксатор, содержащий штифт. Прилагаемые чертежи изображают: фиг. 1 - вид дискового электромеханического тормоза спереди; фиг. 2 - вид дискового электромеханического тормоза сбоку; фиг. 3 - вид электромагнита спереди; фиг. 4 - вид электромагнита сбоку; фиг. 5 - вид электромагнита в разрезе А-А на фиг. 4; фиг. 6 - вид тормозного диска сбоку; фиг. 7 - вид фиксатора спереди; фиг. 8 - вид фиксатора сбоку. Перечень элементов на прилагаемых чертежах: 1 - тормозной диск; 2 - ось колесной пары; 3 - дисковые полюса; 4 - сердечник; 5 - электромагнитная обмотка; 6 - электромагнитные полюса; 7 - датчики; 8 - фиксатор; 9 - штифт. Дисковый электромеханический тормоз состоит (см. фиг. 1 и фиг. 2) из: тормозного диска 1 (см. фиг. 6), прикрепленного к оси колесной пары 2, на котором выполнены дисковые полюса 3, электромагнита (см. фиг. 3, фиг. 4 и фиг. 5), состоящего из сердечника 4, электромагнитной обмотки 5 и полюсов, каждый из которых расщеплен на три электромагнитных полюса 6, датчиков 7, определяющих положение дисковых полюсов 3, и фиксатора 8, содержащего выдвигаемый штифт 9. На фиг. 1 представлен вид дискового электромеханического тормоза спереди, на котором видны тормозной диска 1 с дисковыми полюсами 3, электромагнит, включающий в себя электромагнитную обмотку 5 и электромагнитные полюса 6, и фиксатор 8 со штифтом 9. На фиг. 2 - вид дискового электромеханического тормоза сбоку, на котором видны тормозной диск 1 с дисковыми полюсами 3, датчики 7, определяющие положение дисковых полюсов 3, электромагнит, включающий в себя электромагнитную обмотку 5 и электромагнитные полюса 6, и фиксатор 8 со штифтом 9. На фиг. 3 - вид электромагнита спереди. На фиг. 4 - вид электромагнита сбоку. На фиг. 5 - вид электромагнита в разрезе А-А на фиг. 4, на котором виден сердечник 4, электромагнитная обмотка 5 и электромагнитные полюса 6. На фиг. 6 - вид тормозного диска сбоку, на котором видны дисковые полюса 3. На фиг. 7 - вид фиксатора 8 спереди. На фиг. 8 - вид фиксатора 8 сбоку, на котором виден штифт 9 фиксатора 8. Тормозную силу создает взаимодействие электромагнитных полюсов 6 с дисковыми полюсами 3 при подключении электромагнитной обмотки 5 к источнику электропитания. В отличие от прототипа для создания тормозной силы одновременно задействован не один дисковый полюс 3, а сразу три, что позволяет соответственно увеличить тормозную силу. Фиксатор 8 диска 1 (см. фиг. 1) после полной остановки вращения тормозного диска 1 выдвигает штифт 9 в пространство между дисковыми полюсами 3 тормозного диска 1 и тем самым предотвращает вращение тормозного диска 1. После этого, с целью экономии электроэнергии, дисковый электромеханический тормоз транспортного средства может быть обесточен.