патент
№ RU 2645496
МПК B01D53/00

БЛОК РЕГЕНЕРАЦИИ НАСЫЩЕННОГО ГЛИКОЛЯ (ВАРИАНТЫ)

Авторы:
Курочкин Андрей Владиславович
Номер заявки
2017120622
Дата подачи заявки
13.06.2017
Опубликовано
21.02.2018
Страна
RU
Как управлять
интеллектуальной собственностью
Чертежи 
2
Реферат

Изобретение относится к установкам абсорбционной осушки газов гликолями и может быть использовано в газовой промышленности. Предлагаемый блок в первом варианте включает узел регенерации в составе трехсекционной вакуумной колонны с дефлегматорной, отпарной и охлаждающей секциями и конденсатора, узел очистки в составе колонны аналогичной конструкции, а также вакуумсоздающее устройство и системы нагрева и охлаждения. Во втором варианте узел очистки оснащен колонной с вертикальной перегородкой. В дефлегматорные и охлаждающие секции колонн и конденсатор из системы охлаждения подают хладоагент, а в отпарные секции из системы нагрева подают теплоноситель. При работе первого варианта блока насыщенный гликоль подают в колонну узла регенерации, с низа которой выводят охлажденный регенерированный гликоль, а с верха пары воды подают в конденсатор, из которого газ отдувки направляют в вакуумсоздающее устройство, а с низа выводят водный конденсат. Часть регенерированного гликоля подают в колонну узла очистки, в нижнюю часть которой подают часть топливного газа в качестве отдувочного, из низа колонны выводят охлажденный глубоко регенерированный гликоль, а с верха колонны отходящий газ выводят в вакуумсоздающее устройство. В качестве топлива в систему нагрева подают топливный газ и отходящий газ из вакуумсоздающего устройства. При работе второго варианта блока часть регенерированного гликоля подают в среднюю часть колонны в области размещения вертикальной перегородки, при этом верхнюю часть колонны охлаждают, а верхнюю нагревают. С низа колонны выводят концентрат тяжелых примесей, из середины колонны с обратной стороны вертикальной перегородки выводят глубоко регенерированный гликоль. Техническим результатом является упрощение блока регенерации, уменьшение потерь гликоля и повышение степени его очистки. 2 н. и 3 з.п. ф-лы, 2 ил.

Формула изобретения

1. Блок регенерации насыщенного гликоля с линиями ввода насыщенного гликоля и вывода регенерированного и глубоко регенерированного гликоля, включающем узел регенерации, оборудованный вакуумной колонной с системами охлаждения и нагрева, и узел очистки, соединенный с линией вывода регенерированного гликоля, оборудованный вакуумным выпарным аппаратом с системой нагрева, отличающийся тем, что в качестве колонны и выпарного аппарата установлены трехсекционные вакуумные колонны, оснащенные верхней охлаждаемой дефлегматорной секцией, средней нагреваемой отпарной секцией и нижней охлаждающей секцией, верх колонны узла регенерации соединен с прямоточным конденсатором, оснащенным линией вывода водного конденсата и линией вывода газа отдувки в вакуумсоздающее устройство, соединенное с системой нагрева и верхом колонны узла очистки, которая соединена с линией подачи топливного газа в систему нагрева линией ввода его части в качестве продувочного газа.

2. Блок по п. 1, отличающийся тем, что на линии ввода насыщенного гликоля размещен узел предварительной очистки гликоля.

3. Блок регенерации насыщенного гликоля с линиями ввода насыщенного гликоля и вывода регенерированного и глубоко регенерированного гликоля, включающем узел регенерации, оборудованный вакуумной колонной с системами охлаждения и нагрева, и узел очистки, соединенный с линией вывода регенерированного гликоля, оборудованный вакуумным выпарным аппаратом с системой нагрева, отличающийся тем, что в качестве колонны установлена трехсекционная вакуумная колонна, оснащенная верхней охлаждаемой дефлегматорной секцией, средней нагреваемой отпарной секцией и нижней охлаждающей секцией, верх колонны соединен с прямоточным конденсатором, оснащенным линией вывода водного конденсата и линией вывода газа отдувки в вакуумсоздающее устройство, соединенное с системой нагрева, а в качестве выпарного аппарата установлена колонна с внутренней вертикальной перегородкой, оснащенная линией подачи части топливного газа в качестве продувочного и линиями вывода глубоко регенерированного гликоля, отходящего газа и концентрата тяжелых примесей.

4. Блок по п. 3, отличающийся тем, что на линии ввода насыщенного гликоля размещен узел предварительной очистки гликоля.

5. Блок по п. 3, отличающийся тем, что колонна с внутренней вертикальной перегородкой оборудована узлом обессоливания концентрата тяжелых примесей, оснащенным линией возврата обессоленного гликоля в линию вывода глубоко регенерированного гликоля.

Описание

[1]

Изобретение относится к установкам абсорбционной осушки газов гликолями и может быть использовано в газовой промышленности.

[2]

Известна установка двухступенчатой осушки газа [Бекиров Т.М., Ланчаков Г.А. Технология обработки газа и конденсата. - М.: ООО ''Недра-Бизнесцентр'', 1999, с. 203], состоящая из блока абсорбции, включающего двухсекционный абсорбер с системой улавливания паров гликоля, оснащенный линиями ввода регенерированного и глубоко регенерированного гликоля, и блок регенерации насыщенного гликоля, включающий атмосферную колонну получения регенерированного гликоля с нагревателем и десорбер с накопительной емкостью глубоко регенерированного гликоля.

[3]

Основным недостатком известного блока регенерации является интенсивное разложение гликоля и коррозия оборудования из-за большого времени пребывания регенерированного гликоля в нагревателе и кубовой части ректификационной колонны и глубоко регенерированного гликоля в десорбере и накопительной емкости при температуре около 204°С, что превышает температуру начала разложения диэтиленгликоля (164,4°С) и близко к температуре начала разложения триэтиленгликоля (206,7°С).

[4]

Наиболее близок к заявляемому изобретению способ регенерации насыщенного раствора абсорбента - триэтиленгликоля (ТЭГ) [RU 2307699, опубл. 10.10.2007 г., МПК B01D 53/36], осуществляемый в блоке регенерации с линиями ввода насыщенного ТЭГ и вывода регенерированного и глубоко регенерированного ТЭГ, а также легколетучих продуктов разложения, состоящем из узлов регенерации и очистки, причем узел регенерации включает выветриватель, емкость, рекуперативный теплообменник и вакуумную колонну с системами охлаждения ее верхней части и нагрева кубовой части, состоящей из печи и насоса, а узел очистки включает рекуперативный теплообменник, вакуумный выпарной аппарат с системой нагрева в составе печи и насоса, и систему ступенчатой конденсации паров с холодильниками и сепараторами глубоко регенерированного ТЭГ и легколетучих продуктов разложения.

[5]

Недостатками данного блока являются сложность из-за большого количества оборудования, потери абсорбента из-за разложения гликоля и большие энергозатраты из-за его нагрева до высокой температуры (207-215°С в узле регенерации и 207-225°С в узле очистки), что превышает температуру начала разложения ТЭГ. Кроме того, оснащение выпарного аппарата линией подачи охлажденного регенерированного гликоля в среднюю его часть приводит к неудовлетворительной работе аппарата из-за инверсии температуры, а оснащение системы ступенчатой конденсации холодильниками и сепараторами для однократной конденсации позволяет получить глубоко регенерированный ТЭГ, лишь частично очищенный от легколетучих продуктов разложения.

[6]

Задачей изобретения является упрощение блока регенерации, уменьшение потерь гликоля и повышение степени его очистки.

[7]

Техническим результатом является упрощение блока регенерации и повышение степени очистки гликоля за счет установки трехсекционных вакуумных колонн взамен вакуумной колонны и выпарного аппарата, уменьшение потерь гликоля за счет оснащения колонн нижними охлаждающими секциями, а также повышение степени очистки гликоля за счет оснащения колонны узла очистки линией подачи продувочного газа.

[8]

Предложены два варианта блока регенерации, первый позволяет очищать гликоль от легколетучих продуктов разложения, а второй - также и от малолетучих продуктов осмоления и минеральных солей.

[9]

Указанный технический результат в первом варианте достигается тем, что в предлагаемом блоке с линиями ввода насыщенного гликоля и вывода регенерированного и глубоко регенерированного гликоля, включающем узел регенерации, оборудованный вакуумной колонной с системами охлаждения и нагрева, и узел очистки, соединенный с линией вывода регенерированного гликоля, оборудованный вакуумным выпарным аппаратом с системой нагрева, особенностью является то, что в качестве колонны и выпарного аппарата установлены трехсекционные вакуумные колонны, оснащенные верхней охлаждаемой дефлегматорной секцией, средней нагреваемой отпарной секцией и нижней охлаждающей секцией, верх колонны узла регенерации соединен с прямоточным конденсатором, оснащенным линией вывода водного конденсата и линией вывода газа отдувки в вакуумсоздающее устройство, соединенное с системой нагрева и верхом колонны узла очистки, которая соединена с линией подачи топливного газа в систему нагрева линией ввода его части в качестве продувочного газа.

[10]

Система нагрева может быть выполнена, например, в виде котла с высокотемпературным органическим теплоносителем, а система охлаждения - в виде коллекторов прямого и обратного хладоагента и/или чиллера. Секции колонн могут быть изготовлены, например, в виде устройств трубчатого типа, в трубном пространстве которых осуществляют тепломассообмен, а в межтрубное пространство подают хладоагент или теплоноситель. В качестве вакуумсоздающего устройства может быть использованы, например, водокольцевые вакуумные насосы.

[11]

Для снижения коррозионной активности гликоля на линии ввода насыщенного гликоля может быть размещен узел предварительной очистки гликоля, например в составе сепаратора и/или фильтра механических примесей, угольного фильтра, а также выветривателя.

[12]

Второй вариант отличается тем, что в качестве выпарного аппарата установлена колонна с внутренней вертикальной перегородкой, оснащенная линией подачи части топливного газа в качестве продувочного и линиями вывода глубоко регенерированного гликоля, отходящего газа и концентрата тяжелых примесей, что позволяет очищать гликоль и от легких, и от тяжелых примесей.

[13]

Для сокращения потерь гликоля колонна с внутренней вертикальной перегородкой может быть оборудована узлом обессоливания концентрата тяжелых примесей, оснащенным линией возврата обессоленного гликоля в поток глубоко регенерированного гликоля, включающим, например, холодильник и кристаллизатор минеральных солей с сепаратором.

[14]

Установка трехсекционных вакуумных колонн, оснащенных верхней охлаждаемой дефлегматорной секцией, средней нагреваемой отпарной секцией и нижней охлаждающей секцией, позволяет исключить из состава оборудования насосы, рекуперативные теплообменники, систему ступенчатой конденсации паров и огневую печь, за счет чего упростить установку, а также более полно удалить из гликоля легколетучие продукты разложения. Наличие в колоннах нижней охлаждающей секции минимизирует время пребывания гликоля в зоне высоких температур и уменьшает потери гликоля вследствие термического разложения. Наличие в колоннах верхней охлаждаемой секции приводит к повышению степени очистки гликоля от легколетучих примесей и уменьшению уноса гликоля в паровой фазе за счет эффекта дефлегмации.

[15]

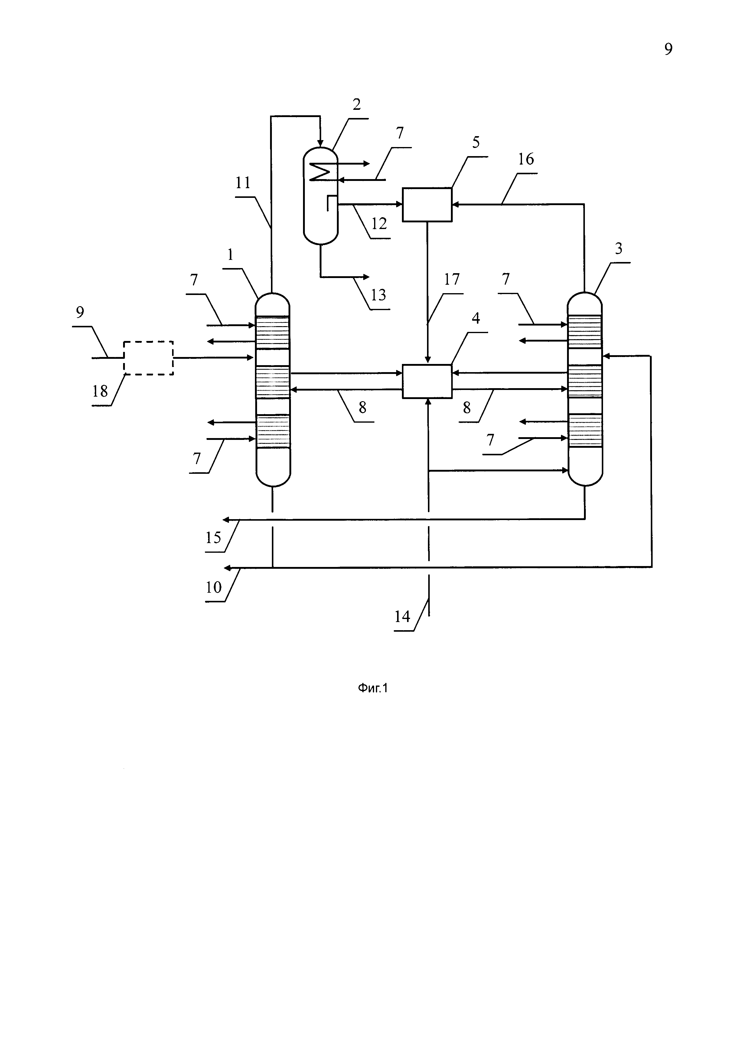
Предлагаемый блок в первом варианте (фиг. 1) включает узел регенерации в составе трехсекционной вакуумной колонны 1 с дефлегматорной, отпарной и охлаждающей секциями и конденсатора 2, узел очистки в составе колонны 3 аналогичной конструкции, а также системы нагрева 4 и вакуумсоздающее устройство 5. Во втором варианте (фиг. 2) узел очистки оснащен колонной с вертикальной перегородкой 6. В дефлегматорные и охлаждающие секции колонн 1 и 3 и конденсатор 2 по линиям 7 из системы охлаждения (условно не показана) подают хладоагент, а в отпарные секции по линиям 8 из системы нагрева 4 подают теплоноситель.

[16]

При работе первого варианта блока насыщенный гликоль по линии 9 подают в колонну 1 между дефлегматорной и отпарной секциями, с низа последней регенерированный гликоль через охлаждающую секцию направляют в низ колонны и выводят по линии 10, при этом с верха колонны по линии 11 пары воды выводят в конденсатор 2, из которого по линии 12 газ отдувки подают в вакуумсоздающее устройство 5, а с низа, по линии 13, выводят водный конденсат. Часть регенерированного гликоля из линии 10 подают в колонну 3 между дефлегматорной и отпарной секциями, при этом в нижнюю часть колонны из линии 14 подают часть топливного газа в качестве отдувочного. С низа отпарной секции глубоко регенерированный гликоль через охлаждающую секцию направляют в низ колонны и выводят по линии 15, а с верха колонны отходящий газ, содержащий часть топливного газа, паров воды и легколетучих продуктов разложения, по линии 16 подают в вакуумсоздающее устройство 5. В качестве топлива в систему нагрева 4 из линии 14 подают топливный газ, а по линии 17 из устройства 5 - сжатый отходящий газ. На линии 9 может быть установлен узел предварительной очистки гликоля 18 (показан пунктиром).

[17]

При работе второго варианта блока часть регенерированного гликоля из линии 10 подают в среднюю часть колонны 6 в области размещения вертикальной перегородки, при этом верхнюю часть колонны охлаждают, а верхнюю нагревают (условно не показано). С низа колонны по линии 19 выводят концентрат тяжелых примесей, из середины колонны с другой стороны от вертикальной перегородки по линии 20 выводят глубоко регенерированный гликоль, а с верха колонны по линии 16 отходящий газ, содержащий часть топливного газа, паров воды и легколетучих продуктов разложения подают в вакуумсоздающее устройство 5. На линии 9 может быть установлен узел предварительной очистки гликоля 18, а на линии 19 - узел обессоливания концентрата тяжелых примесей 21, оснащенный линией 22 возврата обессоленного гликоля в линию 19 (показано пунктиром).

[18]

Таким образом, предлагаемый блок регенерации насыщенного гликоля проще, позволяет уменьшить потери гликоля, повысить степень его очистки и может быть использован в промышленности.

Как компенсировать расходы
на инновационную разработку
Похожие патенты