патент
№ RU 2643122
МПК B60R21/206

КОЛЕННАЯ ПОДУШКА БЕЗОПАСНОСТИ ДЛЯ ТРАНСПОРТНОГО СРЕДСТВА

Авторы:
МИДУН Джамаль Эддин (US) МАКОВСКИ Мэттью Б. (US) АБРАМОСКИ Эдвард Джозеф (US)
Все (4)
Номер заявки
2014143384
Дата подачи заявки
28.10.2014
Опубликовано
30.01.2018
Страна
RU
Дата приоритета
15.12.2025
Номер приоритета
Страна приоритета
Как управлять
интеллектуальной собственностью
Чертежи 
2
Реферат

Группа изобретений относится к узлу подушки безопасности транспортного средства и транспортному средству с такой подушкой безопасности. Подушка безопасности содержит надувную воздушную подушку, которая имеет первый торец и второй торец. Надувная подушка может быть развернута с помощью газа из сложенного положения, причем в развернутом положении она имеет длину и толщину. Подушка безопасности также может иметь увеличенный участок по меньшей мере на одном торце надувной подушки, когда коленная подушка безопасности находится в развернутом состоянии. Увеличенный участок увеличивает толщину подушки, по меньшей мере, на участке длины хотя бы на одном из торцов так, что коленная подушка безопасности может быть несимметричной. Узел подушки безопасности имеет множество ограничителей, присоединенных к передней и задней поверхностям подушки безопасности, каждый из которых имеет ширину, которая меньше соответствующей ширины между торцами подушки безопасности, так что один из торцов образует увеличенный участок рядом с неприкрепленным краем каждого из ограничителей относительно другого конца при надувании. Обеспечивается возможность ограничения бокового перемещения, помимо перемещения пользователя вперед в случае аварии. 2 н. и 10 з.п. ф-лы, 5 ил.

Формула изобретения

1. Узел подушки безопасности транспортного средства, содержащий:

подушку безопасности, и

множество ограничителей, присоединенных к передней и задней поверхностям подушки безопасности, каждый из которых имеет ширину, которая меньше соответствующей ширины между торцами подушки безопасности, так что один из торцов образует увеличенный участок рядом с неприкрепленным краем каждого из ограничителей относительно другого конца при надувании.

2. Узел по п.1, в котором увеличенный участок образован воздушной подушкой.

3. Узел по п.1, в котором увеличенный участок сформирован из по меньшей мере одной панели, прикрепленной к по меньшей мере части наружной поверхности воздушной подушки на по меньшей мере одном из торцов, причем по меньшей мере одна панель имеет заданную толщину.

4. Узел по п.1, в котором увеличенный участок проходит по всей длине воздушной подушки на по меньшей мере одном из торцов.

5. Узел по п.1, в котором по меньшей мере один из торцов воздушной подушки, на котором расположен увеличенный участок, соответствует внешней стороне транспортного средства.

6. Узел по п.1, в котором увеличение толщины воздушной подушки за счет увеличенного участка составляет от 1 мм до 100 мм.

7. Транспортное средство, содержащее:

пассажирский салон с двумя внешними сторонами, образующими внутреннюю область, и

узел коленной подушки безопасности, имеющий:

- воздушную подушку с первым концом и вторым торцом, выполненную с возможностью надувания из свернутого положения в раскрытое положение, и

- увеличенный участок на по меньшей мере одном торце воздушной подушки, образованный за счет множества ограничителей, прикрепленных к передней и задней поверхностям воздушной подушки, каждый из которых имеет ширину, которая меньше соответствующей ширины между торцами воздушной подушки, так что, когда воздушная подушка находится по меньшей мере в раскрытом положении, один из торцов образует увеличенный участок рядом с неприкрепленным краем каждого ограничителя относительно другого конца.

8. Транспортное средство по п.7, в котором увеличенный участок образован воздушной подушкой.

9. Транспортное средство по п.7, в котором увеличенный участок сформирован из по меньшей мере одной панели, прикрепленной к по меньшей мере части наружной поверхности воздушной подушки на по меньшей мере одном из торцов, причем по меньшей мере одна панель имеет заданную толщину.

10. Транспортное средство по п.7, в котором увеличенный участок проходит по всей длине воздушной подушки на по меньшей мере одном из торцов.

11. Транспортное средство по п.7, в котором по меньшей мере один из торцов воздушной подушки, на котором расположен увеличенный участок, соответствует внешней стороне транспортного средства.

12. Транспортное средство по п.7, в котором увеличение толщины воздушной подушки за счет увеличенного участка составляет от 1 мм до 100 мм.

Описание

[1]

Область техники, к которой относится изобретение

[2]

Изобретение относится к оборудованию транспортных средств для защиты пассажиров в случае аварии или ином дорожно-транспортном происшествии.

[3]

Уровень техники

[4]

Во многих транспортных средствах применяют коленные подушки безопасности для обеспечения некоторой степени защиты голеней и коленей пользователя (водителя или пассажира) транспортного средства при нагрузке, например, при столкновении транспортного средства с каким-либо объектом. Такая нагрузка обычно приводит к резкому перемещению пользователя вперед в направлении приборной панели или других компонентов транспортного средства. Когда величина нагрузки превышает определенное пороговое значение, коленная подушка безопасности может раскрыться и взаимодействовать с голенями и/или коленями пользователя, предотвращая столкновение с приборной панелью или другими компонентами салона транспортного средства, либо уменьшая силу такого столкновения.

[5]

В некоторых ситуациях нагрузка может быть приложена со смещением или под углом к направлению движения транспортного средства, например, когда фронтальное столкновение транспортного средства с объектом происходит со смещением. В данной ситуации в результате удара приложенная нагрузка может привести к перемещению пассажира или водителя не только вперед, но и вбок, например, к двери или центральной консоли. Однако коленная подушка безопасности обычно имеет одинаковую толщину, а это значит, что такая конструкция данной подушки не учитывает это боковое перемещение.

[6]

Следовательно, существует необходимость в такой коленной подушке безопасности, которая выполнена с возможностью ограничения бокового перемещения, помимо перемещения пользователя вперед в случае аварии.

[7]

Раскрытие изобретения

[8]

Предложена конструкция коленной подушки безопасности, содержащая надувную воздушную подушку, которая имеет первый и второй торцы. Надувная подушка при наполнении газом может быть раскрыта из сложенного положения в раскрытое положение, в котором она имеет длину и толщину. Представленная подушка безопасности также может иметь увеличенный участок хотя бы на одном торце надувной подушки, по крайней мере, когда она находится в развернутом состоянии. Увеличенный участок может иметь увеличенную толщину хотя бы на участке длины по меньшей мере на одном из торцов так, что такая коленная подушка безопасности может быть несимметричной.

[9]

В одном примере транспортное средство может иметь пассажирский салон с двумя внешними сторонами, задающими внутреннюю область. Транспортное средство также может иметь коленную подушку безопасности с первым и вторым торцами. Первый торец может примыкать к одной из внешних сторон пассажирского салона, а второй торец может быть расположен ближе к внутренней области пассажирского салона. Надувная воздушная подушка может быть раскрыта при наполнении газом из свернутого положения в раскрытое положение, в котором она имеет длину и толщину. Коленная подушка безопасности также может иметь увеличенный участок хотя бы на одном торце надувной подушки, по крайней мере, когда она находится в раскрытом состоянии. Увеличенный участок подушки может иметь увеличенную толщину хотя бы на участке длины подушки по меньшей мере на одном из торцов так, что такая коленная подушка безопасности может быть несимметричной.

[10]

В другом аспекте изобретения предложен процесс изготовления коленной подушки безопасности, в ходе которого сначала собирают надувную подушку с первым и вторым торцами. Надувная воздушная подушка может быть раскрыта так, что она приобретает некоторую толщину. При этом обеспечивают увеличение толщины надувной подушки хотя бы на одном из торцов так, что коленная подушка безопасности в итоге получается несимметричной.

[11]

Краткое описание чертежей

[12]

На Фиг. 1 представлен вид сбоку транспортного средства с коленной подушкой безопасности в раскрытом положении.

[13]

На Фиг. 2 изображен вид сверху коленной подушки безопасности из Фиг. 1 согласно одному варианту осуществления изобретения.

[14]

На Фиг. 3A представлен вид спереди коленной подушки безопасности из Фиг. 2.

[15]

На Фиг. 3B изображен общий вид коленной подушки безопасности из Фиг. 2.

[16]

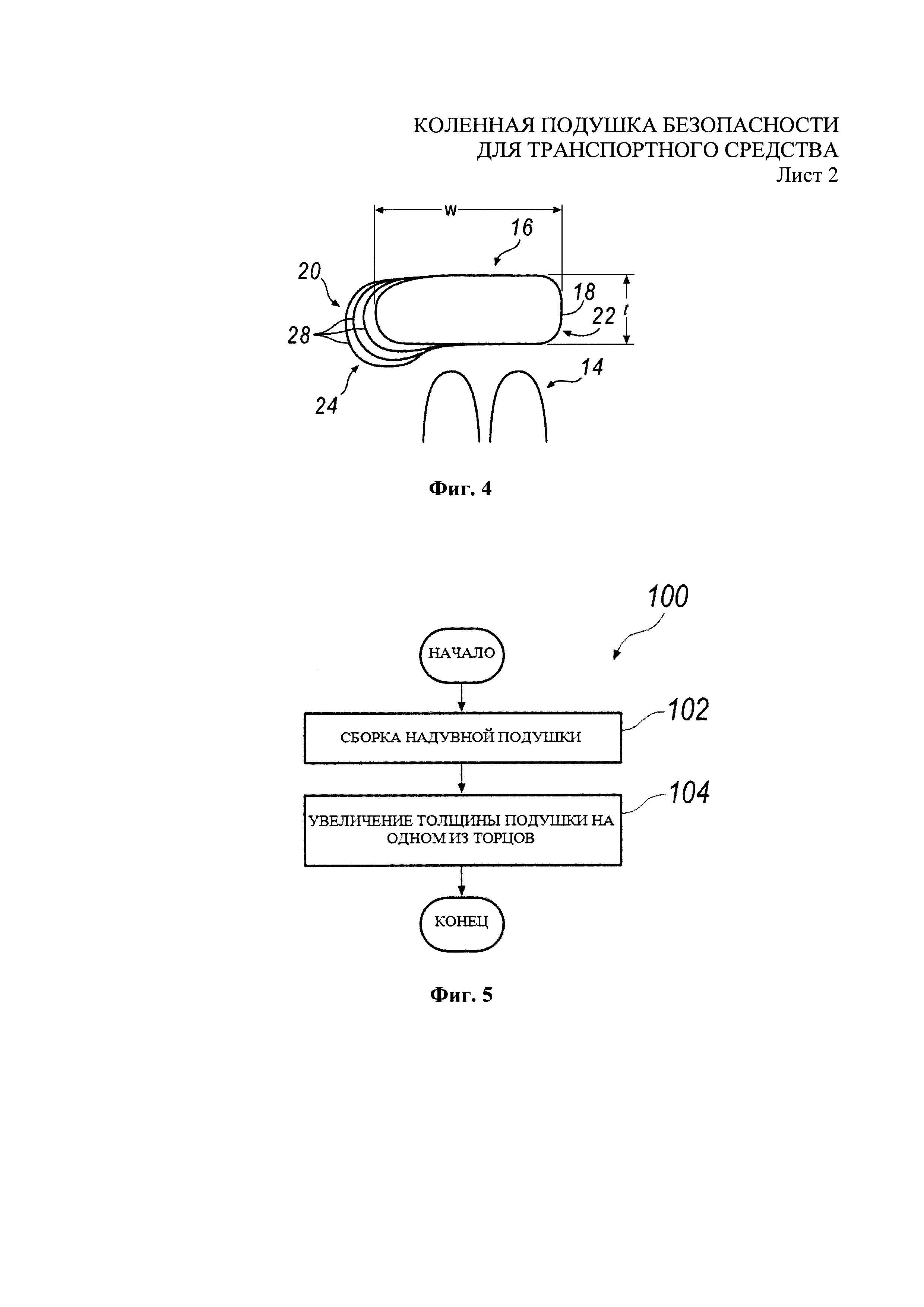
На Фиг. 4 изображен вид сверху коленной подушки безопасности из Фиг. 1 согласно другому варианту осуществления изобретения.

[17]

На Фиг. 5 изображена схема процесса изготовления коленной подушки безопасности из Фиг. 1.

[18]

Осуществление изобретения

[19]

На Фиг. 1 изображено транспортное средство 10 с пассажирским салоном 12, в котором могут сидеть пользователи. Пользователем 14 может быть водитель, как показано на Фиг. 1, или пассажир. Пассажирский салон 12 может со стороны водителя и пассажира иметь внешние стороны 30, образующие внутреннюю область 32 пассажирского салона 12. Несмотря на то, что транспортное средство 10 представлено на Фиг. 1 в виде седана или купе, следует понимать, что оно может быть любого типа, включая, помимо прочего, фургон, минифургон, спортивный автомобиль и т.д.

[20]

Транспортное средство 10 также может иметь коленную подушку безопасности 16, которая может быть выполнена с возможностью раскрытия из свернутого положения при возникновении нагрузки на транспортное средство 10, при которой пользователь 14 перемещается вперед к приборной панели или другому компоненту транспортного средства 10, и/или приборная панель или другой компонент салона перемещается назад в сторону пользователя 14. В то время как коленная подушка безопасности 16 изображена с водительской стороны пассажирского салона 12, следует понимать, что она также может находиться и на пассажирской стороне. Более того, коленная подушка безопасности 16 также может находиться в любом ряду сидений пассажирского салона 12.

[21]

При возникновении нагрузки коленная подушка безопасности 16 в раскрытом положении может обеспечить некоторую степень защиты голеней и/или коленей пользователя 14. В некоторых случаях нагрузка может быть направлена таким образом, что пользователь 14 может переместиться не только вперед, но и вбок, например, к внешней стороне 30 транспортного средства 10 (то есть, к двери) или к внутренней области 32 пассажирского салона 12. Коленная подушка 16 безопасности может иметь такую форму и конфигурацию, которая учитывает данное направление перемещения, как видно из Фиг. 2 и 4, а также описано более подробно далее.

[22]

Как показано на Фиг. 2-4, коленная подушка безопасности 16 может представлять собой надувную воздушную подушку 18, которая может раскрываться из свернутого положения в раскрытое положение. Надувная подушка 18 может иметь первый торец 20 и второй торец 22. Один из торцов 20 или 22 может находиться вблизи одной из внешних сторон 30 транспортного средства 10, а другой торец может быть направлен к внутренней области 32 пассажирского салона 12. В свернутом положении из надувной подушки 18, по меньшей мере частично, может быть выпущен газ, и она может быть расположена в специальном отсеке (не показан) компонента транспортного средства 10. Этим компонентом, помимо прочего, может являться рулевая колонка, приборная панель, перчаточный ящик и т.п.

[23]

В раскрытом положении надувная подушка 18 может иметь ширину w, которая ограничена первым торцом 20 и вторым торцом 22, первую толщину t1 и длину l. Первая толщина t1 может составлять, например, 150 мм. Раскрытие надувной подушки 18 может быть осуществлено путем ее надувания. Коленная подушка 16 безопасности внутри надувной подушки 18 также может иметь ограничители 26, как видно на Фиг. 3A и 3B. Каждый ограничитель 26 в виде растяжки может быть закреплен, например, путем прошивания, с передней и задней поверхностями надувной подушки 18, тем самым обеспечивая определенную толщину t1 надувной подушки 18 в раскрытом положении. Ограничители 26 могут иметь по существу одинаковую ширину (то есть расстояние от передней поверхности до задней поверхности надувной подушки 18) так, что по меньшей мере часть от всей ширины надувной подушки 18 может иметь по существу постоянную толщину. Ограничители 26 могут быть расположены, главным образом, в поперечном направлении между первым торцом 20 и вторым торцом 22. Несмотря на то, что на чертеже изображены три ограничителя 26, следует понимать, что ограничителей 26 может быть любое количество. Более того, ограничители 26 могут иметь одинаковую или разную длину.

[24]

Коленная подушка безопасности 16 также может иметь увеличенный участок 24 на первом торце 20 надувной подушки 18, по крайней мере, когда она находится в раскрытом состоянии. Следует понимать, что увеличенным участком 24 вместо первого торца 20 или в дополнение может быть второй торец 22. Увеличенный участок 24 может увеличить по меньшей мере толщину надувной подушки 18 в переднем и/или заднем направлениях так, чтобы коленная подушка безопасности 16 была несимметричной хотя бы в поперечном направлении. Увеличенный участок 24 может иметь толщину t2, которая больше толщины t1 надувной подушки 18. В одном примере разность в толщине между t1 и t2 может составлять от 1 мм до 100 мм. Увеличенный участок 24 выполнен с возможностью соприкосновения с голенями и/или коленями пользователя 14, когда пользователь перемещается вперед или вбок, как было сказано выше. Увеличенный участок 24 может проходить по всей длине надувной подушки 18, как видно из Фиг. 3A и 3B, либо только вдоль участка надувной подушки 18.

[25]

В одном варианте увеличенный участок 24 может быть ограничен формой надувной подушки 18, как видно на Фиг. 2, 3A и 3B. В данном случае по меньшей мере один из ограничителей 26 может быть расположен внутри надувной подушки 18 со смещением относительно центра в сторону второго торца 22 надувной подушки 18 (то есть, торец, противоположный увеличенному участку 24, либо там, где нет увеличенного участка 24), что продемонстрировано линией симметрии на Фиг. 2, 3A и 3B. Поскольку в представленном варианте ограничители 26 не прикреплены к надувной подушке на первом торце 20, толщина t2 на первом торце 20 ничем не ограничена, и газ способен расширить надувную подушку 18 в этом месте сильнее для формирования увеличенного участка 24. Следует понимать, что увеличенный участок 24 может быть сформирован на обоих торцах 20 и 22 путем выбора длины ограничителей 26 так, чтобы был достаточный участок на торцах 20 и 22, в которых ограничители не прикреплены к надувной подушке 18.

[26]

Альтернативно или дополнительно коленная подушка безопасности 16 также может содержать панели 28, прикрепленные, по меньшей мере частично, на внешней части надувной подушки 18 на первом торце 20 (то есть, на торце, на котором расположен увеличенный участок), как показано на Фиг. 4. Панели 28 могут иметь определенную толщину и могут быть выполнены из ткани любого типа, а также из другого подходящего материала. В одном варианте панели 28 могут быть пришиты к надувной подушке 18 и/или к предыдущим панелям 28. Несмотря на то, что на Фиг. 4 представлены три панели 28, следует понимать, что панелей 28 может быть любое количество, достаточное для достижения требуемого увеличения толщины, что может зависеть от толщины каждой панели 28.

[27]

На Фиг. 5 представлен процесс 100 изготовления коленной подушки 16 безопасности. На этапе 102 процесс 100 может включать в себя сборку надувной подушки 18, включая вставку по меньшей мере одного ограничителя 26 внутрь подушки 18 таким образом, чтобы он проходил главным образом в поперечном направлении от первого торца 20 до второго торца 22. Воздушная подушка 18 может быть надута так, что она при раскрытии приобретает некоторую толщину t1, как было сказано выше. На этапе 104 процесс 100 может включать в себя увеличение толщины надувной подушки 18 на одном из торцов 20 или 22. В одном варианте это можно осуществить путем расположения по меньшей мере одного ограничителя 26 со смещением от центра в сторону противоположного торца 22 или 20 надувной подушки 18. Альтернативно или дополнительно увеличение толщины на одном торце 20 или 22 может заключаться в закреплении хотя бы одной панели 28 по меньшей мере на участке наружной поверхности надувной подушки 18 на данном торце 20 или 22. Панель обычно имеет определенную толщину. Это можно осуществить путем пришивания хотя бы одной панели 28 к надувной подушке 18. Кроме того, по меньшей мере одна панель 28 может охватывать лишь часть длины надувной подушки 18 или всю ее длину, как было сказано выше. После этапа 104 процесс 100 завершается.

[28]

В отношении описанных в данном документе процессов, систем, способов, эвристических алгоритмов и т.д., следует понимать, что, несмотря на обозначенную последовательность этапов, они могут быть выполнены в другой последовательности. Также следует понимать, что некоторые этапы могут быть выполнены одновременно, а также некоторые этапы могут быть добавлены или опущены. Другими словами, описания процессов представлены лишь в качестве примера вариантов осуществления изобретения и не рассматриваются как ограничение изобретения.

[29]

Таким образом, следует понимать, что описание приведено в целях наглядности, а не ограничения. Многие дополнительные варианты реализации и применения, отличные от показанных примеров, станут очевидны при ознакомлении с вышеприведенным описанием. Объем не должен быть определен на основании приведенного выше описания, но, напротив, должен быть определен на основании прилагаемой формулы изобретения наряду с полным объемом эквивалентов, для которых данная формула является основанием. Предполагается и имеется в виду, что описываемые технологии могут быть развиты и усовершенствованы в будущем, причем раскрытые системы и способы будут включены в подобные будущие варианты реализации. Таким образом, следует понимать, что применение изобретения может быть изменено и модифицировано.

[30]

Все термины, применяемые в формуле изобретения, следует понимать в их наиболее широких разумных толкованиях и их обычных значениях, как это понимают специалисты в данной области техники, если иное явно не указано в описании изобретения. В частности, использование слов «какой-либо», «данный», «вышеуказанный» и т.д. надо понимать как один или несколько указанных элементов, если в формуле не указано иное.

Как компенсировать расходы
на инновационную разработку
Похожие патенты