Изобретение относится к строительству, а именно к устройству подземных резервуаров, преимущественно для хранения сжиженных газов. Способ устройства подземных резервуаров заключается в рытье котлована под резервуар, установке фундамента, установке резервуара в котлован и креплении его к фундаменту, испытании смонтированного резервуара, размещении на дне котлована вокруг резервуара сборной перемещаемой опалубки, снабженной элементами для захвата и перемещения опалубки в верхней части и засыпке пространства между резервуаром и котлованом. Опалубка является сборной, выполненной из набора боковых и торцевых элементов, а засыпку осуществляют послойным заполнением пространства между опалубкой и резервуаром - песком, а между опалубкой и котлованом - грунтом с последующей их трамбовкой каждого слоя. Затем производят повторное заполнение опалубки песком и котлована грунтом после перемещения опалубки вверх, вдоль резервуара до полной засыпки котлована и извлечения опалубки. Технический результат состоит в повышении экономичности монтажа резервуара за счет применения сборной опалубки, снижении трудоемкости, снижении расхода песка. 3 з.п. ф-лы, 4 ил.
1. Способ устройства подземных резервуаров, заключающийся в рытье котлована под резервуар, установке фундамента, установке резервуара в котлован и креплении его к фундаменту, испытании смонтированного резервуара, размещении на дне котлована вокруг резервуара сборной перемещаемой опалубки, снабженной элементами для захвата и перемещения опалубки в верхней части и засыпке пространства между резервуаром и котлованом, отличающийся тем, что опалубка является сборной, выполненной из набора боковых и торцевых элементов, а засыпку осуществляют послойным заполнением пространства между опалубкой и резервуаром - песком, а между опалубкой и котлованом - грунтом с последующей их трамбовкой каждого слоя, затем производят повторное заполнение опалубки песком и котлована грунтом после перемещения опалубки вверх, вдоль резервуара до полной засыпки котлована и извлечения опалубки. 2. Способ устройства подземных резервуаров, осуществляемый с помощью сборной перемещаемой опалубки по п. 1, отличающийся тем, что опалубка выполнена высотой не более 1,0 м. 3. Способ устройства подземных резервуаров, осуществляемый с помощью сборной перемещаемой опалубки по п. 1, отличающийся тем, что опалубка имеет переменные размеры, определяемые количеством боковых и торцевых элементов, снабженных отверстиями в верхней части для взаимного крепления между собой в соответствии с размерами резервуара. 4. Способ устройства подземных резервуаров, осуществляемый с помощью сборной перемещаемой опалубки по п. 1, отличающийся тем, что увеличение размеров сборной опалубки по длине и ширине осуществляется доборными элементами.
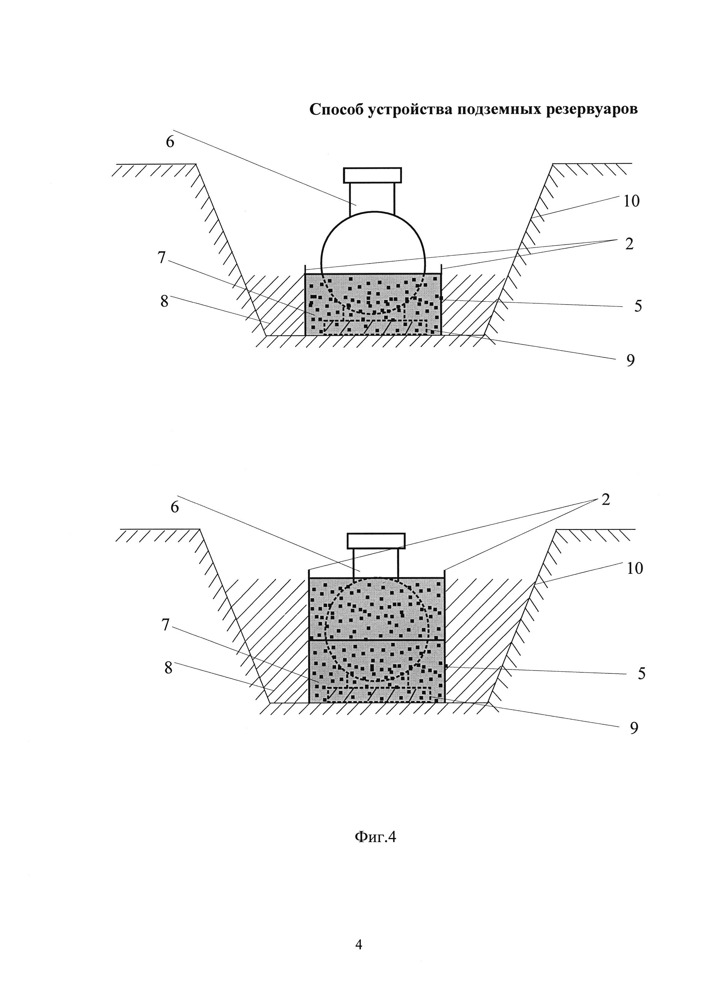
Изобретение относится к способам устройства подземных резервуаров, преимущественно для хранения сжиженных газов. Известен способ монтажа подземных трубопроводов (патент США №4633602, кл. E02F 5/12), включающий отрывку траншеи, выемку грунта складированием на одну сторону траншеи, укладку труб, создание грунтовой подушки и засыпку труб грунтовым материалом с помощью колесной транспортной машины, состоящей из заборной головки, подающей грунт из отвала на ленту транспортера с последующей подачей в вибрирующий сепаратор, позволяющий мелким частям грунта падать через сито в траншею на трубопровод. Недостаток данного способа состоит в том, что вибрация сепаратора приводит к сбиванию больших кусков породы и комков грунта с ленты транспортера в траншею, повреждению защитного покрытия трубопроводов, которое способствует последующей коррозии труб. Данное обстоятельство обуславливает использование для создания грунтовой подушки трубопроводов песчаных грунтов, а вынутый из траншей грунт вывозить с территории строительной площадки. Кроме того, громоздкая структура и сложный ременный привод блока сепаратора приводят к частым поломкам оборудования, что увеличивает стоимость строительно-монтажных работ. Известно устройство подземных цилиндрических резервуаров в грунте, включающее в себя рытье котлована под резервуар, установку фундаментной плиты, установку резервуара в котлован и крепление его к фундаменту, испытание смонтированного резервуара, засыпку установленного в котловане резервуара песком на полную глубину и вывоз вынутого из котлована грунта с территории строительной площадки (Трушин В.М. Устройство и эксплуатация установок сжиженного углеводородного газа. Л.: Недра, 1991, с. 92). Недостатками данного метода проведения работ является необходимость засыпки песком на полную глубину котлована и вывоз вынутого из котлована грунта с территории строительной площадки, что увеличивает стоимость монтажных работ. Наиболее близким является способ монтажа подземных вертикальных цилиндрических резервуаров (патент РФ №2495196, МПК E02D 27/38), включающий в себя засыпку установленного в котловане резервуара песком в перемещаемую опалубку, выполненную в виде цилиндра без основания с диаметром, определяемым в соответствии с диаметром резервуара, а засыпку осуществляют послойным заполнением пространства между опалубкой и резервуаром - песком, а между опалубкой и котлованом - грунтом с последующей их трамбовкой каждого слоя. Недостатками данного способа является конструкция опалубки, рассчитываемая и изготавливаемая индивидуально для каждого типоразмера вертикального резервуара. Данное обстоятельство обуславливает наличие у монтажной организации целого ряда цилиндрических опалубок, что приводит к значительному перерасходу материальных средств. При изменении размерного ряда резервуаров (переход к другому поставщику) существующие опалубки при выполнении засыпки песчаным грунтом могут не реализовывать требование по необходимой толщине песчаного слоя вокруг резервуара. Конструкция опалубки полностью исключает возможность устройства горизонтальных резервуаров в грунтовом массиве, наиболее часто применяемых в современной газовой практике. Задача предлагаемого изобретения заключается в снижении расхода песка при монтаже горизонтальных и вертикальных резервуаров, применении универсальной конструкции сборной перемещаемой опалубки, позволяющей повысить экономичность устройства резервуаров в грунтовом массиве. Технический результат изобретения заключается в экономии песчаного грунта при монтаже резервуаров любой конструкции, за счет применения универсальной сборной перемещаемой опалубки при проведении работ, исключении вывоза вынутого из котлована грунта с территории строительной площадки за счет его вторичного использования при засыпке котлована. Поставленная задача решается тем, что при осуществлении способа, заключающегося в рытье котлована под резервуар, установке фундамента, установке резервуара в котлован и креплении его к фундаменту, испытании смонтированного резервуара, размещение на дне котлована вокруг резервуара сборной перемещаемой опалубки, снабженной элементами для захвата и перемещения опалубки в верхней части и засыпку пространства между резервуаром и котлованом, согласно заявляемому техническому решению, что опалубка является сборной, выполненной из набора боковых и торцевых элементов, а засыпку осуществляют послойным заполнением пространства между опалубкой и резервуаром - песком, а между опалубкой и котлованом - грунтом с последующей их трамбовкой каждого слоя, затем производят повторное заполнение опалубки песком и котлована грунтом после перемещения опалубки вверх, вдоль резервуара до полной засыпки котлована и извлечения опалубки. Кроме того, опалубка выполнена высотой не более 1,0 м, имеет переменные размеры, определяемые количеством боковых и торцевых элементов, снабженных отверстиями в верхней части для взаимного крепления между собой в соответствии с размерами резервуара. Увеличение размеров сборной опалубки по длине и ширине осуществляется доборными элементами. Новым является то, что для осуществления способа монтажа применяется сборная перемещаемая опалубка, состоящая из набора унифицированных элементов. Каждый элемент сборной конструкции опалубки представляет собой стальной лист толщиной 3 мм, плотностью 7900 кг/м3 по ГОСТ 19903-90, с отверстиями у каждой боковой стороны для возможности взаимного закрепления соседних элементов с монтажными петлями в верхней части. Опалубка, собираемая на дне котлована вокруг монтируемого резервуара и обеспечивающая создание песчаной подушки, необходимой толщины, предотвращающей повреждения защитного покрытия подземного резервуара и исключающей пучинистые явления грунта вокруг резервуара, а также позволяющая использовать ранее вынутый из котлована грунт для обратной засыпки. Сущность изобретения поясняется чертежами, дающими представление о способе и принципе его действия. Фиг. 1 - элементы сборной перемещаемой опалубки. Фиг. 2 - сборная перемещаемая опалубка. Фиг. 3 - вид сбоку и вид сверху начального этапа устройства подземного горизонтального резервуара с помощью сборной перемещаемой опалубки. Фиг. 4 - вид начального и промежуточного этапов устройства подземного горизонтального резервуара с помощью сборной перемещаемой опалубки. На чертежах (фиг. 1, 2, 3, 4) приняты обозначения: 1 - боковой элемент сборной опалубки, 2 - элемент для захвата и перемещения опалубки; 3 - отверстия для взаимного крепления элементов опалубки; 4 - торцевой элемент опалубки; 5 - сборная перемещаемая опалубка; 6 - подземный горизонтальный резервуар; 7 - песок; 8 - грунт; 9 - фундамент; 10 - котлован. Способ устройства подземных резервуаров осуществляют следующим образом. В вырытый котлован 10 устанавливают фундамент 9, на который устанавливают и крепят резервуар 6 с последующим испытанием. Затем производят засыпку горизонтального резервуара 6, для чего перемещаемую опалубку 5 (фиг. 2) монтируют из элементов 1 и 4, вокруг горизонтального резервуара 6 (фиг. 3), таким образом, чтобы между перемещаемой опалубкой 5 и резервуаром 6 обеспечивался зазор 0,2 метра (фиг. 3). В пространство между горизонтальным резервуаром 6 и перемещаемой опалубкой 5 засыпают песок 7 слоем толщиной 0,2 м. Каждый слой тщательно уплотняют, например, ручной электротрамбовкой, поливая водой, для исключения осадки песка после окончания монтажных работ. В пространство между перемещаемой опалубкой 5 и стенкой котлована послойно засыпают ранее вынутый из котлована грунт 8 и подвергают уплотнению, после чего повторяют операции по частичной засыпке песка 7 и грунта 8 до достижения уровня песка в опалубке 0,8 м, после чего перемещаемую опалубку 5 сдвигают вверх вдоль резервуара 6 непосредственно за элементы для захвата 2. Далее перемещаемую опалубку 5 устанавливают на уплотненный ранее грунт и промежуточные этапы по наполнению опалубки 5 и котлована 10 повторяют (фиг. 4) до полной засыпки котлована 10 и извлечения сборной перемещаемой опалубки 5. После этого, из ранее вынутого из котлована грунта 8, формируют насыпь над планировочной поверхностью земли высотой 0,3 м на всю прилегающую территорию. Сборную перемещаемую опалубку 5 подвергают разборке на элементы 1 и 4. Сборную перемещаемую опалубку 5 (фиг. 2) собирают на строительной площадке из унифицированных боковых 1 и торцевых 4 элементов (фиг. 1), выполненных из стальных листов высотой не более 1,0 м и длиной 0,9 м, толщиной 3 мм и плотностью 7900 кг/м3 по ГОСТ 19903-90. Представленные размеры элементов позволяют собрать универсальную перемещаемую опалубку, позволяющую обеспечить устройство в грунте большинства резервуаров, используемых в практике газоснабжения. Необходимые размеры сборной перемещаемой опалубки по длине и ширине достигаются за счет взаимного закрепления элементов, количество которых принимается в соответствии с размером резервуара. В боковых элементах сборной перемещаемой опалубки в верхней части на расстоянии 50 мм и 150 мм от верхнего края выполнены отверстия 3 диаметром 20 мм на расстоянии 100 мм друг от друга для возможности переменного крепления элементов. Боковых элементов изготавливают восемь, два из которых являются доборными. Боковые элементы устанавливают с минимальным наложением по 50 мм с каждой стороны до совмещения крайних отверстий с последующим креплением болтом. Условие сохранения зазора 0,2 м между торцевой 4 и боковой 1 стенками сборной перемещаемой опалубки 5 и стенкой резервуара 6 при увеличении длины резервуара более 1,5 м или диаметра резервуара более 1,25 м обеспечивают увеличением количества боковых элементов 1 в конструкции сборной опалубки 5. Для наращивания размеров сборной перемещаемой опалубки 5 используют доборные элементы. Производят наложение элементов 1 и 4 сборной опалубки 5 до совпадения отверстий 3 двух соседних элементов и последующее крепление болтами. Конструкция перемещаемой опалубки 5 гарантирует необходимый зазор между стенкой резервуара 6 и опалубки для формирования защитного слоя вокруг подземного резервуара 6 толщиной 0,2 м. Элементы для захвата и перемещения опалубки 2 выполняют в виде монтажных петель, располагают по одной на каждом боковом элементе 1, в верхней части для обеспечения равномерного сдвига при устройстве и исключения смещения сборной перемещаемой опалубки 5 относительно оси и изготавливают с диаметром стержня 6 мм и высотой проушины петли 60 мм, соответствующей размерам чалочных крюков грузовых стропов, из стали класса А 240. Для предотвращения смещения и деформаций сезоннопромерзающих грунтов, после проведения монтажных работ засыпку резервуара 6 осуществляют крупнозернистым песком 7. Песок предотвращает повреждение изоляции резервуара при его засыпке в котловане 10, исключает смещение резервуара 6 от строительной отметки слоя за счет пучения и проседания при оттаивании и промерзании. Для оценки сравнительной эффективности применения способа устройства подземных резервуаров было проведено сравнение двух вариантов. В качестве базового варианта для сравнения принят подземный горизонтальный резервуар объемом 2,75 м3 с выполнением устройства по традиционной технологии с полной засыпкой котлована крупнозернистым песком и вывозом грунта с территории строительной площадки. В качестве альтернативного варианта - подземный горизонтальный резервуар объемом 2,75 м3 с применением предлагаемого способа устройства подземных горизонтальных резервуаров (табл. 1). Таким образом, применение предлагаемого способа устройства подземных резервуаров позволяет решить главную задачу изобретения - снизить расход песка при устройстве резервуаров в грунте.