патент
№ RU 2633781
МПК A61D3/00

УСТРОЙСТВО БЕРЕЖНОЙ ФИКСАЦИИ МЕЛКИХ ЛАБОРАТОРНЫХ ЖИВОТНЫХ, ПОЗВОЛЯЮЩЕЕ ПРОИЗВОДИТЬ МАНИПУЛЯЦИИ С ВЫБРАННЫМ УЧАСТКОМ ПОВЕРХНОСТИ ТЕЛА, ДЛЯ ПРОВЕДЕНИЯ ДОКЛИНИЧЕСКИХ ИССЛЕДОВАНИЙ

Авторы:
Мустафин Ильшат Ганиевич Халиуллин Феркат Адельзянович Самородов Александр Владимирович
Все (5)
Номер заявки
2016152438
Дата подачи заявки
28.12.2016
Опубликовано
18.10.2017
Страна
RU
Как управлять
интеллектуальной собственностью
Чертежи 
6
Реферат

Изобретение относится к экспериментальной медицине, а именно к устройству для фиксации лабораторных животных, преимущественно крыс. Устройство содержит прозрачный корпус, прикрепленные к нему заднюю заглушку корпуса и переднюю подвижную перемещаемую вдоль оси корпуса воронкообразную заглушку, выполненные из поликарбоната. Корпус выполнен прямоугольной формы, снабжен плоской платформой со съемной крышкой. Задняя заглушка выполнена подвижной, на верхней поверхности корпуса в головной части и воронкообразной передней подвижной заглушке выполнены прямоугольные отверстия размерами 15×60 мм. Плоская платформа, съемная крышка и задняя подвижная заглушка снабжены вырезами для хвоста животного. В корпусе параллельно длинной оси выполнены четыре продольных прямоугольных разреза, причем нижние продольные разрезы для передних и задних лап выполнены высотой 15 мм на расстоянии 20 мм от краев корпуса, верхние продольные разрезы для перемещения и фиксации передней и задней заглушек выполнены высотой 5 мм на расстоянии 10 мм от краев корпуса. По площади корпуса, платформы и съемной крышки выполнены отверстия для проведения внутрибрюшных, внутрикожных и подкожных инъекций. Использование изобретения позволит обеспечить максимальную иммобилизацию животного во время фиксации, удобный доступ для манипуляций. 11 ил.

Формула изобретения

Устройство для фиксации лабораторных животных, преимущественно крыс, содержащее прозрачный корпус, прикрепленные к нему заднюю заглушку корпуса и переднюю подвижную перемещаемую вдоль оси корпуса воронкообразную заглушку, выполненные из поликарбоната, отличающееся тем, что корпус выполнен прямоугольной формы, снабжен плоской платформой со съемной крышкой, задняя заглушка выполнена подвижной, на верхней поверхности корпуса в головной части и воронкообразной передней подвижной заглушке выполнены прямоугольные отверстия размерами 15×60 мм, плоская платформа, съемная крышка и задняя подвижная заглушка снабжены вырезами для хвоста животного, в корпусе параллельно длинной оси выполнены четыре продольных прямоугольных разреза, причем нижние продольные разрезы для передних и задних лап выполнены высотой 15 мм на расстоянии 20 мм от краев корпуса, верхние продольные разрезы для перемещения и фиксации передней и задней заглушек выполнены высотой 5 мм на расстоянии 10 мм от краев корпуса, а по площади корпуса, платформы и съемной крышки выполнены отверстия для проведения внутрибрюшных, внутрикожных и подкожных инъекций.

Описание

[1]

Изобретение относится к медицине, а именно к экспериментальной фармакологии, биохимии, физиологии и касается устройства для фиксации мелких лабораторных животных, преимущественно крыс, позволяющего производить манипуляции с выбранным участком поверхности тела.

[2]

Большое количество исследовательских работ проводится с использованием лабораторных животных, и белые крысы являются традиционными представителями биомоделей.

[3]

В настоящее время фиксация крыс производится путем привязывания конечностей и расположения животного на плоской поверхности, что является достаточно трудоемким, или помещения в ограничивающую перемещение капсулу, выполненную, как правило, из прочного прозрачного материала и имеющую отверстия для дыхания. Недостатками последнего устройства являются относительно высокая стоимость, невозможность проведения оперативных манипуляций из-за отсутствия окон доступа в устройстве и фиксации конечностей в необходимом для оператора положении.

[4]

Известно устройство для фиксации мелких лабораторных животных для внутривенных инъекций серии Tailveiner® фирмы Braintree Scientific Inc., США. Фиксатор представлен прозрачной трубой, ограниченной заглушкой с ручкой, которая легко перемещается для фиксации крыс или мышей любого размера с автоматической фиксацией при отпускании ручки [http://www.braintreesci.com/departments.asp?dept=1].

[5]

Преимуществами данного фиксатора являются возможность использовать мелких лабораторных животных любого размера, высокая скорость фиксации животного, которая уменьшает стресс и экономит время эксперимента. Недостатками являются высокая стоимость, невозможность проводить другие манипуляции кроме внутривенных инъекций в вены хвоста.

[6]

Известны фиксаторы серии DecapiCones® (фирмы Braintree Scientific Inc., США), выполненные в виде конуса из пластмассы и полиэтиленовой пленки [http://www.braintreesci.com/departments.asp?dept=1]. Преимуществом является быстрая и легкая фиксация крыс, мышей и других маленьких животных, возможность проведения внутрибрюшинных инъекций и декапитации. Однако недостатком является невозможность совершить другие манипуляции за исключением вышеуказанных.

[7]

Известно коммерческое устройство - плоскодонный рестрейнер (Braintree Scientific Inc., США) разных размеров в исполнении "для мышей" и "для крыс", имеющее полу цилиндрическую форму и снабженное отверстиями снизу для внутрибрюшных инъекций и углублением малого размера для хвоста для внутривенных инъекций. Каждое устройство спереди имеет открытую щель, обеспечивающую вентиляцию [http://www.braintreesci.com/departments.asp?dept=1]. Использование данного рестрейнера позволяет зафиксировать экспериментальное животное только для проведения внутрибрюшинных инъекций и манипуляций с хвостом.

[8]

Прототипом изобретения является фиксатор (рестрейнер) для лабораторных животных, выпускаемый ООО "НПК Открытая Наука" (Россия), в вариантах исполнения "для крыс" и "для мышей", содержащий прозрачный туннелеобразный корпус из акрилового пластика или нержавеющей стали, заднюю заглушку корпуса и переднюю подвижную перемещаемую вдоль оси корпуса воронкообразную заглушку из того же материала, которые крепятся к корпусу металлическими винтами [Фиксаторы (рестрейнеры) для лабораторных животных [Электронный ресурс. Режим доступа: http://www.openscience.ru/index.php?page=other&item=021. Дата доступа: 25.11.2016]. Недостатками данного устройства являются высокая стоимость, относительно большой вес, отсутствие возможности подгонки устройства по размерам животного в хвостовой части устройства, вследствие чего возможно изменение требуемого экспериментатору положения тела животного в устройстве (например, небольшая крыса может развернуться хвостом к воронке), кроме этого манипуляции с животным ограничены фиксацией и работой с хвостом. При использовании в качестве основного материала данного фиксатора нержавеющей стали исключаются рентгенологические методы исследования.

[9]

Задачей изобретения является создание фиксирующего устройства с полной иммобилизацией животного, сочетающего простоту и дешевизну изготовления, удобство в эксплуатации, атравматичность использования, доступность для дезинфекции, с возможностью проведения торакоабдоминальных операционных процедур, манипуляций на конечностях и головном мозгу, возможностью проведения рентгенологических исследований.

[10]

Технический результат при использовании изобретения - обеспечение максимальной иммобилизации во время фиксации, удобного доступа для манипуляций к фиксированному животному и возможности проведения манипуляций, как на различных участках тела, так и на конечностях.

[11]

Указанный технический результат достигается тем, что в устройстве для фиксации лабораторных животных, преимущественно крыс, содержащем прозрачный корпус, прикрепленные к нему заднюю заглушку корпуса и переднюю подвижную перемещаемую вдоль оси корпуса воронкообразную заглушку, выполненные из поликарбоната, согласно изобретению корпус выполнен прямоугольной формы, снабжен плоской платформой со съемной крышкой, задняя заглушка выполнена подвижной, на верхней поверхности корпуса в головной части и воронкообразной передней подвижной заглушке выполнены прямоугольные отверстия размерами 15×60 мм, плоская платформа, съемная крышка и задняя подвижная заглушка снабжены вырезами для хвоста животного, в корпусе параллельно длинной оси выполнены четыре продольных прямоугольных разреза, причем нижние продольные разрезы для передних и задних лап выполнены высотой 15 мм на расстоянии 20 мм от краев корпуса, верхние продольные разрезы для перемещения и фиксации передней и задней заглушек выполнены высотой 5 мм на расстоянии 10 мм от краев корпуса, а по площади корпуса, платформы и съемной крышки выполнены отверстия для проведения внутрибрюшных, внутрикожных и подкожных инъекций.

[12]

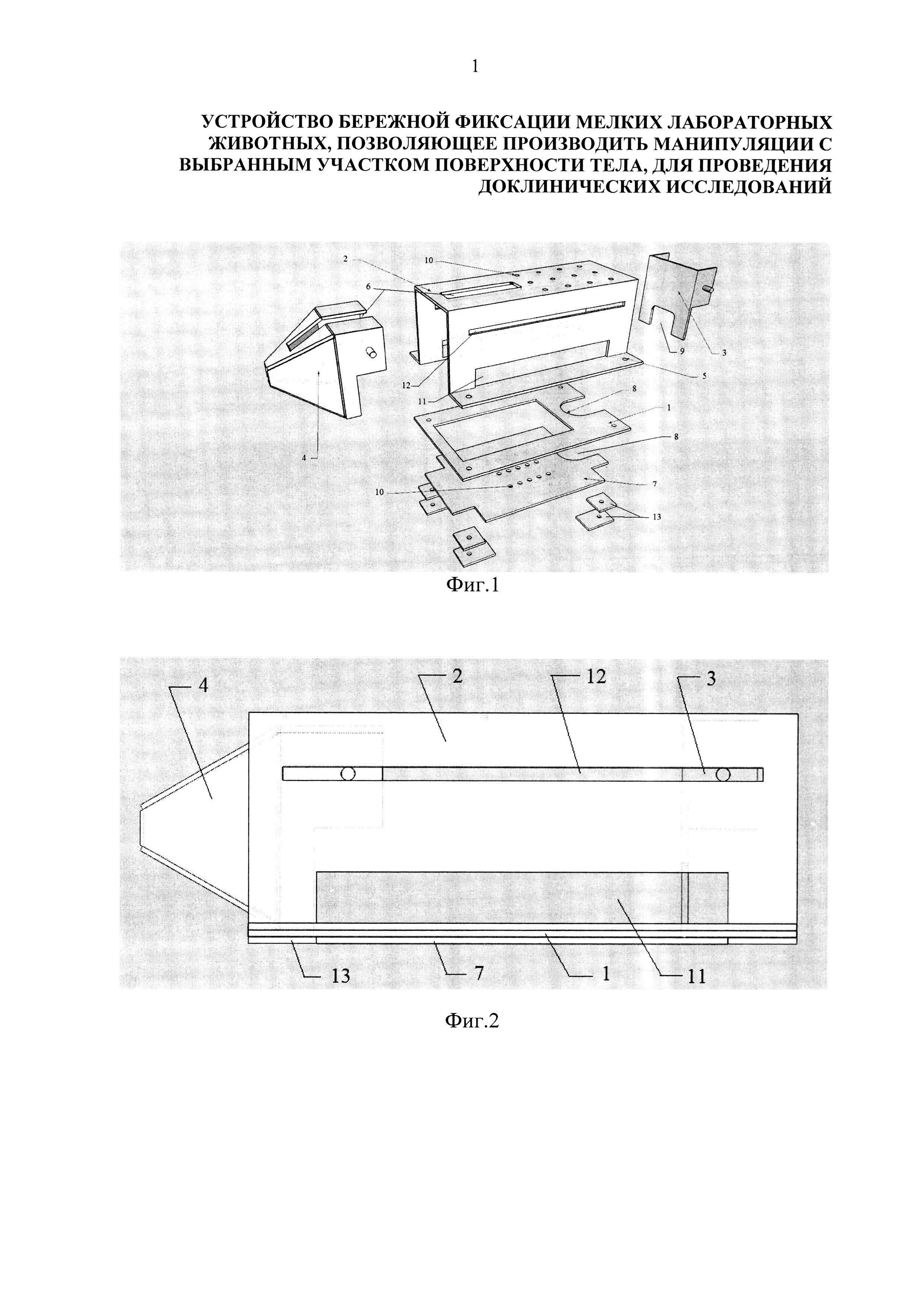
Сущность изобретения поясняется следующими фигурами: на фиг. 1-4 схематично изображен корпус предлагаемого устройства; на фиг. 5-6 - общий вид устройства; на фиг. 7-11 - фиксация животного в корпусе устройства, примеры возможных манипуляций с животным, зафиксированным в устройстве.

[13]

Предлагаемое устройство для фиксации мелких лабораторных животных состоит из плоской платформы 1, прозрачного прямоугольного корпуса 2, задней 3 и воронкообразной передней подвижных заглушек 4, перемещаемых вдоль оси корпуса, выполненных из поликарбоната и закрепленных металлическими винтами через отверстия 5. Прямоугольная форма корпуса позволяет расположить зафиксированное животное, не вынимая из фиксатора, брюшком кверху для торакоабдоминальных вмешательств. На верхней поверхности корпуса в головной части и воронкообразной передней подвижной заглушке располагаются прямоугольные отверстия 6 размерами 15×60 мм для доступа к голове зафиксированного животного. Прямоугольный корпус располагается на плоской платформе, плоская платформа оснащена съемной крышкой 7, открывающей доступ к фиксированному животному со стороны брюшка. Плоская платформа, съемная крышка и задняя подвижная заглушка снабжены соответственно вырезами 8, 9 для удобного выведения и фиксации хвоста животного для манипуляций. Прямоугольный корпус, плоская платформа и съемная крышка снабжены отверстиями 10 для проведения внутрибрюшных, внутрикожных и подкожных инъекций, независимо от исходного расположения лабораторного животного. В прямоугольном корпусе параллельно длинной оси выполнено четыре продольных прямоугольных разреза 11-12. Нижние продольные разрезы 11 высотой 15 мм выполнены на расстоянии 20 мм от краев корпуса и предназначены для фиксации передних и задних лап для проведения манипуляций (например, регистрация ЭКГ или внутримышечных инъекций). Верхние продольные разрезы 12 высотой 5 мм отступают на расстояние 10 мм от краев корпуса и предназначены для перемещения и фиксации передней и задней заглушек, согласно истинному размеру лабораторного животного. Съемная крышка крепится к плоской платформе четырьмя поворотными фиксаторами 13 (фиг. 1-4). Материал, из которого изготовлен корпус устройства, производится промышленностью в достаточных объемах, по доступной цене. Работа с материалом, из которого изготовлен корпус устройства, не требует специальных навыков и специализированного оборудования. Материал корпуса пригоден для мытья и обработки дезинфицирующими средствами, является рентгенонегативным.

[14]

Предлагаемое устройство используется следующим образом. Экспериментальное животное (крыса) самостоятельно устремляется в устройство через открытую заднюю задвижку, в связи с норковым рефлексом, до воронкообразной передней задвижки. При этом животное ограничено передней заглушкой, которая легко перемещается для фиксации крыс или мышей любого размера. Голова находится во внутреннем просвете устройства у его среза для возможности манипуляционных действий с этой частью тела животного и/или погружения в ингаляционный наркоз; хвост свободно свешивается из противоположного среза устройства, также позволяя манипулировать им (например, осуществлять забор крови, исследовать болевые реакции и др.). Отверстия по всей площади устройства позволяют проводить внутрибрюшинные инъекции. В зависимости от цели экспериментальной работы (регистрация ЭКГ, придание операционного положения и т.д.) доступ к конечностям и возможность их фиксации осуществляется через отверстия для конечностей. Прямоугольная форма фиксатора позволяет расположить животное на спине. Съемная крышка плоской платформы позволяет проводить хирургические манипуляции торакоабдоминальным доступом. Металлические винты, фиксирующие прямоугольный корпус и плоскую платформу, могут быть использованы в качестве крепления ранорасширителя при торакоабдоминальных вмешательствах (фиг. 7-11).

[15]

Использование предлагаемого устройства иллюстрируется следующим примером: крыса, самец линии «Вистар», весом 300 грамм, помещен в заявляемое устройство для фиксации. Произведена наркотизация внутрибрюшинным введением тиопентала натрия через отверстия 10 в плоской платформе фиксатора. Далее через нижние продольные вырезы 11 для конечностей произведена фиксация верхних и нижних конечностей, произведена регистрация ЭКГ. Затем животное помещено на спину путем переворачивания фиксатора, отсоединена съемная крышка 7 плоской платформы, произведена обработка операционного поля с последующей лапаротомией. Передняя брюшная стенка прошита четырьмя швами, а лигатуры фиксированы к металлическим винтам в отверстиях 5, формируя ранорасширитель. Далее проведено выделение и перевязка нижней полой вены для формирования тромбоза, ушивание лапаротомной раны. В хвостовую вену, с целью проведения рентгеноконтрастных методов исследования, вводился водорастворимый оптирей 350 (Tyco Healthcare, Канада). Произведена ангиопульмонография троекратно через 1, 2 и 3 часа. Во время второго и третьего рентгенологического исследования крыса находилась в сознании, но оставалась деликатно зафиксированной в нужном положении благодаря устройству фиксатора. Завершили исследование повторной внутрибрюшинной наркотизацией тиопенталом натрия и забором крови с разных участков кровотока, в том числе из синусов твердой мозговой оболочки крысы через отверстия 6 (фиг. 7-11).

Как компенсировать расходы
на инновационную разработку
Похожие патенты