патент
№ RU 2631444
МПК E04G3/28

СИСТЕМА ОБСЛУЖИВАНИЯ ФАСАДОВ С ТЕЛЕСКОПИЧЕСКОЙ ПОДЪЕМНОЙ ПЛАТФОРМОЙ ОБСЛУЖИВАНИЯ И ПОДЪЕМНАЯ ПЛАТФОРМА ОБСЛУЖИВАНИЯ ДЛЯ НЕЕ

Авторы:
ПОМОРСКИ Кшиштоф Пётр (PL)
Номер заявки
2016126991
Дата подачи заявки
05.07.2016
Опубликовано
22.09.2017
Страна
RU
Как управлять
интеллектуальной собственностью
Чертежи 
12
Реферат

Изобретение относится к строительной технике и может быть использовано при обслуживании фасадов зданий и сооружений сложной архитектурной конфигурации, а также при проведении работ по их реконструкции и ремонту, в том числе, касается средств подъема и спуска персонала, грузов и технической оснастки при обслуживании высотных объектов. Технический результат, достигаемый заявленной группой изобретений, заключается в повышении эффективности работы системы обслуживания фасадов, за счет сокращения операций, связанных с необходимостью перемещения подъемной платформы обслуживания как в горизонтальной, так и вертикальной плоскости, повышении надежности и безопасности эксплуатации системы и входящих в ее состав устройств, а также повышении удобства складирования подъемной платформы. Технический результат достигается тем, что используют систему обслуживания фасада здания, содержащую закрепленные вдоль ребер фасада рельсовые фасадные направляющие, повторяющие контур ребер, подъемное устройство в виде размещенных вдоль ребер, на уровне здания, над поверхностью обслуживания фасада, средств подъема и секционную телескопическую подъемную платформу с бортовым ограждением, снабженную средствами крепления к фасадным направляющим и средствами соединения с подъемным устройством. Подъемная платформа размещена между фасадными направляющими, расположенными вдоль ребер по боковым сторонам поверхности обслуживания, а средства крепления платформы к фасадным направляющим и соединения с подъемным устройством оборудованы в каретках, подвижно соединенных рамной конструкцией с торцевыми сторонами подъемной платформы, по меньшей мере одна из которых образована наружной торцевой стороной концевой телескопической секции, с обеспечением возможности перемещения платформы в вертикальном направлении, вдоль фасадных направляющих, с адаптивным изменением рабочей длины подъемной платформы по ширине фасада с помощью перемещения телескопических секций в горизонтальном направлении. 2 и 44 з.п. ф-лы, 12 ил.

Формула изобретения

1. Система обслуживания фасада здания, содержащая, по меньшей мере, закрепленные вдоль ребер фасада рельсовые фасадные направляющие, повторяющие контур ребер, по меньшей мере одно подъемное устройство, расположенное на уровне здания, над поверхностью обслуживания фасада, и съемную подъемную платформу с бортовым ограждением, снабженную средствами крепления к фасадным направляющим и средствами соединения с подъемным устройством, причем, подъемная платформа выполнена секционной, содержащей по меньшей мере одну основную секцию и по меньшей мере одну выдвижную в горизонтальном направлении телескопическую секцию, снабженные, по меньшей мере, настилом по нижнему основанию, а также линейными направляющими и средствами перемещения телескопических секций вдоль них, при этом подъемная платформа размещена между фасадными направляющими, расположенными вдоль ребер по боковым сторонам поверхности обслуживания, а средства крепления платформы к фасадным направляющим и соединения с подъемным устройством оборудованы в каретках, подвижно соединенных рамной конструкцией с торцевыми сторонами подъемной платформы, по меньшей мере одна из которых образована наружной торцевой стороной концевой телескопической секции, и жестко соединенных с фасадными направляющими, с обеспечением возможности перемещения платформы в вертикальном направлении вдоль фасадных направляющих и адаптивным изменением рабочей длины подъемной платформы по ширине фасада с помощью перемещения телескопических секций в горизонтальном направлении.

2. Система по п.1, отличающаяся тем, что фасадные направляющие выполнены с жестким несущим профилем в виде полурельсов, дуговых сегментов, труб или в плоском исполнении.

3. Система по п.2, отличающаяся тем, что фасадные направляющие закреплены кронштейнами вдоль ребер здания.

4. Система по п. 1, отличающаяся тем, что подъемное устройство содержит по меньшей мере два средства подъема, установленные возле ребер здания с фасадными направляющими, а средства соединения платформы с подъемным устройством, расположены с торцевых сторон платформы и соединены с соответствующими средствами подъема вдоль ребер.

5. Система по п. 4, отличающаяся тем, что средства подъема подъемного устройства содержат по меньшей мере две лебедки или снабженные лебедками две консоли или подъемные стрелы, установленные возле ребер здания с фасадными направляющими, а каждая лебедка подъемного устройства снабжена приводом, тормозом и двумя парами тросов, тягового и страховочного, расположенных вдоль фасадных направляющих и соединенных со средствами крепления подъемной платформы к фасадным направляющим.

6. Система по п. 5, отличающаяся тем, что средства крепления платформы к фасадным направляющим выполнены в виде размещенных на наружных рамных стойках, в верхней части торцевых сторон платформы, роликовых кареток, контактирующих с ветвями тросов, проходящих вдоль фасадных направляющих, и охватывающих снаружи фасадные направляющие.

7. Система по п.6, отличающаяся тем, что каретки средства крепления платформы снабжены двухрядной обоймой с направляющими роликами.

8. Система по п. 6, отличающаяся тем, что фасадные направляющие закреплены вдоль ребер здания кронштейнами, снабженными ловителями тросов.

9. Система по п. 8, отличающаяся тем, что ловитель тросов выполнен в виде размещенного на кронштейне стального ролика с канавкой, контактирующего с тросами и удерживающего их в пределах контактной зоны с кареткой подъемной платформы.

10. Система по п. 8, отличающаяся тем, что ловитель тросов выполнен в виде стационарно закрепленного на кронштейне крючка, в углублении зацепа контактирующего с тросами и удерживающего их в пределах контактной зоны с кареткой подъемной платформы.

11. Система по п. 10, отличающаяся тем, что по внутренней части зацепа крючка ловителя размещен слой материала, обеспечивающего скольжение тросов по нему.

12. Система по п. 11, отличающаяся тем, что зацеп ловителя снабжен слоем из нилатрона.

13. Система по п.6, отличающаяся тем, что средства крепления платформы к фасадным направляющим дополнительно снабжены контактными роликами, размещенными на наружных рамных стойках по нижнему основанию торцевых сторон платформы.

14. Система по п.13, отличающаяся тем, что направляющие и контактные ролики выполнены из резины.

15. Система по п.6, отличающаяся тем, что тяговый и страховочный тросы проходят вдоль фасадных направляющих с внешней стороны.

16. Система по п.5, отличающаяся тем, что фасадные направляющие выполнены в виде полого профиля с прорезью, по меньшей мере, для установки во внутреннем пространстве тягового и страховочного тросов.

17. Система по п.16, отличающаяся тем, что средства крепления платформы к фасадным направляющим выполнены в виде размещенных на наружных рамных стойках, в верхней части торцевых сторон платформы, роликовых кареток, контактирующих с ветвями тросов, проходящих вдоль фасадных направляющих, и расположенных во внутренней полости профиля фасадных направляющих, с опорой на ролики, контактирующие со стеновыми элементами профиля.

18. Система по п.1, отличающаяся тем, что подъемное устройство содержит привод с зубчато-реверсивным механизмом, снабженный электродвигателем, расположенным на платформе и связанным с ним редуктором, выходной вал которого соединен с зубчатым колесом, соединенным с рейкой или цепью, размещенной вдоль фасадных направляющих.

19. Система по п. 18, отличающаяся тем, что электроснабжение привода осуществлено посредством контактного рельса и токоприемника, где контактный рельс через изолирующие прокладки соединен средствами крепления с соответствующей фасадной направляющей.

20. Система по п. 18, отличающаяся тем, что фасадные направляющие выполнены в виде полого профиля с прорезью, по меньшей мере, для установки во внутреннем пространстве тягового и страховочного тросов.

21. Система по п.18, отличающаяся тем, что средства крепления платформы к фасадным направляющим выполнены в виде размещенных на наружных рамных стойках, в верхней части торцевых сторон платформы, роликовых кареток, сопряженных рамными элементами, по меньшей мере, с зубчатым колесом подъемного устройства и контактирующих с ветвями тросов, расположенных во внутренней полости профиля фасадных направляющих, с опорой на ролики, контактирующие со стеновыми элементами профиля.

22. Система по п.21, отличающаяся тем, что каретки средства крепления платформы снабжены двухрядной обоймой с направляющими роликами.

23. Система по п. 18, отличающаяся тем, что каретки снабжены ловителями тросов.

24. Система по п.21, отличающаяся тем, что средства крепления платформы к фасадным направляющим дополнительно снабжены контактными роликами, размещенными на наружных рамных стойках по нижнему основанию торцевых сторон платформы.

25. Система по п.24, отличающаяся тем, что направляющие и контактные ролики выполнены из резины.

26. Система по п.18, отличающаяся тем, что привод снабжен пультом управления, размещенным на платформе.

27. Система по любому из пп. 1-26, отличающаяся тем, что подъемная платформа выполнена одноуровневой с размещением телескопических секций с одной из торцевых сторон основной секции, причем со стороны второй торцевой стороны основная секция соединена со смежной ей фасадной направляющей средством крепления.

28. Система по любому из пп. 1-26, отличающаяся тем, что платформа выполнена одноуровневой с размещением телескопических секций с двух торцевых сторон основной секции, с обеспечением возможности перемещения телескопических секций относительно основной по обеим торцевым сторонам независимо друг от друга.

29. Система по п.28, отличающаяся тем, что концевые секции соединены со смежными фасадными направляющими средствами крепления.

30. Система по любому из пп. 1-26, отличающаяся тем, что платформа выполнена одноуровневой, с зеркальным расположением телескопических секций относительно линейно соединенных между собой двух основных секций.

31. Система по любому из пп. 1-26, отличающаяся тем, что платформа выполнена двухъярусной с соосным размещением вдоль вертикальной оси основных секций каждого яруса, снабженных зеркально расположенными друг относительно друга между ярусами с одной из торцевых сторон телескопическими секциями, с обеспечением возможности и независимого перемещения телескопических секций каждого яруса относительно друг друга.

32. Подъемная платформа для обслуживания фасадов системы по п.1 выполнена секционной, содержащей по меньшей мере одну основную секцию и по меньшей мере одну выдвижную в горизонтальном направлении телескопическую секцию, снабженные, по меньшей мере, настилом по нижнему основанию, а также линейными направляющими для перемещения телескопических секций и средствами перемещения секций вдоль них, и средствами крепления платформы к фасадным направляющим, размещенными со стороны торцевых сторон платформы, по меньшей мере одна из которых образована торцевой стороной смежной с фасадной направляющей концевой телескопической секции платформы, с обеспечением возможности последовательного перемещения вдоль линейных направляющих телескопических секций относительно друг друга и основной секции с адаптивным изменением длины подъемной платформы пропорционально изменению ширины фасада при перемещении платформы вдоль фасадных направляющих и обеспечением возможности обслуживания поверхности фасада по всей его ширине на текущем уровне размещения платформы.

33. Платформа по п.32, отличающаяся тем, что средства перемещения выдвижных телескопических секций выполнены в виде роликов или кареток, снабженных роликами, размещаемых вдоль линейных направляющих смежной секции и выполненных с обеспечением возможности скольжения вдоль направляющих при перемещении телескопической секции в горизонтальном направлении.

34. Платформа по п.33, отличающаяся тем, что линейные направляющие размещены вдоль боковых сторон с верхней стороны настила на ширину, не превышающую ширину смежной телескопической секции, размещаемой в сложенном состоянии платформой сверху, при этом смежные с линейными направляющими ролики (каретки) расположены по нижнему основанию настила телескопических секций.

35. Платформа по п.34, отличающаяся тем, что основная секция в сложенном состоянии является нижней секцией, а телескопические секции задвигаются одна в другую и основную секцию сверху.

36. Платформа по п.32, отличающаяся тем, что секции платформы снабжены стопорными элементами, располагаемыми по торцевым сторонам каждой секции, с обеспечением возможности предотвращения силового вытягивания секции из конструкции телескопа и/или перемещения телескопической секции за пределы основной секции с противоположной торцевой стороны при возврате секции во вложенное состояние.

37. Платформа по п.32, отличающаяся тем, что платформа снабжена бортовым ограждением по боковой поверхности, при этом ограждение с торцевых сторон располагается в секциях, являющихся смежными с фасадными направляющими, между которыми расположена платформа.

38. Платформа по п.32, отличающаяся тем, что средства крепления платформы к фасадным направляющим выполнены в виде размещенных на наружных рамных стойках, в верхней части торцевых сторон платформы, роликовых кареток с двухрядной обоймой с направляющими роликами.

39. Платформа по п.38 отличающаяся тем, что средства крепления платформы к фасадным направляющим дополнительно снабжены контактными роликами, размещенными на наружных рамных стойках по нижнему основанию торцевых сторон платформы.

40. Платформа по п.32, отличающаяся тем, что дополнительно снабжена выступающими наружу упорами, установленными со стороны платформы, смежной с фасадом здания, выполненными с обеспечением возможности ограничения расстояния между платформой и фасадом.

41. Платформа по п. 37, отличающаяся тем, что борта вдоль боковых сторон телескопических секций в сложенном в основную секции состоянии выполнены не ниже 1,2 м.

42. Платформа по п. 32, отличающаяся тем, что вертикальный предельный прогиб платформы в максимально выдвинутом состоянии не превышает 1/400 общей длины платформы.

43. Платформа по любому из пп. 32-42, отличающаяся тем, что выполнена одноуровневой с размещением телескопических секций с одной из торцевых сторон основной секции.

44. Платформа по любому из пп. 32-42, отличающаяся тем, что выполнена одноуровневой с размещением телескопических секций с двух торцевых сторон, с обеспечением возможности перемещения телескопических секций относительно основной по обеим торцевым сторонам независимо друг от друга.

45. Платформа по любому из пп. 32-42, отличающаяся тем, что выполнена одноуровневой, с зеркальным расположением телескопических секций относительно линейно соединенных между собой двух основных секций.

46. Платформа по любому из пп. 32-42, отличающаяся тем, что платформа выполнена двухъярусной с соосным размещением вдоль вертикальной оси основных секций, снабженных с одной из торцевых сторон телескопическими секциями, с обеспечением возможности зеркального и независимого перемещения телескопических секций каждого яруса относительно друг друга.

Описание

[1]

Назначение и область применения

[2]

Изобретение относится к строительной технике и может быть использовано при обслуживании фасадов зданий и сооружений сложной архитектурной конфигурации, а также при проведении работ по их реконструкции и ремонту, в том числе, касается средств подъема и спуска персонала, грузов и технической оснастки при обслуживании высотных объектов.

[3]

Предшествующий уровень техники

[4]

В настоящее время, для осуществления мойки, очистки фасадов, а также профилактических, инспекционных, восстановительных, ремонтных и/или реконструкционных работ на зданиях со сложной архитектурой фасада, имеющих среднюю или большую высотность, стеклянный или вентилируемый фасад, а также труднодоступные участки и поверхности фасадов, которые требуют обеспечения безопасного доступа к ним, как правило, применяют системы обслуживания фасадов, включающие, по меньшей мере, подъемную платформу (люльку) обслуживания фасадов и устройства ее перемещения вдоль поверхности фасада, в том числе:

[5]

• фасадные подъемники (мини-крановые установки или BMU (Building Maintenance Units), состоящие из крановых подъемников и системы подъездных путей (двойные рельсовые пути или бетонная колея с направляющим уголком) для обеспечения движения по кровле вдоль всего фасада здания;

[6]

• монорельсовые системы, состоящие из монорельсового профиля, прокладываемого вдоль фасада, и крепящегося кронштейнами к несущим конструкциям здания.(http://allfacades.com/2014/10/stacionarnye-sistemy-obsluzhivaniya-fasadov-sof-bmu-texnicheskie-resheniya-dlya-vysotnyx-zdanij/#ixzz3Zyo2q7fu).

[7]

Известно устройство для обслуживания и ремонта фасадов зданий, содержащее установленную на передвижной рабочей раме радиальную балку с люлькой (авт. св. РФ 493541, Е 04 G 3/16, 1972 г.).

[8]

Использование известного устройства для обслуживания фасадов сложной конфигурации отличается большим объемом монтажных работ по установке и перемещению рабочей рамы и, кроме того, требует устройства на кровле здания многочисленных закладных деталей, нежелательных по условиям эксплуатации сооружения.

[9]

Известно также устройство для обслуживания и ремонта фасадов зданий, включающее круговую балку, радиальную балку с колесными опорами, закрепленную одним концом на опорном шарнире с возможностью перемещения по круговой балке и подвесную люльку (авт. св. РФ 1359419, E 04 G 3/16, 1986 г.).

[10]

Недостаток известного устройства заключается в том, что оно не может быть использовано для обслуживания фасадов сложной конфигурации при наличии на кровле здания декоративных надстроек, кроме того, радиальная балка с подвесной люлькой, снабженной противовесами, выступает за пределы габаритов здания, что нарушает его архитектурный облик и не обеспечивает безопасности эксплуатации.

[11]

Известно также решение разборной, модульной, фасадной люльки SKYLIFT, используемой в составе фасадного подъемника, выполненной из алюминия, позволяющей изменять габариты люльки, добавляя необходимое количество секций. При длине одной секции 3,0 м, максимально возможная длина люльки может достигать 15 м, т.е. может состоять из пяти секций. Разборная конструкция позволяет быстро, при необходимости, разбирать люльку для транспортировки или добавления модулей (секций), при этом крепкое и удобное болтовое соединение секций между собой позволяет менять конфигурацию подъемника (http://aesa.su/sof/stroitelnye-ljulki).

[12]

К числу недостатков данной конструкции следует отнести невозможность изменения длины люльки непосредственно по месту обслуживания фасада, что делает невозможным использование данной конструкции люльки для обслуживания фасадов зданий сложной архитектурной конфигурации.

[13]

Таким образом, в предшествующем уровне техники не выявлены решения систем, обеспечивающих возможность обслуживания фасадов сложной архитектурной конфигурации с использованием одной подъемной платформы (люльки) обслуживания фасадов, перемещаемой вдоль направляющих в вертикальном направлении, без дополнительного перемещения вдоль направляющих в горизонтальной плоскости. Общий недостаток известных устройств заключается в трудоемкости и сложности перебазирования люльки с одних направляющих на другие, необходимости закрепления на фасаде здания технологических приспособлений для перемещения и закрепления по месту обслуживания платформы обслуживания фасада и низком уровне безопасности персонала в процессе эксплуатации устройства.

[14]

Сущность изобретения

[15]

Задачей заявленной группы изобретений является предложение простой и эффективной конструкции системы обслуживания фасадов и платформы обслуживания для нее, позволяющих осуществлять обслуживание фасадов с изменяемой шириной фасада здания со сложным архитектурным рельефом.

[16]

Технический результат, достигаемый заявленной группой изобретений, заключается в повышении эффективности работы системы обслуживания фасадов, за счет сокращения операций, связанных с необходимостью перемещения подъемной платформы обслуживания как в горизонтальной, так и вертикальной плоскости, снижении временных затрат на установку оборудования и обслуживании фасада по всей поверхности, повышении надежности и безопасности эксплуатации системы и входящих в ее состав устройств, а также повышении удобства складирования подъемной платформы.

[17]

Заявленный технический результат достигается тем, что используют систему обслуживания фасада здания, содержащую, по меньшей мере, закрепленные вдоль ребер фасада рельсовые фасадные направляющие, повторяющие контур ребер, по меньшей мере одно подъемное устройство, расположенное на уровне здания, над поверхностью обслуживания фасада, и съемную подъемную платформу с бортовым ограждением, снабженную средствами крепления к фасадным направляющим и средствами соединения с подъемным устройством, причем, подъемная платформа выполнена секционной, содержащей по меньшей мере одну основную секцию и по меньшей мере одну выдвижную в горизонтальном направлении телескопическую секцию, снабженные, по меньшей мере, настилом по нижнему основанию, а также линейными направляющими и средствами перемещения телескопических секций вдоль них, при этом подъемная платформа размещена между фасадными направляющими, расположенными вдоль ребер по боковым сторонам поверхности обслуживания, а средства крепления платформы к фасадным направляющим и соединения с подъемным устройством оборудованы в каретках, подвижно соединенных рамной конструкцией с торцевыми сторонами подъемной платформы, по меньшей мере одна из которых образована наружной торцевой стороной концевой телескопической секции, и жестко соединенных с фасадными направляющими, с обеспечением возможности перемещения платформы в вертикальном направлении вдоль фасадных направляющих с адаптивным изменением рабочей длины подъемной платформы по ширине фасада с помощью перемещения телескопических секций в горизонтальном направлении, вдоль линейных направляющих. Подъемное устройство, предпочтительно, содержит по меньшей мере два средства подъема, установленные возле ребер здания с фасадными направляющими, а средства соединения платформы с подъемным устройством расположены с торцевых сторон платформы и соединены с соответствующими средствами подъема вдоль ребер.

[18]

В предпочтительном варианте осуществления изобретения фасадные направляющие закреплены кронштейнами вдоль ребер здания по всей высоте фасада и предпочтительно выполнены с жестким несущим профилем, например, в виде полурельсов, дуговых сегментов, труб или в плоском исполнении.

[19]

В одном из вариантов осуществления изобретения средства подъема подъемного устройства содержит по меньшей мере две лебедки или снабженные лебедками две консоли или подъемные стрелы, установленные возле ребер здания с фасадными направляющими, а каждая лебедка подъемного устройства снабжена приводом, тормозом и двумя парами тросов, тягового и страховочного, расположенных вдоль фасадных направляющих и соединенных со средствами крепления подъемной платформы к фасадным направляющим.

[20]

При этом предпочтительно тяговый и страховочный тросы проходят вдоль фасадных направляющих с внешней стороны, а средства крепления платформы к фасадным направляющим предпочтительно выполнены в виде размещенных на наружных рамных стойках, в верхней части торцевых сторон платформы, роликовых кареток, контактирующих с ветвями тросов, проходящих вдоль фасадных направляющих и охватывающих снаружи фасадные направляющие, причем, фасадные направляющие предпочтительно закреплены вдоль ребер здания кронштейнами, снабженными ловителями тросов. В еще одном возможном варианте осуществления изобретения, средства крепления платформы к фасадным направляющим дополнительно снабжены контактными роликами, размещенными на наружных рамных стойках по нижнему основанию торцевых сторон платформы, причем, направляющие и контактные ролики предпочтительно выполнены из резины.

[21]

В другом варианте осуществления изобретения подъемное устройство предпочтительно содержит привод с зубчато-реверсивным механизмом, снабженный электродвигателем, расположенным на платформе и связанным с ним редуктором, выходной вал которого соединен с зубчатым колесом, соединенным с рейкой или цепью, размещенной вдоль фасадных направляющих, а электроснабжение привода осуществлено посредством контактного рельса и токоприемника, где контактный рельс через изолирующие прокладки соединен средствами крепления с соответствующей фасадной направляющей. При этом фасадные направляющие предпочтительно выполнены в виде полого профиля с прорезью, по меньшей мере, для размещения во внутреннем пространстве тягового и страховочного тросов, а средства крепления платформы к фасадным направляющим выполнены в виде размещенных на наружных рамных стойках, в верхней части торцевых сторон платформы, роликовых кареток, сопряженных рамными элементами, по меньшей мере, с зубчатым колесом подъемного устройства и контактирующих с ветвями тросов, проходящих вдоль фасадных направляющих, и расположенных во внутренней полости профиля фасадных направляющих, с опорой на ролики, контактирующие со стеновыми элементами профиля. Причем средства крепления платформы к фасадным направляющим могут быть дополнительно снабжены контактными роликами, размещенными на наружных рамных стойках по нижнему основанию торцевых сторон платформы, а направляющие и контактные ролики предпочтительно выполнены из резины.

[22]

В одном из вариантов изобретения подъемная платформа системы выполнена одноуровневой с размещением телескопических секций с одной из торцевых сторон основной секции, причем со стороны второй торцевой стороны основная секция соединена со смежной ей фасадной направляющей средством крепления.

[23]

При этом в другом варианте осуществления изобретения подъемная платформа системы выполнена одноуровневой с размещением телескопических секций с двух торцевых сторон основной секции, с обеспечением возможности перемещения телескопических секций относительно основной по обеим торцевым сторонам независимо друг от друга. Причем предпочтительно концевые секции соединены со смежными фасадными направляющими средствами крепления.

[24]

Подъемная платформа системы согласно заявленному изобретению также может быть выполнена одноуровневой, с зеркальным расположением телескопических секций относительно линейно соединенных между собой двух основных секций.

[25]

В еще одном возможном варианте осуществления изобретения, подъемная платформа системы выполнена двухъярусной с соосным размещением вдоль вертикальной оси основных секций каждого яруса, снабженных зеркально расположенными относительно основных секций смежных ярусов телескопическими секциями, с обеспечением возможности и независимого перемещения телескопических секций каждого яруса относительно друг друга.

[26]

Технический результат достигается также тем, что используют подъемную платформу для обслуживания фасадов, используемую в системе, описанной выше, выполненную секционной, содержащей по меньшей мере одну основную секцию и по меньшей мере одну выдвижную в горизонтальном направлении телескопическую секцию, снабженные, по меньшей мере, настилом по нижнему основанию, а также линейными направляющими для перемещения телескопических секций и средствами перемещения секций вдоль них, и средствами крепления платформы к фасадным направляющим, размещенными со стороны торцевых сторон платформы, по меньшей мере одна из которых образована торцевой стороной смежной с фасадной направляющей концевой телескопической секции платформы, с обеспечением возможности последовательного перемещения вдоль линейных направляющих телескопических секций относительно друг друга и основной секции с адаптивным изменением длины подъемной платформы пропорционально изменению ширины фасада при перемещении платформы вдоль фасадных направляющих и обеспечением возможности обслуживания поверхности фасада по всей его ширине на текущем уровне размещения платформы.

[27]

Предпочтительно средства перемещения выдвижных телескопических секций платформы выполнены в виде роликов или кареток, снабженных роликами, размещаемых вдоль линейных направляющих смежной секции и выполненных с обеспечением возможности скольжения вдоль направляющих при перемещении телескопической секции в горизонтальном направлении. При этом секции платформы могут быть снабжены стопорными элементами, располагаемыми по торцевым сторонам каждой секции, с обеспечением возможности предотвращения силового вытягивания секции из конструкции телескопа и/или перемещения телескопической секции за пределы основной секции с противоположной торцевой стороны при возврате секции с вложенное состояние.

[28]

В одном из вариантов осуществления изобретения платформа предпочтительно снабжена бортовым ограждением по боковой поверхности, при этом ограждение с торцевых сторон располагается в секциях, являющихся смежными с фасадными направляющими, между которыми расположена платформа.

[29]

В другом варианте осуществления средства крепления платформы к фасадным направляющим выполнены в виде размещенных на наружных рамных стойках, в верхней части торцевых сторон платформы, роликовых кареток с двухрядной обоймой с направляющими роликами, при этом роликовые каретки могут быть дополнительно сопряжены рамными элементами, по меньшей мере, с зубчатым колесом.

[30]

В еще одном из вариантов изобретения подъемная платформа выполнена одноуровневой с размещением телескопических секций с одной из торцевых сторон основной секции, причем со стороны второй торцевой стороны основная секция соединена со смежной ей фасадной направляющей средством крепления.

[31]

Подъемная платформа также может быть выполнена одноуровневой с зеркальным расположением телескопических секций относительно линейно соединенных между собой двух основных секций.

[32]

При этом в другом варианте осуществления изобретения подъемная платформа может быть выполнена одноуровневой с размещением телескопических секций с двух торцевых сторон основной секции, с обеспечением возможности перемещения телескопических секций относительно основной по обеим торцевым сторонам независимо друг от друга. Причем предпочтительно концевые секции соединены со смежными фасадными направляющими средствами крепления.

[33]

В еще одном возможном варианте осуществления изобретения подъемная платформа может быть выполнена двухъярусной с соосным размещением вдоль вертикальной оси основных секций каждого яруса, снабженных зеркально расположенными относительно друг друга между ярусами с одной из торцевых сторон телескопическими секциями, с обеспечением возможности независимого перемещения телескопических секций каждого яруса относительно друг друга.

[34]

Краткое описание чертежей

[35]

Заявленное изобретение поясняется чертежами:

[36]

фиг.1 – платформа с односторонним расположением телескопических секций: общий вид;

[37]

фиг. 2 - платформа с односторонним расположением телескопических секций: а) вид сверху полностью разложенной платформы; б) вид спереди полностью разложенной платформы; в) вид сбоку сложенной платформы; г) вид спереди сложенной платформы; д) вид сверху сложенной платформы;

[38]

фиг.3 - платформа с двусторонним расположением телескопических секций: а) общий вид, б) вид спереди полностью разложенной платформы; в) вид сверху полностью разложенной платформы;

[39]

фиг.4 - платформа с двухъярусным расположением телескопических секций: а) общий вид, б) вид спереди полностью разложенной платформы; в) вид сверху полностью разложенной платформы;

[40]

фиг.5 - платформа с двухъярусным расположением телескопических секций: а) общий вид, б) вид сбоку; в) вид спереди; г) вид сверху;

[41]

фиг.6 – примеры вариантов контура фасадных направляющих, соответствующих контурам граней фасадов различной архитектурной конфигурации, которые обслуживаются платформой;

[42]

фиг.7 - средство крепления платформы к фасадным направляющим (фрагмент): общий вид с наружным расположением;

[43]

фиг.8 - кронштейн с ловителями тросов: а) узел крепления кронштейна к фасадной направляющей, снабженной наружной кареткой средства крепления платформы к ней; б) общий вид крепления кронштейна;

[44]

фиг.9 средство крепления платформы к фасадным направляющим (фрагмент) с внутренним расположением: а) кинематическая схема; б) размещение каретки с роликами и зубчатым колесом во внутреннем объеме профиля фасадных направляющих, в) сечение средства крепления с зубчато-реверсным механизмом передвижения;

[45]

фиг.10 – расположение роликов и линейных направляющих на платформе (фрагмент);

[46]

фиг.11 – расположение стопорных элементов на платформе;

[47]

фиг.12 - сечение по уровню установки подъемного устройства в здании (фрагмент).

[48]

Следует отметить, что прилагаемые чертежи иллюстрируют только некоторые из наиболее предпочтительных вариантов выполнения группы изобретений и, поэтому, не могут рассматриваться в качестве ограничений их содержания, которое включает и другие возможные варианты их осуществления.

[49]

Осуществимость изобретения

[50]

Как следует из представленных фиг. 1-12, система обслуживания фасадов содержит закрепленные на внешней поверхности фасада 1 здания, вдоль его ребер 2, фасадные направляющие 3, повторяющие траекторию ребер, подъемную платформу 4 обслуживания фасада и связанные с ними средства подъема подъемного устройства 5, расположенного на уровне здания 34, над поверхностью обслуживания фасада 35. Подъемная платформа 4 для обслуживания фасада выполнена секционной, содержащей по меньшей мере одну основную 6 секцию и по меньшей мере одну, предпочтительно две и более выдвижные в горизонтальном направлении, телескопические 7 секции, выполненные, например, ферменной конструкции. Каждая секция, включая основную и телескопические, содержит настил 8 по нижнему основанию и ограждающие борта 9 вдоль боковой поверхности. По торцевым сторонам 10 платформы ограждающие борта 9 содержат только концевые 11, телескопическую 7 или основную 6, секции, являющиеся смежными с фасадными направляющими 3, таким образом, что на любом этапе эксплуатации ограждение подъемной платформы 4 выполнено по ее внешнему контуру, а внутреннее пространство платформы не содержит никаких препятствий для перемещения персонала по всей рабочей площади. Настил 8 и/или ограждающие борта 9 по верхнему основанию снабжены линейными направляющими 12 и средствами перемещения телескопических 7 секций вдоль направляющих 12, выполненных в представленных на чертежах вариантах осуществления в виде роликов 14. Линейные направляющие 12 размещены вдоль боковых сторон секций (основной и телескопических), с верхней стороны настила 8, на ширину, не превышающую ширину смежной телескопической секции, размещаемой в сложенном состоянии платформы сверху. При размещении линейных направляющих по верхней кромке поверхности борта, предпочтительно, их размещение вдоль внутренней боковой стороны каркаса, ограничивающего борт секции (фиг. 10, 11). При этом смежные с линейными направляющими ролики или каретки, снабженные роликами, расположены соответственно по нижнему основанию настила или внешней боковой поверхности каркаса борта смежной телескопической секции, перемещаемой вдоль линейных направляющих сверху.

[51]

Таким образом, как следует из представленных на фиг.1-5 вариантов осуществления, основная секция в сложенном состоянии, предпочтительно, является нижней секцией, а телескопические секции задвигаются одна в другую и основную секцию сверху. Однако возможен и обратный вариант структуры телескопа, при котором основная секция является верхней секцией в сложенном состоянии, а телескопические секции охватывают ее и смежные секции, по мере их удаления от основной секции, снаружи. В любом случае, для предотвращения силового вытягивания телескопических секций из конструкции телескопа подъемной платформы и/или перемещения (выталкивания) какой-либо из телескопических секций за пределы основной секции, с противоположной от рабочей для телескопической секции торцевой стороны, например, при возврате секции в сложенное состояние, секции платформы снабжены стопорными элементами 15 (фиг.11), располагаемыми по боковым сторонам каждой секции со смещением к их торцевым сторонам. В частности, в качестве такого рода стопорных элементов могут использоваться установленные на смежных секциях, с возможностью зацепления друг с другом, приваренные пластины, высота и жесткость которых выбирается из расчета максимальной нагрузки на платформу при ее эксплуатации, а также геометрических размеров смежных секций, либо пластину-заглушку на торцах пазов линейных направляющих секций, либо металлическую планку, в которую упирается ролик, тем самым предотвращая выдвижение секции из конструкции телескопа.

[52]

Платформа 4 с торцевых сторон 10 секций, смежных с фасадными направляющими 3, снабжена средством крепления 16 к фасадным направляющим 3, при этом, как следует из представленных фиг.1-5, смежными с фасадными направляющими могут быть как основная секция, так и телескопическая, являющаяся в данном случае концевой 11 секцией.

[53]

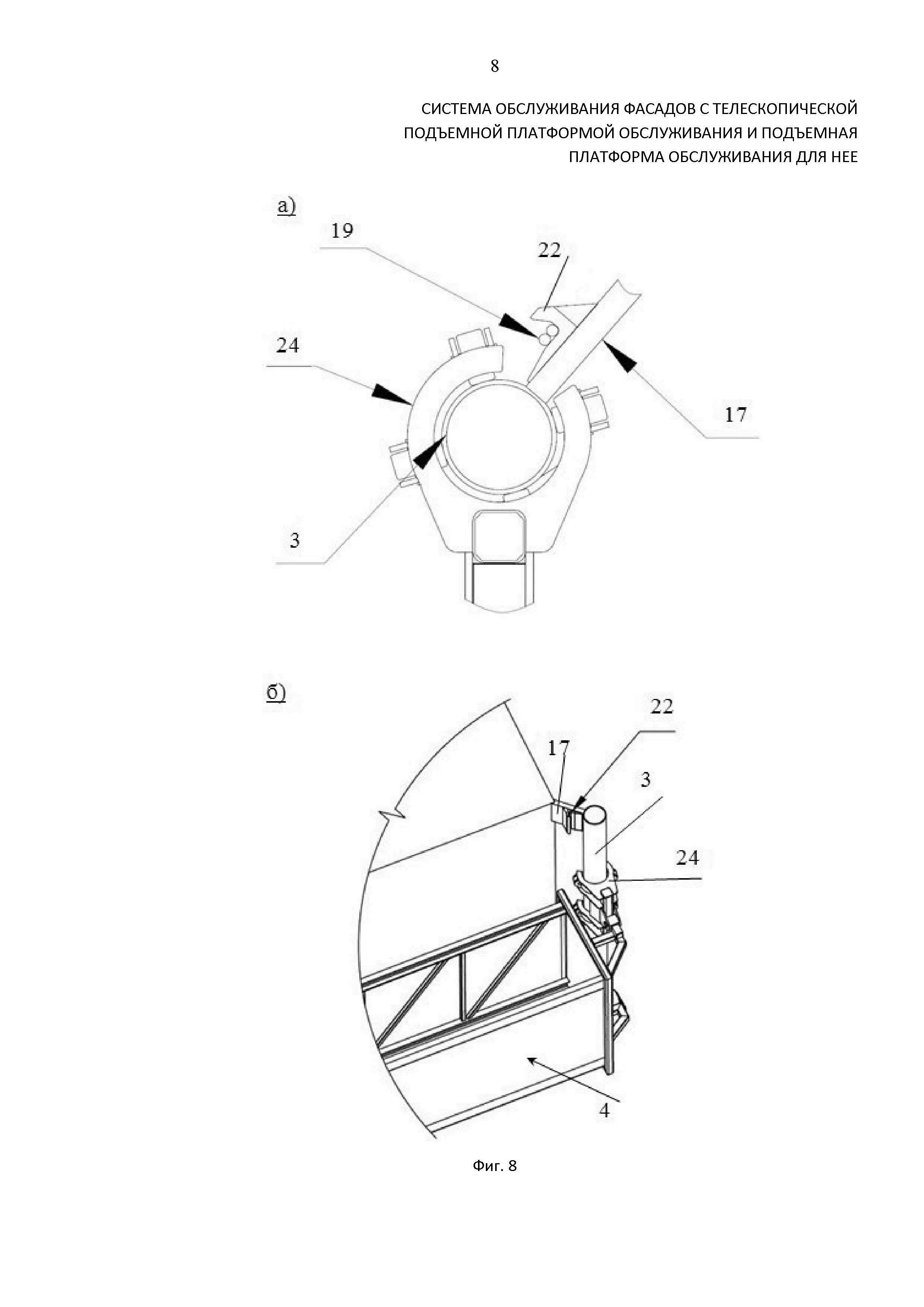
Фасадные направляющие 3 в общем случае представляют собой рельсовые элементы, выполненные предпочтительно с жестким несущим профилем, в виде полурельсов, дуговых сегментов, труб или в плоском исполнении. С учетом требований безопасности эксплуатации системы обслуживания фасадов и снижения нагрузки на несущие конструкции здания, фасадные направляющие предпочтительно выполнены в виде полого профиля из алюминия или стали и закреплены вдоль ребер здания на кронштейнах 17, обеспечивающих надежную защиту корпусных конструкций здания от прямого воздействия на них конструкций платформы при ее перемещении вдоль фасада.

[54]

При этом конструкция профиля фасадных направляющих выполнена с возможностью охвата профиля направляющих средствами крепления 16 платформы, как с наружной стороны (фиг.7), так и с возможностью их размещения во внутреннем объеме профиля (фиг.9), в зависимости от используемого в системе обслуживания фасадов, согласно заявленному изобретению, средств подъема подъемного устройства 5 платформы.

[55]

Подъемное устройство, предпочтительно по меньшей мере два средства подъема, установленные возле ребер здания с фасадными направляющими, а средства соединения платформы с подъемным устройством расположены с торцевых сторон платформы и соединены с соответствующими средствами подъема вдоль ребер.

[56]

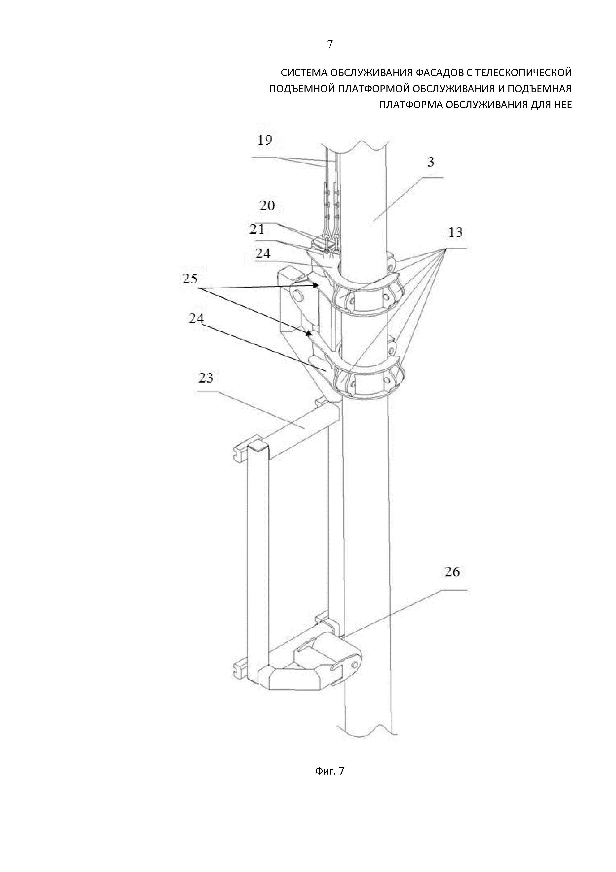
Так, в наиболее предпочтительном варианте осуществления заявленного изобретения, подъемное устройство 5 содержит установленные на уровне здания 34, над поверхностью 35 обслуживания фасада (крыша или иное заранее подготовленное пространство для установки, хранения и эксплуатации оборудования) средства подъема, в виде лебедок 18, размещаемых стационарно или с возможностью перемещения и фиксации положения, возле ребер здания, снабженных фасадными направляющими 3 (фиг.12). В качестве указанных лебедок 18 могут быть использованы любые известные из уровня техники конструкции, применяемые в строительстве и для обслуживания фасадов сооружений разного назначения. При этом лебедки 18 могут быть сопряжены с консолями или подъемными стрелами (на чертежах не представлены), либо представлять собой самостоятельное оборудование. При любом из вышеуказанных вариантов исполнения подъемного устройства, лебедка снабжена приводом, тормозом и двумя парами тросов 19, тягового и страховочного, выполненных с обеспечением возможности соединения со средствами крепления подъемной платформы к фасадным направляющим и перемещения платформы в вертикальном направлении и вдоль фасадных направляющих. Соединение торосов 19 со средствами крепления 16 подъемной платформы к фасадным направляющим может быть, в частности, осуществлено посредством соединения карабина 20, соединенного с тросом, с жестко закрепленным на каретке кольцом 21 (фиг.7), либо иным известным из уровня техники способом.

[57]

Тяговый и страховочные тросы располагаются с внешней стороны фасадных направляющих и удерживаются вдоль направляющих с помощью ловителей 22 тросов, выполненных на кронштейнах 17 крепления к зданию фасадных направляющих 3 (фиг.8). При этом ловитель 22 тросов может быть выполнен в виде размещенного на кронштейне стального ролика с канавкой (на чертежах не показан), контактирующего с тросами, с обеспечением возможности перемещения тросов вдоль фасадных направляющих и удержания их в пределах контактной зоны с кареткой подъемной платформы, либо в виде стационарно закрепленного на кронштейне крючка (фиг.8), в углублении зацепа контактирующего с тросами, с обеспечением возможности перемещения тросов вдоль фасадных направляющих и удержания их в пределах контактной зоны с кареткой подъемной платформы. В последнем случае, по внутренней части зацепа крючка ловителя может быть размещена прокладка, например, из нилатрона, обеспечивающего скольжение тросов по нему. Крепление прокладки из нилатрона может осуществляться различными способами, например, на болтах с потайной головкой, заклепках и т.д. Главным критерием выбора указанного соединения заключается в необходимости обеспечения прочности и неизменяемости положения прокладки в процессе эксплуатации (спуска/подъема платформы), в сочетании с простотой замены прокладки при такой необходимости (например, если прокладка сотрется о трос).

[58]

Учитывая размещение тросов 19 подъемного устройства 5 с наружной стороны фасадных направляющих 3, в предложенном варианте осуществления изобретения профиль направляющих предпочтительно представляет собой замкнутый трубчатый контур.

[59]

При этом средства крепления платформы к фасадным направляющим выполнены в виде размещенных на наружных рамных стойках 23, в верхней части торцевых 10 сторон платформы, роликовых кареток 24, охватывающих снаружи фасадные направляющие и контактирующих с ветвями тросов 19, проходящими вдоль фасадных направляющих, посредством роликов каретки.

[60]

Как следует из фиг.7, каретки 24 средства крепления платформы предпочтительно снабжены двухрядной обоймой 25 с направляющими роликами 13, что повышает надежность охвата кареткой направляющих и легкость перемещения платформы вдоль фасадных направляющих. При этом для повышения контроля перемещения платформы вдоль фасадных направляющих и повышения легкости скольжения платформы вдоль фасада, в том числе при наличии сложной траектории контура ребер, конструкция средства крепления платформы к фасадным направляющим может быть дополнительно снабжена контактными роликами 26, размещаемыми на наружных рамных стойках по нижнему основанию торцевых сторон платформы. Контактные ролики контролируют траекторию перемещения платформы, предотвращая перекос, неконтролируемое отклонение от рабочего положения и заклинивание ее перемещения при сложных изгибах ребер здания. Вместе с тем, контактные ролики, являясь поддерживающими и дополнительными роликами, могут, как контактировать с поверхностью фасадных направляющих, так и отрываться от них, например, при превышении уровня изгиба фасадных направляющих, таким образом, что контакт данных роликов с направляющими может привести к принудительному изменению вертикальной ориентации подъемной платформы.

[61]

Для снижения риска повреждения фасадных направляющих, ролики каретки, как направляющие, так и контактирующие, предпочтительно выполнены из резины или иных эластичных материалов с модулем упругости от 1 до 10 МПа.

[62]

В заявленном решении системы обслуживания фасадов могут быть также использованы фасадные направляющие в виде полого профиля с прорезью для размещения во внутреннем пространстве тягового и страховочного тросов. В данном случае, средства крепления платформы к фасадным направляющим могут быть размещены во внутренней полости профиля фасадных направляющих с опорой на ролики, контактирующие изнутри со стеновыми элементами профиля и тросами подъемного устройства.

[63]

Подъемное устройство может также содержать привод с зубчато-реверсивным механизмом, снабженным электродвигателем 27, расположенным на платформе и связанным с ним редуктором, выходной вал которого соединен с зубчатым колесом 28, соединенноым с рейкой 29 (или цепью), размещенной вдоль фасадных направляющих, выполненных в виде полого профиля с прорезью для установки во внутреннем пространстве тягового и страховочного тросов (фиг.9). При этом роликовые каретки 24 средства крепления платформы к фасадным направляющим дополнительно сопряжены рамными элементами с зубчатым колесом подъемного устройства и расположены во внутреннем объеме полого профиля фасадных направляющих таким образом, что зубчатое колесо 28 контактирует с рейкой 29 (или цепью), размещенной вдоль фасадных направляющих во внутреннем объеме.

[64]

Электроснабжение привода при этом осуществляется посредством контактного рельса 9, расположенного вдоль фасадных направляющих и токосъемника 31, располагаемого на каретке, где контактный рельс через изолирующие прокладки 32 соединен средствами крепежа 33 с соответствующей фасадной направляющей. Привод предпочтительно снабжен пультом управления, размещенным на платформе.

[65]

Электродвигатель приводит в движение привод, воздействующий на зубчатые колеса 28 подъемного устройства, которые, передвигаясь по реечным направляющим (рейкам 29) и опираясь на направляющие ролики 13 каретки, перемещают по рельсам фасадных направляющих средство подъема подъемного устройства и связанную с ним платформу на заданную высоту. Механизм осуществления данного способа подъема широко известен в практике конструирования и изготовления грузовых подъемных платформ и детальная его реализация не является предметом рассмотрения в рамках заявленного изобретения.

[66]

В любом случае, работа средств подъема, входящих в подъемное устройство системы, синхронизирована любым известным из уровня техники способом.

[67]

Согласно заявленному изобретению платформа предпочтительно дополнительно снабжена выступающими наружу упорами (на чертежах не показаны), установленными со смежной с фасадом здания стороны платформы. Упоры выполняют с обеспечением возможности ограничения расстояния между платформой и фасадом. При этом они могут быть выполнены выдвижными, как с целью регулирования расстояния между платформой и зданием, так и для удобства складирования, в рамках которого упор устанавливается в положение, когда он не выходит на внешние габариты платформы основания. Место установки упора может быть выбрано исходя из конструкции платформы и удобства эксплуатации. Упор может быть установлен как по нижнему основанию, так и по верхнему контуру.

[68]

Исходя из соблюдения требований безопасности эксплуатации платформы, борта вдоль боковых сторон выполняют из расчета обеспечения минимальной площади размещения одного человека на платформе не менее 0,5 м2 в сложенном в основную секцию состоянии, при минимальной ширине рабочей площади 0,7 м. При этом, для обеспечения безопасности нахождения персонала на платформе, борта вдоль боковых сторон телескопических секций выполнены не ниже 1,2 м. Вместе с тем, максимальная ширина секции не должна превышать 1,2-1,3 м. При большей ширине секций возрастает риск возникновения крутящего момента, т.к. линия опорных точек платформы (каретки на направляющих) будут отстоять от центра тяжести платформы, и чем больше ширина платформы, тем выше риск.

[69]

Максимальная длина платформы в полностью развернутом состоянии определяется из требований, ограничивающих вертикальный предельный прогиб платформы в данном состоянии, который, исходя из практики, не должен превышать 1/400 общей длины платформы. Под общей длиной платформы, в данном случае, понимается горизонтальное расстояние между двумя противоположными точками подвеса платформы на тросах. При несоблюдении данного критерия жесткости конструкции возможно создание аварийных ситуаций, таких как обрушение, поломка отдельных частей платформы, нарушение связей между секциями и т.д.

[70]

Минимальная длина платформы определяется длиной основной секции, длина которой регламентируется исходя из требований безопасности эксплуатации платформы по меньшей мере одним человеком.

[71]

Толщина бортовых ограждений выбирается исходя из удобства и безопасности работы на платформе, принимая во внимание, что в сложенном состоянии боковое ограждение телескопических секций вдвигается в основную секцию, занимая часть площади ее настила. Поэтому, для безопасности обслуживания, исходя из практики осуществления работ по обслуживанию фасадов на высоте, суммарная толщина бортовых ограждений в сложенном в основную секцию состоянии не должна превышать расстояние от фасада здания до платформы в раздвинутом состоянии более чем на 100 мм. Предпочтительно расстояние от фасада до внутреннего борта секции должно составлять не более 1 м.

[72]

Платформа может быть выполнена из стали или алюминия, а ее конструктивные элементы – рамной (ферменной) конструкции, выполненной с использованием известных в уровне техники средств и материалов.

[73]

Согласно заявленному изобретению в одном из вариантов осуществления системы обслуживания фасадов и подъемной платформы для нее, платформа может быть выполнена одноуровневой (фиг.1, 2) с размещением телескопических 7 секций с одной из торцевых сторон основной 6 секции, причем со стороны второй торцевой стороны основная секция соединена со смежной ей фасадной направляющей 3.

[74]

В другом варианте осуществления изобретения платформа также может быть выполнена одноуровневой, но с размещением телескопических 7 секций с двух торцевых сторон основной 6 секции, с обеспечением возможности перемещения телескопических секций относительно основной по обеим торцевым сторонам независимо друг от друга (фиг.3). Причем концевые секции соединены со смежными фасадными направляющими 3. Причем, наиболее предпочтительным вариантом осуществления данного решения является представленный на фиг.3, где платформа выполнена одноуровневой, с зеркальным расположением телескопических 7 секций относительно линейно соединенных между собой двух основных секций 6.

[75]

В еще одном варианте осуществления изобретения платформа может быть выполнена двухъярусной (фиг.4, 5) с соосным размещением вдоль вертикальной оси основных 6 секций, снабженных с одной из торцевых сторон телескопическими 7 секциями, с обеспечением возможности зеркального и независимого перемещения телескопических 7 секций каждого яруса относительно друг друга.

[76]

Во всех вышеуказанных вариантах осуществления системы и платформы, выдвижение секций происходит за счет того, что ролики 14 одной секции движутся в линейных направляющих 12 другой секции, тем самым выдвигая или задвигая секции друг в друга. Перемещение телескопических 7 секций в горизонтальном направлении осуществляется автоматически при перемещении платформы вдоль фасадных направляющих и изменении текущей ширины фасада. Соединенные с фасадными направляющими 3 каретки 24 платформы оказывают воздействие на установленные на торцевых сторонах рамные конструкции средства крепления платформы к фасадным направляющим, которые, в свою очередь, либо тянут за собой концевую телескопическую секцию, при расширении фасада, либо толкают концевую секцию в сторону основной секции, при сужении ширины фасада (фиг.6). В зависимости от контура ребер фасада, с каждой из торцевых сторон платформы выдвижение телескопических секций, находящихся по обе стороны от основной секции или двухъярусной платформы, осуществляется с разным усилием и на разную величину, независимо от аналогичного процесса, происходящего в зеркально расположенном телескопе секций.

[77]

Система обслуживания фасадов и телескопическая платформа для нее работают следующим образом:

[78]

Лебедки 18 в сборе устанавливаются на верхнем уровне здания. Тяговый и страховочный тросы спускают вниз, вдоль фасадных направляющих, до уровня земли.

[79]

Со склада при помощи погрузчика транспортируется платформа в сложенном виде к месту обслуживания здания.

[80]

На направляющей 3 устанавливаются каретка 24, которая надевается с охватом контура на фасадную направляющию со стороны свободного конца, который отстоит от земли на необходимое для этого расстояние. После того как каретка установлена на фасадную направляющию, осуществляют монтаж тросов (тяговый и страховочный) к каретке. Концы тросов, как правило, снабжены петлей для монтирования, образованной посредством коуша и зажимов. Подготовленные таким образом концы тросов 19, при помощи скоб такелажных или карабина 20 крепятся каждая к кольцу 21 каретки 24. Затем рама каретки крепится жестко, например, при помощи болтового соединения, с платформой.

[81]

На следующем этапе платформу раздвигают при помощи погрузчика или вручную, на ширину фасада по месту установки платформы и закрепляют каретку второй концевой или основной секции к оппозитно расположенной фасадной направляющей.

[82]

Обслуживающий персонал поднимается в платформу и располагается во время подъема на платформе равномерно. При этом конструкция платформы предусматривает возможность крепления индивидуальных страховочных тросов к ее рамным конструкциям или специализированным узлам крепления.

[83]

Для подъема платформы, при помощи пульта управления или оператора, включают лебедки подъемного устройства. Лебедки посредством наматывания тросов на барабаны поднимают платформу на нужную высоту обслуживания.

[84]

Раздвижение секций платформы происходит автоматически, в результате вытягивания или вдвижения, ведомых средством соединения подъемной платформы с фасадными направляющими, телескопических секций друг в друга и/или основную секцию, в зависимости от ширины грани здания обслуживаемого участка. Вытягивание секций при двустороннем расположении телескопических секций также осуществляется автоматически.

[85]

При этом обслуживание фасада возможно по всей длине платформы, развернутой в рабочем режиме на всю ширину фасада, как в пределах основой секции, так и каждой из телескопических секций. Во время перемещения платформы вдоль фасадных направляющих передвижение персонала по длине платформы не осуществляется.

[86]

Спуск и складирование происходит в обратном порядке.

[87]

Таким образом, заявленная группа изобретений за счет использования телескопической секционной платформы обслуживания в сочетании с предложенной конструкцией фасадных направляющих и средств крепления платформы к ним и средствам подъема подъемного устройства позволяет существенно повысить эффективность работы системы обслуживания фасадов и используемой в ее составе платформы за счет сокращения операций, связанных с необходимостью перемещения подъемной платформы обслуживания как в горизонтальной, так и вертикальной плоскости, снижения временных затрат на установку оборудования и обслуживания фасада по всей поверхности, повышения надежности и безопасности эксплуатации системы и входящих в ее состав устройств, а также повышения удобства складирования подъемной платформы.

Как компенсировать расходы
на инновационную разработку
Похожие патенты