патент
№ RU 2625250
МПК G02B6/36

Оптический коннектор для кабелей с внешней оболочкой

Авторы:
ЛАРСОН Дональд К. (US) ПРАТТ Джером А. (US) БАЛЛ Ширли Е. (US)
Все (6)
Номер заявки
2015137148
Дата подачи заявки
12.03.2014
Опубликовано
12.07.2017
Страна
RU
Дата приоритета
15.12.2025
Номер приоритета
Страна приоритета
Как управлять
интеллектуальной собственностью
Чертежи 
10
Реферат

Изобретение относится к оптическому коннектору. Заявленный оптический коннектор, предназначенный для оконцовки волоконно-оптического кабеля с оболочкой, содержит корпус, выполненный таким образом, чтобы он был совместим с приемной частью. Оптический коннектор также включает втулку, расположенную в корпусе, причем у первого конца муфтового элемента закреплен феррул. Муфтовый элемент включает механизм захвата, расположенный во второй части муфтового элемента. Муфтовый элемент дополнительно включает фиксатор для защитного слоя, выполненный в третьей части муфтового элемента, причем фиксатор для защитного слоя выполнен таким образом, чтобы после приведения в действие он зажимал, по меньшей мере, часть буферного покрытия оптического волокна. Оптический коннектор также включает несущий элемент для удержания муфтового элемента в пределах корпуса. Несущий элемент включает монтажную конструкцию, окружающую центральное отверстие, у одного конца несущего элемента, при этом монтажная конструкция имеет, по меньшей мере, одну область углубления, предназначенную для размещения в ней части разрезанной на полосы внешней оболочки кабеля. Также предлагается сборочное приспособление для оконцовки волоконно-оптического коннектора, которое содержит основание, имеющее держатель коннектора для размещения оптического коннектора, устройство для установки длины выступающей части волокна, имеющее приспособление для установки длины выступающей части волокна и узел держателя оптического волокна. Причем основание дополнительно включает присоединенный с возможностью поворота приводной рычаг. Узел держателя оптического волокна содержит зажим для оптического волокна, предназначенный для закрепления волоконно-оптического кабеля с внешней оболочкой в узле держателя оптического волокна и первую и вторую крышки, присоединенные с возможностью поворота. При этом первая и вторая крышки выполнены с возможностью предотвращения скручивания оптического волокна в процессе оконцовки. 2 н. и 16 з.п. ф-лы, 8 ил.

Формула изобретения

1. Оптический коннектор для оконцовки волоконно-оптического кабеля с оболочкой, содержащего оптическое волокно, содержащий:

корпус, выполненный сопрягающимся с приемной частью;

муфтовый элемент, расположенный в указанном корпусе, причем у первого конца муфтового элемента закреплен феррул, при этом муфтовый элемент содержит механизм захвата, расположенный во второй части муфтового элемента, и при этом муфтовый элемент дополнительно содержит фиксатор буферного покрытия, выполненный в третьей части муфтового элемента, причем фиксатор для буферного покрытия выполнен с возможностью зажимания, после приведения в его действие, по меньшей мере, части буферного покрытия оптического волокна; и

несущий элемент для удержания муфтового элемента в пределах корпуса, причем несущий элемент содержит монтажную конструкцию, окружающую центральное отверстие, у одного конца несущего элемента, при этом монтажная конструкция имеет, по меньшей мере, одну область углубления для размещения в ней части разрезанной на полосы внешней оболочки кабеля.

2. Оптический коннектор по п. 1, дополнительно содержащий:

хвостовик для оптического волокна для присоединения к монтажной конструкции и для прикрепления части разрезанной на полосы внешней оболочки кабеля к монтажной конструкции несущего элемента.

3. Оптический коннектор по п. 2, в котором хвостовик содержит область гайки, имеющую область с резьбой для присоединения к наружной резьбе, выполненной на монтажной конструкции.

4. Оптический коннектор по п. 3, в котором хвостовик для оптического волокна дополнительно содержит хвостовую часть для ограничения бокового перемещения волоконно-оптического кабеля.

5. Оптический коннектор по п. 2, в котором монтажная конструкция содержит две области углубления для размещения в них частей разрезанной на полосы внешней оболочки, причем каждая область углубления содержит одну или более выступающих поверхностей, осуществляющих дополнительное закрепление частей разрезанных на полосы внешней оболочки в пределах монтажной конструкции после навинчивания хвостовика на монтажную конструкцию.

6. Оптический коннектор по п. 2, в котором монтажная конструкция содержит плоскую полку для размещения усиливающих элементов волоконно-оптического кабеля и для предотвращения скручивания усиливающих элементов в процессе установки хвостовика на монтажную конструкцию.

7. Оптический коннектор по п. 4, в котором область гайки и хвостовая часть выполнены как отдельные элементы.

8. Оптический коннектор по п. 1, дополнительно содержащий приводную гильзу для приведения в действие фиксатора буферного покрытия, надетую на внешнюю поверхность третьей области муфтового элемента, для приведения в действие, со скольжением фиксатора защитного слоя.

9. Оптический коннектор по п. 1, выполненный сопрягающимся с приемной частью формата SC.

10. Оптический коннектор по п. 1, в котором механизм захвата содержит элемент захвата и, по меньшей мере, один приводной колпачок.

11. Оптический коннектор по п. 1, в котором фиксатор буферного покрытия содержит конструкцию с двумя язычками, выполненную в пределах третьей области и имеющую участок, выступающий за пределы внешней поверхности третьей области, сжимающейся после приведения в ее в действие.

12. Оптический коннектор по п. 2, в котором внешняя оболочка оптического волокна имеет внешний диаметр, составляющий приблизительно 3 мм или менее.

13. Оптический коннектор по п. 2, в котором внешняя оболочка оптического волокна имеет внешний диаметр, составляющий приблизительно 1,6 мм.

14. Оптический коннектор по п. 2, в котором хвостовик для оптического волокна и монтажная конструкция выполнены с возможностью закрепления участков внешней оболочки волоконно-оптического кабеля с внешним диаметром внешней оболочки от 1,5 мм до 3 мм.

15. Оптический коннектор по п. 6, в котором усиливающие элементы прочно удерживаются в пределах волоконно-оптического коннектора и выполнены с возможностью выдерживать осевое вытягивающее усилие, составляющее, по меньшей мере, 10 фунтов-силы.

16. Оптический коннектор по п. 15, в котором, по меньшей мере, значительная часть усиливающих элементов закреплена между наружной резьбой монтажной конструкции и внутренней резьбой области гайки хвостовика.

17. Сборочное приспособление для оконцовки волоконно-оптического коннектора для оконцовки в волоконно-оптическом коннекторе волоконно-оптического кабеля с внешней оболочкой, имеющего оптическое волокно, содержащее:

основание, имеющее держатель коннектора для размещения оптического коннектора, и устройство для установки длины выступающей части волокна, имеющее приспособление для установки длины выступающей части волокна, причем основание дополнительно включает присоединенный с возможностью поворота приводной рычаг, выполненный с возможностью обеспечения последовательной установки длины выступающей части волокна от торца феррула, расположенной в оптическом коннекторе, и приведения в действие расположенного в оптическом коннекторе механизма захвата оптического волокна; и

узел держателя оптического волокна, выполненный с возможностью размещения в направляющем канале основания с возможностью скольжения по нему, причем узел держателя оптического волокна содержит зажим для оптического волокна, предназначенный для закрепления волоконно-оптического кабеля с внешней оболочкой в узле держателя оптического волокна и первую и вторую крышки, присоединенные с возможностью поворота, причем первая крышка установлена на первой пластине, выполненной с возможностью совершать возвратно-поступательное движение, а вторая крышка установлена на второй пластине, выполненной с возможностью совершать возвратно-поступательное движение, и они выполнены с возможностью скольжения независимо друг от друга в осевом направлении, при этом первая и вторая крышки выполнены с возможностью предотвращения скручивания оптического волокна в процессе оконцовки.

18. Сборочное приспособление для оконцовки волоконно-оптического коннектора по п. 17, в котором основание дополнительно содержит пружину, работающую на растяжение, обеспечивающую контролируемое усилие сжатия оптического волокна перед приведением в действие механизма захвата.

Описание

[1]

Область техники

[2]

Настоящее изобретение относится к оптическому коннектору.

[3]

Уровень техники

[4]

Известны механические оптические коннекторы для оптических волокон, предназначенные для телекоммуникационной отрасли. Например, широко используются оптические коннекторы форматов LC, ST, FC и SC.

[5]

Однако коммерчески доступные оптические коннекторы недостаточно хорошо приспособлены для установки в полевых условиях. Обычно, для того, чтобы установить коннекторы таких типов на оптическое волокно, необходимо использовать адгезив. При выполнении в полевых условиях, такой процесс может представлять затруднения и занимать много времени. Кроме того, для выполнения полировки после сборки требуется специалист высокой квалификации.

[6]

Известны также гибридные оптические сплайс-коннекторы, такие как описанные в патенте Японии №3445479, заявке на патент Японии №2004-210251 (WO 2006/019516) и заявке на патент Японии №2004-210357 (WO 2006/019515). Однако эти гибридные сплайс-коннекторы не совместимы с коннекторами стандартных форматов и требуют сборки значительного количества деталей коннектора в полевых условиях. Манипулирование множеством мелких деталей коннектора и их ориентирование может привести к неправильной сборке коннектора, что может вызвать ухудшение характеристик или повысить вероятность повреждения оптического волокна.

[7]

В последнее время были описаны волоконно-оптические коннекторы для установки в полевых условиях. См., например, патенты США №7369738, №7775726, №8118494 и международную публикацию WO 2009/148797 А1.

[8]

Сущность изобретения

[9]

В соответствии с первым примером воплощения настоящего изобретения, предлагается оптический коннектор для оконцовки волоконно-оптического кабеля с оболочкой, содержащий корпус, выполненный сопрягаемым с приемной частью соединения. Коннектор также содержит муфтовый элемент, расположенный в корпусе, причем у его первого конца закреплен феррул, при этом муфтовый элемент содержит механизм захвата, расположенный во второй части муфтового элемента, и при этом муфтовый элемент дополнительно содержит фиксатор для буферного покрытия, выполненный в третьей части муфтового элемента, причем фиксатор для буферного покрытия выполнен таким образом, что, после приведения в действие, он зажимает, по меньшей мере, часть буферного покрытия оптического волокна. Оптический коннектор также включает несущий элемент для удержания муфтового элемента в пределах корпуса, причем несущий элемент содержит монтажную конструкцию, окружающую центральное отверстие, у одного конца несущего элемента, при этом монтажная конструкция имеет, по меньшей мере, одну область углубления, предназначенную для размещения в ней части разрезанной на полосы оболочки кабеля.

[10]

В соответствии с еще одним примером воплощения настоящего изобретения, предлагается оптический коннектор, также содержащий хвостовик для оптического волокна, предназначенный для присоединения к монтажной конструкции и для закрепления частей разрезанной на полосы оболочки кабеля на монтажной конструкции несущего элемента. В соответствии с одним из примеров воплощения настоящего изобретения, хвостовик содержит область гайки, имеющую область с резьбой и предназначенную для присоединения к наружной резьбе, выполненной на монтажной конструкции. Кроме того, хвостовик для оптического волокна дополнительно содержит хвостовую часть, предназначенную для ограничения бокового перемещения волоконно-оптического кабеля. В соответствии с одним из примеров воплощения настоящего изобретения, область гайки и хвостовая часть являются отдельными элементами.

[11]

В соответствии с одним из примеров воплощения настоящего изобретения, монтажная конструкция имеет две области углублений, предназначенные для размещения в них частей разрезанной на полосы оболочки кабеля, причем каждая область углубления включает одну или более выступающих поверхностей, осуществляющих дополнительное закрепление частей разрезанной на полосы внешней оболочки кабеля, в пределах монтажной конструкции, после навинчивания хвостовика на монтажную конструкцию. Кроме того, монтажная конструкция включает плоскую полку, предназначенную для размещения несущих элементов волоконно-оптического кабеля и для предотвращения скручивания усиливающих элементов в процессе установки хвостовика на монтажную конструкцию.

[12]

В соответствии с одним из примеров воплощения настоящего изобретения, хвостовик для оптического волокна и монтажная конструкция могут закреплять участки оболочки волоконно-оптического кабеля с внешним диаметром оболочки от 1,5 мм до 3 мм.

[13]

В соответствии с еще одним из примеров воплощения настоящего изобретения, закрепленные несущие элементы удерживаются достаточно прочно, в пределах коннектора, для того, чтобы выдерживать осевое вытягивающее усилие составляющее, по меньшей мере, 10 фунтов-силы.

[14]

В соответствии с еще одним из примеров воплощения настоящего изобретения, предлагается сборочное приспособление, предназначенное для отвечающего требованию воспроизводимости, точного введения оптического волокна в волоконно-оптический коннектор. Для упрощения процесса установки, сборочное приспособление позволяет устанавливать точную длину выступающего от торца феррула конца оптического волокна. Сборочное приспособление для оконцовки волоконно-оптическим коннектором включает основание, имеющее держатель коннектора, предназначенный для размещения оптического коннектора, и устройство для установки длины выступающей части волокна, имеющее приспособление для установки длины выступающей части волокна, причем основание дополнительно включает присоединенный с возможностью поворота приводной рычаг, предназначенный для последовательной установки длины выступающей части оптического волокна от торца феррула, расположенного в оптическом коннекторе, и приведения в действие расположенного в оптическом коннекторе механизма захвата оптического волокна. Сборочное приспособление также включает узел держателя оптического волокна, выполненный таким образом, чтобы он мог быть размещен в направляющем канале основания с возможностью скольжения по нему, причем узел держателя оптического волокна содержит зажим для оптического волокна, предназначенный для закрепления волоконно-оптического кабеля с внешней оболочкой в узле держателя оптического волокна, и первую и вторую крышки, присоединенные с возможностью поворота, причем первая крышка установлена на первой пластине, имеющей возможность совершать возвратно-поступательное движение, а вторая крышка установлена на второй пластине, имеющей возможность совершать возвратно-поступательное движение, и они выполнены таким образом, чтобы они могли независимо друг от друга скользить в осевом направлении, при этом первая и вторая крышки предотвращают скручивание оптического волокна в процессе оконцовки.

[15]

Приведенное выше описание сущности настоящего изобретения не описывает каждый из возможных примеров воплощения или каждую из возможных реализаций настоящего изобретения. Более подробно эти примеры воплощения настоящего изобретения описаны в приведенном ниже подробном описании изобретения со ссылками на прилагаемые чертежи.

[16]

Краткое описание чертежей

[17]

Ниже приводится более подробное описание настоящего изобретения со ссылками на сопровождающие чертежи:

[18]

Фиг. 1. Изометрический вид оптического коннектора в соответствии с одним из примеров воплощения настоящего изобретения.

[19]

Фиг. 2. Оптический коннектор, в соответствии с одним из примеров воплощения настоящего изобретения, в разобранном виде.

[20]

Фиг. 3. Изометрический вид оптического коннектора в соответствии с одним из примеров воплощения настоящего изобретения.

[21]

Фиг. 4А и фиг. 4В. Изометрические виды хвостовика для оптического волокна оптического коннектора в соответствии с одним из примеров воплощения настоящего изобретения.

[22]

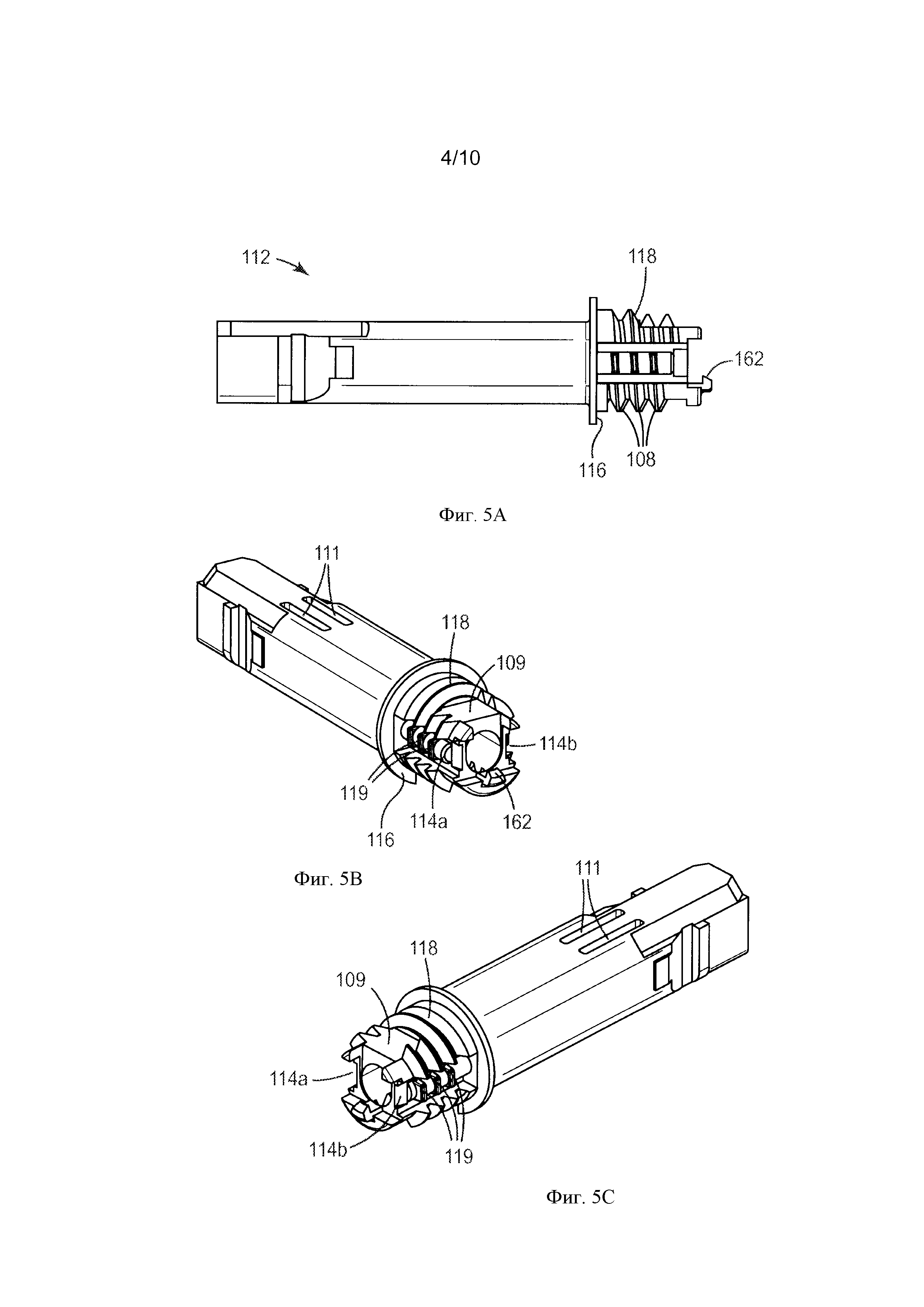
Фиг. 5А - фиг. 5С. Различные виды элемента несущего элемента оптического коннектора в соответствии с одним из примеров воплощения настоящего изобретения.

[23]

Фиг. 6. Изометрический вид оптического коннектора в соответствии с одним из примеров воплощения настоящего изобретения без хвостовика для оптического волокна.

[24]

Фиг. 7А и фиг. 7В. Виды в разрезе монтажной части элемента несущего элемента коннектора с закрепленными волоконно-оптическими кабелями с различными внешними диаметрами внешней оболочки кабеля; и

[25]

Фиг. 7С. Вид в разрезе монтажной части с закрепленными несущими элементами волоконно-оптического кабеля в соответствии с различными примерами воплощения настоящего изобретения.

[26]

Фиг. 8А и фиг. 8В. Изометрические виды платформы для выполнения оконцовки в полевых условиях; и

[27]

Фиг. 8С. Изометрический вид узла держателя оптического волокна в соответствии с альтернативными примерами воплощения настоящего изобретения.

[28]

Несмотря на то, что настоящее изобретение допускает внесение различных изменений и альтернативные формы реализации, ниже будут более подробно описаны конкретные примеры воплощения настоящего изобретения со ссылками на сопровождающие чертежи. Однако следует понимать, что описываемые конкретные примеры воплощения не ограничивают масштабы настоящего изобретения. Напротив, имелось в виду представить все возможные подобные изменения, модификации и альтернативные воплощения, в объеме настоящего изобретения, в прилагаемой формуле изобретения.

[29]

Подробное описание изобретения

[30]

Настоящее изобретение относится к оптическому коннектору. В частности, в соответствии с примерами воплощения настоящего изобретения, оптический коннектор имеет небольшую длину и обеспечивает возможность упрощенного оконцовки в полевых условиях волоконно-оптических кабелей с внешней оболочкой, с диаметрами кабеля в пределах от примерно 1,5 мм до примерно 3 мм. Конструкция оптического коннектора обеспечивает возможность упрощенной фиксации усиливающих элементов кабеля и внешней оболочки кабеля в процессе оконцовки в полевых условиях. Кроме того, использование описываемых здесь платформы и процедуры для упрощенного оконцовки коннектора позволяет сократить время, затрачиваемое на сборку при оконцовке в полевых условиях. Описываемые здесь коннекторы, в соответствии с примерами воплощения настоящего изобретения, могут быть установлены и использованы в оборудовании волоконно-оптических сетей, а также и в иных применениях, для которых требуются коннекторы с возможностью установки в полевых условиях.

[31]

В соответствии с одним из примеров воплощения настоящего изобретения, на фиг. 1 приведен изометрический вид волоконно-оптического коннектора 100 (в состоянии, соответствующем последнему этапу сборки), на фиг. 2 показан коннектор 100 в разобранном виде, и на фиг. 3 приведен изометрический вид коннектора 100. Оптический коннектор 100 выполнен сопрягаемым с приемной частью. Например, как показано на фиг. 1, оптический коннектор 100, в соответствии с одним из примеров воплощения настоящего изобретения, выполнен в формате SC. Однако, сведущим в данной области техники будет очевидно из настоящего описания, что могут быть предложены оптические коннекторы иных стандартных форматов, такие как коннекторы форматов ST, FC и LC.

[32]

Волоконно-оптический коннектор 100, выполненный в формате SC для оконцовки оптического волокна из волоконно-оптического кабеля 135, может включать корпус 101 коннектора и хвостовик 180 для оптического волокна. В данном примере воплощения настоящего изобретения, корпус 101 включает внешний кожух, выполненный сопрягающимся с приемной частью формата SC (например, с соединителем формата SC, адаптером формата SC, или гнездовой частью формата SC). Несущий элемент 112 размещен внутри корпуса 101 и обеспечивает опорную конструкцию для коннектора 100. Кроме того, несущий элемент 112 дополнительно включает, по меньшей мере, одно отверстие 117 для доступа, обеспечивающее доступ к механизму захвата оптического волокна для приведения его в действие, или к механическому сплайсу, расположенному внутри коннектора, в зависимости от типа коннектора. Корпус 101 может включать, по меньшей мере, одно отверстие 105 для доступа (см. например, фиг. 6), которое также обеспечивает доступ к механизму захвата оптического волокна или к механическому сплайсу. Также может быть обеспечен защитный колпачок 190 (см. фиг. 6), предназначенный для защиты конца феррула и/или торца оптического волокна.

[33]

В соответствии с одним из примеров воплощения настоящего изобретения, оптический коннектор может быть коннектором с вынесенным захватом, в котором оптическое волокно, подлежащее оконцовке, не закреплено в ферруле при помощи адгезива. В соответствии с альтернативным примером воплощения настоящего изобретения, оптический коннектор может быть коннектором с механическим сплайсом, при помощи которого оптическое волокно, подлежащее оконцовке в полевых условиях, стыкуется с отрезком оптического волокна, предварительно установленным и закрепленным внутри феррула. Несмотря на то, что на приведенных примерах воплощения настоящего изобретения показан коннектор с вынесенным захватом, сведущим в данной области техники будет понятно из настоящего описания, что в соответствии с альтернативным примером воплощения настоящего изобретения, оптический коннектор может содержать устройство механического сплайса, предназначенное для стыковки оптического волокна, подлежащего оконцовке в полевых условиях, с отрезком оптического волокна, размещенным внутри феррула коннектора.

[34]

Несущий элемент 112 может дополнительно содержать монтажную область или конструкцию 118, которая позволяет присоединять хвостовик 180 к оптическому волокну. На фиг. 4А и фиг. 4В приведены более детальные виды хвостовика 180. На фиг. 5А - фиг. 5С, которые более подробно описываются ниже, приведены дополнительные виды монтажной конструкции 118.

[35]

В соответствии с данным примером воплощения настоящего изобретения, коннектор 100 может использоваться для оконцовки в полевых условиях волоконно-оптического кабеля 135 (см., например, фиг. 1, фиг. 6, фиг. 7А, фиг. 7В, и фиг. 8А - фиг. 8С). В соответствии с одним из примеров воплощения настоящего изобретения, волоконно-оптический кабель 135 представляет собой волоконно-оптический кабель с внешней оболочкой, который включает внешнюю оболочку 136 кабеля, область 137 с покрытием (например, с буферным покрытием и т.д.), область оптического волокна 138 (например, незащищенная сердцевина/оболочка), и усиливающие элементы 133. На фиг. 1 защитный слой и область оптического волокна совместно обозначены как область 138 оптического волокна. На фиг. 8С с области 138 оптического волокна снят защитный слой 137.

[36]

В соответствии с одним из примеров воплощения настоящего изобретения, усиливающие элементы 133 содержат нити или пряди из арамида, Kevlar™, или полиэстера, расположенные между внутренней поверхностью оболочки 136 кабеля и наружной поверхностью области 137 с (буферным) покрытием. Волоконно-оптический кабель 135 может иметь стандартную структуру кабеля с цилиндрической формой, или он может иметь структуру иной формы, такую как кабель прямоугольной формы, кабель овальной формы, или кабель эллиптической формы. В соответствии с одним из примеров воплощения настоящего изобретения, волоконно-оптический кабель 135 представляет собой стандартный волоконно-оптический кабель, имеющий внешний диаметр области с покрытием, составляющий 900 мкм и внешнюю оболочку 136 кабеля, имеющую наружный диаметр в пределах от примерно 1,5 мм до примерно 3 мм. Конечно, сведущим в данной области техники будет очевидно из настоящего описания, что в соответствии с альтернативными примерами воплощения настоящего изобретения, могут быть предложены оптические коннекторы, рассчитанные на волоконно-оптические кабели, имеющие другие размеры.

[37]

Коннектор 100 дополнительно включает муфтовый элемент 120, расположенный и удерживаемый внутри корпуса коннектора. Муфтовый элемент имеет возможность некоторого ограниченного передвижения в осевом направлении в пределах несущего элемента 112. Например, муфтовый элемент 120 может включать выступ, который может использоваться в качестве фланца, на который опирается пружина 155, расположенная между муфтовым элементом и несущим элементом, когда феррул 132 вставляется, например, в приемную часть соединения.

[38]

В первой части муфтового элемента 120 может размещаться феррул 132, во второй ее части может размещаться механизм 140 захвата, а в третьей ее части может размещаться узел 126 фиксации. Механизм 140 захвата включает элемент 142 захвата, приводной колпачок 144а и фиксирующий зажим 144b. Элемент 142 захвата может размещаться в гнезде 123 муфтового элемента 120. Приводной колпачок может иметь конструкцию, состоящую из множества деталей или он может иметь конструкцию, состоящую из одной единственной детали.

[39]

В соответствии с одним из примеров воплощения настоящего изобретения, оптический коннектор 100 включает муфтовый элемент 120 и приводной колпачок 144а, выполненные из одного и того же материала, но имеющие различные коэффициенты температурного расширения в направлении оси оптического волокна. В частности, приводной колпачок имеет коэффициент температурного расширения в направлении оси оптического волокна, существенно отличающийся от коэффициента температурного расширения муфтового элемента в этом же направлении. Это обстоятельство, наряду с другими, позволяет волоконно-оптическому коннектору быть термически сбалансированным в широком (т.е. превышающем 100°C) диапазоне температур (например, от -40°C до +80°C).

[40]

В одном воплощении, муфтовый элемент 120 включает область 121 у первого конца, имеющую отверстие, предназначенное для размещения феррула 132. Феррул 132 защищает оконцовываемый конец вставленного оптического волокна (для коннектора с вынесенным захватом), либо в ферруле 132 может размещаться отрезок оптического волокна, закрепленный при помощи адгезива (для сплайс-коннектора). Оптическое волокно, подлежащее оконцовке, может быть стандартным одномодовым или многомодовым оптическим волокном, таким как SMF 28 (поставляемое фирмой Corning Inc).

[41]

Феррул 132 может быть изготовлен из керамики, стекла, пластика, или металлического материала и должен служить опорой для вставляемого оптического волокна, подлежащего оконцовке. В соответствии с первым из примеров воплощения настоящего изобретения, феррул 132 выполнен из керамики. В соответствии с другим примером воплощения настоящего изобретения, феррул 132 выполнен из стекла. Оптическое волокно, подлежащее оконцовке в коннекторе, может быть стандартным одномодовым или многомодовым оптическим волокном. Предпочтительно, феррул 132 закреплен в муфтовой части при помощи эпоксидной смолы или иного подходящего адгезива, либо, в альтернативном воплощении настоящего изобретения, феррул 132 может быть установлен в области 121 у первого конца муфтового элемента 120 за счет фрикционной посадки. В соответствии с данным примером воплощения настоящего изобретения, муфтовый элемент 120 может быть сформирован или изготовлен при помощи формования из полимерного материала, в частности, из полимерного материала, имеющего анизотропный коэффициент температурного расширения.

[42]

В соответствии с данным примером воплощения настоящего изобретения, механизм 140 захвата включает элемент 142 захвата, приводной колпачок 144а и фиксирующий зажим 144b. Элемент 142 захвата может быть установлен в области паза муфтового элемента 120, в кармане или гнезде 123 для элемента захвата. В соответствии с одним из примеров воплощения настоящего изобретения, элемент 142 захвата содержит лист из пластичного материала, имеющий шарнирную петлю, соединяющую две секции, причем каждая из секций включает желобок для захвата оптического волокна, который оптимизирует усилия зажима для размещенного в нем типового стеклянного оптического волокна. В качестве пластичного материала может использоваться, например, алюминий или анодированный алюминий.

[43]

В соответствии с данным примером воплощения настоящего изобретения, элемент 142 захвата включает отдельные первую и вторую области фиксации для взаимодействия с колпачками 144а и 144b, соответственно. Кроме того, между областями фиксации может быть выполнено углубление. Имея такую конструкцию, муфтовый элемент 120 может дополнительно включать язычок или аналогичную конструкцию, которая выполнена протяженной над углублением для элемента и служит для удержания элемента 142 захвата на своем месте, когда колпачок находится в незадействованном положении или когда колпачок переводится из активированного положения в незадействованное положение. В соответствии с альтернативным примером воплощения настоящего изобретения, элемент захвата может иметь иную форму и конструкцию, подходящую для того, чтобы при активации захватывать находящееся в нем оптическое волокно.

[44]

Предпочтительно, колпачок 144а предназначен для взаимодействия с элементом 142 захвата таким образом, чтобы элемент 142 прочно захватывал вставленное в него оптическое волокно. В соответствии с одним из примеров воплощения настоящего изобретения, стенки колпачка плотно прилегают к элементу 142. Функционально, по мере того как колпачок 144а передвигается из открытого положения в закрытое положение, один или более гребней, расположенных на внутренней поверхности колпачка 144а, могут скользить по секциям элемента захвата в одной или более областей фиксации, сдвигая их друг к другу. В соответствии с одним из примеров воплощения настоящего изобретения, усилие зажима, прилагаемое к одной из областей фиксации, превосходит усилие зажима, прилагаемое к другой области фиксации.

[45]

Стеклянная часть оптического волокна располагается в желобке элемента 142 захвата и фиксируется по мере того, как колпачок 144а сдвигает секции элемента захвата друг к другу. В соответствии с предпочтительным примером воплощения настоящего изобретения, оптическое волокно выступает на расстояние от примерно 5 мкм до примерно 25 мкм от передней поверхности феррула после полировки торца волокна UPC (Ultra Physical Contact - полировка торца волокна под прямым углом с закруглениями) и АРС (Angled Physical Contact - полировка торца волокна под углом).

[46]

В соответствии с данным примером воплощения настоящего изобретения, механизм 140 захвата прикреплен к области муфтового элемента 120, в частности при помощи фиксирующего зажима 144b, и поэтому имеет определенное исходное осевое положение и определенную подвижность относительно муфтового элемента 120.

[47]

Удалить колпачок 144а можно при помощи простого монтажного приспособления, вставленного через прорези 111 (см. фиг. 5А и фиг. 5В), которое толкает лапки колпачка вверх, что позволяет разделить секции элемента 142 захвата и, таким образом, позволяет извлечь оптическое волокно.

[48]

В соответствии с данным примером воплощения настоящего изобретения, муфтовый элемент и конструкция колпачка могут быть сформированы или изготовлены при помощи формования из одного и того же полимерного материала. Например, колпачки 144а, 144b и муфтовый элемент 120 могут быть сформированы из жидкокристаллического полимера. При этом может быть использован такой жидкокристаллический полимер, как VECTRA LCP А130, поставляемый фирмой Ticona Company. Однако, в соответствии с данным примером воплощения настоящего изобретения, колпачки 144а, 144b имеют коэффициент температурного расширения в направлении оси оптического волокна, существенно отличный от коэффициента температурного расширения муфтового элемента 120 в этом же направлении. По этой причине, и, частично, благодаря пластичности материала, использованного для формирования элемента 142, при повышении температуры, расстояние между элементом 142 захвата и феррулом 132 уменьшается предсказуемым образом. Благодаря такой конструкции перемещение элемента 142 захвата вдоль оси оптического волокна в пределах муфтового элемента ограничивается фиксирующим зажимом 144b и обеспечивается возможность расширения и сжатия при изменениях температуры окружающей среды.

[49]

Материал жидкокристаллического полимера (LCP) проявляет первый коэффициент температурного расширения (СТЕ) в направлении движения потока в процессе формования и второй коэффициент температурного расширения (отличный от первого коэффициента температурного расширения) в направлении, ортогональном направлению движения потока. В соответствии с данным примером воплощения настоящего изобретения, первый коэффициент температурного расширения меньше, чем второй коэффициент температурного расширения. Соответственно, колпачок и муфтовый элемент могут быть изготовлены таким образом, что колпачок сформирован при помощи инжекционного формования материала жидкокристаллического полимера в первом направлении, а муфтовый элемент 120 сформирована при помощи инжекционного формования материала жидкокристаллического полимера во втором направлении, ортогональном к первому направлению. Таким образом, колпачки 144а, 144b могут иметь коэффициент температурного расширения в направлении оси оптического волокна, близкий к коэффициенту температурного расширения металлического элемента 142 захвата.

[50]

В соответствии с данным примером воплощения настоящего изобретения, коэффициент температурного расширения колпачка и элемента захвата в направлении их главных осей выбирается большим, чем таковой для муфтового элемента. Поэтому передняя часть элемента (ближайшая к феррулу) при повышении температуры может перемешаться ближе к заднему концу феррула.

[51]

В соответствии с другими примерами воплощения настоящего изобретения, коннектор 100 может включать область 126 муфтового элемента для фиксации защитного слоя, которая может быть выполнена таким образом, чтобы она фиксировала буферное покрытие волоконно-оптического кабеля. В соответствии с одним из примеров воплощения настоящего изобретения, область 126 фиксации буферного покрытия, после полной сборки коннектора, располагается внутри несущего элемента 112.

[52]

Область 126 фиксации буферного покрытия может быть выполнена таким образом, чтобы включать зажим для буферного покрытия как неотъемлемую часть ее конструкции. В соответствии с одним из примеров воплощения настоящего изобретения, область 126 фиксации буферного покрытия может быть выполнена таким образом, чтобы включать, по меньшей мере, одну прорезь или отверстие, предназначенное для размещения механизма фиксации буферного покрытия, такого как элемент фиксации буферного покрытия. В соответствии с другим примером воплощения настоящего изобретения, область 126 фиксации буферного покрытия может включать коническую или рифленую наружную поверхность. В соответствии с еще одним из примеров воплощения настоящего изобретения, область 126 фиксации буферного покрытия может включать одну или более продольных прорезей, выполненных в форме коронки. В соответствии с еще одним из примеров воплощения настоящего изобретения, как показано на фиг. 2, область 126 фиксации буферного покрытия может включать конструкцию с двумя язычками, которые, после приведения их в действие, могут быть прижаты к (эластично или неэластично) к буферному покрытию оптического волокна, например, при помощи гильзы 160, описываемой ниже. Эти сдвоенные язычки могут быть выполнены как единое целое (например, при помощи формования) с областью 126 фиксации буферного покрытия, могут возвышаться над внешней поверхностью области 126 фиксации буферного покрытия, и могут быть присоединены у одного или у обоих концов при помощи участков, понижающихся, на виде в разрезе. Кроме того, внутренняя поверхность области фиксации буферного покрытия может включать выступы или имеющие определенную форму зубцы (не показаны), действующие как захват одностороннего действия, который позволяет вставить оптическое волокно, но препятствует его удалению.

[53]

В соответствии с одним из примеров воплощения настоящего изобретения, область 126 фиксации буферного покрытия предназначена для фиксации буферного покрытия стандартного оптического волокна, такого как буферное покрытие с внешним диаметром 900 мкм или защитного слоя оптического волокна, имеющего больший или меньший внешний диаметр. Для приведения в действие области 126 фиксации защитного слоя, коннектор 100 дополнительно включает приводную гильзу 160, имеющую сквозное отверстие, которая может быть в осевом направлении надета со скольжением на внешнюю поверхность области 126 фиксации буферного покрытия. Гильза 160 может быть выполнена из металла или из полимерного материала. Предпочтительно, твердость гильзы 160 выше, чем твердость материала, образующего область 126 фиксации буферного покрытия. Когда гильза 160 продвигается в осевом направлении к переднему концу коннектора 100 (где расположен феррул), внутренняя поверхность гильзы 160 сдвигает внутрь детали поверхности области 126 фиксации буферного покрытия, и, таким образом, фиксирует буферное покрытие оптического волокна 135.

[54]

Несущий элемент 112 может дополнительно включать монтажную конструкцию 118, обеспечивающую возможность присоединения хвостовика 180 для оптического волокна, который может использоваться для предохранения оптического волокна от возникновения потерь сигнала, вызванных изгибными напряжениями. Кроме того, в соответствии с одним из примеров воплощения настоящего изобретения, монтажная конструкция 118/хвостовик 180 для оптического волокна коннектора 100 может быть сконфигурирована для удержания участка оболочки оптического волокна 135, подлежащего оконцовке.

[55]

На фиг. 5А - фиг. 5С показаны различные виды монтажной конструкции 118, расположенной вокруг центрального отверстия у одного конца несущего элемента 112. Монтажная конструкция 118 содержит внешнюю резьбу 108, расположенную на ее наружной поверхности и предназначенную для взаимодействия с соответствующей внутренней резьбой 184 хвостовика 180 (см. фиг. 4В). Кроме того, как будет подробно разъяснено ниже, в соответствии с одним из примеров воплощения настоящего изобретения, оболочка оптического волокна 135 может быть захвачена и зафиксирована между монтажной конструкцией 118 и хвостовиком 180 коннектора. Для этого монтажная конструкция 118 дополнительно включает, по меньшей мере, один карман, в данном воплощении, области 114а и 114b углублений, предназначенные для размещения частей разрезанной на полосы внешней оболочки. Как показано на фиг. 6, на котором приведен вид оптического коннектора 100 без хвостовика 180, в областях 114а и 114b углублений могут размещаться части 136а и 136b разрезанной на полосы внешней оболочки, при этом внешняя резьба 108 монтажной конструкции предназначена для соединения с внутренней резьбой хвостовика. Обратившись снова к фиг. 5А - фиг. 5С, можно увидеть, что каждая из областей 114а и 114b углублений может включать одну или более возвышающихся поверхностей или зубцов 119, которые способствуют дополнительной фиксации частей разрезанной на полосы внешней оболочки волоконно-оптического кабеля в пределах монтажной конструкции 118, когда хвостовик 180 для оптического волокна навинчен на монтажную конструкцию 118.

[56]

Кроме того, монтажная конструкция 118 может дополнительно включать плоскую область или полку 109. В процессе оконцовки, усиливающие элементы 133 (см. фиг. 1) отделяются от внешней оболочки 136 и области 138 оптического волокна, затем усиливающие элементы 133 могут быть сгруппированы и размещены на полке 109, что позволяет предотвратить скручивание усиливающих элементов во время установки хвостовика 180 на монтажную конструкцию 118.

[57]

Монтажная конструкция 118 может дополнительно включать стопорный элемент или язычок 162, расположенный вблизи от центрального отверстия. Язычок 162 может иметь возможность изгибаться, для того, чтобы позволить вставлять приводную гильзу 160 в несущий элемент 112 и может также иметь область защелки, предотвращающую возможность выскальзывания приводной гильзы 160 из несущего элемента 112 во время сборки. Монтажная конструкция может дополнительно включать область фланца 116. После завершения сборки, уплотнительное кольцо 158 может быть размещено на фланце 116 (см. фиг. 7А и фиг. 7В). Уплотнительное кольцо 158 может использоваться в качестве стопора для хвостовика 180 и для более надежного захвата усиливающих элементов, зафиксированных в пределах монтажной конструкции 118.

[58]

В соответствии с одним из примеров воплощения настоящего изобретения, корпус 101 и несущий элемент 112 могут быть сформированы или изготовлены при помощи формования из полимерного материала, хотя также могут быть использованы металл или иные материалы, обладающие подходящей жесткостью. Предпочтительно, корпус 101 прикреплен к внешней поверхности несущего элемента 112 при помощи защелок.

[59]

Для предотвращения образования слишком резких изгибов оптического волокна, в зоне сопряжения коннектора и оптического волокна может быть использован хвостовик 180. Как показано на фиг. 4А и фиг. 4В, хвостовик 180 включает вращающуюся область гайки 182 и хвостовую часть 183. В соответствии с одним из примеров воплощения настоящего изобретения, область гайки 182 и хвостовая часть 183 выполнены как отдельные элементы (см., например, фиг. 2), причем хвостовая часть 183 просто вставлена через задний конец гайки 182. Хвостовая часть 183 имеет внутреннее отверстие, рассчитанное на размещение волоконно-оптического кабеля стандартного диаметра. Хвостовая часть 183 может также иметь постепенно уменьшающийся внешний диаметр. В соответствии с еще одним из примеров воплощения настоящего изобретения, область гайки 182 и хвостовая часть 183 выполнены как единый целый элемент. Область гайки 182 имеет резьбу 184 на внутренней поверхности, рассчитанную на соединение с внешней резьбой 108 монтажной конструкции 118. Хвостовая часть 183 обладает некоторой гибкостью, достаточной для обеспечения выполнения требований по минимально допустимому радиусу изгиба оптического волокна с целью предотвращения возможных потерь при передаче сигнала при наличии боковых нагрузок на оптическое волокно. Гайка 182 и хвостовая часть 183 могут быть выполнены из различных материалов или, в альтернативном воплощении, эти элементы могут быть выполнены из одного и того же материала. Например, хвостовая часть 183 может быть выполнена из материала, обладающего большей гибкостью, чем материал, из которого выполнена область гайки 182. При использовании конструкции, состоящей из двух частей, хвостовая часть 183 может быть вставлена на защелках через задний конец области гайки 182 в заводских или в полевых условиях.

[60]

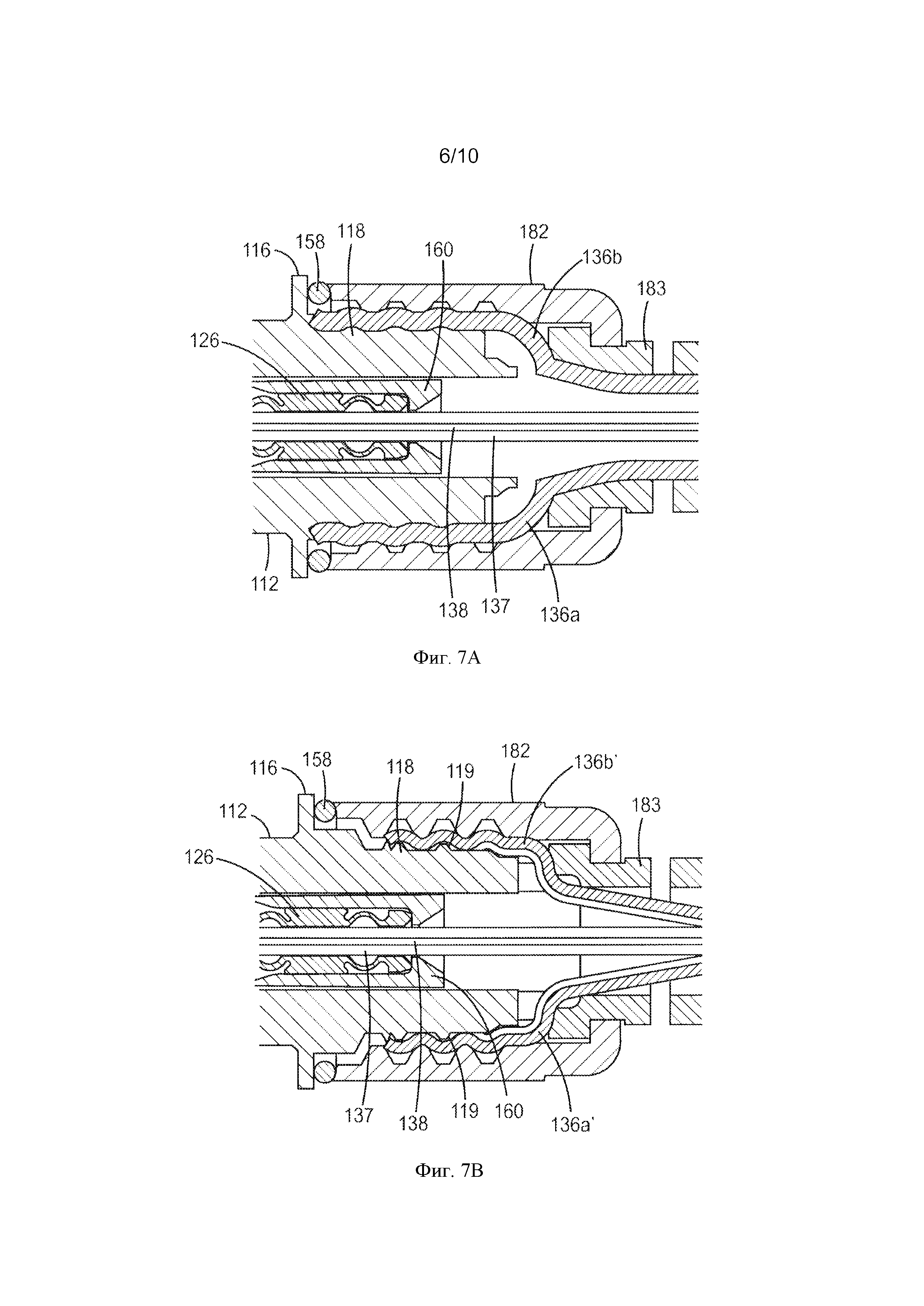
В соответствии с одним из примеров воплощения настоящего изобретения, коннектор 100 предназначен для размещения волоконно-оптических кабелей с различными диаметрами внешней оболочки. Как показано на фиг. 7А и фиг. 7В, коннектор 100 предусматривает возможность захвата волоконно-оптического кабеля, имеющего сравнительно толстую внешнюю оболочку оптического волокна (см. фиг. 7А) и волоконно-оптического кабеля, имеющего значительно более тонкую внешнюю оболочку оптического волокна (см. фиг. 7В). На фиг. 7А показан волоконно-оптический кабель, имеющий части 136а и 136b разрезанной на полосы внешней оболочки, зафиксированные между областью гайки 182 хвостовика для оптического волокна и монтажной конструкцией 118 несущего элемента 112. Разделенные участки оболочки могут быть размещены в углублениях 114а и 114b, описанных выше, при этом зубцы 119 и внутренняя резьба 184 хвостовика позволяют удерживать части разрезанной на полосы оболочки. В соответствии с данным примером воплощения настоящего изобретения, внешняя оболочка кабеля имеет внешний диаметр порядка 3 мм (в данном случае, стандартный внешний диаметр 2,9 мм). Примеры волоконно-оптического кабеля, имеющего такой внешний диаметр, включают кабель типа AllWave Flex, поставляемый фирмой OFS и кабель типа BendBright Elite, поставляемый фирмой Prysmian Group. Глубина углублений обеспечивает эргономически приемлемую величину момента затяжки (в данном воплощении, от примерно 24 до примерно 48 дюймов-унций), требуемого для полного закручивания гайки 182.

[61]

На фиг. 7В показан волоконно-оптический кабель, имеющий разделенные участки 136а' и 136b' внешней оболочки, зафиксированные между областью гайки 182 хвостовика для оптического волокна и монтажной конструкцией 118 несущего элемента 112. Разделенные участки оболочки могут быть размещены в углублениях 114а и 114b, описанных выше, при этом зубцы 119 и внутренняя резьба 184 хвостовика позволяют удерживать части разрезанной на полосы внешней оболочки. В соответствии с данным примером воплощения настоящего изобретения, внешняя оболочка кабеля имеет внешний диаметр порядка 1,5 мм (в данном случае, стандартный внешний диаметр в 1,6 мм). Примеры волоконно-оптического кабеля, имеющего такой внешний диаметр, включают кабель типа SMF 28е, поставляемый фирмой Corning и кабель типа BendBright XS, поставляемый фирмой Prysmian Group.

[62]

Как показано на фиг. 7С, усиливающие элементы 133 зафиксированы между внутренней резьбой 184 гайки 182 и монтажной конструкцией 118. Оставшаяся часть несущих элементов может выходить из соединения гайки хвостовика/монтажной конструкции в месте расположения уплотнительного кольца 158. Как было указано выше, усиливающие элементы 133 могут быть сгруппированы и размещены на полке 109, что позволяет предотвратить скручивание усиливающих элементов во время установки хвостовика для оптического волокна. Обычно, усиливающие элементы могут удерживаться достаточно прочно для того, чтобы выдерживать вытягивающее усилие вдоль оси, составляющее, по меньшей мере, 10 фунтов-силы, в зависимости от плотности усиливающих элементов, содержащихся в волоконно-оптическом кабеле. Кроме того, во время внутренних испытаний, было определено, что один из примеров воплощения коннектора, аналогичный коннектору 100, выдерживал вытягивающее усилие, приложенное к внешней оболочке, составляющее, по меньшей мере, 1,8 фунтов-силы.

[63]

В соответствии с еще одним из примеров воплощения настоящего изобретения, предлагается процедура оконцовки в полевых условиях. Следует заметить, что несмотря на то, что процедура и платформа для оконцовки описываются здесь в контексте выполнения оконцовки оптического волокна в полевых условиях, сведущим в данной области техники будет понятно, что процедура и платформа для оконцовки могут также применяться и в заводских условиях.

[64]

На фиг. 8А - фиг. 8С показана платформа для оконцовки в полевых условиях или сборочное приспособление 200 и его компонент 270 держателя волоконно-оптического кабеля. Это сборочное приспособление, предназначено для отвечающего требованию воспроизводимости, точного введения оптического волокна в волоконно-оптический коннектор с вынесенным захватом и позволяет устанавливать точную длину выступающего от торца феррула конца оптического волокна для упрощения процесса установки и обеспечивает стабильность оптических характеристик коннектора. Кроме того, сборочное приспособление, в соответствии с одним из примеров воплощения настоящего изобретения, позволяет технику при выполнении оконцовки в полевых условиях использовать полностью собранный или практически полностью собранный волоконно-оптический коннектор, что упрощает процесс установки волоконно-оптических коннекторов с вынесенным захватом. Сборочное приспособление может быть недорогим, что снизит затраты потребителей на инструменты. Кроме того, сборочное приспособление включает держатель оптического волокна, который может предотвращать перекашивание оптического волокна с покрытием диаметром от 250 мкм до 900 мкм при его введении в коннектор. Сборочное приспособление также выполнено таким образом, чтобы для установки длины выступающей части волокна и приведения в действие колпачка механизма захвата оптического волокна, расположенного в оптическом коннекторе, требовалось только одно действие.

[65]

Как показано на фиг. 8А и фиг. 8В, сборочное приспособление 200 включает устройство 220 для установки длины выступающей части волокна, расположенное на основании 210. Держатель 202 коннектора расположен вблизи от устройства 220 для установки длины выступающей части волокна, таким образом, чтобы торец феррула волоконно-оптического коннектора 100, вставленного в держатель коннектора, был расположен надлежащим образом в пределах устройства для установки длины выступающей части волокна, так, чтобы конец оптического волокна был виден во время введения его в оптический коннектор. Держатель 202 коннектора может быть присоединен к основанию 210 сборочного приспособления 200 при помощи механического крепления, такого как шурупы или защелки, при помощи адгезива или при помощи иного способа крепления, такого как сварка, или может быть выполнен как единое целое с корпусом 221 устройства 220 для установки длины выступающей части волокна.

[66]

Устройство 220 для установки длины выступающей части волокна позволяет технику надежно устанавливать длину выступающей части терминального конца оптического волокна, которая выступает от торца феррула коннектора, как это описано выше. Устройство 220 для установки длины выступающей части волокна включает корпус 221, окно 222 в корпусе 221, позволяющее видеть конец для оконцовки оптического волокна, приспособление для установки длины выступающей части волокна (скрыто, не показано), приводной рычаг 240, и источник 224 света, предназначенный для освещения конца для оконцовки оптического волокна. При использовании такой конструкции, исключается перекашивание кабеля и оптического волокна (т.е. образование изгиба оптического волокна).

[67]

Приводной рычаг 240 позволяет последовательно выполнить установку длины выступающей части волокна от торца феррула волоконно-оптического коннектора и затем установку приводного колпачка волоконно-оптического коннектора 100, который может использоваться для фиксации оптического волокна в нужном положении в пределах волоконно-оптического коннектора 100.

[68]

Приводной рычаг присоединен, с возможностью поворота, к основанию 210 сборочного приспособления 200. Приводной рычаг 240 может включать выполненную в форме дуги канавку 243, в которую входит штифт, расположенный в задней части приспособления для установки длины выступающей части волокна, и привод колпачка или толкатель 246, который прикасается и нажимает на приводной колпачок коннектора, такой как приводной колпачок 144а волоконно-оптического коннектора 100. Когда рычаг 240 поворачивают из положения, показанного на фиг. 8А в положение, показанное на фиг. 8В, приспособление толкает оптическое волокно и держатель 270 волоконно-оптического кабеля назад (в направлении стрелки 203b), преодолевая сопротивление сил динамического трения и усилие пружины, работающей на растяжение (пружина, работающая на растяжение находится под основанием 210 и соединяет защелку, предназначенную для удержания держателя 270 кабеля, с элементом, зафиксированным на нижней части основания 210). Благодаря наличию пружины, работающей на растяжение, в сборочном приспособлении существует возможность контролировать величину контактного усилия и силу сжатия оптического волокна. Например, может быть использована металлическая пружина, которая меньше подвержена влиянию изменений температуры, чем изгиб оптического волокна.

[69]

При продолжении движения приводной рычаг приводит толкатель 246 в соприкосновение с приводным колпачком и прикладывает усилие, толкая приводной колпачок на элемент захвата (не показан) внутри оптического коннектора 100.

[70]

Сборочное приспособление 200 включает устройство 270 держателя оптического волокна (см. фиг. 8С), имеющее основание 272 устройства держателя оптического волокна. В соответствии с одним из примеров воплощения настоящего изобретения, основание 272 устройства держателя оптического волокна может быть со скольжением вставлено в направляющий канал 271 основания 210 сборочного приспособления. В соответствии с одним из примеров данного воплощения, основание 210 сборочного приспособления, устройство 270 держателя оптического волокна и их компоненты могут быть сформированы или изготовлены при помощи формования из полимерного материала.

[71]

Устройство 270 держателя оптического волокна включает фиксатор 292 оптического волокна. Фиксатор 292 предназначен для того, чтобы служить опорой для волоконно-оптического кабеля и/или временно его фиксировать в процессе выполнения его оконцовки. В соответствии с данным примером воплощения настоящего изобретения, фиксатор 292 прилагает удерживающее усилие, позволяющее захватить волоконно-оптический кабель 135 и удерживать его в устройстве держателя оптического волокна. Фиксатор 292 может быть закрыт на защелку, с тем, чтобы обеспечивать необходимое удерживающее усилие, а также может включать направляющую или канал для оптического волокна, служащий дополнительной опорой в осевом направлении для оптического волокна на протяжении существенной части длины сборочного приспособления. Кроме того, несмотря на то, что крышки 275 и 294, присоединенные с возможностью поворота, могут рассматриваться как фиксаторы, эти элементы не называются здесь фиксаторами, поскольку они не прилагают к оптическому волокну, подлежащему оконцовке, достаточного зажимающего усилия. Предпочтительнее, крышки 275 и 294 обеспечивают свободную посадку и предотвращают скручивание оптического волокна во время его оконцовки.

[72]

В соответствии с данным примером воплощения настоящего изобретения, крышка 275 может быть расположена в передней части устройства 270 держателя оптического волокна, вблизи от толкателя 280 фиксатора защитного слоя. Крышка 275 установлена на первой пластине 273, имеющей возможность совершать возвратно-поступательное движение, которая может скользить в осевом направлении (т.е. в направлении стрелок 203а и 203b) в пределах устройства 270 держателя оптического волокна. Крышка 294 расположена между крышкой 275 и фиксатором 292 и установлена на второй пластине 274, имеющей возможность совершать возвратно-поступательное движение, которая может перемещаться в осевом направлении. Таким образом, как показано на фиг. 8А и фиг. 8В, крышки 275 и 294 могут быть раздвинуты или сдвинуты вплотную друг к другу в процессе выполнения оконцовки.

[73]

Толкатель 280 фиксатора буферного покрытия может включать воронкообразную направляющую для оптического волокна (или воронку), которая может направлять оптическое волокно, а также приводить в действие механизм фиксации буферного покрытия коннектора 100, установленного в держатель 202 коннектора. Например, толкатель 280 фиксатора буферного покрытия может толкать гильзу 160 на область 126 фиксации.

[74]

На практике, сборочное приспособление 200 может быть использовано при выполнении оконцовки для упрощения процесса оконцовки оптического волокна в волоконно-оптическом коннекторе в полевых условиях. Кроме того, техник, работающий в полевых условиях, может использовать полностью собранный или практически полностью собранный в заводских условиях волоконно-оптический коннектор, так, что дополнительные операции по сборке коннектора в полевых условиях не требуются.

[75]

Последовательность действий при установке оптического волокна 135 в волоконно-оптический коннектор 100 будет описана со ссылкой на сборочное приспособление 200, показанное на фиг. 8А - фиг. 8С. Например, для установки коннектора с вынесенным захватом на оптическое волокно, коннектор 100 может быть вставлен в соединитель для коннектора или в держатель 202 коннектора, например, с использованием защелок.

[76]

Оптическое волокно, такое как волоконно-оптический кабель 135, может быть подготовлено путем зачистки и скола (плоского или под углом) с тем, чтобы обнажить конец под оконцовку оптического волокна. Перед операциями зачистки и скола, на волоконно-оптический кабель может быть установлен хвостовик 180 для оптического волокна. Кроме того, внешняя оболочка волоконно-оптического кабеля может быть разрезана на два участка 136а и 136b оболочки при помощи инструмента для разрезания кабеля или для продольного разрезания оболочки. После разрезания оболочки 136 кабеля, участки оболочки усиливающие элементы 133 могут быть отведены назад. После зачистки участка буферного покрытия 137 оптического волокна, при помощи обычного инструмента для зачистки, может быть выполнено скалывание (опционально) при помощи обычного инструмента для скалывания, при этом оптическое волокно удерживается в устройстве 270 держателя оптического волокна. В зависимости от предполагаемого применения, скол может быть плоским или под углом. Например, для выполнения скола под углом может быть использован коммерчески доступный инструмент для скалывания оптического волокна, такой как инструмент типа Ilsintech MAX CI-08, поставляемый фирмой Ilsintech, Корея (не показан).

[77]

На фиг. 8С можно видеть, что волоконно-оптический кабель 135 может быть расположен в устройстве 270 держателя оптического волокна, при этом крышки 275 и 294 открыты, а фиксатор 292 установлен в открытое положение. Кроме того, крышка 275 установлена в переднее положение, как показано на фиг. 8С. Волоконно-оптический кабель может быть уложен в направляющие, выполненные в устройстве держателя оптического волокна. Разрезанные части 136а и 136b могут быть отведены назад и расположены в устройстве 270 держателя оптического волокна, как показано на фиг. 8С. Несмотря на то, что это не показано на фиг. 8С, усиливающие элементы могут быть сгруппированы в пачки.

[78]

После этого крышки 275 и 294 устанавливаются в закрытое положение поверх удерживаемого оптического волокна. Фиксатор 292 также устанавливается в закрытое положение, фиксируя при этом волоконно-оптический кабель 135 в нужном положении в пределах устройства 270 держателя оптического волокна. Усиливающие элементы также заправляются под язычки 296 (см. фиг. 8В).

[79]

После этого устройство 270 держателя оптического волокна устанавливается на основание 210, как показано на фиг. 8А. Устройство держателя оптического волокна сдвигается в направлении коннектора 100 до тех пор, пока первая пластина 273, имеющая возможность совершать возвратно-поступательное движение, не упирается в стопорную защелку 223, выполненную на основании 210. Устройство 270 держателя оптического волокна сдвигается далее вперед (в направлении стрелки 203а), даже несмотря на то, что первая пластина, имеющая возможность совершать возвратно-поступательное движение, временно остановлена, до тех пор, пока передние кромки 271 устройства 270 держателя оптического волокна не упираются в стопоры, выполненные в основании 210. В ходе этого дальнейшего передвижения, крышка 294 сдвигается к крышке 275 (такое близкое их расположение показано на фиг. 8В). На этом этапе, обнаженный конец оптического волокна вставлен внутрь коннектора 100. Конец оптического волокна, выступающий за пределы торца феррула, может быть визуально проинспектирован через окно 222, при этом включается источник 224 света (обычный светодиод, аналогичный осветитель или увеличительное стекло).

[80]

На фиг. 8А рычаг 240 показан в положении «загрузки». После того, как устройство 270 держателя оптического волокна установлено на основание 210, рычаг 240 может быть переведен вперед, в положение, показанное на фиг. 8В. Это перемещение приводит в действие приспособление для установки длины выступающей части волокна, которое толкает оптическое волокно и устройство держателя оптического волокна назад (в направлении стрелки 203b) примерно на 1 мм. Когда рычаг 240 полностью прижимается к держателю 202 коннектора/коннектору 100, толкатель 246 надавливает на приводной колпачок устройства фиксации оптического волокна и приводит это устройство в действие, фиксируя оптическое волокно в пределах коннектора 100.

[81]

Затем может быть нажата стопорная защелка, что позволит толкателю 280 фиксатора буферного покрытия двигаться вперед (в направлении стрелки 203а) и толкать гильзу 160 на область 126 фиксации буферного покрытия коннектора 100. Крышки 275, 294 и фиксатор 292 могут быть открыты, а рычаг 240 может быть передвинут обратно в положение «загрузки», что позволит технику, выполняющему оконцовку в полевых условиях, извлечь держатель оптического волокна и коннектор 100 из держателя 202 коннектора. Для защиты торца оптического волокна до начала эксплуатации, на конец феррула коннектора 100 может быть надет защитный колпачок 190 (см. фиг. 6). Затем несущие элементы могут быть извлечены из их заправленного положения и размещены на полке 109. Излишки разрезанных частей внешней оболочки также могут быть удалены, при этом остается такая их длина, которая подходит для размещения в карманах 114а и 114b. Область гайки 182 хвостовика может быть подведена вперед к монтажной конструкции 118 и навинчена на монтажную конструкцию, при этом под ней зажимаются усиливающие элементы и разрезанные части внешней оболочки. После того, как область гайки 182 хвостовика 180 окончательно установлена на монтажной конструкции 118, излишки длины усиливающих элементов могут быть удалены/отрезаны.

[82]

Защитный колпачок 190 может быть снят, и коннектор может быть установлен в устройство для полирования в полевых условиях (не показано) таким образом, что может быть выполнено полирование торца оптического волокна. Как было указано выше, оптическое волокно выступает на расстояние от, примерно, 5 мкм до, примерно, 25 мкм от передней поверхности феррула, после полировки UPC и АРС.

[83]

Как было указано выше, оптический коннектор, в соответствии с настоящим изобретением, может быть коннектором с вынесенным захватом, в котором оптическое волокно, подлежащее оконцеванию, не закреплено в ферруле при помощи адгезива, либо, в соответствии с альтернативным примером воплощения настоящего изобретения, оптический коннектор может быть сплайс-коннектором, при помощи которого оптическое волокно, подлежащее оконцевке в полевых условиях, стыкуется с отрезком оптического волокна, предварительно установленным и закрепленным внутри феррула. Поэтому сведущим в данной области техники будет понятно из настоящего описания, что сборочное приспособление для оконцовки в полевых условиях и процедура его использования могут быть модифицированы для выполнения оконцовки оптического волокна в сплайс-коннекторе.

[84]

Коннектор, в соответствии с описанными выше примерами воплощения настоящего изобретения, может обеспечить упрощение процесса оконцовки в полевых условиях стандартных или нестандартных волоконно-оптических кабелей с оболочкой, при этом не требуется наличие источника электропитания, а также применение адгезивов, дорогостоящих инструментов для монтажа или полирования в полевых условиях. Коннектор, в соответствии с примерами воплощения настоящего изобретения, может иметь общую длину менее двух дюймов.

[85]

Сведущим в данной области техники, которым и адресовано настоящее описание, будет из него очевидно, что настоящее изобретение допускает различные модификации, и может быть применено к эквивалентным процессам, а также ко множеству конструкций.

Как компенсировать расходы
на инновационную разработку
Похожие патенты