патент
№ RU 2621906
МПК B61H7/08
Номер заявки
2016124218
Дата подачи заявки
17.06.2016
Опубликовано
08.06.2017
Страна
RU
Как управлять
интеллектуальной собственностью
Чертежи 
2
Реферат

Использование: в подъемных устройствах, аттракционах, в транспортном машиностроении, в частности электричках, поездах, а также в городском и промышленном рельсовом транспорте. Сущность: постоянные редкоземельные магниты (1) с чередующейся полярностью, закрепленные на нижней части локомотива в одну или несколько линий. Токопроводящая медная шина (2) выполнена с одной горизонтальной стенкой и двумя установленными на ней вертикальными, образуя совместно П-образный перевернутый профиль, медная шина (2) установлена на шпалах железнодорожного полотна станции остановки, и при движении транспортного средства его линия постоянных магнитов (1) оказывается между стенками этой медной шины (2). Магнитный тормоз содержит также электромагнитные катушки (3) и (4), размещенные по длине медной шины (2) в вертикальных и горизонтальной стенках ее П-образного перевернутого профиля. Электромагнитные катушки (4), расположенные в горизонтальной стенке медной шины (2), разделены между собой на две части немагнитной переборкой (5). Магнитный тормоз также содержит статический обратимый полупроводниковый частотный преобразователь двухзвенного типа (6), соединенный с электромагнитными катушками (4). При торможении транспортного средства в электромагнитных катушках (3) и (4) индуцируется электроэнергия, рекуперируемая в сеть. Для разгона транспортного средства в электромагнитные катушки (3) и (4) подают трехфазный переменный ток регулируемой частоты и амплитуды от частотного преобразователя (6). Технический результат: упрощение конструкции магнитного тормоза, повышение его КПД и надежности, а также повышение функциональности. 2 з.п. ф-лы, 8 ил.

Формула изобретения

1. Магнитный тормоз, содержащий токопроводящую реактивную шину, образованную из медного материала, установленную на основании; постоянные с чередующейся полярностью магниты, прочно закрепленные в линию на нижней, с усиленной жесткостью, части тормозимого движущегося средства, которые установлены с возможностью расположения этой линии постоянных магнитов вдоль токопроводящей шины магнитного тормоза при следовании тормозимого средства к месту торможения, отличающийся тем, что он содержит токопроводящую медную шину, выполненную с одной горизонтальной стенкой и не более чем с тремя установленными на ней вертикальными стенками; а также дополнительно содержит установленные по длине данной токопроводящей шины, в горизонтальной и вертикальных ее стенках, плоские электромагнитные катушки, изготовленные из изолированного медного материала, соединенные между собой по принятой в двигателестроении схеме, и статический обратимый полупроводниковый частотный преобразователь двухзвенного типа, образующий трехфазный источник переменного тока с регулируемой его частотой и амплитудой, причем эти электромагнитные катушки соединены между собой таким образом, что при подключении их соответствующих выводов к данному полупроводниковому преобразователю образуется бегущее вдоль токопроводящей реактивной медной шины переменное, соответствующей направленности, электромагнитное поле; токопроводящая медная шина образована таким образом, что две вертикальные поверхности ее противоположных друг другу вертикальных стенок совместно с поверхностью примыкающей к ним снизу горизонтальной стенки образуют П-образный перевернутый профиль; число линий постоянных магнитов равно числу этих образованных П-образных профилей, а каждая линия постоянных магнитов установлена с возможностью расположения между всеми поверхностями данного П-образного профиля, с их плоскими электромагнитными катушками в стенках, при следовании тормозимого средства к месту торможения; при этом плоские электромагнитные катушки токопроводящей медной шины, расположенные в горизонтальной стенке ее П-образном профиле, разделены каждая на две части продольной, вдоль длины магнитного тормоза, вертикальной немагнитной переборкой, которая расположена таким образом, что каждая из этих частей находится под левой или соответственно правой стороной линии с чередующейся полярностью постоянных магнитов; причем постоянные магниты выполнены из редкоземельного материала.

2. Магнитный тормоз по п. 1, отличающийся тем, что каждая из электромагнитных плоских катушек, установленных в горизонтальной и вертикальных стенках токопроводящей медной шины, выполнена в форме параллелепипеда с прямоугольными гранями, отстоящего на расстоянии от такого же параллелепипеда, смежного с ним.

3. Магнитный тормоз по п. 1, отличающийся тем, что плоские электромагнитные катушки, установленные в горизонтальной и вертикальных стенках токопроводящей медной шины, выполнены каждая в форме параллелепипеда с прямоугольными гранями, расположены в данных стенках с примыканием друг к другу по своим торцам и образуют в них совместно единый изолированный корпус в форме прямоугольного параллелепипеда с прямоугольными гранями.

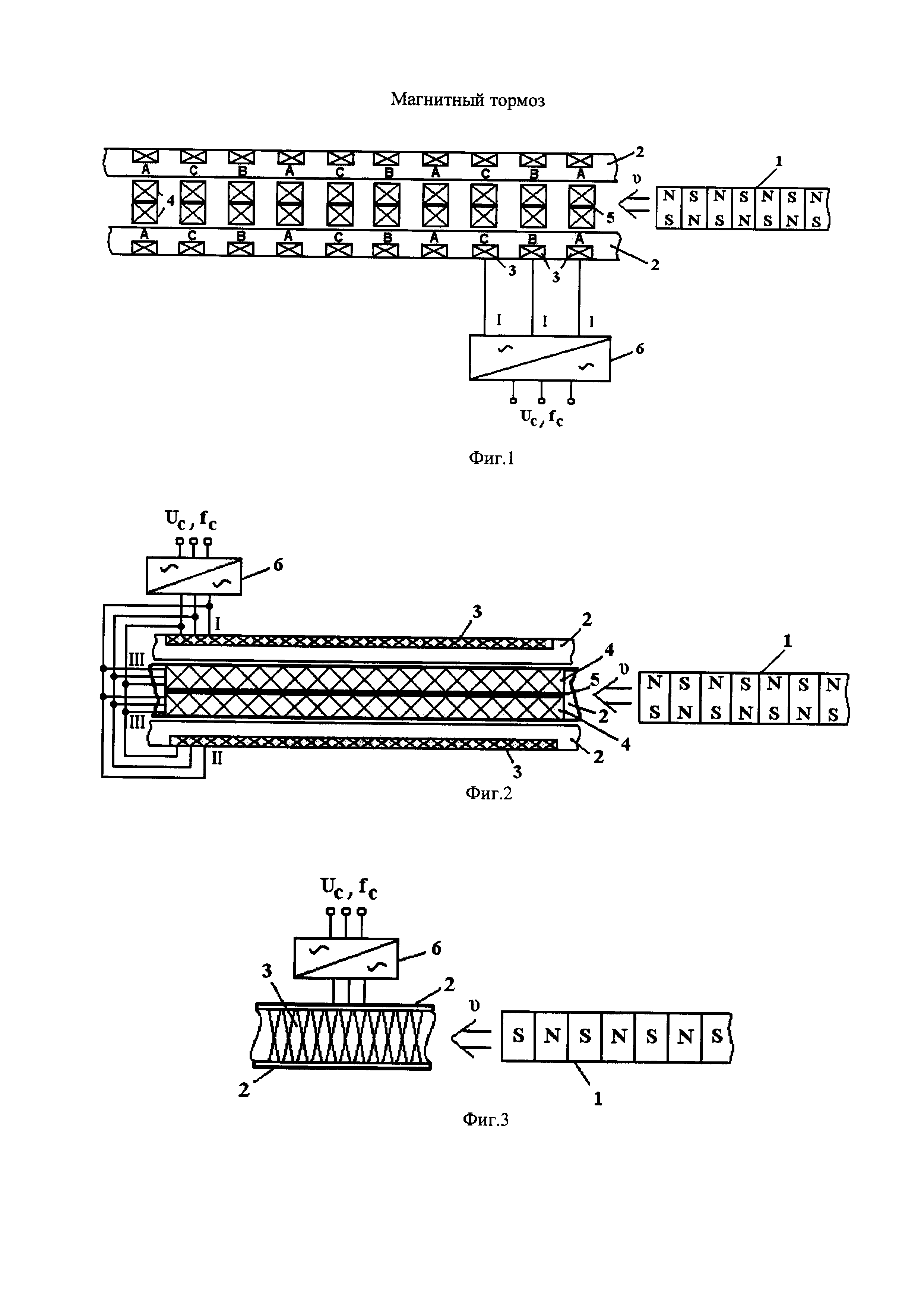
Описание

[1]

Изобретение относится к рельсовым тормозным устройствам, работающим с помощью вихревых токов и предназначенным для использования в подъемных устройствах, аттракционах, в транспортном машиностроении, в частности электричках, поездах, а также в городском и промышленном рельсовом транспорте.

[2]

Известна, например, колесная тележка железнодорожного вагона, содержащая устройство торможения токами Фуко (патент РФ 2575332, МПК B60L 7/28, B61F 5/50 (2006.01), В61Н 7/08). Данная железнодорожная колесная тележка содержит шасси, ось, установленную с возможностью вращения относительно шасси и имеющую колеса на каждой из своих концевых поперечных частей, устройство торможения, расположенное под шасси и установленное с возможностью перемещения поступательным движением относительно шасси между убранным положением и положением торможения. Устройство торможения содержит один упорный элемент, перемещающийся вместе с ним. На оси установлена деталь, ограничивающая упорную поверхность, расположенную между колесами, при этом упорный элемент опирается на упорную поверхность, когда устройство торможения находится в положении торможения. Момент торможения создается токами, индуцируемыми между колодкой торможения токами Фуко и рельсом, по которому движется железнодорожный вагон. Торможение токами Фуко позволяет эффективно замедлять ход железнодорожного вагона и обеспечивает длительный срок службы устройства. Данное торможение осуществляется без контакта между колодкой и рельсом, что значительно снижает износ этой колодки. Недостатком данного устройства торможения является низкий КПД, т.к. токи Фуко приводят к бесполезному нагреву электропроводящих элементов, по которым они протекают, и невозможность их полезного использования.

[3]

Известна, например, тормозная система для развлекательного устройства (патент US 6062350, B60L 7/28, 16.05.2002), содержащая закрепленные на транспортном средстве постоянные магниты и шину с закрепленными на ней пластинами из различных материалов для обеспечения переменного тормозного усилия. Недостатком известного устройства является выполнение самой шины (рельса), конструктивно одинаковой на всем протяжении тормозного участка, что снижает эффективность торможения и увеличивает длину участка торможения, а также низкий КПД по причине, аналогично вышеописанному патенту РФ 2575332, бесполезного нагрева элементов токами Фуко.

[4]

Известен также магнитный тормоз рельсового транспортного средства (патент РФ 2061324, МПК В61Н 7/08), содержащий тормозной блок, установленный на раме данного транспортного средства, выполненный в виде расположенных между пластинами магнитопровода с продольными полюсными наконечниками постоянных магнитов, а также дополнительный магнитный блок, установленный между пластинами магнитопровода тормозного блока с возможностью перемещения в продольном направлении, выполненный из чередующихся магнитопроводящих пластин, установленных в поперечном направлении, и постоянных магнитов, обращенных друг к другу одноименными полюсами. Кроме того, в пазах магнитопровода установлены диамагнитные вставки и (или) постоянные магниты, направление магнитного поля которых совпадает с направлением магнитного поля тормозного блока. Недостатки данного известного магнитного тормоза - наличие движущихся частей в продольном направлении, устанавливаемых в строго определенную позицию, - движение коробки с блоками осуществляется под действием возвратной пружины, т.е. под действием механических сил, также низкий КПД по причине, аналогично патенту РФ 2575332, нагрева элементов токами Фуко.

[5]

Известен также рельсовый тормоз с постоянными магнитами (патент РФ 2185984, МПК В61Н 7/08), включающий элементы подвески его к транспортному средству, общий корпус с размещенным в нем множеством пар удлиненных в пространство стационарных постоянных магнитов, каждая из которых снабжена электрической катушкой, размещенной на якоре, а также немагнитной пластинкой, вставленной между якорем и ферромагнитными полюсными наконечниками. Недостатком известного рельсового тормоза является наличие пружин, обеспечивающих возврат тормоза в первоначальное положение, которые с течением времени требуют замены вследствие усталости материала, из которого они изготовлены, а также использование фрикционных сил для торможения транспортного средства. Полюсные наконечники при фрикционном торможении, во-первых, будут изнашиваться, а во-вторых, будут значительно нагреваться. При этом постоянные магниты, расположенные между соответствующими парами полюсных наконечников, также будут нагреваться. А, как известно, постоянные магниты "боятся" нагрева, т.к. при нагреве они размагничиваются. Кроме того, при включении питания на электрические катушки таким образом, чтобы магнитные поля катушек были направлены навстречу магнитным полям постоянных магнитов, происходит достаточное резкое притяжение тормоза к рельсу и его механический удар об рельс, и вследствие нескольких таких ударов постоянные магниты могут, во-первых, разрушиться, т.к. являются хрупкими, а во-вторых, размагнититься. Также недостатком является низкий КПД по причине, аналогичной патенту РФ 2575332.

[6]

Известен, например, магнитный тормоз, принятый за прототип (патент РФ 2205113 МПК B60L 7/28 (2000.01)), содержащий постоянные магниты, размещенные на транспортном средстве, и шину, установленную на основании, выполненную из 4-х участков. На первом участке шина выполнена из внешних алюминиевых пластин и средних стальных пластин, на втором участке - из алюминиевого элемента (пластины), на третьем участке - из внешних медных пластин и средних медных пластин, на четвертом участке - из медного элемента (пластин). Постоянные с чередующиеся полярностью магниты прочно закреплены в линию на нижней, с усиленной жесткостью, части тормозимого транспортного средства и установлены с возможностью расположения этой линии постоянных магнитов по противоположным сторонам токопроводящей шины магнитного тормоза при следовании тормозимого средства к месту торможения. Принцип действия данного магнитного тормоза основан на возникновении в шине вихревых токов при изменении проходящего через них магнитного потока постоянных магнитов, установленных на транспортном средстве с данной возможностью их расположения по противоположным сторонам шины.

[7]

Недостатком данного магнитного тормоза является зависимость длин участков и толщины каждого элемента от скорости движения транспортного средства в начале участка торможения, а это означает, что его скорость должна быть постоянной, а также выполнение шины из 3-х различных токопроводящих материалов, сопряженных между собой, что приводит к усложнению и удорожанию магнитного тормоза в целом. Например, 2-й участок, выполненный из алюминия, непосредственно сопряжен с третьим участком, образованным медными элементами и размещенным между ними стальным элементом. Известно, что у алюминия и меди коэффициент теплового расширения разный. Когда через них проходит ток, они расширяются по-разному, а когда ток прекращается, они и остывают по-разному. В итоге серия таких расширений-сужений изменяет в эксплуатации геометрию проводников, и контакт между ними становится неплотным. В дальнейшем в месте слабого ненадежного контакта возникает нагрев, и он ухудшается еще больше. Кроме того, алюминий образует на своей поверхности окисную непроводящую пленку, которая с самого начала ухудшает электрический контакт, который в дальнейшем при протекании электрического тока ухудшается еще более. Поэтому для таких соединений в целях повышения надежности рекомендуется применение специальной смазки против окислов и периодический их осмотр.

[8]

Известно также, что алюминий и медь образуют «гальваническую пару», которая будет неизбежно перегреваться в месте контакта. Окислы соединенных медных и алюминиевых проводников имеют возможность диссоциации, то есть распада на заряженные ионы. Эта диссоциация возможна благодаря естественной влаге, которая всегда есть в воздухе. Ионы окислов алюминия и меди, будучи частицами с разным электрическим потенциалом, начинают принимать участие в процессе течения тока. Начинается процесс, известный как «электролиз», в ходе которого ионы переносят заряды и перемещаются сами, а ионы, как широко известно, - это частицы металлов проводников. При их перемещениях соответствующий металл разрушается с образованием раковин и пустот, исключая тем самым надежный электрический контакт. А плохой контакт начинает греться, становится при этом еще хуже. И чем влажнее окружающий воздух, тем более интенсивно протекают все перечисленные выше процессы. Помимо этого, недостатком известного устройства является низкий КПД по причине, аналогично патенту РФ 2575332, бесполезного нагрева элементов токами Фуко.

[9]

Техническая задача, на решение которой направлено изобретение, состоит в устранении указанных недостатков, а именно упрощение конструкции магнитного тормоза и повышение его КПД и надежности.

[10]

Поставленная задача достигается тем, что в известном магнитном тормозе, содержащем токопроводящую реактивную шину, образованную из медного материала, установленную на основании; постоянные с чередующейся полярностью магниты, прочно закрепленные в линию на нижней, с усиленной жесткостью, части тормозимого движущегося средства, которые установлены с возможностью расположения этой линии постоянных магнитов вдоль токопроводящей шины магнитного тормоза при следовании тормозимого средства к месту торможения, в отличие от него заявляемый магнитный тормоз содержит токопроводящую медную шину, выполненную с одной горизонтальной стенкой и не более чем с тремя установленными на ней вертикальными стенками. Также дополнительно содержит установленные по длине данной токопроводящей шины, в горизонтальной и вертикальных ее стенках, плоские электромагнитные катушки, изготовленные из изолированного медного материала, соединенные между собой по принятой в двигателестроении схеме, и статический обратимый полупроводниковый частотный преобразователь двухзвенного типа, образующий трехфазный источник переменного тока с регулируемой его частотой и амплитудой. Причем эти электромагнитные катушки соединены между собой таким образом, что при подключении их соответствующих выводов к данному полупроводниковому преобразователю образуется бегущее вдоль токопроводящей реактивной медной шины переменное, соответствующей направленности, электромагнитное поле. Токопроводящая медная шина образована таким образом, что две вертикальные поверхности ее противоположных друг другу вертикальных стенок совместно с поверхностью примыкающей к ним снизу горизонтальной стенки образуют П-образный перевернутый профиль. Число линий постоянных магнитов равно числу этих образованных П-образных профилей, а каждая линия постоянных магнитов установлена с возможностью расположения между всеми поверхностями данного П-образного профиля, с их плоскими электромагнитными катушками в стенках, при следовании тормозимого средства к месту торможения. При этом плоские электромагнитные катушки токопроводящей медной шины, расположенные в горизонтальной стенке ее П-образного профиле, разделены каждая на две части продольной, вдоль длины магнитного тормоза, вертикальной немагнитной переборкой, которая расположена таким образом, что каждая из этих частей находится под левой или соответственно правой стороной линии с чередующейся полярностью постоянных магнитов. Причем постоянные магниты выполнены из редкоземельного материала.

[11]

Каждая из электромагнитных плоских катушек, установленных в горизонтальной и вертикальных стенках токопроводящей медной шины, в частном случае выполнена в форме параллелепипеда с прямоугольными гранями, отстоящего на расстоянии от такого же смежного с ним.

[12]

Технологически целесообразно такое выполнение электромагнитных плоских катушек, когда электромагнитные плоские катушки, установленные в горизонтальной и вертикальных стенках токопроводящей медной шины, выполнены каждая в форме параллелепипеда с прямоугольными гранями, расположены в данных стенках с примыканием друг к другу по своим торцам и образуют в них совместно единый изолированный корпус в форме продольного параллелепипеда с прямоугольными гранями.

[13]

В предложенном магнитном тормозе за счет того, что токопроводящая шина выполнена в отличие от прототип, из одного конструкционного материала (меди), обеспечивается более простая и надежная его конструкция, равномерный нагрев и изменение линейных размеров, отсутствуют «гальванические пары», следовательно, отсутствует необходимость какого либо его контроля и осмотра, т.е. он является необслуживаемым. Медь обладает большей (примерно в 1,65 раза) по сравнению с алюминием электропроводностью, следовательно, тепловых потерь в ней будет во столько же раз меньше. Поэтому, несмотря на ее несколько большую по сравнению с алюминием стоимость, целесообразно применение именно медной шины.

[14]

Постоянные магниты, выполненные из редкоземельных элементов, таких как неодим или самарий, обладают высокими энергетическими показателями: остаточная индукция Br - до 1,28-1,35 Тл (сплав Nd-Fe-B, марки Е-28, Е-30, Е-33, Е-38, Е-42), коэрцитивная сила - до 1440-2000 кА/м (марка Е-33); характеризуются высокой устойчивостью к размагничиванию (конкретно не является объектом притязаний, является НОУ-ХАУ), а именно около 2% за десять лет (для неодимовых постоянных магнитов), а также достаточно высокой рабочей температурой - до 180°С (для сплава Nd-Fe-B) и до 250°С (для сплава Sm-Co).

[15]

Электромагнитные плоские катушки могут быть расположены раздельно на некотором расстоянии отстоящие друг от друга. При таком исполнении в медной шине необходимо наличие множества, равного числу катушек, пазов с соответствующими геометрическими размерами, что незначительно удорожает ее изготовление.

[16]

Технологически целесообразно и такое расположение плоских электромагнитных катушек, при котором последние примыкают друг к другу по своим торцам, образуя совместно единый изолированный корпус в форме продольного параллелепипеда с прямоугольными гранями. Такое расположение катушек возможно в том случае, если они будут выполнены из единого толстого, например, медного продольного изолированного проводника прямоугольного сечения. В последнем случае появляется возможность избавиться от необходимости выполнения многочисленных пазов в медной шине.

[17]

Статический обратимый (т.е. рекуперирующий или двунаправленный) полупроводниковый частотный преобразователь двухзвенного типа обеспечивает передачу электроэнергии переменного тока в обоих направлениях. Как известно, его функциональное предназначение и свойства позволяют достигнуть необходимого эффекта изобретения - разгон транспортного средства за счет подачи от данного преобразователя трехфазного переменного тока регулируемой частоты и амплитуды и соответственно образование бегущего вдоль токопроводящей медной шины переменного, соответствующей направленности, электромагнитного поля.

[18]

Магнитное торможение является более эффективным, т.к. постоянные магниты охватываются за счет П-образного перевернутого профиля реактивной шиной (ее сторонами) с трех сторон. Высокий КПД достигается за счет того, что часть кинетической энергии движущегося транспортного средства за вычетом омических потерь преобразуется в электрическую энергию необходимого качества. Кроме того, как изложено, предложенная конструкция магнитного тормоза позволяет осуществить двигательный его режим работы, т.е. при осуществлении подачи сторонней электроэнергии в индуктивные обмотки шины, образованные электромагнитными плоскими катушками, через двухзвенный частотный преобразователь плавно разгонять транспортное средство. Ввиду того, что первичный элемент с его П-образным перевернутым профилем, образованный стенками токопроводящей шины с медными ее индуктивными обмотками, будет создавать бегущее вдоль него электромагнитное поле, а вторичный элемент, являющийся частью транспортного средства, образованный постоянными магнитами с чередующейся их полярностью, начнет плавно перемещаться, то реализуется один из наиболее энергетически эффективных режимов - синхронный режим работы линейного электрического двигателя, при котором отсутствует скольжение и связанные с ним тепловые потери. Таким образом, получают дополнительный эффект изобретения - экономичный плавный разгон транспортного средства.

[19]

Электромагнитные плоские катушки, установленные в горизонтальной стенке токопроводящей медной шины П-образного перевернутого профиля, разделены между собой немагнитной переборкой таким образом, что каждая из них оказывается расположенной под левой или правой стороной линии чередующихся полярностью постоянных магнитов тормозимого (разгоняемого) транспортного средства. При этом немагнитная переборка, расположенная точно на границе северного и южного полюсов линии чередующихся постоянных магнитов, обеспечивает, во-первых, физическое разделение друг от друга соседних электромагнитных катушек, а во-вторых, служит для них магнитным экраном.

[20]

Изобретение иллюстрируется фиг. 1-8. Фиг. 1 - магнитный тормоз, вид в разрезе по горизонтали (с раздельным размещением электромагнитных катушек); фиг. 2 - магнитный тормоз, вид в разрезе по горизонтали (с примыкающими друг к другу по своим торцам электромагнитными катушками); фиг. 3 - магнитный тормоз, вид сбоку; фиг. 4 - вид по поперечному сечению П-образного перевернутого профиля; фиг. 5 - внешний вид на медную шину вертикальной стенки шины (2) сбоку (крепление фиксирующих электромагнитные катушки крышек); фиг. 6 - внешний вид на медную шину горизонтальной стенки шины (2) снизу (крепление фиксирующих электромагнитные катушки крышек); фиг. 7а - технологическая медная крышка вертикальных стенок (вид со стороны плоских электромагнитных катушек); фиг. 7б - технологическая медная крышка вертикальных стенок (вид с торца); фиг. 8 - структурная схема полупроводникового частотного преобразователя двухзвенного типа.

[21]

Заявляемый магнитный тормоз с выработкой электроэнергии на примере железнодорожного транспорта (фиг. 1) содержит постоянные редкоземельные (неодимовые) магниты (1) прямоугольной формы с двумя крепежными отверстиями (не показано) в каждом, с чередующейся полярностью, закрепленные на нижней, с усиленной жесткостью, части локомотива при помощи стальных болтов с потайной головкой (не показано) сквозь эти отверстия с внешней его стороны в одну или несколько (не показано) линий. Также содержит токопроводящую медную шину (2), выполненную с одной горизонтальной стенкой и двумя установленными на ней вертикальными (фиг. 4), образуя совместно П-образный перевернутый профиль таким путем, что две вертикальные поверхности данных противоположных друг другу вертикальных стенок совместно с поверхностью примыкающей к ним снизу горизонтальной стенки образуют данный П-образный перевернутый профиль. При этом медная шина (2) горизонтальной стенкой установлена на основании - неподвижных шпалах железнодорожного полотна станции остановки (не показано), и при движении транспортного средства его линия постоянных магнитов (1) оказывается между стенками этой медной шины (2). Причем число таких П-образных перевернутых профилей равно числу линий постоянных редкоземельных неодимовых магнитов. Т.е. возможно выполнение медной шины (2) и с тремя вертикальными стенками (не показано). Также он содержит плоские медные электромагнитные катушки (3) и (4), изготовленные из изолированного медного материала - проводника в форме прямоугольного сечения (не показано) (фиг. 1), размещенные по длине медной шины (2) в вертикальных и горизонтальной стенках с внешней стороны ее П-образного перевернутого профиля. Причем электромагнитные катушки (4), расположенные в горизонтальной стенке медной шины (2) П-образного перевернутого профиля, разделены между собой на две части немагнитной продольной вдоль длины магнитного тормоза переборкой (5) таким образом, что каждая из них оказывается расположенной под левой или правой стороной линии чередующихся полярностью постоянных магнитов тормозимого (разгоняемого) транспортного средства. При этом немагнитная переборка, расположенная точно на границе северного и южного полюсов линии чередующихся постоянных магнитов, обеспечивает, во-первых, физическое разделение друг от друга соседних электромагнитных катушек, а во-вторых, служит для них магнитным экраном. Магнитный тормоз также содержит статический обратимый (рекуперирующий, т.е. двунаправленный) полупроводниковый частотный преобразователь двухзвенного типа (6), образующий трехфазный источник переменного тока с регулируемой частотой и амплитудой, подключаемый к данным плоским электромагнитным катушкам (3) и (4). При этом полупроводниковый частотный преобразователь двухзвенного типа (6) установлен в служебном помещении (не показано) станции остановки.

[22]

Электромагнитные катушки (3) и (4) уложены внутри медной шины (2), причем уложены таким образом, что охватываются ее противоположными параллельными гранями и герметично закрыты технологическими медными крышками (7) (фиг. 4-6) посредством болтов (8). Соединение электромагнитных катушек (3) и (4) каждой стенки между собой произведено посредством круглого гибкого многожильного медного кабеля с использованием изолированных кабельных наконечников - переходников с круглого сечения (гибкого многожильного медного кабеля) на прямоугольное (проводник электромагнитных катушек) (не показано). Для электрического соединения электромагнитных катушек (3) между собой и соответственно электромагнитных катушек (4) в технологических медных крышках (7) на внутренней их поверхности предусмотрены прямоугольной формы канавки (9) и (10) (фиг. 7а), форма соединения которых напоминает символ "Ж". Причем диагонально расположенные канавки (9) не имеют выхода на боковые грани этих медных крышек (7), а канавка этого символа (10), расположенная поперек медной крышки (7) (вдоль ее ширины) по ее центру, имеет выходы на боковые грани. Таким образом, через все медные технологические крышки (7) медной шины (2), примыкающие по боковым граням плотно друг к другу (фиг. 5 и 6), образуется сквозной канал по канавкам (10) по всей длине магнитного тормоза. Глубина этих канавок (9) и (10) "b" превышает ширину упомянутого медного изолированного проводника прямоугольного сечения электромагнитных катушек не менее чем на толщину изоляции (не показано) соединяемых выводов (изолированных кабельных наконечников - переходников) электромагнитных катушек (фиг. 7б) (3) и (4). Ширина "h" этих канавок (9) и (10) соответственно превышает высоту данного медного изолированного проводника прямоугольного сечения электромагнитных катушек не менее чем на толщину изоляции (не показано) соединяемых выводов (изолированных кабельных наконечников - переходников) электромагнитных катушек (фиг. 7а) (3) и (4). Причем глубина этих канавок (9) и (10) "b", а также их ширина "h" таковы, что в этих канавках уложен круглый упомянутый гибкий многожильный медный кабель с использованием изолированных кабельных наконечников - переходников с круглого сечения на прямоугольное (не показано).

[23]

Технологические медные крышки горизонтальной стенки медной шины (2) также имеют прямоугольной формы канавки (9) и (10), форма соединения которых также напоминает символ "Ж". Отличием является то, что каждая из этих крышек содержит двойной комплект канавок, образующих два одинаковых по форме символа "Ж", симметрично расположенных относительно ее поперечной линии (не показана), разделяющей площадь этой поверхности крышки пополам (фиг. 6), Таким образом, каждый символ "Ж" каждой технологической медной крышки оказывается расположенным под электромагнитными катушками (4), разделенными в свою очередь между собой на две части немагнитной продольной вдоль длины магнитного тормоза переборкой (5).

[24]

Причем для лучшего охлаждения медной шины и электромагнитных катушек (3) и (4) поверхность внешней стороны медных крышек этих катушек выполнена ребристой (не показано) аналогично внешней (наружной) части статора (обычного) асинхронного электродвигателя. При этом каждая из электромагнитных катушек (3) и (4) (фиг. 1), установленных в горизонтальной и вертикальных стенках токопроводящей медной шины (2), выполнена в форме параллелепипеда с прямоугольными гранями, отстоящего в частном случае на расстоянии от такого же параллелепипеда, смежного с ним, и изготовленного из изолированного медного материала (фиг. 1).

[25]

Электромагнитные катушки (3) и (4) (фиг. 4), установленные в горизонтальной и вертикальных стенках данной медной токопроводящей шины (2), изготовлены также из медного изолированного материала, выполнены каждая в форме параллелепипеда с прямоугольными гранями и расположены в данных стенках в другом частном случае с примыканием друг к другу по своим торцам и образуют в них совместно единый изолированный корпус в форме продольного параллелепипеда с прямоугольными гранями.

[26]

Электромагнитные катушки каждой соответствующей стенки соединены между собой последовательно (не показано) с чередованием трех фаз сети А, В и С, образуя, таком образом, фазы обмотки, а именно последовательно чередующиеся разноименные электромагнитные полюса, создаваемые данной обмоткой возбуждения. Все три фазы обмотки возбуждения каждой стенки являются симметричными, т.е. в каждой из них содержится равное количество электромагнитных катушек, одинаково соединенных между собой и симметрично расположенных в магнитном поле магнитного тормоза. При этом условии суммарные ЭДС в фазах равны по величине и сдвинуты относительно друг друга на периода, т.е. образуют симметричную трехфазную систему ЭДС. Фазы обмотки могут соединяться между собой традиционно в звезду или в треугольник (не показано). Таким образом, в совокупности все электромагнитные катушки каждой стенки образуют трехфазную обмотку возбуждения. Причем все три фазы каждой стенки соединены между собой параллельно (фиг. 2) и электрически подключены к сети переменного тока через статический обратимый полупроводниковый частотный преобразователь двухзвенного типа (6).

[27]

Причем магнитный тормоз электрически соединен с полупроводниковым частотным преобразователем двухзвенного типа (6), установленным в служебном помещении (не показано) станции остановки, посредством медного кабеля, расположенным под землей в соответствии со всеми техническими нормами, а весь кабельный монтаж выполнен в соответствии с техническими нормами защиты кабелей от механических повреждений.

[28]

Заявляемый магнитный тормоз с осуществляемой выработкой электроэнергии и возможностью разгона и торможения железнодорожного транспортного средства используют следующим образом. При подходе железнодорожного транспортного средства (не показано) с большой скоростью "υ" к станции остановки (не показано) линия его постоянных магнитов (1) проходит между всех трех поверхностей П-образного перевернутого профиля токопроводящей медной шины (2). Магнитный поток чередующихся полярностью постоянных редкоземельных (неодимовых) магнитов (1) индуцирует в данный момент в соответствии с законом электромагнитной индукции Фарадея и правилом Ленца в этой медной шине (2) индукционный ток (не затухающие вихревые токи Фуко) такого направления, что создаваемый собственный встречный магнитный поток (не показано) этого тока препятствует изменению воздействующего внешнего магнитного потока, т.е. потока от постоянных магнитов (1). Электрическое сопротивление медной шины, как массивного проводника, достаточно мало, поэтому вихревые токи Фуко достигают большой силы. Известно, что движущиеся в сильном магнитном поле хорошие проводники испытывают сильное торможение, обусловленное взаимодействием вихревых токов Фуко с магнитным полем. В данном же случае тормозиться будет линия постоянных магнитов и соответственно жестко скрепленное с ней железнодорожное транспортное средство. Таким образом, транспортное средство эффективно тормозится. Т.к. медь является слабым диамагнетиком (магнитная проницаемость μ≤1, а магнитная восприимчивость χ<0), переменное магнитное поле движущихся постоянных магнитов, проходя сквозь медную шину, будет индуцировать электродвижущую силу (ЭДС) также и в плоских медных катушках (3) и (4). При подключении последних через соответствующие выводы I, II и III к нагрузке через обратимый полупроводниковый частотный преобразователь (6) по катушкам (3) и (4), соединенным между собой последовательно, будет проходить вырабатываемый полезно используемый переменный электрический ток, что увеличивает КПД используемого магнитного тормоза. Причем магнитный поток этого переменного тока плоских катушек и вихревых индукционных токов Фуко в медной шине направлен согласно между собой и встречно, в соответствии с правилом Ленца магнитному потоку их вызвавшему, т.е. магнитному потоку постоянных магнитов. Таким образом, плоские катушки (3) и (4) будет пересекать практически одновременно как магнитный поток токов вихревых индукционных токов Фуко медной шины, так и магнитный поток постоянных магнитов.

[29]

По мере снижения скорости железнодорожного транспортного средства скорость изменения магнитного потока, проходящего через медную шину (2) и размещенные в ней плоские электромагнитные катушки (3) и (4), уменьшается, соответственно уменьшается величина наведенных в них индукционных токов и создаваемое ими, воздействующее на линию постоянных магнитов и соответственно на железнодорожное транспортное средство тормозное усилие.

[30]

Для разгона железнодорожного транспортного средства в плоские катушки (3) и (4) медных шин (2) подают трехфазный переменный ток регулируемой частоты и амплитуды от обратимого полупроводникового частотного преобразователя (6), установленного в служебном помещении, питаемого, в свою очередь, от стандартной трехфазной сети переменного тока напряжением 380 В и частотой 50 Гц. Этими плоскими катушками (3) и (4) образуется бегущее вдоль медных шин (2) электромагнитное поле. Магнитосвязанное с полем постоянных магнитов это электромагнитное поле приводит к синхронному движению с ним железнодорожного транспортного средства. Таким образом, осуществляется двигательный режим работы заявляемого магнитного тормоза, позволяющий плавно разгонять данное транспортное средство. Первичный элемент, образованный тремя токопроводящими медными шинами (2) с медными обмотками (3) и (4), будет создавать бегущее вдоль него электромагнитное поле, а вторичный элемент, являющийся частью транспортного средства, образованный постоянными магнитами (1) с чередующейся их полярностью, начнет плавно перемещаться, т.о. реализуется один из наиболее энергетически эффективных режимов - синхронный режим работы линейного электрического двигателя, при котором отсутствует скольжение и связанные с ним тепловые потери. Таким образом, образуется дополнительный эффект изобретения - экономичный плавный разгон транспортного средства.

[31]

Т.к. частоту тока, подаваемого в плоские медные электромагнитные катушки при разгоне железнодорожного транспортного средства специально программно (не показано, используют метод частотного регулирования с самосинхронизацией) регулируют достаточно малой величины, то наводимые в медных шинах при этом вихревые индукционные токи Фуко также будут малы. Поэтому они практически не будут снижать магнитный поток (и соответствующий пропорциональный ему электромагнитный движущий момент), создаваемый плоскими катушками, и соответственно замедлять процесс разгона. При этом используют обратимый полупроводниковый частотный преобразователь. Его типовая схема содержит, как известно, два типовых трехфазных мостовых обратимых последовательно соединенных (фиг.8) преобразователя напряжения (далее ОПН1 (11) и ОПН2 (12)) на IGBT транзисторах, а также и входные индуктивные реакторы L (13), емкостной фильтр высших гармоник Сф (14). При разгоне транспортного средства ОПН1 работает в выпрямительном режиме, выпрямляя подаваемый переменный синусоидальный ток от стандартной сети напряжением 380 В и частотой 50 Гц, потребляемый им из сети. Второй ОПН2, работающий в инверторном режиме, инвертирует выпрямленное с помощью ОПН1 и сглаженное с помощью емкостного фильта Сф постоянное напряжение в необходимое переменное синусоидальное напряжение с требуемой программно (не показано, используют метод частотного регулирования с самосинхронизацией) амплитудой и частотой и передает в электромагнитные катушки данной токопроводящей шины магнитного тормоза (15), электрически соединенные с ним. Образуется ее бегущее электромагнитное поле соответствующей направленности. Таким путем достигается дополнительный эффект изобретения - возможность разгона транспортного средства при его отправлении, т.е. повышается функциональность его использования.

[32]

А при торможении транспортного средства ОПН2 данного преобразователя, подключенный к плоским электромагнитным катушкам токопроводящей медной шины (2), переходит в выпрямительный режим, а его ОПН1, подключенный к сети, в инверторный режим. При этом происходит рекуперация энергии торможения транспортного средства в сеть. Это повышает КПД изобретения. Если задать (условно) схеме управления на входе cosϕ=±1, то во всех режимах при регулировании времени разгона и соответственно времени торможения транспортного средства из сети будет потребляться или соответственно в сеть будет отдаваться практически только активная мощность, а переменный ток будет практически синусоидален, благодаря чему вредное воздействие на питающую сеть будет минимальным, что повышает качество вырабатываемой электроэнергии.

[33]

Предложенный магнитный тормоз используется как с выработкой электроэнергии, так и возможностью разгона железнодорожного транспортного средства. По сравнению с прототипом он имеет более надежную конструкцию за счет того, что токопроводящая шина выполнена из одного конструкционного материала, обеспечивается ее равномерный нагрев и одинаковое по всей длине и объему изменение линейных размеров; является необслуживаемым, и здесь отсутствуют «гальванические пары». Достаточно большая эффективность обеспечивается за счет того, что постоянные магниты охватываются стенками реактивной шины не с двух, а с трех сторон. Повышенный КПД достигается за счет того, что часть кинетической энергии движущегося железнодорожного транспортного средства за вычетом омических потерь в медной шине и плоских катушках преобразуется в электрическую энергию, рекуперируемую с помощью обратимого полупроводникового частотного преобразователя в сеть переменного тока. Кроме того, предложенная конструкция магнитного тормоза позволяет его использовать не только для торможения, но для плавного экономичного разгона железнодорожного транспортного средства, реализуя подобие режима синхронного линейного электрического двигателя. Таким образом, получаемый дополнительный эффект изобретения - экономичный плавный разгон транспортного средства.

Как компенсировать расходы
на инновационную разработку
Похожие патенты