патент
№ RU 2618285
МПК B23K11/10

ЭЛЕКТРОДОДЕРЖАТЕЛЬ СВАРОЧНЫХ КЛЕЩЕЙ ДЛЯ КОНТАКТНОЙ ТОЧЕЧНОЙ СВАРКИ (КТС)

Правообладатель:
Номер заявки
2015152797
Дата подачи заявки
08.12.2015
Опубликовано
03.05.2017
Страна
RU
Как управлять
интеллектуальной собственностью
Чертежи 
1
Реферат

[32]

Изобретение может быть использовано для контактной точечной сварки при изготовлении арматуры панелей различных сооружений. Стержень держателя неподвижного электрода сварочных клещей, сформированный путем гибки с получением прямых участков на его концах и изогнутого участка между ними, имеет продольный канал для циркуляции хладагента. На одном из концов стержня выполнена полость, в которой установлена втулка и размещен штуцер для соединения со средством подачи хладагента и трубопроводом. На другом конце выполнена поперечная полость для закрепления сменного электрода. Трубопровод состоит из двух соединенных друг с другом жесткой и гибкой частей. Конец жесткой части трубопровода закреплен в упомянутой втулке. Гибкая часть трубопровода размещена в канале для циркуляции хладагента изогнутого участка стержня и упирается в дно этого канала. В зоне размещения жесткого трубопровода в стержне выполнено поперечное окно для отвода нагретого хладагента, открытое в упомянутый канал. Держатель неподвижного электрода обеспечивает повышение надежности и технологичности клещей для контактной точечной сварки. 3 з.п. ф-лы, 1 ил.

Формула изобретения

1. Электрододержатель неподвижного электрода сварочных клещей для контактной точечной сварки, содержащий стержень с продольным каналом для циркуляции хладагента, при этом на одном конце стержня размещен штуцер для соединения со средством подачи хладагента и трубопроводом, установленным в канале для циркуляции хладагента с зазором относительно стенок стержня, а на другом конце стержня выполнена поперечная полость для закрепления сменного электрода, отличающийся тем, что стержень электрододержателя сформирован путем гибки с получением прямых участков на его концах и изогнутого участка между ними, на конце стержня со штуцером выполнена полость, в которой установлена втулка, при этом упомянутый трубопровод состоит из двух соединенных друг с другом частей, одна из которых выполнена в виде жесткого трубопровода, конец которого закреплен в упомянутой втулке, а другая – в виде гибкого трубопровода, который размещен в канале для циркуляции хладагента изогнутого участка стержня и упирается в дно этого канала, а в зоне размещения жесткого трубопровода в стержне выполнено поперечное окно для отвода нагретого хладагента, открытое в упомянутый канал.

2. Электрододержатель по п.1, отличающийся тем, что поперечная полость для закрепления сменного электрода выполнена сквозной.

3. Электрододержатель по п.1, отличающийся тем, что между втулкой и штуцером установлен фильтр очистки хладагента.

4. Электрододержатель по п.1, отличающийся тем, что гибкий трубопровод снабжен проволокой, расположенной по спирали на его наружной поверхности.

Описание

[1]

Изобретение относится к сварочному производству и применимо в сварочных клещах КТС, используемых для производства арматуры, применяемой в панелях жилых домов, спортивных производственных зданий и др. сооружений.

[2]

Известен электрододержатель в виде расположенных под углом стержней, имеющих на концах первого - хвостовик для крепления других этих клещей, второго - гнездо под сменный полый электрод, а также продольные каналы под хладагент, открытые один в другой, выполненные с их торцов, причем во втором стержне образовано два продольных канала, открытых в нижнюю и верхнюю части поперечного гнезда под электрод (см. заявочные материалы №2014134701/02 от 23.08.2014).

[3]

Его недостатки: необходимо выполнять второй канал в стержне и нетехнологичность из-за цилиндрического хвостовика и изготовления из листового материала.

[4]

Известен такой же электрододержатель, но с торца второго стержня имеется полость под штуцер, в котором закреплена трубка расположенная с зазорами в продольном глухом канале (см. патент US 454482 А от 01.10.1985).

[5]

Его недостатки аналогичны предыдущему, а из-за ограниченности кольцевого зазора между трубкой и каналом он забивается примесями технической воды, используемой в клещах, и частичками окиси меди токоподводящих проводов, расположенных в шланге подвода хладагента с одновременным охлаждением их, что требует периодической профилактики такого держателя для очистки его продольного канала от вышеуказанного.

[6]

Задачей данного изобретения является повышение надежности предлагаемого держателя, упрощение конструкции и уменьшение его трудоемкости.

[7]

Эта задача решается тем, что у электрододержателя сварочных клещей для КТС в виде расположенных под углом стержней, имеющих на концах первого - хвостовик под другие элементы клещей, второго на внутренней стороне - средство для крепления сменного электрода и по продольному каналу под хладагент, выполненных с их торцов и открытых один в другой, причем в образованной с торца второго стержня полости размещен штуцер, с которым соединен жесткий трубопровод, расположенный с зазорами в его канале, новым является то, что элетрододержатель выполнен без первого стержня, а конец оставшегося стержня загнут с наличием у его торца прямого участка под средство крепления сменного электрода; при этом на конце трубопровода, соединенного другим концом с втулкой, установленной в полости стержня перед штуцером без трубопровода, размещен гибкий трубопровод с проволокой на нем или без нее, расположенный в изогнутом и прямом участках канала загнутой передней части стержня, имеющего поперечное окно под хладагент, открытое в его канал в зоне нахождения жесткого трубопровода: у электрододержателя средство крепления сменного электрода выполнено в виде сквозной поперечной полости стержня; у электрододержателя между втулкой и штуцером установлен фильтр очистки хладагента; в электрододержателе жесткий трубопровод заменен гибким (силиконовым) трубопроводом.

[8]

Выполнением электрододержателя без первого стержня с хвостовиком повышается его технологичность, используя, например, круглый стержень, исключающий наружную обработку и повышающий коэффициент использования материала исходной заготовки.

[9]

Образованием загнутого участка у переднего торца стержня с наличием там прямого участка под средство крепления электрода сводится к минимуму трудоемкость такого электрододержателя и повышается его технологичность (продолжительность операции гибки его не более минуты).

[10]

Использованием гибкого трубопровода, размещенного на конце жесткого трубопровода, обеспечивается его перемещение по изогнутому участку канала стержня и расположение его переднего конца у дна канала с зазором.

[11]

Наличием проволоки на гибком трубопроводе обеспечивается центрирование ею его в продольном канале не только в изогнутом участке его, но и на прямом участке, обеспечивая беспрепятственный подвод (отвод) хладагента в зону охлаждения электрода или из нее - необходимое условие для его эффективного охлаждения.

[12]

Образованием сквозной поперечной полости под средство крепления сменного электрода (его хвостовика или) втулки упрощается его удаление после износа для замены новым, а также реставрации ее соответствующим инструментом с выходом его передней части из нее.

[13]

Креплением конца жесткого трубопровода во втулке, размещенной в полости стержня, упрощается конструкция токо- и водоподводящего штуцера, размещенного в этой же полости сзади ее, герметизация полости при присоединении последнего и сборка (разборка) предлагаемого электрододержателя.

[14]

Выполнением поперечного окна в стержне, открытого в его продольный канал в зоне размещения жесткого трубопровода, обеспечивается отвод нагретого хладагента из этого канала для охлаждения подвижного электрода в другом подвижном держателе.

[15]

Установка после штуцера фильтра очистки в полости стержня обеспечивается очистка подводимого хладагента - воды от его примесей и частичек окиси меди токоподводящих проводов, нагревающихся и окисляющихся при сварке.

[16]

Заменой жесткого трубопровода гибким уменьшается также трудоемкость предлагаемого держателя с обеспечением надежной циркуляции по нему и боковому зазору между ним и боковой поверхностью канала стержня.

[17]

Сравнительный анализ предлагаемого решения с известными в настоящее время свидетельствует, что оно ново, имеет существенные отличия, промышленно применимо и поэтому соответствует критерию Изобретение.

[18]

Предлагаемое представлено чертежом, где на фиг. 1 представлены элементы электрододержателя по п. 1-4 формулы изобретения.

[19]

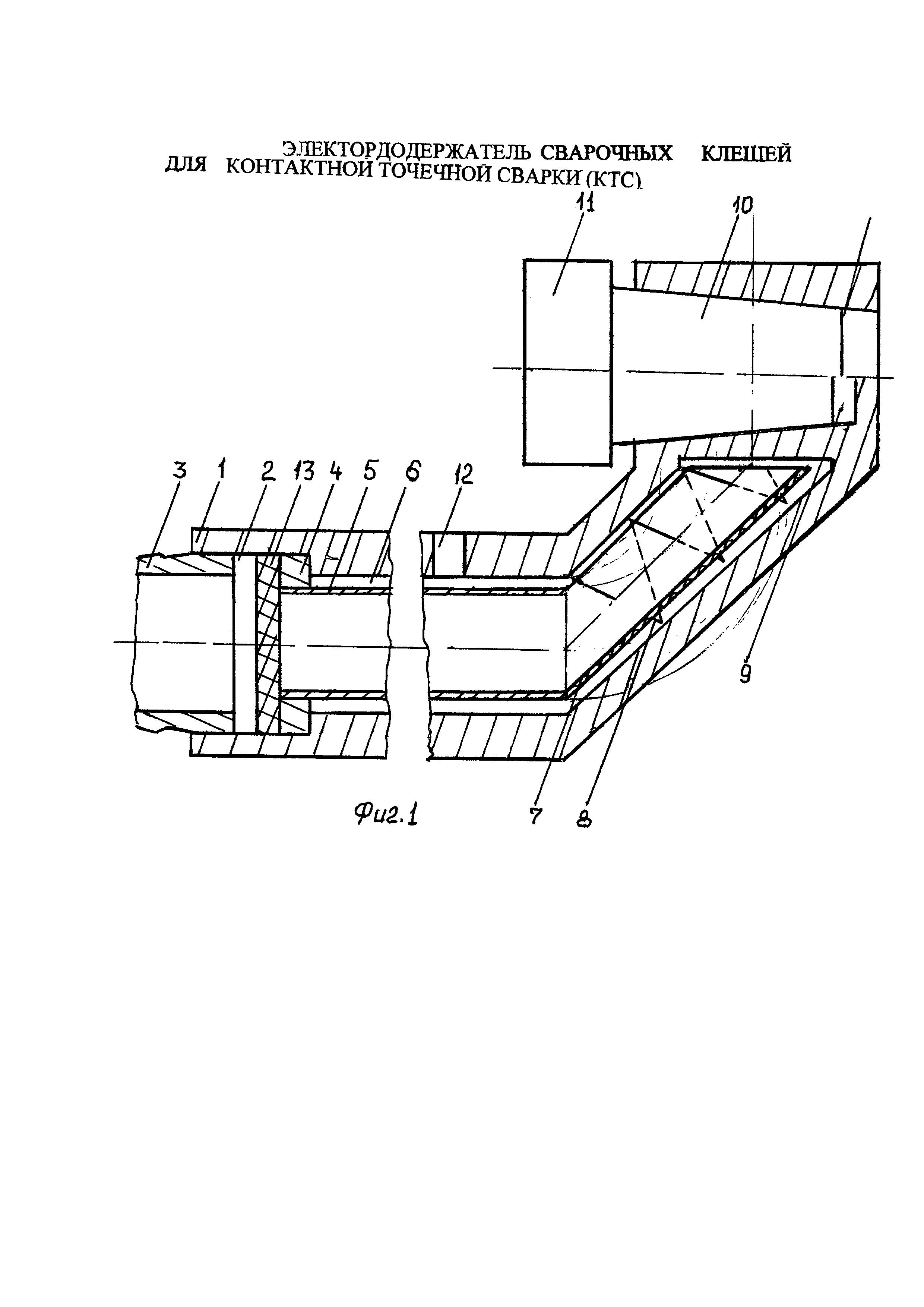
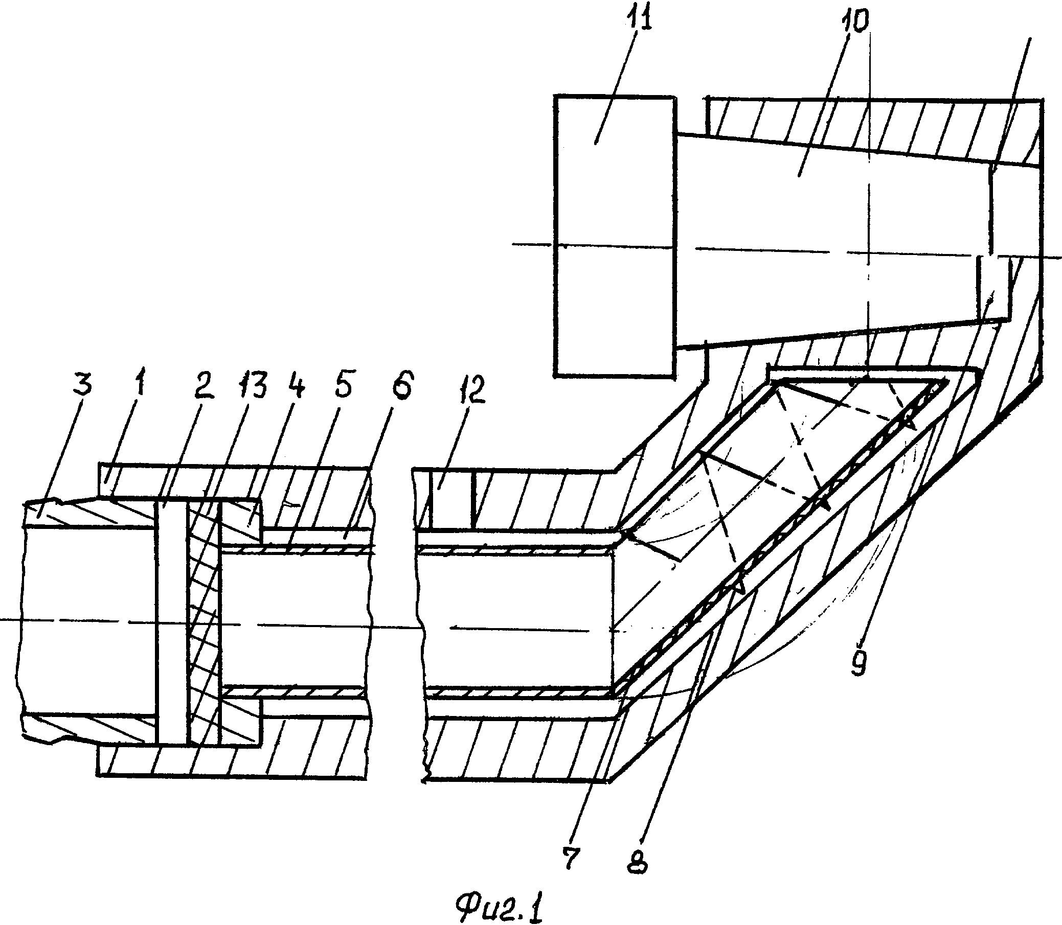
Он содержит стержень 1, с заднего торца которого выполнена полость 2 под токо- и водоподводящий штуцер 3, втулку 4, в которой концом размещен жесткий трубопровод 5. Под последний в стержне 1 выполнен продольный канал 6 - продолжение полости 2, в котором с зазорами расположен трубопровод 5 и соединенный с ним гибкий трубопровод 7 с проволокой 8 на нем, находящийся в изогнутом и прямом участках глухого канала 6 передней части стержня. У переднего торца стержня 1 на прямом участке внутренней изогнутой стороны выполнена поперечная полость 9, которая может быть глухой или сквозной (см. верхнюю и нижнюю части фиг. 1 и п. 2 формулы). В ней размещается хвостовик 10 электрода 11. В стержне 1 в зоне размещения трубопровода 5 выполнено поперечное окно 12, открытое в канал 6, для отвода хладагента из него. В полости 2 между штуцером 3 и втулкой 4 может быть размещен фильтр 13 очистки хладагента от примесей, что повысит надежность работы этого устройства (см. п. 3 формулы). Вместо жесткого трубопровода 5 может быть использован только гибкий трубопровод 7, находящийся концом во втулке 4 и желательно с проволокой 8, расположенной по спирали на его наружной боковой поверхности, что необходимо для его центрирования в канале 6 стержня 1 и особенно в его изогнутом участке, где необходимо создать равномерный боковой зазор между трубопроводом 7 и боковой поверхностью канала 6. Это необходимо для удаления за пределы стержня примесей хладагента, которые могут заполнить вышеуказанный зазор.

[20]

При сварке клещи размещаются между соединяемыми элементами, например прутками: этот держатель своим неподвижным электродом упирается в пруток сваренной арматуры, а подвижный электрод другого держателя располагается напротив привариваемого прутка. После этого пруток прижимается последним к привариваемому прутку требуемым усилием и пропускается сварочный ток. Образуется сварная точка в зоне контакта прутков, тепло от которой поступает через соединившиеся между собой прутки в оба электрода, нагревая их.

[21]

Тепло от рабочей поверхности электрода 11 устремляется в осевом направлении по его хвостовику 10, а от него и в радиальном направлении к стенкам полости, в которой он размещается. Через эти стенки тепло устремляется к дну канала 6 стержня 1, омываемому хладагентом, подаваемым через штуцер 3, фильтр 13 или без него. Втулку 4,. трубопроводы 5 и 7,. причем у последнего передний торец может быть перпендикулярным его продольной оси или наклонным и в последнем случае допускается его локальное упирание в дно полости, что недопустимо у предыдущего и поэтому отстоящего с осевым зазором от дна канала 6.

[22]

Хладагент омывает и охлаждает не только это дно, но и прилегающую к нему прямую и изогнутую часть переднюю часть стержня 1. Через стенки дна канала 1 охлаждаются хвостовик 10 и электрод 11.

[23]

Эффективность охлаждения их определяется расходом хладагента и скоростью циркуляции его вдоль охлаждаемых поверхностей стержня, причем чем больше значения этих параметров, тем эффективнее охлаждение стержня в передней части и, следовательно, хвостовика 10 и электрода 11.

[24]

Нагретый хладагент отводится по боковому зазору между поверхностями трубопроводов 7 и 5 и каналом 6 к поперечному окну 12 стержня 1, а из него к другому подвижному электрододержателю для охлаждения его электрода, не показанных на чертеже.

[25]

Преимущество предлагаемого - отсутствие хладагента в хвостовике и полости под электрод и поэтому не требуется их герметизация.

[26]

Недостаток - меньшая стойкость с таким (через стенки) охлаждением по сравнению с омыванием хладагентом полого хвостовика и задней части электрода.

[27]

Использованием круглого стержня повышается технологичность электрододержателя: не надо обрабатывать его по боковой наружной поверхности.

[28]

При наличии фильтра 13 очистки технической воды повышается надежность предлагаемого: срок между чистками его каналов от примесей увеличивается.

[29]

Центрированием проволокой гибкого трубопровода в изогнутом участке канала 6 стержня 1 обеспечивается необходимый боковой зазор там для беспрепятственного отвода хладагента из зоны охлаждения электрода 11, что необходимо и для успешной работы и другого подвижного электрода, не показанного на чертеже

[30]

Наличием сквозной (конической) полости 9 под хвостовик 10 электрода 11 упрощается его удаление из нее выколачиванием его, а также реставрация полости при износе инструментом с выходом его из него, что гораздо проще, чем ремонт глухой полости.

[31]

Таким образом, предлагаемым держателем неподвижного электрода сварочных клещей улучшаются их вышеуказанные производственно-экономические показатели: надежность и технологичность.

Как компенсировать расходы
на инновационную разработку
Похожие патенты