патент
№ RU 2613343
МПК F16N7/40

ГИДРОСТАНЦИЯ ЦИРКУЛЯЦИОННОЙ СМАЗКИ

Авторы:
Кулаков Вячеслав Демидович Болтнев Михаил Иванович Чиняев Ильгиз Рашитович
Все (4)
Номер заявки
2014151035
Дата подачи заявки
16.12.2014
Опубликовано
16.03.2017
Страна
RU
Как управлять
интеллектуальной собственностью
Чертежи 
3
Реферат

Гидростанция предназначена для обеспечения непрерывного циркуляционного смазывания и охлаждения подшипниковых узлов центробежных насосов, применяемых в кустовых насосных станциях. Гидростанция содержит гидробак несущей конструкции, на верхней плите которого смонтированы два погружных насоса, систему переключения и технологически связанную между собой систему контроля рабочего реагента, содержащую датчики давления и уровня, теплообменник, фильтры очистки с датчиками загрязнения, систему слива, при этом внутренняя полость гидробака герметично разделена продольной перегородкой на две секции, в которых закреплены вертикально с зазором к наклонному в сторону слива днищу поперечные перегородки, а в систему контроля установлен датчик содержания воды в рабочем реагенте, и на торцевой стенке гидробака, противоположной от погружных насосов, размещены в верхней части секций патрубки залива, и в нижней части патрубки слива рабочего реагента, а между ними смонтирован с переключающим устройством входной коллектор приема рабочего реагента от подшипникового узла насоса, на верхней плите гидробака установлены два съемных люка, а система контроля снабжена байпасной линией в обход теплообменника. Технический результат – повышение надежности. 3 з.п. ф-лы, 3 ил.

Формула изобретения

1. Гидростанция циркуляционной смазки, содержащая несущей конструкции гидробак, на верхней плите которого смонтированы два погружных насоса, система их переключения и технологически связанная между собой система контроля рабочего реагента, содержащая датчики давления, уровня, теплообменник, фильтры очистки с датчиками загрязнения, систему слива, отличающаяся тем, что внутренняя полость гидробака герметично разделена продольной перегородкой на две секции, в которых закреплены вертикально с зазором к наклонному в сторону слива днищу поперечные перегородки, а в систему контроля установлен датчик содержания воды в рабочем реагенте.

2. Гидростанция циркуляционной смазки по п. 1, отличающаяся тем, что на торцевой стенке гидробака, противоположной от погружных насосов, размещены в верхней части секции патрубки залива, а в нижней части патрубки слива рабочего реагента и между ними смонтирован с переключающим устройством входной коллектор приема рабочего реагента от подшипниковых узлов насосов.

3. Гидростанция циркуляционной смазки по п. 1, отличающаяся тем, что на верхней плите гидробака установлены два съемных люка.

4. Гидростанция циркуляционной смазки по п. 1, отличающаяся тем, что система контроля снабжена байпасной линией в обход теплообменника.

Описание

[1]

Изобретение относится к машиностроению, а именно к насосостроению, и предназначено для обеспечения непрерывного циркуляционного смазывания и охлаждения подшипниковых узлов центробежных насосов, применяемых, в частности, в кустовых насосных станциях.

[2]

Известна гидростанция (см. RU 45485 UIF 15В 1/02), содержащая насосные агрегаты с всасывающим и нагнетательным трубопроводами, снабженные запорной арматурой и системой маслоснабжения, состоящей из маслонасоса, бака, маслопроводов для смазки и охлаждения подшипников.

[3]

К недостаткам известной конструкции относится удаленность станции (на открытой площадке) от непосредственно подшипниковых узлов, работающих в помещении, что негативно сказывается на обслуживании конструкции.

[4]

Известна также гидростанция CC1 циркуляционной смазки (см. www.gidroeng.ru) - прототип, содержащая герметичную емкость (бак несущей конструкции), на верхней плите которой размещены два насоса погружного типа (рабочий и резервный), система переключения насосов, система контроля, включающая: датчик давления, датчик уровня, фильтры очистки масла, теплообменник и систему слива.

[5]

К недостаткам данной конструкции относятся низкие потребительские свойства, обусловленные отсутствием функции очистки масла от воды.

[6]

Технической задачей, решаемой настоящим изобретением, является создание конструкции гидростанции циркуляционной смазки с повышенными потребительскими свойствами и наличием функции очистки масла от воды.

[7]

Поставленная задача решается тем, что гидростанция циркуляционной смазки, содержащая гидробак несущей конструкции, на верхней плите которого смонтированы два погружных насоса, систему переключения и технологически связанную между собой систему контроля рабочего реагента, содержащую датчики давления и уровня, теплообменник, фильтры очистки, с датчиками загрязнения, систему слива, при этом внутренняя полость гидробака герметично разделена продольной перегородкой на две секции, в которых закреплены вертикально с зазором к наклонному в сторону слива днищу поперечные перегородки, а в систему контроля установлен датчик содержания воды в рабочем реагенте, и на торцевой стенке гидробака, противоположной от погружных насосов, размещены в верхней части секций патрубки залива, и в нижней части патрубки слива рабочего реагента, и между ними смонтирован с переключающим устройством входной коллектор приема рабочего реагента от подшипниковых узлов насоса, на верхней плите гидробака установлены два съемных люка, а система контроля снабжена байпасной линией в обход теплообменника.

[8]

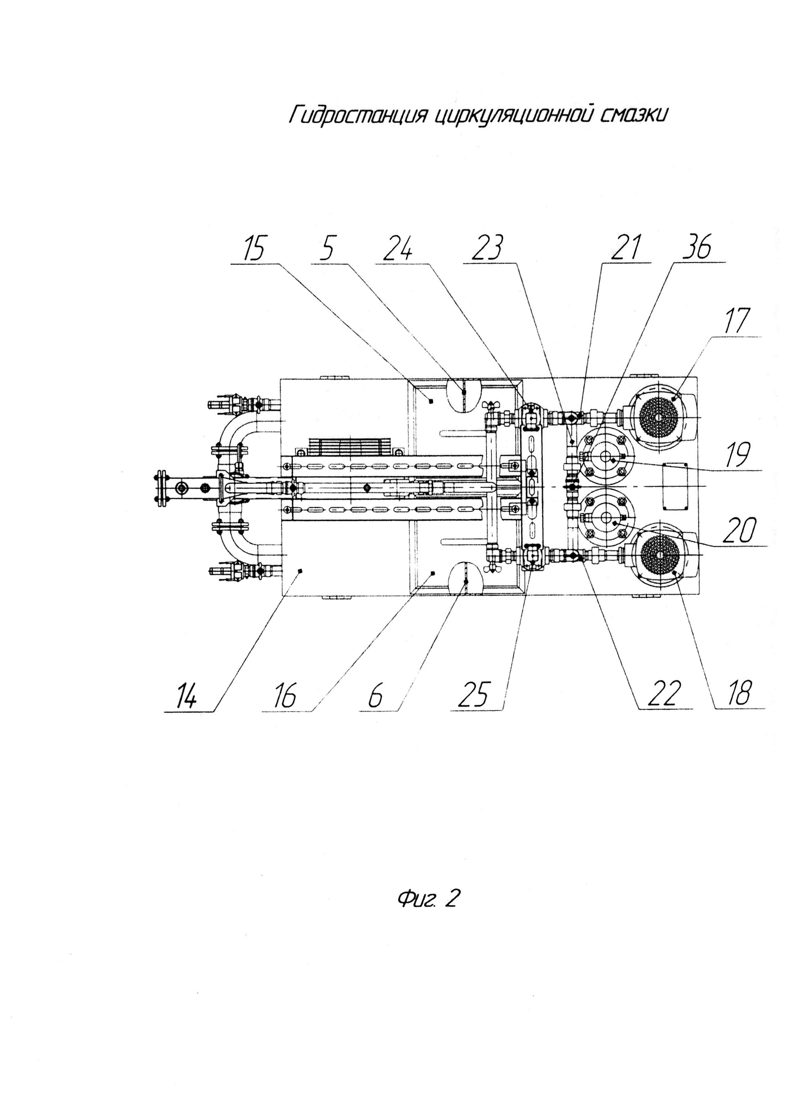
На фиг. 1 изображен вид сбоку гидростанции циркуляционной смазки; на фиг. 2 – то же, вид сверху; на фиг. 3 – то же, вид А на фиг. 1.

[9]

Гидростанция циркуляционной смазки состоит из гидробака 1 с центральной продольной перегородкой 2, разъединяющей гидробак на две равные секции 3 и 4, в которых вертикально закреплены поперечные перегородки 5 и 6 с зазором «Б» по отношению к наклонному днищу 7, в нижней точке которого установлены патрубки слива 8 и 9 рабочего реагента, над ними размещен входной коллектор 10 приема рабочего реагента с переключающим устройством 11, выше которого установлены патрубки 12 и 13 подачи (залива) рабочего реагента.

[10]

На верхней плите 14 гидробака 1 выполнены два люка 15 и 16 (по одному на секцию 3 и 4 соответственно) и установлены два погружных насоса 17 и 18, система их переключения и связанная между собой технологически система контроля рабочего реагента.

[11]

Система контроля включает в себя датчики уровня 19 и 20, установленные на верхней плите 14 гидробака, трубопроводы 21 и 22, соединенные между собой перемычкой 23 и идущие от насосов 17 и 18 к фильтрам 24 и 25 с датчиками загрязнения, байпасную линию 26 и теплообменник 27, соединенный с выходным коллектором 28, имеющим датчик 29 содержания воды в рабочем реагенте, сливной патрубок 30 и датчик давления 31.

[12]

Трубопроводы 21 и 22 имеют два сливных патрубка 32 и 33, проходящих через верхнюю плиту 14 гидробака 1, и два обратных клапана 34 и 35, а на перемычке 23 установлен кран 36.

[13]

Входной коллектор 10 и выходной коллектор 28 маслостанции соединены соответственно с выходным и входным трубопроводами подшипникового узла насоса (не показаны).

[14]

Режимы работы гидростанции циркуляционной смазки

[15]

Наполнение гидростанции рабочим реагентом

[16]

Рабочий реагент (масло) через патрубок 12 поступает в секцию 3, а через патрубок 13 в секцию 4 гидробака 1. Датчики уровня 19 и 20 контролируют заполнение секций 3 и 4 рабочим реагентом.

[17]

Работа гидростанции циркуляционной смазки.

[18]

При включении одного из погружных насосов 17 или 18 рабочий реагент, пройдя всю систему контроля, из работающей секции поступает в подшипниковый узел насоса. При этом на пульте управления (не показан) отражаются все параметры системы контроля: работа фильтров (уровень загрязненности), уровень рабочего реагента, температура рабочего реагента, содержание в нем воды, давление рабочего реагента в выходном коллекторе.

[19]

При отклонении любого из контролируемых параметров происходит автоматическое переключение работы одной секции на другую секцию. Остановившаяся секция подвергается ревизии и обслуживанию.

[20]

Например. В работе по обеспечению насоса рабочим реагентом находится секция 3, последний через входной коллектор 10 и переключающее устройство 11 поступает в секцию 3 гидробака 1, далее погружным насосом 17 через трубопровод 21, фильтр 24, теплообменник 27, датчик давления 31, датчик содержания воды 29 подается в выходной коллектор 28 и далее к подшипниковым узлам насосов.

[21]

Датчик содержания воды 29 показывает (на пульте) отклонение от нормы.

[22]

Происходит автоматическое переключение погружного насоса с 17 на 18 и входного коллектора 10 переключающим устройством 11 на подачу рабочего реагента с секции 3 на секцию 4 гидробака 1. Погружным насосом 18 рабочий реагент по трубопроводу 22, через фильтр 25, теплообменник 27, датчик давления 31, датчик содержания воды 29 подается в выходной коллектор 28 и далее к подшипниковым узлам насосов.

[23]

Обслуживание секций

[24]

Вышедшие из строя погружной насос 17 или 18, датчики давления 19 или 20, фильтры 24 или 25 с датчиками загрязнения заменяются новыми. Могут "также заменяться фильтрующие элементы фильтров 24 или 25.

[25]

При замене теплообменника 27 рабочий реагент направляется к выходному коллектору 28 через байпасную линию 26.

[26]

При увеличенном содержании в рабочем реагенте воды, последняя удаляется из секций 3 или 4 через сливные патрубки 8 или 9, чему способствует наклонное днище 7 и поперечные перегородки 5 и 6, которые блокируют возмущение рабочего реагента, производимое работающим погружным насосом 17 или 19. При этом визуальный контроль удаления производится через люки 15 или 16.

[27]

Залив чистого или отсепарированного рабочего реагента взамен освободившегося объема в секции после удаления воды производится через патрубки 12 или 13.

[28]

На время настройки погружных насосов 17 и 18 на необходимые параметры сброс рабочего реагента производится напрямую в секции 3 и 4 через сливные патрубки 32 и 33.

[29]

Для использования фильтра 24, принадлежащего секции 3, для работы с погружным насосом 18 секции 4 служит перемычка 23 с открытым краном 36, соединяющая трубопроводы 21 и 22, с установленными на них обратными клапанами 34 и 35.

[30]

Таким образом, разделение гидробака на две герметичные автономные секции, в которых выполнено наклонное в сторону слива днище и установлены вертикальные поперечные перегородки, а также ввод в систему контроля датчика содержания воды в рабочем реагенте позволяют обеспечивать непрерывное снабжение подшипниковых узлов насосов рабочим реагентом, производить техническое обслуживание гидростанции без остановки ее работы, производить удаление воды из нижней части секции (возможно самотеком, так как удельный вес воды превышает удельный вес рабочего реагента) благодаря поперечным перегородкам, установленных с зазором к днищу и образующих спокойную зону во внутренней полости секций, тем самым, несомненно, повышаются потребительские свойства гидростанции циркуляционной смазки.

Как компенсировать расходы
на инновационную разработку
Похожие патенты