патент
№ RU 2610126
МПК E02B8/06

УСТРОЙСТВО ДЛЯ ГАШЕНИЯ ЭНЕРГИИ ВОДНОГО ПОТОКА

Авторы:
Голубенко Вадим Михайлович
Номер заявки
2016101205
Дата подачи заявки
15.01.2016
Опубликовано
08.02.2017
Страна
RU
Как управлять
интеллектуальной собственностью
Чертежи 
2
Реферат

Изобретение относится к гидротехническому строительству, а именно для гашении энергии после напорных водоводов в приемном колодце. Устройство для гашения энергии водного потока включает водобойный колодец 1, подводящий водовод 2 и отводящий канал 4. Верхняя часть колодца 1 имеет вид усеченного конуса 3, в полости которого установлены отражатели 5 потока, выполненные несколькими уровнями, установленные большими основаниями в сторону дна 7 колодца 1 и расположенные симметрично оси вертикального колодца 1. Напорная грань отражателей 5 обращена в сторону боковых стенок усеченного конуса 3. Ниже отражателей 5 потока в конце расширения усеченного конуса 3 и на расстоянии от нижнего основания отражателя 5 в стенках усеченного конуса 3 размещены боковые циклогасительные чаши 6. Дно 7 колодца 1 имеет удлинение его в сторону отводящего канала 4. Дополнительная закрытая камера 8 гашения расположена за вертикальной консольной стенкой 9 и дно камеры 8 расположено в одной плоскости с дном 7 колодца 1 и имеет порог 10. Камера 8 гашения в конце имеет перегородку 11 и в плане соединена через выпускное отверстие 12 с отводящей трубой 13 и с отводящим каналом 4. Перегородка 11 предназначена для изменения направления вытекающего потока из выпускного отверстия колодца 1 между вертикальной консольной стенкой 9, что окончательно снижает придонные и поверхностные скорости перед отводящей трубой 13. Таким образом, на всех участках поток интенсивно гасится в целом, достигается высокая степень защиты отводящего канала от динамических воздействий избыточной энергии высокоскоростного потока подводящего водовода, что повышает надежность устройства, сокращает длину отводящего

Формула изобретения

1. Устройство для гашения энергии водного потока, включающее расширяющийся колодец с вертикальными стенками, расположенные в нем симметрично оси колодца кривые в виде дуг, порог, подводящий и отводящий водоводы, отличающееся тем, что расширяющаяся часть колодца имеет вид усеченного конуса и снабжена закрепленными в ее полости ниже подводящего водовода несколькими уровнями отражателями потока воды, расположенными симметрично оси вертикального колодца и установленными большими основаниями в сторону дна колодца, при этом каждый из отражателей имеет форму пирамидального рассекателя, ниже которых по обеим вертикальным стенкам устроены циклогасительные чаши, размещенные в конце расширения усеченного конуса, при этом в месте выхода потока из колодца отверстие последнего перекрыто вертикальной консольной стенкой и подключено к корпусу в виде дополнительной камеры гашения с порогом, верхняя часть которого связана с отводящей трубой и с отводящим каналом.

2. Устройство по п.1, отличающееся тем, что нижняя грань консольной вертикальной стенки расположена в одной плоскости с верхней гранью стенки порога в дополнительной камере гашения.

3. Устройство по п.1, отличающееся тем, что отражатели потока установлены соосно между циклогасительными чашами.

Описание

[1]

Изобретение относится к гидротехническому строительству, а именно для гашения энергии после напорных водоводов в приемном колодце.

[2]

Известен гаситель энергии водного потока, включающий водобойную камеру и делитель потока, дно водобойной камеры выполнено в виде цилиндрических поверхностей, расположенных по оси сооружения, и делитель потока установлен между ними (Авторское свидетельство SU №937602, Е02B 8/06 от 28.06.1982).

[3]

Недостатком известного гасителя является неполнота устранения возникающих волн по пути гашения энергии потока в колодце во всем диапазоне пропускаемых в нем расходов, т.к. основное гашение происходит для донного течения и являющегося источником повышенной пульсации скоростей опасных для устойчивости ложа канала. Через струенаправляющие стенки волна перекатывается в отводящее ложе канала.

[4]

Известно также устройство для гашения энергии потока воды, включающее расположенный между подводящим и отводящим каналами с вертикальными стенками и отводящим каналом расширяющийся в плане водобойный колодец с вертикальными стенками и порогом, оно снабжено двумя уступами, каждый из которых примыкает к одной из стенок колодца в начальной его части и выполнен с верхней плоской гранью, боковой вертикальной гранью, расположенной в одной плоскости со стенкой подводящего водовода, и передней гранью, выполненной с уклоном в сторону отводящего канала (Авторское свидетельство SU №1341326, E02B 8/06 от 30.09.1987).

[5]

Недостатком этого устройства является наличие сосредоточенного в центральной части устройства потока, поступающего в отводящий канал и являющегося источником повышенной пульсации скоростей опасных для устойчивости ложа канала.

[6]

Известен водосброс, включающий расположенную в теле подпорного сооружения выше нижнего бьефа смесительную камеру, напорные галереи с затворами, сообщенные с верхним бьефом и подключенные к смесительной камере навстречу друг другу, воздуховод, сообщающий смесительную камеру с атмосферой, водобойную камеру, расположенную под смесительной камерой, и отводящий водовод, соединяющий водобойную камеру с нижним бьефом, при этом он снабжен поперечной водобойной стенкой, установленной в водобойной камере под смесительной камерой и выполненной с обращенной вверх и в сторону верхнего бьефа вогнутой гранью в четверть цилиндрической поверхности, радиус которой равен длине смесительной камере (Авторское свидетельство SU №1504307, E02B 8/06 от 30.08.1989).

[7]

Недостатком является то, что после соударения потоков в смесительной камере и водобойной камере отсутствует заметное в большей степени вращение, которое в основном отходит от центра камеры, образуется распластанность вращающегося потока из-за прямоугольной формы камеры в поперечном сечении. Любой закрученный поток имеет две характерные особенности: вихресодержащую центральную область (вихревое ядро) со значительной завихренностью и периферийную область с малой завихренностью. Вихревое ядро является нестационарной областью потока, в которой зарождаются возмущения, нарушающие его осевую симметрию. В результате, теряя циркуляцию, а с ней теряя стабилизирующее силовое центробежное поле, поток оказывается неспособным подавлять эти несимметричные возмущения, и переходят от симметричной формы к спиралевидной. Дальнейшее вырождение циркуляции приводит к распаду циркуляционного течения в связи со слабостью остаточной закрутки. Описание явления происходит в отводящих водоводах на большой длине (более 60 их диаметров), а также при входе закрученного потока под уровень нижнего бьефа. Потерю устойчивости с разрушением высокоскоростного потока и переход к стохастическому движению следует признать неприемлемыми для высоконапорных водосбросных сооружений.

[8]

Такую форму выхода высокоскоростной струи от сооружения с описанными недостатками с отводящим водоводом, с динамикой при распаде течения в пределах проточного тракта будет предложено ниже новым техническим решением.

[9]

Кроме того, другим недостатком является то, что в теле подпорного сооружения-плотины камера соединена с отводящим водоводом в виде трубы с подтоплением с нижнего бьефа для снижения кинетической энергии потока, выходящего из водовода. Однако в таких водоводах - это малая пропускная способность затопленных с выходящим воздухом, в котором движение потока происходит в виде пробкового течения в нем. Таким образом, от выходного отверстия (щели) в водобойной камере выходное отверстие расположено ближе к потолку отводящей трубы (водовода), происходит воздушное скопление из-за подпора воды, так как нижний бьеф подтоплен, и такие пробки не могут быть ликвидированы полностью. Кроме того, не исключается возможность гидравлического удара, что отрицательно сказывается на надежности сооружения в целом, и оно недостаточно эффективно при работе в открытом режиме канала из-за недостатков конструкции.

[10]

Наиболее близким по техническому решению к предлагаемому является устройство для гашения энергии потока воды, включающее расширяющийся в плане водобойный колодец с вертикальными стенками и порогом, расположенный между подводящим и водоводом с вертикальными стенками и отводящим каналом, водобойный колодец в плане имеет прямоугольную форму и снабжен на входе вертикальными торцевыми стенками и продольными стенками, являющимися продолжением стенок подводящего водовода, порог в плане выполнен в виде симметричной относительно продольной оси колодца кривой, обращенной выпуклостью в сторону отводящего канала, причем кривая состоит из двух дуг, а в вертикальной части порога установлено перекрытие над его криволинейной частью (Патент RU №2161224, E02B 8/06 от 27.12.2000).

[11]

Недостатком является неполнота устранения волн во всем диапазоне пропускаемых через водобойный колодец, так как хотя и формируется два потока с поворотом каждого из них в сторону торцевых стенок, однако, движение по акватории водобойного колодца принимает циркуляционное, хаотичное движение. Эти возмущения переходят в повышенные уровни воды, и в результате симметричного расположения по центру оси колодца кривой в виде двух дуг, зарождаются возмущения, нарушающие его осевую симметрию. Описанные явления переходят на порог продольной оси отводящего канала. Потерю устойчивости с разрушением высокоскоростного потока и переход к стохастическому движению следует признать недостаточно эффективным для высоконапорных водосбросных сооружений. Такая форма закрутки выходящих струй в колодце обусловлена недостаточным конструктивным решением за счет растекания потока в плане по ширине прямоугольного водобойного колодца, и вода через перекрытие практически проходит открыто, сжимаясь в узком переходном участке в отводящий канал, что образует подъем воды вверх, вызывает всплески и волнения за переходным участком, и далее эти волны размывают откосы канала, а это снижает эффективность гашения и надежность гасителя водяного потока. Таким образом, избыточная кинетическая энергия потока в известном устройстве значительно снижена, имея при этом большую плановую форму колодца. Особо это следует признать неприемлемым для высоконапорных водосбросных сооружений.

[12]

Технический результат от использования заявленного изобретения заключается в улучшении процесса гашения кинетической энергии потока и повышение надежности сооружения.

[13]

Технический результат достигается тем, что устройство для гашения энергии потока воды, включающее расширяющийся колодец с вертикальными стенками, расположенные в нем симметрично оси колодца кривые в виде дуг, порог, подводящий и отводящий водоводы, расширяющаяся часть колодца имеет вид усеченного конуса и снабжена закрепленными в ее полости ниже подводящего водовода несколькими уровнями отражателями потока воды, расположенными симметрично оси вертикального колодца и установленными большими основаниями в сторону дна колодца, при этом каждый из отражателей имеет форму пирамидального рассекателя, ниже которых по обеим вертикальным стенкам устроены циклогасительные чаши, размещенные в конце расширения усеченного конуса, при этом в месте выхода потока из колодца отверстие последнего перекрыто вертикальной консольной стенкой и подключено к корпусу в виде дополнительной камеры гашения с порогом, верхняя часть которого связана с отводящей трубой и с отводящим каналом.

[14]

Кроме того, нижняя грань консольной вертикальной стенки расположена в одной плоскости с верхней гранью стенки порога в дополнительной камере гашения.

[15]

Кроме того, отражатели потока установлены соосно между циклогасительными чашами.

[16]

Выполнение устройства для гашения энергии потока воды для высокоскоростного потока в сооружении позволяет избежать описанных недостатков схемы известных конструкций при распаде течения потока в пределах проточного вертикального тракта в расширяющейся части колодца, имеющего вид усеченного конуса и погасить практически механическую энергию потока путем его расщепления на струи и вновь соединения в один общий поток в месте падения на дно колодца, а также возникающие волны полностью гасятся в дополнительной камере гашения, связанной с отводящей трубой. Такая взаимосвязь всех элементов способствует гашению водяного потока и значительному расширению области применения таких гасительных колодцев. При этом наличие вертикальной консольной стенки, образование дополнительной камеры гашения, связанной с отводящей трубой, происходит эффективное остаточное гашение избыточной кинетической энергии водного потока; сокращает габариты участка крепления отводящего канала во всем диапазоне поступления расходов.

[17]

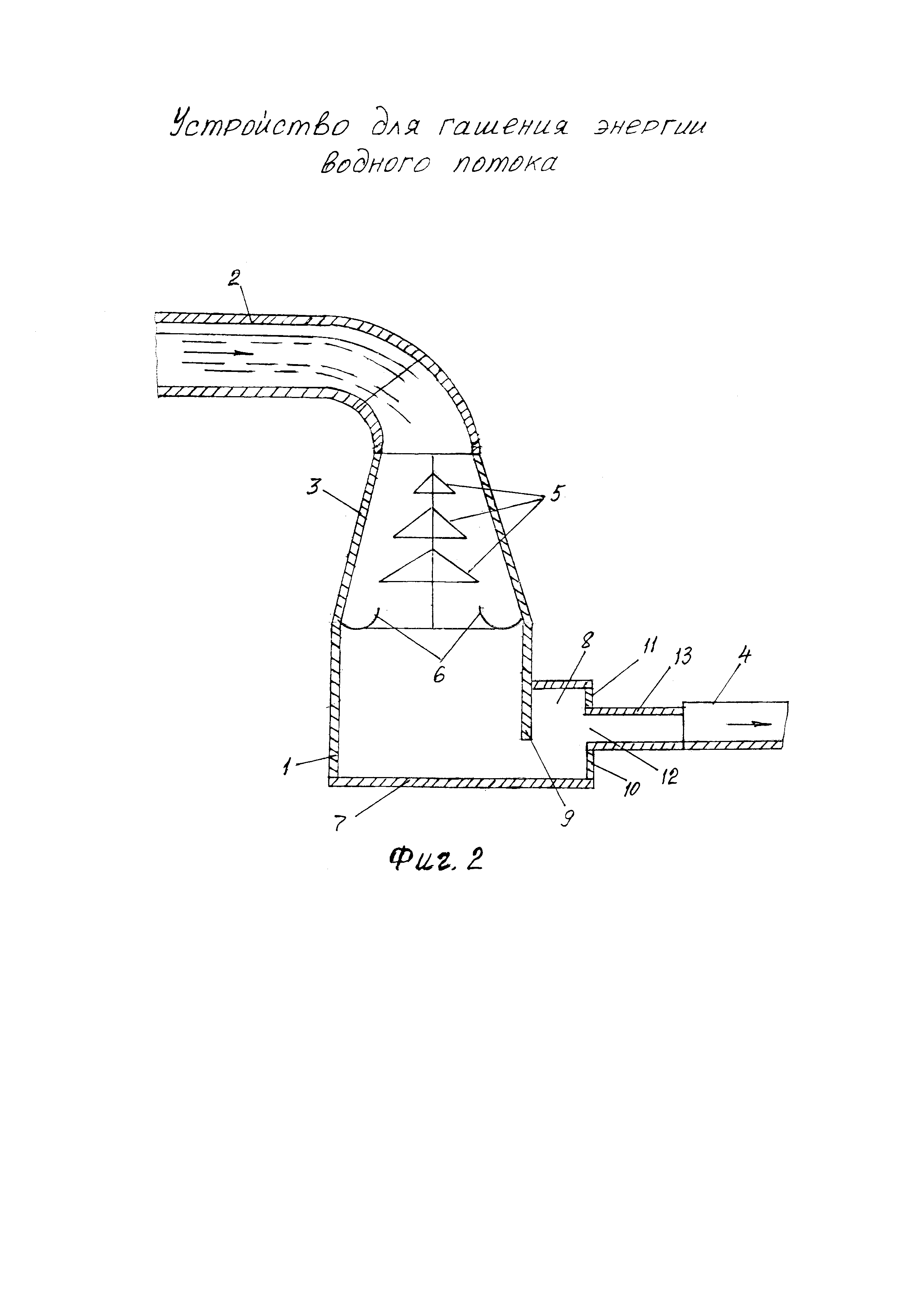
На фиг. 1 представлен план устройства для гашения энергии потока воды; на фиг. 2 - продольный разрез устройства.

[18]

Устройство для гашения энергии потока воды представляет собой водобойный колодец 1, расположенный между подводящим водоводом 2, верхняя высотная часть которого в сечении имеет вид усеченного конуса 3, и отводящим каналом 4. Усеченная часть конуса 3 в полости своей содержит ниже подводящего водовода 2 отражатели 5 потока, выполненные несколькими уровнями, установленные большими основаниями в сторону дна колодца и расположенные симметрично оси вертикального колодца 1. Отражатели 5 потока имеют форму пирамидального рассекателя. Ниже отражателей 5 потока в конце расширения усеченного конуса 3 и на расстоянии от нижнего основания отражателя 5 потока, в стенках усеченного конуса 3, размещены боковые циклогасительные чаши 6, ширина и радиус которых определяется расчетным путем. Дно 7 колодца 2 имеет удлинение его в сторону отводящего канала 4. Дополнительная закрытая камера 8 гашения расположена за вертикальной консольной стенкой 9, дно закрытой камеры 8 гашения которой расположено в одной плоскости с дном 7 колодца 1 и имеет порог 10. При этом закрытая камера 8 гашения также в конце имеет перегородку 11 и в плане соединена через выпускное отверстие 12 с отводящей трубой 13 и с отводящим каналом 4. Перегородка 11 предназначена для изменения направления вытекающего потока из отверстия колодца 1, перекрывающего вертикальной консольной стенкой 9 в отводящую трубу 13 и далее в отводящий канал 4, где общий поток выходит с пониженными донными и поверхностными скоростями.

[19]

Устройство для гашения энергии потока воды работает следующим образом.

[20]

Поток воды со скоростью V1, попадая на отражатели 5 потока, установленные в несколько уровней в усеченном конусе 3 колодца 1, поток воды дробится на несколько струй и отражается от граней отражателя 5 на боковые стенки усеченного конуса 3 колодца 1 и обратно на следующий ряд отражателей 5, несколько раз соударяясь с восходящими вниз гранями отражателям 5. В результате скорость потока уменьшается до определенной скорости V2 и именно с этой скоростью вода направляется в пристенную циклогасительную чашу 6, расположенную ниже большего основания последнего отражателя 5 и в конце расширения усеченного конуса 3, при этом чаши 6 размещены соосно между отражателями 5, где вода закручивается и соударяется входящий поток с выходящим. Затем поток соединяется в общий поток воды, выходящий из усеченного конуса 3 в сторону дна колодца 1, далее поток воды окончательно гасится с помощью дополнительной камеры 8 гашения, располагаемой между вертикальной консольной стенкой 9 и перегородкой 11.

[21]

Заполнение водой в нижней части колодца 1 одновременно является слоем толщины воды наполнения уровня его, что гасит падающий поток сверху, а окончательное гашение кинетической энергии происходит в дополнительной закрытой камере 8 гашения, достигнув отводящей трубы 13 со скоростью V3, труба которой уложена на порог 13 камеры 8. Таким образом, движение высокоскоростного потока из водовода 2 переходит из турбулентного в ламинарный и рассредоточенный и в общий равномерный режим в отводящем канале 4.

[22]

Следует уточнить, что для эффективного воздействия падающего потока, смешения его в колодце 1, необходимо чтобы уровень его был затоплен подпором за счет вертикальной консольной стенки 9, скорость и волновые явления были снижены уже непосредственно выходящего из отверстия в камеру 8, заполнение которой зависит от перегородки 11 над выпускным отверстием 12 порога 10.

[23]

Эффективность тем выше, чем меньше приобретает массовая энергетическая плотность пульсации скоростей потока со стороны перегородки 11 над порогом 10, где объединенный поток поступает в короткую отводящую трубу 13, поток, который направляется в сторону отводящего канала 4. Окончательно погасив кинетическую энергию водного потока, обеспечивает возможность существенно предохранять отводящий канал от размыва в непосредственной близости от отводящей трубы, связанной с камерой гашения. Благодаря подавлению окончательных пульсаций динамические нагрузки не столь высоки, как в случаях, когда гашение осуществляется по принципу устройства в прототипе, что позволяет погасить избыточную кинетическую энергию потока на меньшей длине отводящей короткой трубы, связанной с длиной отводящего канала.

[24]

Таким образом, на всех участках интенсивность дробления потока в несколько уровней, создаваемых и размещенных отражателей потока по высоте усеченного конуса, винтового движения в циклогасительных чашах, соударения с водной поверхностью в колодце и с дополнительной камерой гашения, происходит эффективное гашение избыточной кинетической энергии потока для отводящего открытого канала.

[25]

Достоинством предлагаемого изобретения является повышение эффективности гашения избыточной энергии высокоскоростного потока по сравнению с прототипом.

[26]

Предлагаемое устройство может быть использовано для гашения энергии водного потока в различных гидротехнических сооружениях. Особенно эффективно применение устройства высококинетических потоков в сооружениях. Это сохраняет габариты участка крепления отводящего канала и снижает габариты дополнительной камеры гашения во всем диапазоне сбрасываемых расходов. Выход воды из отводящей трубы исключает необходимость устройства колодца в нижнем бьефе канала.

Как компенсировать расходы
на инновационную разработку
Похожие патенты