патент
№ RU 2608728
МПК A01C23/02

Способ обработки, аэрации и удобрения почвы и устройство для его осуществления

Авторы:
Гостев Андрей Валерьевич
Номер заявки
2015100311
Дата подачи заявки
12.01.2015
Опубликовано
23.01.2017
Страна
RU
Как управлять
интеллектуальной собственностью
Чертежи 
4
Реферат

Изобретение относится к области сельскохозяйственного машиностроения, в частности способу и устройству для обработки почвы. Устройство содержит основную раму с элементами навески на тракторы различного класса тяги, системой подачи сжатого воздуха к глубокорыхлителям, системой подачи жидких удобрений под напором. На раме перед и после глубокорыхлителей смонтированы плоскорежущие рабочие органы для горизонтальной обработки с учетом перекрытия на жестких стойках и с индивидуальной независимой регулировкой глубины обработки. Глубокорыхлители смонтированы на среднем поперечном брусе-трубе рамы посредством держателей с возможностью их расстановки на различную ширину междурядий и колебаний в продольно-вертикальной плоскости с определенной частотой и амплитудой, и имеют элементы подачи сжатого воздуха и жидких удобрений в подпахотные горизонты почвы. В задней части рамы смонтирован прикатывающий каток для регулировки глубины обработки глубокорыхлителей, крошения и уплотнения верхнего слоя почвы. Способом и устройством обработки почвы предусматривается послойное рыхление почвы глубокорыхлителями с колебаниями в продольно-вертикальной плоскости и струями сжатого воздуха, а также подачей жидких удобрений, в том числе и по следам ходовых систем тракторов различного класса тяги, и рабочими органами для горизонтальной обработки почвы, рыхлящими почву по всей ширине захвата орудия и для уплотнения верхнего слоя почвы, что обеспечивает повышение качества обработки почвы, снижение энергозатрат при повышении срока службы рабочих органов. 2 н. и 5 з.п. ф-лы, 7 ил.

Формула изобретения

1. Способ обработки, аэрации и удобрения почвы, характеризующийся тем, что рыхление почвы осуществляется послойно рабочими органами для горизонтальной обработки, подпружиненными рабочими органами для вертикальной обработки, в том числе и по следам ходовых систем тракторов различного класса тяги, и катком для уплотнения верхнего слоя почвы, при этом рыхление почвы рабочими органами для вертикальной обработки почвы осуществляется с колебаниями в продольно-вертикальной плоскости с регулируемой частотой и амплитудой, а также струями сжатого воздуха, подаваемого в подпахотные слои почвы с регулируемой частотой, и с подачей под давлением жидких удобрений в подпахотные слои почвы.

2. Устройство для обработки, аэрации и удобрения почвы, характеризующееся тем, что содержит основную раму с элементами навески на тракторы различного класса тяги, при этом на передний и задний поперечные брусья рамы установлены плоскорезные рабочие органы, которые расположены перед и после расположенных на среднем поперечном брусе-трубе рамы подпружиненных рабочих органов глубокорыхлителей с элементами регулирования глубины обработки и амплитуды колебаний в продольно-вертикальной плоскости, глубокорыхлители закреплены посредством держателей, позволяющим устанавливать их на различную колею и шаг, в задней части рамы через элементы присоединения и с возможностью регулирования по высоте установлен каток, при этом устройство содержит систему подачи сжатого воздуха, состоящую из ресивера трактора, соединенного напорными рукавами с пульсатором, имеющим привод от гидродвигателя с элементами регулирования числа оборотов, при этом пульсатор соединен с коллектором, выполненным в виде среднего поперечного бруса-трубы рамы, который, в свою очередь, соединен со штуцерами износостойких накладок, расположенных в передней части стоек глубокорыхлителей, на раме также установлен регулятор-распределитель подачи жидких удобрений с фильтром III ступени для подачи жидких удобрений через заднюю часть стоек глубокорыхлителей.

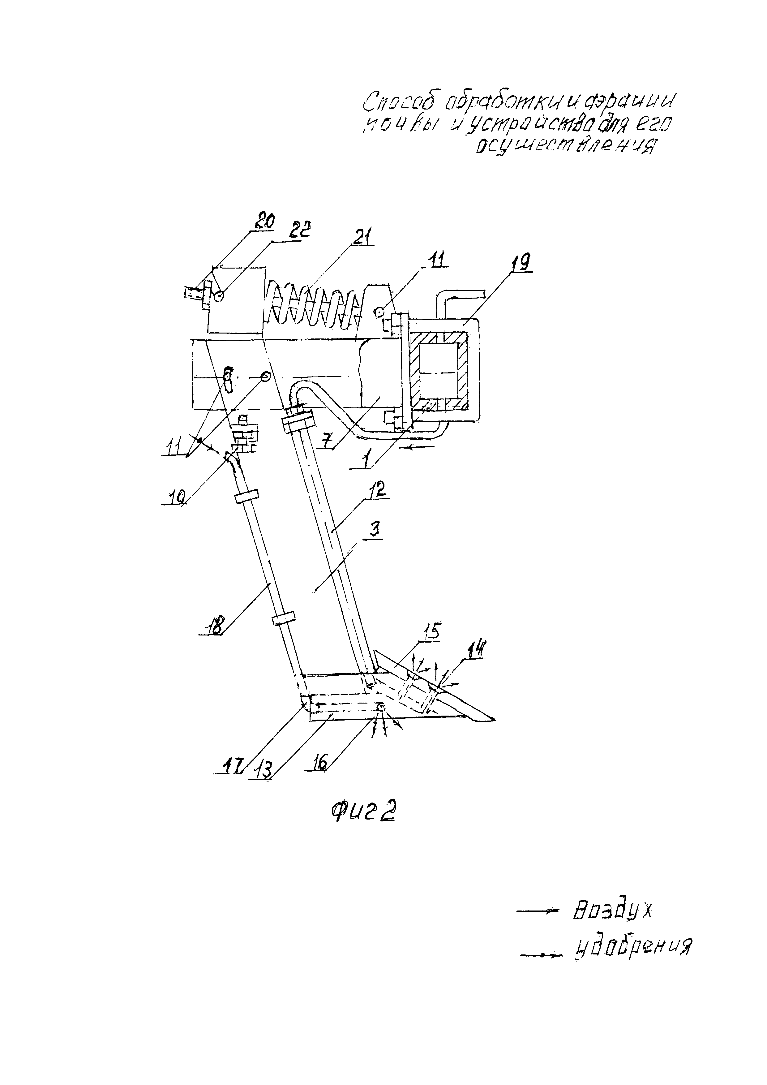
3. Устройство по п. 2, отличающееся тем, что глубокорыхлители выполнены с вилками и пазами в верхней части вертикальных стоек и снабжены каналами в башмаке и подкормочными элементами.

4. Устройство по п. 2, отличающееся тем, что держатели содержат две параллельные горизонтальные пластины с отверстиями под оси шарниров в задней части, прикрепленные передними торцами к вертикальной пластине с отверстиями под скобы с гайками, две вертикальные параллельные пластины с отверстиями под горизонтальный шарнирный палец, прикрепленные торцами к верхним граням горизонтальных пластин в передней части, натяжной винт с гайкой, шарнирный вкладыш и пружину сжатия.

5. Устройство по п. 2, отличающееся тем, что пульсатор содержит корпус внутренний, корпус наружный с прижимной гайкой-штуцером для входа сжатого воздуха во внутренний корпус, клапан с центрирующим пояском под пружину и угловым направителем от осевого смещения на наружной кромке тарелки клапана и роликом с регулирующей муфтой на конце стержня клапана, четырехпрофильный кулачковый вал, смонтированный в нижней части наружного корпуса посредством подшипников качения, поддон картера наружного корпуса и приводной шкив на хвостовике кулачкового вала.

6. Устройство по п. 2, отличающееся тем, что в качестве износостойкой накладки использован круглый полый стержень, имеющий на верхнем конце шестигранный штуцер для соединения с напорным рукавом и нижний круглый штуцер, сопряженный с наклонным воздушным каналом башмака, с резьбовыми отверстиями под болты установки долота и монтируется в гнездах - одно в башмаке круглое, другое в верхней части стойки в виде шестигранного ключа с прижимной крышкой, причем круглый полый стержень выполнен с возможностью демонтирования из гнезд и поворота вокруг своей оси на 1/3 оборота или две грани шестигранника.

7. Устройство по п. 3, отличающееся тем, что в качестве подкормочного элемента выполнен горизонтальный продольный канал в башмаке с двумя боковыми отверстиями с резьбой и жиклерами в передней его части и с внутренней резьбой, угловым штуцером и питающей трубкой с отсечным клапаном в задней части продольного канала башмака и вертикальной стойки.

Описание

[1]

Изобретение относится к отрасли сельского хозяйства, в частности к способам обработки, аэрации и удобрения почвы и устройствам для его осуществления.

[2]

Известен способ обработки почвы [1], включающий нарезание щелей в почве, выполнение окончания щели в виде дренажного канала прямоугольной формы со сторонами больше ширины щели в 1,5-2 раза. Каналы изготавливают на глубине 13-15 см от подошвы пахотного слоя, а щели нарезают на расстоянии 4-5 м одну от другой и располагают их вдоль силовых линий геомагнитного поля. По питающей трубке, приваренной к стойке щелереза в дренажный канал, подаются удобрения. Целью изобретения является снижение трудоемкости работ, улучшение водно-воздушного и энергетического режима почвы.

[3]

Недостатком способа является недостаточное рыхление почвы, уплотнение почвы ходовыми системами тракторов, нарезание одной щели вдоль продольной оси трактора блокирует распространение питательных веществ по всей площади межщелевого пространства из-за уплотнения почвы ходовыми системами тракторов, аэрация почвы протекает со слабой интенсивностью.

[4]

Наибольшее расстояние между щелями для различных агрофонов должно составлять 0,8-1,2 м, а не 4 м [2].

[5]

Нарезание щелей вдоль силовых линий геомагнитного поля не всегда эффективно из-за сложного рельефа полей, щели могут располагаться вдоль склона.

[6]

Подкормочное устройство в виде вертикальной трубки не способствует эффективному распространению питательных элементов по всей поверхности межщелевого пространства.

[7]

Известен способ аэрации почвы [3]. Способ заключается в том, что при перемещении установленного на раме рабочего органа с отверстиями для подачи воздуха через канал с клапаном под почву подают сжатый воздух, причем количество воздуха, подаваемого в единицу времени, изменяется в зависимости от плотности почвы и глубины обработки. Задачей способа является повышение эффективности использования энергии сжатого воздуха на выполнение полезной работы по аэрации почвы путем изменения количества воздуха, подаваемого под почву в единицу времени при изменении плотности и глубины обработки.

[8]

Недостатком способа является малая частота колебаний рабочего органа в продольно-вертикальной плоскости, зависящая от флуктуации почвы и, как следствие, плохое качество крошения, малая эффективность использования энергии сжатого воздуха, воздух используется преимущественно для аэрации почвы, но не для крошения почвы и охлаждения рабочих органов.

[9]

Наиболее близким к предлагаемому техническому решению является способ обработки почвы, осуществляемый вибрационным глубокорыхлителем [4]. Способ включает рыхление почвы подпружиненными рабочими органами глубокорыхлителей, перемещающимися в почве с колебаниями в продольно-вертикальной плоскости с заданными амплитудой и частотой, и сжатым воздухом, подаваемым в подпахотные слои почвы для ее рыхления и аэрации с регулируемой частотой и давлением.

[10]

Недостатком способа является недостаточное рыхление почвы как по глубине, так и по всей ширине захвата орудия из-за уплотнение почвы ходовыми системами тракторов.

[11]

Задачей изобретения является повышение качества обработки почвы, насыщение ее воздухом, необходимым для улучшения протекания биологических процессов с одновременным внесением под напором в подпахотные слои почвы жидких удобрений в стороны от рабочих органов, аккумулирование влаги в нижних слоях почвы, снижение энергетических затрат на передвижение устройства, разуплотнение почвы как по следам тракторов различного класса тяги, так и по всей ширине захвата орудия при снижении износа рабочих органов и повышении их срока службы.

[12]

Достигается это тем, что в отличие от известных изобретений способ обработки почвы осуществляется с послойным рыхлением почвы рабочими органами для горизонтальной и вертикальной обработки почвы и сжатым воздухом, а основная рама устройства позволяет агрегатировать орудие с тракторами различного класса тяги, держатели подпружиненных рабочих органов-глубокорыхлителей для вертикальной обработки почвы позволяют расставлять их на различную колею с возможностью колебаний в продольно-вертикальной плоскости с амплитудой 2-3 мм, они выполнены с элементами, позволяющими одновременно подавать в подпахотные слои почвы сжатый воздух и жидкие удобрения. При движении глубокорыхлителей осуществляется нарезание щелей на глубину 5 см ниже уплотненного слоя, куда под напором подается воздух и жидкие удобрения. Интервал между щелями в зависимости от агрофонов составляет 0,8-1,2 м [2], а также щели нарезаются по следам движителей тракторов. Рыхление почвы в горизонтальной плоскости осуществляется плоскорезными орудиями, установленными перед глубоко-рыхлителями и за ними, причем плоскорезные орудия второго ряда установлены в шахматном порядке относительно орудий первого ряда, чтобы рыхление почвы осуществлялось по всей ширине захвата почвообрабатывающего устройства. Взрыхленная почва затем прикатывается катком, установленным позади рыхлящих рабочих органов с целью дробления крупных комков почвы и сохранения влаги в нижних слоях почвы.

[13]

Пульсатор с приводом от гидродвигателя позволяет подавать сжатый воздух от пневмосистемы трактора в подпахотные слои почвы с частотой до 220-240 циклов в минуту. Сжатый воздух подается в случае обработки переуплотненных почв. В других случаях эта функция отключается.

[14]

Для осуществления вышеуказанного способа предназначено устройство, осуществляющее обработку, аэрацию почвы и подачу в подпахотные слои жидких удобрений.

[15]

Известно устройство для обработки почвы, представляющее собой щелерез, состоящий из рамы и стойки с наральником прямоугольного сечения. В торец стойки сзади приварена питающая трубка, нижний конец которой входит в дренажный канал.

[16]

Недостатком устройства является отсутствие износостойкой накладки стойки, из-за нагревания в процессе работы переднего торца стойки и повышенного износа сокращается срок ее службы. Подкормочное устройство в виде вертикальной трубки не способствует эффективному распространению питательных элементов по всей поверхности межщелевого пространства.

[17]

Известно устройство для аэрации почвы [3], содержащее установленный на раме рабочий орган с отверстиями для подачи воздуха под почву, канал для подвода сжатого воздуха с установленным в нем клапаном, который открывается при заглублении рабочего органа в почву. Клапан снабжен системой, регулирующей проходное сечение клапана для подачи сжатого воздуха, система подпружинена и соединяет верхнюю часть рабочего органа и клапан.

[18]

Недостатком устройства является отсутствие элементов для регулирования амплитуды колебаний рабочего органа, при наезде на очень плотные слои почвы рабочий орган может не заглубляться. Отсутствие износостойкой накладки уменьшает срок службы стойки из-за износа в результате нагрева. Отсутствие подкормочного устройства не позволяет одновременно с рыхлением и аэрацией почвы вносить удобрения в подпахотные горизонты почвы.

[19]

Известно устройство - вибрационный глубокорыхлитель почвы [4], включающий раму, шарнирно соединенные с ней подпружиненные рабочие органы с сопловыми отверстиями, систему управления подачей воздуха, которая содержит пульсатор с элементами переключения режима подачи воздуха, коллектор с магистралями для подачи воздуха к сопловым отверстиям рабочего органа.

[20]

Недостатком устройства является отсутствие износостойкой накладки в передней части стойки, стойка в процессе работы нагревается, увеличивается ее износ и сокращается срок службы, отсутствие подкормочного устройства не позволяет одновременно с рыхлением вносить удобрения в подпахотные горизонты почвы. Конструкция рамы не позволяет использовать тракторы различного класса тяги и устанавливать рабочие органы по следам движителей тракторов различного класса тяги.

[21]

Предлагается устройство для обработки, аэрации почвы и подачи жидких удобрений в подпахотные слои почвы.

[22]

На фиг. 1 изображена почва, обработанная предлагаемым способом, вертикальное сечение, и устройство для его осуществления, вид сверху;

[23]

на фиг. 2 - рабочий орган глубокорыхлителя, используемый для реализации предложенного способа, вид сбоку;

[24]

на фиг. 3 - то же, вид сзади;

[25]

на фиг. 4 - привод пульсатора, вид сбоку;

[26]

на фиг. 5 - пульсатор в разрезе, вид по А-А;

[27]

на фиг. 6 - износостойкая накладка с частичным вырезом стенки, вид сбоку;

[28]

на фиг. 7 - винт установки долота на башмак с частичным вырезом стенки, вид сбоку.

[29]

Устройство для обработки, аэрации и удобрения почвы содержит основную раму 1 с элементами навески на тракторы различного класса тяги, элементы присоединения катка и регулировки глубины обработки; установленные на поперечных брусьях рамы 1 рабочие органы 2 для горизонтальной обработки почвы с элементами индивидуальной глубины обработки почвы и рабочие органы-глубокорыхлители 3 для вертикальной обработки почвы; каток 4 для дополнительного крошения, уплотнения верхнего слоя почвы и регулировки глубины обработки устройства в целом; систему подачи сжатого воздуха от пневмосистемы трактора, содержащую пульсатор 5 с приводом от гидродвигателя 6 с элементами регулирования числа оборотов в виде дросселя 9, коллектор в виде полой средней поперечной трубы рамы 1 с входным и выходным штуцерами и выносными напорными рукавами, для соединения пульсатора 5 с ресивером трактора и распределительным коллектором, коллектор с рабочими органами 3, гидродвигатель 6 с гидронасосом трактора; систему подачи под напором жидких удобрений, содержащую емкость, фильтры, насос с приводом от В ОМ трактора, регулятор-распределитель жидких удобрений, напорные рукава гидрокоммуникации.

[30]

Рабочие органы глубокорыхлителей для вертикальной обработки почвы содержат вертикальную стойку 3 с элементами регулирования амплитуды 10 в виде уголковых упоров с болтами и гайками; а в верхней части вертикальной стойки вилку с пазами под шарнирный вкладыш 22; два горизонтальных отверстия в средней части стойки 3 под оси шарниров 11, причем заднее горизонтальное отверстие выполнено в виде радиального паза по отношению к переднему; износостойкую накладку 12 в передней части стойки в виде круглого полого стержня с шестигранным штуцером на верхнем конце для соединения с напорным рукавом и круглым штуцером на нижнем конце, сопряженный с наклонным воздушным каналом башмака; башмак 13 с воздушным наклонным каналом в передней его части и резьбовыми отверстиями под винты 14 с осевыми сопловыми отверстиями, долото 15 с отверстиями под винты 14 и горизонтальный продольный канал с двумя боковыми отверстиями с резьбой и дозирующими элементами в виде жиклеров 16 в передней его части, и с внутренней резьбой, угловым штуцером 17, питающей трубкой 18 с отсечным клапаном для подачи жидких удобрений в задней части продольного канала башмака 13 и вертикальной стойки 3. Круглый полый стержень износостойкой накладки 12 монтируется в гнездах - одно в башмаке круглое, другое - в верхней части стойки в виде шестигранного ключа с прижимной крышкой - с возможностью демонтирования из гнезд и поворота вокруг своей оси на 1/3 оборота или две грани шестигранника.

[31]

Держатель 7 содержит две параллельные горизонтальные пластины с отверстиями под оси шарниров 11 в задней части, сваренные передними торцами с поперечной вертикальной пластиной с отверстиями под скобы с гайками 19 и две вертикальные пластины с отверстиями под горизонтальный шарнирный палец 11, приваренные торцами к верхним граням горизонтальных пластин в передней части, натяжной винт 20 с гайкой, пружину сжатия 21, шарнирный вкладыш 22.

[32]

Пульсатор 5 содержит корпус наружный 23 с прижимной гайкой-штуцером для входа сжатого воздуха во внутренний корпус, корпус внутренний 24, клапан 25 с центрирующим пояском под пружину сжатия, выполненным в центре наружной поверхности тарелки клапана 25, и угловой направитель, приваренный к наружной кромке тарелки клапана 25 для предохранения от осевого смещения, резьбу на конце стержня клапана, уплотнение 26, регулирующую муфту 27 с роликом 28, четырехпрофильный кулачковый вал 29 с приводным шкивом на его хвостовике и фиксирующей гайкой, установленный в нижней части наружного корпуса посредством подшипников качения, картер 30 корпуса 23, штуцер 31, пружину сжатия 32, прижимную гайку-штуцер 33.

[33]

Работает устройство для обработки, аэрации и удобрения почвы следующим образом.

[34]

Собирается пульсатор 5, корпус 24 монтируется в корпус 23 и фиксируется штуцером 31, клапан 25 монтируется тарелкой в гнездо корпуса 24 с выходом стержня клапана в картер корпуса 23, предварительно вставив в выточку корпуса 24 уплотнение 26, при этом угловой направитель клапана должен входить в направляющее цилиндрическое отверстие корпуса 24. В полость муфты монтируется посредством шарнирного пальца ролик 28, а муфта 27 накручивается на конец стержня клапана 25 и фиксируется гайкой. Далее в корпус 23 монтируется четырехпрофильный кулачковый вал 29, а на хвостовик вала 29 монтируется приводной шкив. В полость корпуса 24 на центрирующий поясок тарелки клапана 25 монтируется пружина сжатия 32 и закручивается гайкой-штуцером 33 в картере корпуса 23, отпуская фиксирующую гайку муфты 27, откручивая ее до положения касания вершины кулачка вала 29 роликом 28. После касания ролика вершины кулачка вала 29, вал за приводной шкив проворачивается, а муфта 27 скручивается со стержня клапана 25 еще на оборот или пол-оборота до совпадения плоскости кулачка вала 29 и ролика 28 и фиксируется гайкой, далее монтируется поддон 30. Собранный пульсатор 5 монтируется посредством болтов на продольный брус рамы 1, на этот же брус монтируется гидродвигатель 6 для привода кулачкового вала 29 пульсатора 5, надевается приводной ремень на шкивы пульсатора 5 и гидродвигателя 6, причем шкив пульсатора может устанавливаться на хвостовик вала гидродвигателя, а шкив гидродвигателя - на хвостовик кулачкового вала пульсатора.

[35]

Навешивается сзади на навесной механизм трактора основная рама 1, монтируются рабочие органы 3 на средний поперечный брус-трубу рамы 1 посредством скоб 19 с гайками держателей 7 и шарнирных пальцев 11, при этом два рабочих органа 3 устанавливаются по центру следов трактора, остальные с шагом не более 1,2 м [2]; монтируется натяжной винт 20 посредством шарнирного пальца 11 держателя 7, а на винт 20 монтируется пружина сжатия 21, шарнирный вкладыш 22, а вкладыш 22 монтируется в пазы вилки стойки 3, гайкой винта 20 пружина 21 приводится в рабочее положение, монтируются рабочие органы 2 на передний, задний и поперечные брусья рамы 1, на продольные брусья рамы 1 в задней ее части посредством шарнирных пальцев 11 агрегатируется каток 4, соединяют напорными рукавами ресивер трактора с пульсатором 5, а пульсатор 5 с коллектором, выполненным в виде внутренней полости среднего поперечного бруса-трубы рамы 1, а коллектор со штуцерами износостойких накладок 12 рабочих органов 3, монтируются элементы подачи жидких удобрений в подпахотные слои почвы; фильтр третьей ступени и регулятор-распределитель жидких удобрений 8 с гидрокоммуникациями после регулятора на раме 1, бак для рабочей жидкости с фильтром первой ступени впереди трактора, насос непосредственно на В ОМ трактора, фильтр второй ступени на правой стороне лонжерона трактора перед насосом и остальные гидрокоммуникации, соединяющие насос с фильтром третьей ступени и регулятором и гидромешалкой, бак рабочей жидкости с фильтром второй ступени и гидронасосом. Соединяют напорными рукавами гидродвигатель 6 с гидронасосом трактора и монтируют дроссель 9 и предохранительный клапан.

[36]

Устанавливают глубину обработки рабочих органов 3 перестановкой шарнирных пальцев 11 в секторах продольных брусьев в задней части рамы 1 катком 4. Устанавливают глубину обработки рабочих органов 2 относительно глубины обработки рабочих органов 3, амплитуду колебаний рабочих органов 3 2-3 мм, болтами с гайками 10, устанавливают частоту пульсаций, изменяя обороты гидродвигателя 6 дросселем 9, давление в пневмосистеме трактора.

[37]

Подъезжают на край поля, опускают агрегат, включают насос подачи жидких удобрений, рычагом включения ВОМ трактора, рукояткой крана ресивера трактора включают подачу сжатого воздуха от ресивера к пульсатору и начинают движение. При этом рыхление почвы производится рабочими органами для горизонтальной обработки, колеблющимися с амплитудой 2-3 мм в продольно-вертикальной плоскости, рабочими органами 3 для вертикальной обработки и струями сжатого воздуха. При подаче порции сжатого воздуха под почву перед долотом 13 сопротивление почвы рабочему органу 3 уменьшается [5] и рабочий орган под действием силы упругости пружины сжатия 21 повернется вокруг переднего шарнирного пальца 11 вертикальной стойки на 2-3 мм по часовой стрелке, при прекращении подачи сжатого воздуха сопротивление почвы возрастает и рабочий орган 3 повернется на 2-3 мм против часовой стрелки. Струйки сжатого воздуха, поступающие под почву посредством осевого отверстия в накладке 12 наклонного канала башмака 13, сопловых отверстий винтов 14, аэрируют и крошат почву, становятся прослойкой между рабочей поверхностью долота 15 и грунтом, препятствуя тем самым налипанию последнего на долото, при этом проходя сквозь осевое отверстие в накладке 12, наклонный канал башмака 13, винты 14, охлаждают их. С учетом того, что вал 29 смонтирован с четырехпрофильным кулачком, за один его оборот произойдет четыре фазы подъема и опускания клапана пульсатора 25, то есть четыре пульсации сжатого воздуха под почву перед долотом 14 и четыре колебания в продольно-вертикальной плоскости рабочего органа 3, поэтому при 60 об/мин произойдет 240 пульсаций в минуту, при этом в целом снижается тяговое сопротивление почвы передвижению устройства, кроме того, подавая воздух под почву посредством осевого отверстия износостойкой накладки 12, наклонного канала башмака 13 и сопловых отверстий винтов 14 производят охлаждение вышеуказанных элементов рабочих органов 3 сжатым воздухом, уменьшается их износ, повышается их срок службы. Одновременно подаются в подпахотные горизонты под напором жидкие удобрения, регулятором-распределителем 8 устанавливается необходимое давление и подача их посредством напорных рукавов гидрокоммуникаций, питающей трубки 18 с отсечным клапаном, углового штуцера 17 и продольного горизонтального канала с боковыми отверстиями, с резьбой и жиклерами 16 башмака 13 в стороны от рабочих органов 3. При этом создаются более благоприятные условия для распространения питательных веществ по всему межщелевому пространству, одновременно происходит охлаждение средней и задней части башмака 13 жидкими удобрениями, уменьшается трение почвы о боковые стенки башмака [5]. Происходит послойное рыхление почвы рабочими органами 2 для горизонтальной обработки, рабочими органами 3 для вертикальной обработки почвы, каток 4 крошит и уплотняет верхний слой почвы и предохраняет ее от испарения влаги изнутри. Рабочие органы 3 разуплотняют почву по следам колес тракторов различного класса тяги и по всей ширине захвата орудия.

[38]

При обработке почвы в междурядьях садов и внесении жидких удобрений к корням плодовых деревьев возможна работа рабочими органами 3 с катком 4, рабочие органы 2 снимаются, а агрегатирование устройства возможно тракторами меньшей мощности, оборудованными элементами для подачи жидких удобрений. Кроме этого, монтируются три рабочие органа для вертикальной обработки почвы, два из которых расстанавливают посредством скоб с гайками 19 на среднем поперечном брусе рамы 1 по центру следов колес, а один - между ними. Согласно требованиям источника [6] по глубине заделки и условий неповреждения корней толще 7-10 мм, катком 4, посредством пальцев 11, устанавливаем глубину обработки 40-50 см. К крайним рабочим органам 3 посредством напорных рукавов гидрокоммуникаций соединяют с регулятором-распределителем 8, с левой стороны правого башмака 13 выкручивают жиклер 16, а закручивают заглушку у левого крайнего башмака 13, выкручивают правый жиклер 16 и закручивают заглушку к среднему рабочему органу 3, подача жидких удобрений не производится.

[39]

Ко всем трем рабочим органам для вертикальной обработки 3 к износостойким накладкам 12 подсоединяются напорные рукава для подачи сжатого воздуха от коллектора устройства. Подъезжают к междурядьям сада, опускают орудие, включают подачу жидких удобрений, подачу сжатого воздуха к рабочим органам 3 посредством вышеуказанных элементов, гидродвигатель 6 посредством гидрошлангов соединяют с насосом трактора и начинают движение. При этом происходит разрыхление почвы по следам колес трактора и по ширине захвата устройства, поступление жидких удобрений вблизи корней плодовых деревьев.

[40]

При применении предлагаемого способа обработки и аэрации почвы и устройства для его осуществления как в первом, так и во втором варианте повышается качество обработки почвы величиной давления воздуха и частотой колебаний (230-240 пульсаций/мин) рабочих органов 3 в продольно-вертикальной плоскости с амплитудой 2-3 мм. Достигается более эффективное использование энергии сжатого воздуха, воздух рыхлит почву, аэрирует ее, охлаждает наиболее нагреваемые элементы рабочих органов 3, снижая их износ и увеличивая срок службы, снижается тяговое сопротивление передвижению орудия на 10-15%, разуплотняется почва как по следам тракторов различного класса тяги, так и по всей ширине захвата, повышается производительность, происходит глубокое проникновение влаги и ее аккумулирование в нижних слоях почвы.

[41]

Внесением под напором в подпахотные слои почвы жидких удобрений одновременно с вертикальной обработкой в стороны от рабочих органов создаются условия более эффективного и качественного распространения питательных веществ по всему межщелевому пространству.

[42]

Предлагаемый способ обработки, аэрации и удобрения почвы и устройство для его осуществления найдет применение в современных агротехнологиях по созданию оптимальных почвенных условий для развития корневой системы растений, сохранению плодородия почвы путем эффективной защиты ее от эрозии и переуплотнения и, в конечном итоге, обеспечит повышение урожайности сельскохозяйственных культур.

[43]

Литература

[44]

1. АС №1540683, кл. А01В 79/00. Способ обработки почвы и устройство для его осуществления. Бюл. №5. Опубл. 07.02.90 г.

[45]

2. Лурье А.Б., Любимов А.И. Широкозахватные почвообрабатывающие машины. IV. 5. Обоснование конструктивных параметров комбинированных машин. - Ленинград, 1981. – С. 175.

[46]

3. АС №2310301 С1, кл. А01В 45/02. Способ аэрации почвы и устройство для его осуществления. Бюл. №32. Опубл. 20.11.2007 г.

[47]

4. Патент на изобретение №2449522. Вибрационный глубокорыхлитель почвы. Бюл. №13. Опубл. 10.05.2012 г.

[48]

5. Кулен А., Куиперс X. Современная земледельческая механика. 2.5.3.2. Пути уменьшения трения почвы - материал и налипания почвы. - Москва: Агропромиздат, 1986. - С. 145.

[49]

6. Драгайцев А.П., Трусевич Г.В. Южное плодоводство. 5. Глубина заделки. - М.: Колос. - 1970. - С. 320.

Как компенсировать расходы
на инновационную разработку
Похожие патенты