патент
№ RU 2603792
МПК E21B43/117

КУМУЛЯТИВНЫЙ ПЕРФОРАТОР (ВАРИАНТЫ)

Авторы:
Абатуров Сергей Владимирович
Правообладатель:
Все (2)
Номер заявки
2015128838/03
Дата подачи заявки
15.07.2015
Опубликовано
27.11.2016
Страна
RU
Как управлять
интеллектуальной собственностью
Чертежи 
6
Реферат

Изобретение относится к прострелочно-взрывным работам в нефтяных и газовых скважинах. Согласно первому варианту, кумулятивный перфоратор, содержащий несущую конструкцию, в которой кумулятивные заряды расположены группами, состоящими из одной или нескольких пар зарядов. Заряды, образующие пару, расположены относительно друг друга под углом α, угол между парами зарядов β отличен от угла в парах α или равен ему, а угол между группами зарядов ϕ выполнен отличным от угла в парах α и угла между парами β или равен им. Согласно второму варианту, кумулятивный перфоратор, содержащий несущую конструкцию, в которой кумулятивные заряды, расположенные группами, состоящими из одной или нескольких пар зарядов и дополнительных одиночных зарядов. Заряды, образующие пару, расположены относительно друг друга под углом α, угол между парами зарядов β отличен от угла в парах α или равен ему, угол между парой зарядов и одиночным зарядом - γ, а угол между группами зарядов - ϕ, при этом одиночные заряды могут находиться в любой из групп. Обеспечивается высокий уровень совершенства вскрытия продуктивных пластов, оптимальный охват продуктивных пластов перфорационными каналами при вскрытии, наибольшее количество перфорационных каналов в радиальном направлении в поперечном сечении скважины, уменьшение размеров зон пласта, неохваченных перфорационными каналами, и снижение фугасного воздействия на скважину при срабатывании перфоратора. 2 н. и 17 з.п. ф-лы, 14 ил.

Формула изобретения

1. Кумулятивный перфоратор, содержащий несущую конструкцию, в которой расположены кумулятивные заряды, расположенные группами, отличающийся тем, что указанные группы зарядов состоят из одной или нескольких пар зарядов, при этом заряды, образующие пару, расположены относительно друг друга под углом α, угол между парами зарядов β отличен от угла в парах α или равен ему, а угол между группами зарядов ϕ выполнен отличным от угла в парах α и угла между парами β или равен им.

2. Кумулятивный перфоратор по п. 1, отличающийся тем, что угол в парах зарядов α равен углу между парами β и отличен от угла между группами зарядов ϕ.

3. Кумулятивный перфоратор по п. 1, отличающийся тем, что угол в парах зарядов α равен углу между группами зарядов ϕ и отличен от угла между парами зарядов β.

4. Кумулятивный перфоратор по п. 1, отличающийся тем, что угол между группами зарядов ϕ равен углу между парами зарядов β и отличен от угла в парах зарядов α.

5. Кумулятивный перфоратор по п. 1, отличающийся тем, что линейное расстояние между перфорационными каналами в паре зарядов, межу парами зарядов и между группами зарядов равно или отлично друг от друга.

6. Кумулятивный перфоратор по п. 1, отличающийся тем, что заряды в паре и в группе могут быть с одинаковыми характеристиками, так и с разными, при этом могут чередоваться.

7. Кумулятивный перфоратор по п. 1, отличающийся тем, что заряды в паре и в группе могут быть ориентированы как перпендикулярно относительно оси кумулятивного перфоратора, так и под острым или тупым углом к оси перфоратора.

8. Кумулятивный перфоратор по п. 1, отличающийся тем, что в разных группах зарядов значения угла в паре зарядов α, угла между парами зарядов β, угла между группами зарядов ϕ могут отличаться.

9. Кумулятивный перфоратор, содержащий несущую конструкцию, в которой расположены кумулятивные заряды, расположенные группами, отличающийся тем, что указанные группы зарядов состоят из одной или нескольких пар зарядов и дополнительных одиночных зарядов, при этом заряды, образующие пару, расположены относительно друг друга под углом α, угол между парами зарядов β отличен от угла в парах α или равен ему, угол между парой зарядов и одиночным зарядом - γ, а угол между группами зарядов - ϕ, при этом одиночные заряды могут находиться в любой из групп.

10. Кумулятивный перфоратор по п. 9, отличающийся тем, что угол в парах зарядов α равен углу между парами β и отличен от угла между группами зарядов ϕ.

11. Кумулятивный перфоратор по п. 9, отличающийся тем, что угол в парах зарядов α равен углу между группами зарядов ϕ и отличен от угла между парами зарядов β.

12. Кумулятивный перфоратор по п. 9, отличающийся тем, что угол между группами зарядов ϕ равен углу между парами зарядов β и отличен от угла в парах зарядов α.

13. Кумулятивный перфоратор по п. 9, отличающийся тем, что линейное расстояние между перфорационными каналами в паре зарядов, межу парами зарядов, между парой и одиночным зарядом, между смежными одиночными зарядами и между группами зарядов может быть равным или отличным друг от друга.

14. Кумулятивный перфоратор по п. 9, отличающийся тем, что заряды в паре и в группе могут быть с одинаковыми характеристиками, так и с разными, при этом могут чередоваться.

15. Кумулятивный перфоратор по п. 9, отличающийся тем, что заряды в паре и в группе могут быть ориентированы как перпендикулярно относительно оси кумулятивного перфоратора, так и под острым или тупым углом к оси перфоратора.

16. Кумулятивный перфоратор по п. 9, отличающийся тем, что в группу могут входить один и большее количество одиночных зарядов, одиночные заряды могут находиться над парой, между парами, ниже пары зарядов, последовательно друг за другом, а угол между смежными одиночными зарядами λ может быть отличен от остальных углов α, β, γ, ϕ или равен любому из них.

17. Кумулятивный перфоратор по п. 9, отличающийся тем, что в группах зарядов, состоящих из одной пары зарядов и одного или нескольких одиночных зарядов, угол между парами β отсутствует.

18. Кумулятивный перфоратор по п. 9, отличающийся тем, что группы зарядов состоят из одной пары зарядов и одного или нескольких одиночных зарядов, при этом угол между группами зарядов ϕ равен углу между парой зарядов и одиночным зарядом γ или углу между смежными одиночными зарядами λ при его наличии или отличен от них.

19. Кумулятивный перфоратор по п. 9, отличающийся тем, что в разных группах зарядов значения угла в паре зарядов α, угла между парами зарядов β, угла между парой зарядов и одиночным зарядом γ, угла между смежными одиночными зарядами λ, угла между группами зарядов ϕ могут отличаться.

Описание

[1]

Изобретение относится к прострелочно-взрывным работам в нефтяных и газовых скважинах.

[2]

Известен кумулятивный перфоратор, который содержит несущую конструкцию с расположенными в ней кумулятивными зарядами, расположенными попарно /RU 2370639 C1, МПК8 Е21В 43/117, опубл. 2009/. Заряды, образующие пару, расположены относительно друг друга под одним углом, а угол между парами зарядов отличен от угла в парах или равен ему.

[3]

Недостатком является группирование зарядов в перфораторе ограничено только парами зарядов, т.е. количество зарядов в группе - два, угол между зарядами в паре α, угол между парами зарядов β. При назначении углов в паре и между парами необходимо выбирать - либо назначать углы, обеспечивающие наименьшее фугасное воздействие на скважину при срабатывании перфоратора, либо назначать углы, обеспечивающие максимальный охват пласта в радиальном направлении в поперечном сечении скважины. При этом нужно делать выбор.

[4]

Известен перфоратор /RU 2447267 C1, МПК8 Е21В 43/117, опубл. 2009/, содержащий несущую конструкцию, в которой расположены кумулятивные заряды, расположенные группами, при этом заряды, образующие группы, включающие от трех зарядов, расположены относительно друг друга под определенным углом в разных плоскостях, а угол между группами зарядов определен в зависимости от выбранного угла в группе зарядов. Указанные группы зарядов расположены в разных плоскостях.

[5]

Недостатком является одинаковый угол в группе зарядов α, что огранивает назначение углов в группе, обеспечивающих снижение фугасного воздействия на крепь скважины. Хотя в известной конструкции назначить углы в группе зарядов α и между группами зарядов β, обеспечивающие максимальный охват пласта в радиальном направлении в поперечном сечении скважины, возможно.

[6]

Задачей, на решение которой направлено заявляемое техническое решение, является разработка кумулятивного перфоратора для обеспечения высокого уровня совершенства вскрытия пластов.

[7]

При осуществлении изобретения поставленная задача решается за счет достижения технического результата, обеспечивающего пониженное фугасное воздействие на скважину при срабатывании и оптимальный охват продуктивного пласта перфорационными каналами как в радиальном направлении в поперечном сечении скважины, так и по всей длине перфоратора.

[8]

Указанный технический результат по объекту (вариант 1) достигается тем, что в известном кумулятивном перфораторе, содержащем несущую конструкцию, в которой расположены кумулятивные заряды группами, особенностью является то, что указанные группы зарядов состоят из одной или нескольких пар зарядов, при этом заряды, образующие пару, расположены относительно друг друга под одним углом α, угол между парами зарядов β отличен от угла в парах α, а угол между группами зарядов ϕ выполняют отличным от угла в парах α и угла между парами β.

[9]

Указанный технический результат по объекту (вариант 2) достигается тем, что в известном кумулятивном перфораторе, содержащем несущую конструкцию, в которой расположены кумулятивные заряды группами, особенностью является то, что указанные группы зарядов состоят из одной или нескольких пар зарядов и дополнительных одиночных зарядов, при этом заряды, образующие пару, расположены относительно друг друга под углом α, угол между парами зарядов β, угол между парой зарядов и одиночным зарядом γ, а угол между группами зарядов ϕ, при этом одиночные заряды могут находиться в любой из групп.

[10]

Кроме того, в зависимости от горно-геологических условий:

[11]

Угол в парах зарядов α может быть равен углу между парами β и отличен от угла между группами зарядов ϕ.

[12]

Угол в парах зарядов α может быть равен углу между группами зарядов ϕ и отличен от угла между парами зарядов β.

[13]

Угол между группами зарядов ϕ может быть равен углу между парами зарядов β и отличен от угла парах зарядов α.

[14]

Линейное расстояние между зарядами в паре зарядов, межу парами зарядов, между парой и одиночным зарядом, между группами зарядов может быть равным или отличным друг от друга.

[15]

Заряды в паре и в группе могут быть с одинаковыми характеристиками, так и с разными, при этом могут чередоваться.

[16]

Заряды в паре и в группе могут быть ориентированы как перпендикулярно относительно оси кумулятивного перфоратора, так и под острым или тупым углом к оси перфоратора.

[17]

В группу, состоящую из одной или нескольких пар зарядов, могут входить один и большее количество одиночных зарядов, при этом одиночные заряды могут находиться над парой, между парами, ниже пары зарядов, последовательно друг за другом (смежно), а угол между смежными одиночными зарядами λ может быть отличен от остальных углов α, β, γ, ϕ или равен любому из них.

[18]

В группах зарядов, состоящих из одной пары зарядов и одного или нескольких одиночных зарядов, угол между парами β отсутствует.

[19]

В группах зарядов, состоящих из одной пары зарядов и одного или нескольких одиночных зарядов, угол между группами ϕ зарядов равен углу между парой зарядов и одиночным зарядом γ или углу между смежными одиночными зарядами λ при его наличии или отличен от них.

[20]

В разных группах зарядов значения угла в паре зарядов α, угла между парами зарядов β, угла между парой зарядов и одиночным зарядом γ, угла между смежными одиночными зарядами λ, угла между группами зарядов ϕ могут отличаться.

[21]

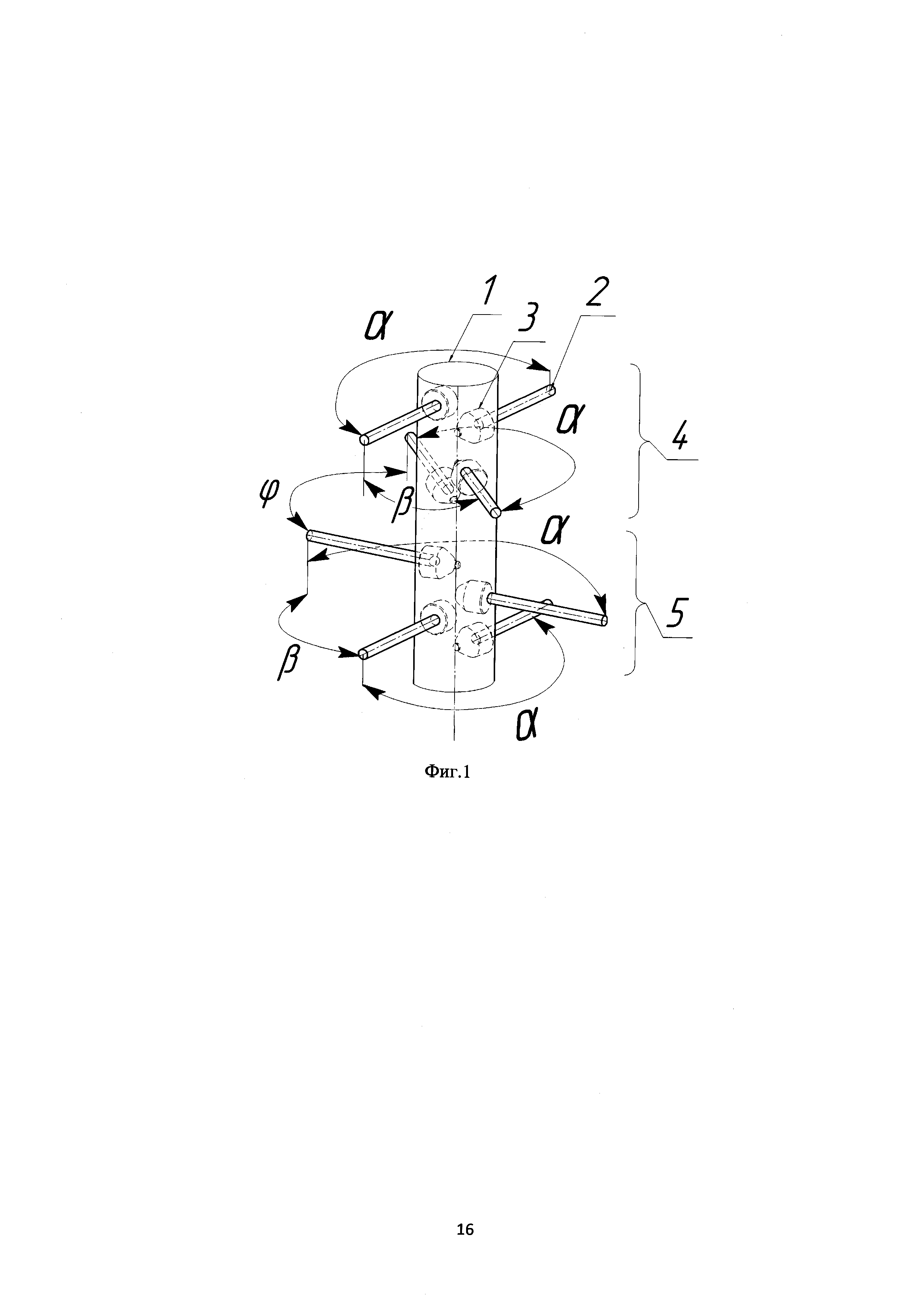
Для наглядности на фиг. 1 представлено схематичное изображение обсадной колонны скважины 1 с образованными в ней и в горной породе перфорационными каналами 2 зарядами 3 кумулятивного перфоратора по первому варианту настоящего изобретения, 4 - вышележащая группа зарядов кумулятивного перфоратора, состоящая из двух пар зарядов, 5 - нижележащая группа зарядов кумулятивного перфоратора, состоящая из двух пар зарядов, α - угол между зарядами в паре зарядов и соответственно между образованными ими перфорационными каналами, β - угол между парами зарядами и соответственно между парами перфорационных каналов (как один из вариантов назначения угла, угол β изображен между первым перфорационным каналом в вышележащей паре и между первым перфорационным каналом в нижележащей паре), ϕ - угол между группами зарядов, состоящими из пар зарядов и соответственно между группами перфорационных каналов (как один из вариантов назначения угла, угол ϕ изображен между самым нижним перфорационным каналом группы 4 и самым верхним перфорационным каналом группы 5). Углы между перфорационными каналами соответствуют углам между зарядами в кумулятивном перфораторе.

[22]

На фиг. 2 представлено схематичное изображение обсадной колонны скважины 1 с образованными в ней и в горной породе перфорационными каналами 2 зарядами 3 кумулятивного перфоратора по второму варианту настоящего изобретения, 6 - вышележащая группа зарядов кумулятивного перфоратора, состоящая из одиночного заряда и двух пар зарядов, 5 - нижележащая группа зарядов кумулятивного перфоратора, состоящая из двух пар зарядов, γ - угол между одиночным зарядом и парой зарядов и соответственно между образованными ими перфорационными каналами (как один из вариантов назначения угла, угол γ изображен между одиночным перфорационным каналом и вышележащим перфорационным каналом в паре каналов), α - угол между зарядами в паре зарядов и соответственно между образованными ими перфорационными каналами, β - угол между парами зарядами и соответственно между парами перфорационных каналов (как один из вариантов назначения угла, угол β изображен между первым перфорационным каналом в вышележащей паре и между первым перфорационным каналом в нижележащей паре), ϕ - угол между группами зарядов, состоящими из пар зарядов и соответственно между группами перфорационных каналов (как один из вариантов назначения угла, угол ϕ изображен между самым нижним перфорационным каналом группы 6 и самым верхним перфорационным каналом группы 5). Углы между перфорационными каналами соответствуют углам между зарядами в кумулятивном перфораторе.

[23]

На фиг. 3 изображен кумулятивный перфоратор, в котором на несущей конструкции 7 установлены кумулятивные заряды 3, заряды разбиты на группы 4 и 5, состоящие из двух пар зарядов. Смежные заряды в паре зарядов, между парами и между группами зарядов расположены в разных плоскостях, α - угол в паре зарядов, β - угол между парами зарядов (изображен между смежными зарядами смежных пар, т.е. между нижним зарядом вышележащей пары и верхним зарядом нижележащей пары), ϕ - угол между группами, состоящими из пар зарядов 3 (изображен между смежными зарядами смежных групп 4 и 5, т.е. между нижним зарядом вышележащей группы 4 и верхним зарядом нижележащей группы 5).

[24]

На фиг. 4 представлено сечение по А-А фиг. 3, изображены заряды и углы между ними в поперечном сечении перфоратора.

[25]

На фиг. 5 изображен кумулятивный перфоратор, в котором на несущей конструкции 7 установлены кумулятивные заряды 3, заряды разбиты на группы 8 и 9. Группа 8 состоит из трех пар зарядов, группа 9 состоит из двух пар зарядов. Смежные заряды в паре расположены в одной плоскости, смежные пары и группы зарядов расположены в разных плоскостях, α - угол между зарядами в паре зарядов, β - угол между парами зарядов, ϕ - угол между группами зарядов (изображен между смежными парами смежных групп 8 и 9, т.е. между нижней парой вышележащей группы 8 и верхней парой нижележащей группы 9).

[26]

На фиг. 6 представлено сечение по фиг. 5, изображены заряды и углы между ними в поперечном сечении перфоратора.

[27]

На фиг. 7 изображен кумулятивный перфоратор, в котором на несущей конструкции 7 установлены кумулятивные заряды 3, заряды разбиты на группы 10 и 11. Группа 10 состоит из одной пары зарядов и нижележащего одиночного заряда 12, группа 11 состоит из двух пар зарядов и двух нижележащих одиночных зарядов 12. Смежные заряды в паре расположены в одной плоскости, смежные пары зарядов, одиночные заряды и группы зарядов расположены в разных плоскостях, α - угол между зарядами в паре зарядов, β - угол между парами зарядов, γ - угол между парой зарядов и одиночным зарядом, λ - угол между смежными одиночными зарядами, ϕ - угол между группами зарядов.

[28]

На фиг. 8 показано сечение по В-В фиг. 7, изображены заряды и углы между ними в поперечном сечении перфоратора.

[29]

На фиг. 9 изображен кумулятивный перфоратор, в котором на несущей конструкции 7 установлены кумулятивные заряды 3, заряды разбиты на группы 4 и 5, состоящие из двух пар зарядов, L - линейный размер (расстояние) между смежными зарядами в паре зарядов, L1 - линейный размер между парами зарядов, L2 - линейный размер между группами зарядов.

[30]

На фиг. 10 изображен кумулятивный перфоратор, в котором на несущей конструкции 7 установлены кумулятивные заряды 3, заряды разбиты на группы 8 и 9. Группа 8 состоит из трех пар зарядов, группа 9 состоит из двух пар зарядов. Смежные заряды в паре расположены в одной плоскости, смежные пары и группы зарядов расположены в разных плоскостях, L1 - линейный размер между парами зарядов, L2 - линейный размер между группами зарядов.

[31]

На фиг. 3, 5, 7, 9, 10 на основных видах перфоратора углы α, β, λ, γ и ϕ не следует воспринимать как линейные размеры. Они изображены для наглядности чередования углов в конструкции перфоратора и относятся только к поперечному сечению перфоратора (наиболее точно изображено в сечении А-А фиг. 4, сечениях Б-Б фиг. 6 и В-В фиг. 8, а так же на фиг. 1 и 2).

[32]

На фиг. 11 изображена возможность ориентирования кумулятивных зарядов в кумулятивном перфораторе не только в поперечном сечении перфоратора, но и в продольном, 7 - несущая конструкция перфоратора, 13 - вектор (направление) кумулятивного заряда, 14 - перпендикуляр к оси перфоратора, 15 - ось перфоратора, τ и ω - углы смещения кумулятивных зарядов 3 от перпендикуляра к оси 15 перфоратора в продольном сечении.

[33]

Из практики эксплуатации кумулятивных перфораторов известно, что при перфорации скважин кумулятивными перфораторами при срабатывании перфоратора оказывается фугасное воздействие на крепь скважины с образованием трещин в цементном кольце скважины, что оказывает негативное влияние на качество получаемой продукции, так как при поврежденном цементном кольце возможны заколонные перетоки флюида с прорывами воды или газа. Для обеспечения высокого уровня совершенства вскрытия пласта необходимо снизить оказываемое фугасное воздействие и обеспечить оптимальный охват продуктивного пласта перфорационными каналами.

[34]

Под оптимальным охватом пласта следует понимать не только максимально достижимое количество перфорационных каналов 2 в радиальном направлении в поперечном сечении скважины 1, изображенных на фиг. 12, но и равномерное распределение перфорационных каналов 2 и по всей длине перфоратора и перфорируемого интервала скважины, изображенных на фиг. 14.

[35]

Количество перфорационных каналов 2 на фиг. 12 - 24 штуки, а при введении в группу одиночных зарядов 12, оно может быть существенно увеличено.

[36]

На фиг. 13 изображена 16 - развертка скважины вскрываемой известными кумулятивными перфораторами (со спиральным расположением зарядов), на фиг. 14 показана 17 - развертка скважины вскрываемой кумулятивным перфоратором по настоящему изобретению, 18 - трещины в цементном кольце скважины вокруг перфорационного канала 2. На развертке 17 трещины 18 меньше по размеру, чем на развертке 16 ввиду пониженного фугасного воздействия перфоратора по настоящему изобретению и сами ближайшие по направлению перфорационные каналы 2 удалены в два раза (2L) по сравнению с разверткой 16 (L). Ширина линии перфорации m на обеих развертках 16 и 17 одинаковая. Площадь не дренируемых зон 19 или зон, не охваченных каналами перфорации, на развертке 17 уменьшена примерно на 30% в сравнении с разверткой 16.

[37]

Общий пример выполнения перфоратора.

[38]

Кумулятивный перфоратор содержит несущую конструкцию 7, в которой с возможностью ориентирования в поперечном и/или продольном сечении перфоратора расположены по его длине группами кумулятивные заряды 3.

[39]

По первому варианту группы зарядов состоят из одной или нескольких пар зарядов 3.

[40]

По второму варианту группы зарядов состоят из одной или нескольких пар зарядов 3 и дополнительных одиночных зарядов 12. Одиночные заряды 12 могут находиться в каждой из групп. В группу зарядов 3 могут входить один и большее количество одиночных зарядов 12. Одиночные заряды 12 могут находиться над парой, между парами, ниже пары зарядов, последовательно за друг другом, а угол между смежными одиночными зарядами λ может быть отличен от остальных углов α, β, ϕ, γ или равен любому из них. Возможно, выполнение перфоратора, когда в группах зарядов 3, состоящих из одной пары зарядов и одного или нескольких одиночных зарядов 12, угол между парами β отсутствует.

[41]

Заряды 3, образующие пару, расположены относительно друг друга под одним углом α (угол в паре зарядов). Угол между парами зарядов β отличен от угла в α парах и/или равен ему, угол между группами зарядов ϕ выполнен отличным от угла в паре α и угла между парами β и/или равен им.

[42]

Угол между парой зарядов 3 и одиночным зарядом 12 равен γ, угол между смежными одиночными зарядами λ.

[43]

В зависимости от горно-геологических условий и состояния скважины определяют интервал перфорации, плотность расположения кумулятивных зарядов в перфораторе на один метр, общую длину перфоратора и количество зарядов в перфораторе, подбирают характеристики зарядов, при этом заряды в паре и в группе могут быть с одинаковыми характеристиками, так и с разными, при этом могут чередоваться. Разбивают общее количество зарядов на группы, состоящие из пар зарядов. Назначают углы, исходя из того, что пары зарядов с углами в паре α и между парами β применяются для снижения фугасного воздействия на скважину и на сам перфоратор при его срабатывании, а угол между группами зарядов ϕ введен для обеспечения оптимального охвата пласта.

[44]

Но из-за того, что интервалы скважины могут вскрываться с пониженной плотностью расположения зарядов на один метр (например, 10 зарядов на метр), то угла между группами зарядов ϕ не достаточно для того, чтобы оптимально охватить вскрываемый продуктивный пласт, поэтому вводят в группы одиночные заряды с углом смещения γ. Если же плотность расположения зарядов высокая (например, 20 зарядов на метр), то вводить одиночные заряды не обязательно.

[45]

Угол в парах зарядов α может назначаться в одном или в разных направлениях отсчета угла, как в правом (по часовой стрелке), так в левом (против часовой стрелки) направлении.

[46]

Угол между парами зарядов β может назначаться в одном или в разных направлениях отсчета угла, между любым зарядом из вышележащей пары и любым зарядом из нижележащей пары.

[47]

Угол между группами зарядов ϕ может назначаться в одном или в разных направлениях отсчета угла, между любым зарядом из вышележащей группы и любым зарядом из нижележащей группы.

[48]

В предпочтительном первом варианте исполнения заявляемого технического решения для обеспечения требования по снижению фугасного воздействия и оптимального охвата пласта один из трех углов α, β, ϕ может иметь любое значение (0÷360°), а два остальные должны иметь значения развернутого и/или тупого угла между смежными зарядами в одном или в разных направлениях отсчета угла. Но в зависимости от условий применения возможны и другие значения углов.

[49]

В случае введения в группы одиночных зарядов, три из пяти углов α, β, γ, ϕ, λ могут иметь любое значение (0÷360°), а два остальные должны иметь значения развернутого и/или тупого угла между смежными зарядами в одном или в разных направлениях отсчета угла. Но в зависимости от условий применения возможны и другие значения углов. При этом в группах зарядов, состоящих из одной пары зарядов и одного или нескольких одиночных зарядов, угол между парами β отсутствует, а углы λ, ϕ, λ могут быть равны и заменять друг друга.

[50]

Конкретный пример.

[51]

Перфорацию интервала скважины производят кумулятивным перфоратором условной длины 3 метра, общим количеством зарядов - 44 заряда, заряды разбиты на группы, состоящие из пар зарядов: 8 групп по две пары и 2 группы по три пары. Угол в паре зарядов α=180°, угол между парами β=150°, угол ϕ=45°.

[52]

Линейное расстояние между смежными зарядами в паре L=50 мм, линейное расстояние между парами зарядов L1=60 мм, линейное расстояние между группами зарядов L2=70 мм.

[53]

Кумулятивные заряды в группах по две пары направлены перпендикулярно относительно оси перфоратора, а заряды в группах по три пары под острым углом к оси перфоратора τ=15°.

[54]

Кумулятивные заряды в группах по две пары с характеристиками «глубокопроникающие», а заряды в группах по три пары с характеристиками - «большое отверстие».

[55]

Производят снаряжение, спуск и отстрел перфоратора в заданном интервале, подъем его на поверхность. При срабатывании перфоратор оказывает наименьшее фугасное воздействие на скважину и ее цементное кольцо, примерно на 20% в сравнении с известными спиральными и линейными перфораторами той же плотности расположения зарядов, не нарушая целостности цементного кольца и обеспечивая оптимальный охват пласта с максимальным количеством перфорационных каналов в поперечном сечении, и равномерным распределением перфорационных каналов по всей длине перфоратора и перфорируемого интервала скважины с уменьшением размеров зон пласта не охваченных каналами перфорации на 30%.

Как компенсировать расходы
на инновационную разработку
Похожие патенты