патент
№ RU 2589451
МПК H01Q9/18
Номер заявки
2015109434/28
Дата подачи заявки
17.03.2015
Опубликовано
10.07.2016
Страна
RU
Как управлять
интеллектуальной собственностью
Чертежи 
2
Реферат

Изобретение относится к антенной технике и может быть использовано в качестве малогабаритных приемопередающих антенн в мобильных длинноволновых (ДВ), средневолновых (СВ) и коротковолновых (KB) радиостанциях. Вибраторная антенна содержит индуктивность, вибратор, электрически соединенный с одним концом этой индуктивности и представляющий собой объемный проводник, расположенный в магнитном поле индуктивности. Индуктивность выполнена на незамкнутом сердечнике магнитопровода, второй конец индуктивности соединен с одним из проводов питающей антенну двухпроводной электрической линии, другой провод которой одним концом заземлен на радиостанции, а второй конец этого провода находится в свободном состоянии. Технический результат заключается в расширении функциональных возможностей устройства, а именно: обеспечение использования одной и той же вибраторной антенны при смене рабочих частот, упрощение согласования вибраторной антенны с радиостанцией во время ведения сеансов связи. Кроме того, достигается снижение зависимости параметров антенны от окружающей среды, упрощение ее настройки при серийном производстве. 2 з.п. ф-лы, 2 ил.

Формула изобретения

1. Вибраторная антенна, содержащая индуктивность, вибратор, электрически соединенный с одним концом этой индуктивности и представляющий собой объемный проводник, расположенный в магнитном поле индуктивности, выполненной на незамкнутом сердечнике магнитопровода, отличающаяся тем, что второй конец индуктивности соединен с одним из проводов питающей антенну двухпроводной электрической линии, другой провод которой одним концом заземлен на радиостанции, а второй конец этого провода находится в свободном состоянии.

2. Вибраторная антенна по п. 1, отличающаяся тем, что питающая антенну двухпроводная электрическая линия выполнена в виде высокочастотного кабеля, внутренний провод которого соединен со вторым концом индуктивности, а внешний провод одним концом заземлен на радиостанции, а второй конец внешнего провода высокочастотного кабеля находится в свободном состоянии.

3. Вибраторная антенна по п. 1, отличающаяся тем, что питающая антенну двухпроводная электрическая линия выполнена в виде двужильного электрического провода, одна из жил которого соединена со вторым концом индуктивности, один конец второй жилы заземлен на радиостанции, а второй конец этой жилы находится в свободном состоянии.

Описание

[1]

Изобретение относится к антенной технике и может быть использовано в мобильных длинноволновых (ДВ), средневолновых (СВ) и коротковолновых (KB) приемопередающих устройствах.

[2]

Известна вибраторная антенна (патент РФ №2523959, МПК H01Q 9/18, опубл. 27.07.2014), содержащая вибратор, согласующее устройство, емкостную нагрузку и противовес, причем согласующее устройство выполнено в виде двух отдельных элементов - удлиняющей катушки и трансформатора, каждый из которых выполнен на своем отдельном замкнутом сердечнике магнитопровода.

[3]

Недостатком этой антенны является необходимость развертывания перед проведением сеанса связи емкостной нагрузки, выполненной «в форме спиц, зонтика или веера», что создает неудобства при использовании этой антенны как во время движения транспорта, так и в носимых радиостанциях при передвижении пользователя, например, по лесистой местности.

[4]

Наиболее близкой к заявляемой является конструкция малогабаритной вибраторной антенны (патент РФ №2413344, МПК H01Q 9/18, опубл. 27.02.2011), которая содержит вибратор, согласующее устройство, включающее индуктивности, причем вибратор расположен в магнитном поле согласующего устройства, выполненного в виде трансформатора, размещенного на незамкнутом сердечнике магнитопровода, при этом вибратор электрически соединен с вторичной обмоткой трансформатора.

[5]

Данная конструкция малогабаритной вибраторной антенны обладает следующими недостатками:

[6]

- антенна узкополосная, что вызывает неудобство при эксплуатации, т.к. при смене рабочей частоты требуется заменять и вибраторную антенну;

[7]

- параметры этой антенны сильно зависят от окружающей среды, например, меняется коэффициент усиления антенны при изменении расстояния от тела оператора или от кузова транспорта;

[8]

- антенна сложна в настройке при изготовлении, что затрудняет ее серийное производство.

[9]

Технический результат заявляемого изобретения заключается в расширении функциональных возможностей устройства, а именно: обеспечении возможности использования одной и той же вибраторной антенны при смене рабочих частот, упрощении согласования вибраторной антенны с радиостанцией во время ведения сеансов связи, снижении зависимости параметров антенны от окружающей среды, упрощении ее настройки при серийном производстве.

[10]

Указанный технический результат достигается тем, что у вибраторной антенны, содержащей индуктивность, вибратор, электрически соединенный с одним концом этой индуктивности и представляющий собой объемный проводник, расположенный в магнитном поле индуктивности, выполненной на незамкнутом сердечнике магнитопровода, согласно заявляемому изобретению, второй конец индуктивности соединен с одним из проводов питающей антенну двухпроводной электрической линии, другой провод, играющий роль противовеса, одним концом заземлен на радиостанции, а второй конец этого провода находится в свободном состоянии.

[11]

Питающая антенну двухпроводная электрическая линия может быть выполнена в виде высокочастотного кабеля, внутренний провод которого соединен со вторым концом индуктивности, а внешний провод одним концом заземлен на радиостанции, а второй конец внешнего провода высокочастотного кабеля находится в свободном состоянии.

[12]

Питающая антенну двухпроводная электрическая линия может быть выполнена в виде двужильного электрического провода.

[13]

Изобретение поясняется чертежами, где на фиг. 1 приведена конструктивная схема предлагаемой вибраторной антенны, в которой питающая антенну двухпроводная электрическая линия выполнена в виде высокочастотного кабеля. Вибраторная антенна содержит индуктивность 1 с магнитопроводом 2 и вибратор, выполненный в виде объемного проводника 3, соединенные последовательно друг с другом. Вход 4 вибраторной антенны соединяется с одним концом внутреннего провода 5 высокочастотного кабеля. Другой конец этого провода 6 соединяется с выходом/входом радиостанции 7. Внешний провод 8 высокочастотного кабеля одним концом 9 подключается к клемме «ЗЕМЛЯ» 10 радиостанции 7, а второй конец этого провода 11 находится в свободном состоянии.

[14]

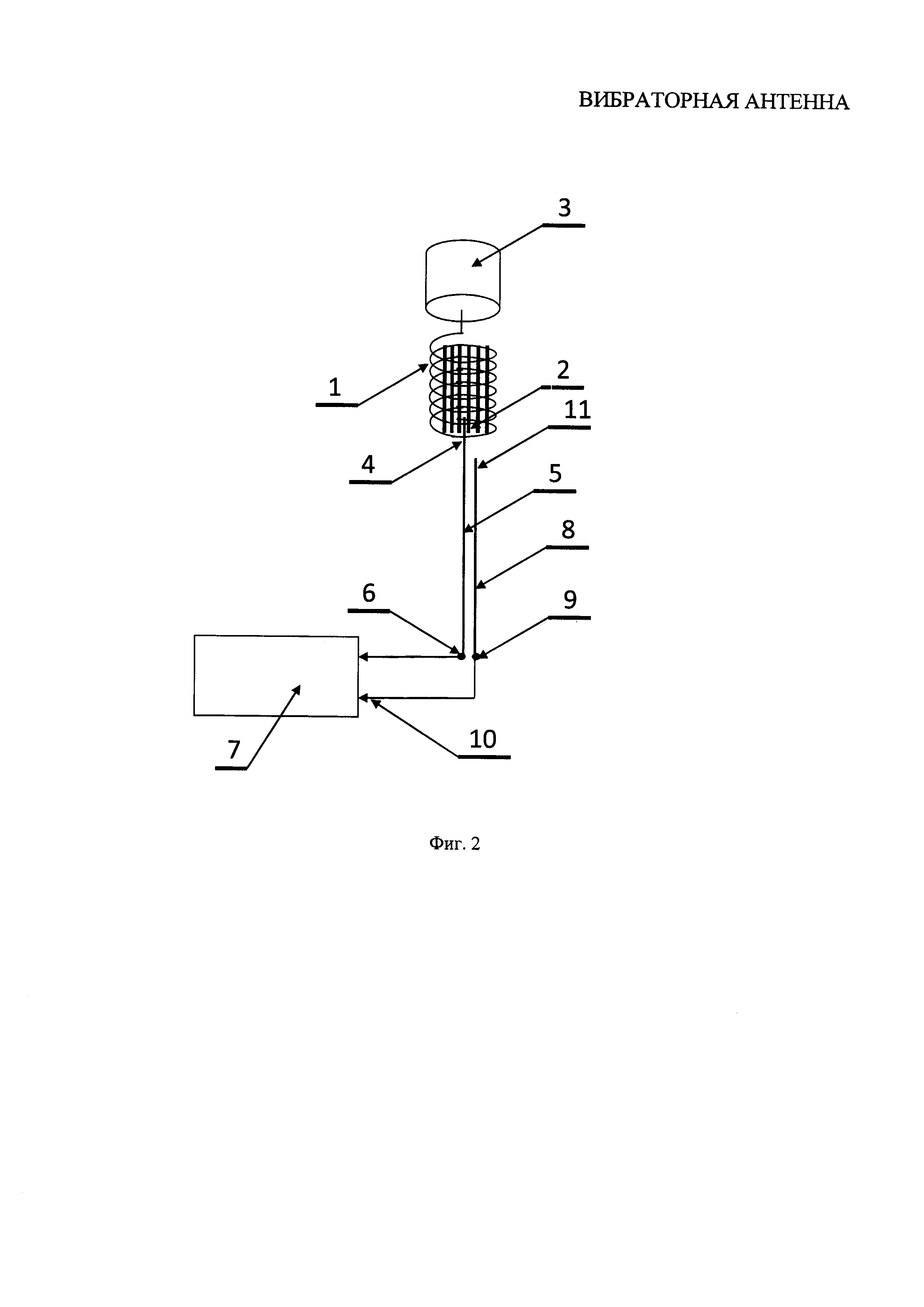
На фиг. 2 изображена конструктивная схема вибраторной антенны, в которой двухпроводная электрическая линия выполнена в виде двужильного электрического провода. В этом случае вход 4 вибраторной антенны соединяется с одним концом одной из жил 5 двужильного электрического провода. Другой конец этой жилы 6 соединяется с выходом/входом радиостанции 7. Вторая жила 8 двужильного электрического провода одним концом 9 подключается к клемме «ЗЕМЛЯ» 10 радиостанции 7, а второй конец этой жилы 11 находится в свободном состоянии.

[15]

Вибраторная антенна работает следующим образом.

[16]

Вибраторная антенна, содержащая индуктивность с магнитопроводом и объемный проводник, соединенные последовательно друг с другом и вместе с вариометром радиостанции и противовесом антенны, представляет собой в совокупности последовательный контур, который с помощью вариометра радиостанции настраивается на рабочую частоту. Вибраторная антенна при производстве настраивается на частоту f0. Вариометр радиостанции представляет собой переменное реактивное индуктивное или емкостное сопротивление. Частота f0 выбирается с таким расчетом, чтобы в среднем положении реактивности вариометра весь антенно-фидерный тракт был бы настроен на среднюю частоту fc рабочего диапазона частот. Антенный вибратор при этом, являясь открытой частью общей резонансной антенно-фидерной системы, будет эффективно излучать электромагнитные волны на частоте fc. Если реактивное сопротивление вариометра увеличивается или уменьшается, то и резонанс антенно-фидерной системы будет соответственно уменьшаться или увеличиваться, а антенный вибратор будет эффективно излучать/принимать электромагнитные волны в том случае, когда частота резонанса антенно-фидерного тракта будет равна частоте настройки передатчика/приемника радиостанции.

[17]

Данное изобретение дает кроме существенного уменьшения габаритных размеров антенн, применяемых в качестве носимых и мобильных в ДВ, СВ и KB радиостанциях, также избавление от необходимости замены вибраторных антенн при смене рабочих частот, снижение зависимости параметров антенны от окружающей среды, упрощение настройки частоты вибраторных антенн как во время ведения сеансов связи, так и при серийном производстве этих антенн и, как следствие, снижение их стоимости, что имеет большое значение для широкого круга пользователей ДВ, СВ и KB радиостанций.

Как компенсировать расходы
на инновационную разработку
Похожие патенты