патент
№ RU 2579813
МПК H01L39/00
Номер заявки
2014153833/28
Дата подачи заявки
30.12.2014
Опубликовано
10.04.2016
Страна
RU
Как управлять
интеллектуальной собственностью
Чертежи 
5
Реферат

Использование: для сверхмалошумящего усиления слабых радиотехнических сигналов. Сущность изобретения заключается в том, что усиливающий сверхпроводящий метаматериал состоит из гальванически связанных элементарных ячеек, смещенных постоянным током и проявляющих эффект квантовой интерференции с участием двух или более джозефсоновских контактов, элементарные ячейки образуют в своей совокупности двухмерную равномерно распределенную в пространстве решетку, метаповерхность, а магнитное поле усиливаемого сигнала создается близко расположенной низкодобротной линией передачи, которая распределяет сигнал между всеми ячейками метаматериала. Технический результат: обеспечение возможности увеличить мощность насыщения и расширить частотный диапазон усиления. 6 ил.

Формула изобретения

Усиливающий сверхпроводящий метаматериал, состоящий из гальванически связанных элементарных ячеек, смещенных постоянным током и проявляющих эффект квантовой интерференции с участием двух или более джозефсоновских контактов, отличающийся тем, что элементарные ячейки образуют в своей совокупности двухмерную равномерно распределенную в пространстве решетку, метаповерхность, а магнитное поле усиливаемого сигнала создается близко расположенной низкодобротной линией передачи, которая распределяет сигнал между всеми ячейками метаматериала.

Описание

[1]

Изобретение «Усиливающий сверхпроводящий метаматериал» может использоваться в различного рода приемных устройствах (детекторах) для сверхмалошумящего усиления слабых радиотехнических сигналов.

[2]

Аналогом усиливающего сверхпроводящего метаматериала является сверхпроводящий квантовый интерферометр со смещением по постоянному току (ПТ-сквид) (Джон Кларк, Михаэль Мюк, Марк-Оливер Андрэ, Йост Гэйл, Кристоф Хайден, «Микрополосковый усилитель на основе ПТ-сквида», Микроволновая Сверхпроводимость, в.375, 2001, стр. 473-504). ПТ-сквид представляет собой датчик магнитного поля, состоящий из двух джозефсоновских контактов, включенных в сверхпроводящее кольцо, индуктивно связанное с электромагнитной катушкой. Принцип использования ПТ-сквида для линейного усиления токов основан на предварительном линейном преобразовании входного сигнала в магнитное поле указанной катушки, которая создает магнитный поток, приложенный к петле сквида, который приводит к возникновению в сквиде сверхпроводящего тока. При наличии смещения постоянным напряжением приложение сигнала в виде магнитного поля приводит к возникновению экранирующего тока, на величину которого уменьшается измеряемый критический ток сквида. Поскольку вольт-амперная характеристика (ΒΑΧ) сквида зависит от критического тока, происходит модуляция рабочей точки ΒΑΧ с частотой сигнала; это является откликом сквида на переменный во времени внешний магнитно-токовый сигнал. Усиление и широкополосность ПТ-сквида зависят от амплитудно-частотной характеристики (АЧХ) коэффициента связи по магнитному полю между сигнальной катушкой, генерирующей магнитное поле, и ПТ-сквидом. Фактически, мы имеем дело с трансформатором магнитного потока с отношением более 100, на конструкцию которого наложены значительные ограничения геометрического характера, связанные с технологией изготовления схем с джозефсоновскими контактами. Например, методами напыления тонких пленок, которые используются для изготовления сквидов, затруднительно изготовить вложенные катушки, наподобие традиционных низкочастотных трансформаторов, имеющих коэффициент связи по потоку, близкий к 100%. В силу технологических особенностей предпочтение отдается однослойным спиральным катушкам, которые имеют значительное поле рассеивания. Связь с такой катушкой трудно сделать эффективной из-за очень низкой индуктивности петли сквида (единицы пГн). Попытки увеличить коэффициент связи путем увеличения числа и плотности витков спиральной катушки приводят к появлению паразитных эффектов, таких как межвитковая емкость и распределенный характер токов, что ведет к возникновению нежелательных высокодобротных резонансов в полосе сигнала и невозможности создания широкополосного усилителя. В приведенной выше работе, демонстрирующей рекордную чувствительность сверхвысокочастотного усилителя на основе ПТ-сквида, используется именно высокодобротный резонанс сигнальной катушки. На сегодняшний день получение широкополосного усиления на ПТ-сквидах остается нерешенной проблемой.

[3]

Недостатками приведенного аналога являются: узкая полоса рабочих частот (не более 10% от центральной частоты), низкий уровень мощности насыщения (единицы пВт) и наличие джонсоновского шума резистивных шунтов джозефсоновских туннельных контактов, которые необходимы для получения безгестерезисной ΒΑΧ и желаемой вольт-потоковой характеристики ПТ-сквида.

[4]

Вторым аналогом усиливающего сверхпроводящего метаматериала является параметрический сквид-усилитель (Дж.Ю. Матус, Т.С. Уайт, Р. Барендс, «Джозефсоновский параметрический усилитель с сильной внешней связью», Письма в Журнал Прикладной Физики, 104, 263513, 2014). Он работает на основе параметрического эффекта модуляции нелинейной индуктивности сверхпроводящего тока в петле, содержащей один или несколько джозефсоновских контактов в режиме смещения током, не превышающим критический ток джозефсоновских контактов. Концептуально, параметрический сквид-усилитель имеет параметры, по порядку величины сходные с ПТ-сквидом (усиление, ширина полосы, квантовый уровень шума при сверхнизких температурах); отличия от усилителя на ПТ-сквиде состоят в необходимости накачки от специального высокочастотного генератора, а также в отсутствии постоянного напряжения смещения на контактах.

[5]

К недостаткам параметрического усилителя можно отнести низкий уровень мощности насыщения (на уровне единиц пВт), необходимость использования специально генератора сигнала накачки, а также узкую полосу рабочих частот (не более 10% от центральной частоты).

[6]

Прототипом устройства является последовательно включенная цепочка ПТ-сквидов (Вэлти, Р.П., Мартинис Джон М., «Последовательная цепочка ПТ-сквидов», Труды Международного Общества Электронных Инженеров в Области Магнетизма, т. 27, в. 2, стр. 2924-2926, 2002). Последовательное включение N ПТ-сквидов позволяет увеличить размах предельного выходного напряжения и соответственно увеличить мощность насыщения системы в N раз по сравнению с одиночным ПТ-сквидом.

[7]

Недостатком этого устройства является сильное влияние технологического разброса нормальных сопротивлений и критических токов отдельных сквидов, что не позволяет реализовать для всех последовательно включенных сквидов оптимальное (одинаковое) по току и по напряжению смещение. Например, для смещения такой цепочки возникают затруднения в установке оптимальной рабочей точки в центре линейного участка ΒΑΧ для каждого сквида. Такая ситуация неизбежно ведет к снижению мощности насыщения индивидуальных звеньев и в сумме снижает эффективность всей системы, вплоть до превращения части звеньев в балласт.

[8]

Технический результат выражается в том, что усиливающий сверхпроводящий метаматериал позволяет, в отличие от его прототипа, теоретически неограниченно увеличивать мощность насыщения. Открывается возможность расширять частотный диапазон усиления (до 20-30% от центральной частоты, f, а теоретически даже шире), сохраняя при этом шумовую температуру на уровне квантового предела nfk , что подразумевает охлаждение прибора до температуры T, которая удовлетворяет условию kT<nf.

[9]

Технический результат достигается тем, что используется усиливающий сверхпроводящий метаматериал, состоящий из гальванически связанных элементарных ячеек, смещенных постоянным током и проявляющих эффект квантовой интерференции с участием двух или более джозефсоновских контактов, отличающийся тем, что элементарные ячейки образуют в своей совокупности двухмерную равномерно распределенную в пространстве решетку, метаповерхность, а магнитное поле усиливаемого сигнала создается близко расположенной низкодобротной линией передачи, которая распределяет сигнал между всеми ячейками метаматериала.

[10]

Изобретение поясняется чертежом, где 1 - сигнальный СВЧ вход, подсоединенный к металлическому полоску, 2 - сверхпроводящий электрод подачи смещения и вывода усиленного сигнала, 3 - вывод СВЧ и ПТ заземления, 4 - настроечные конденсаторы, 5 - джозефсоновские контакты, 6 - подложка, 7 - контуры квантования магнитного поля сквидов. Фигура 1 в порядке слева направо поясняет качественный переход от аналога и прототипа к усиливающему сверхпроводящему метаматериалу: от одиночного ПТ-сквида к цепочке последовательно или параллельно включенных сквидов и далее к последовательно-параллельному включению сквидов, являющемуся вариантом описанной выше двухмерной решетки. В силу сильной связи всех ячеек такой структуры возникает синхронизация частоты джозефсоновского тока во всех ячейках и происходит автоматическое выравнивание напряжений на всех контактах даже при наличии определенного разброса параметров.

[11]

Фигура 2 представляет собой эскиз технической реализации активной области устройства с применением технологии тонких пленок и является трехмерным изображением электромагнитной модели, с помощью которой могут быть подтверждены заявленные электродинамические свойства устройства. Внешние по отношению к устройству электродинамические цепи - волноводы и проводники смещения - не показанны, так как они могут иметь стандартные решения и не претендуют на оригинальность. В нижнем слое располагается прямоугольная решетка джозефсоновских контактов размерностью N∗M. В соответствии с формализмом электромагнитного моделирования, импедансы джозефсоновских контактов представлены в виде высокочастотных портов, параметры которых отражают электрофизические свойства выбранного типа джозефсоновских контактов. В верхнем слое располагается сверхпроводящий полосок в форме меандра, наводящий кольцевые токи в элементарных ячейках решетки. Как показывают проведенные нами расчеты, правильным выбором числа элементарных ячеек и парциального поглощения каждого из них можно добиться того, что мощность сигнала, подведенная к полоску, практически полностью (на 70-80%) поглощается решеткой.

[12]

Фигура 3 демонстрирует результаты моделирования S-параметров электромагнитной модели, представленной в виде фигуры 2: показаны частотные зависимости коэффициента отражения входа S11 и коэффициента обратного прохождения S21 (изоляция выхода). Передаточная характеристика S21 не вычислялась, она определяется токополевой характеристикой петли сквида и предполагается такой же, как у обычного ПТ-сквида, то есть она полагается стандартным параметром и, по нашему мнению, ее точное значение не имеет решающего влияния на работу предлагаемого устройства.

[13]

Из анализа данных фигуры 3 видно, что в полосе более 2 ГГц (более 20% от центральной частоты) в области частоты 10 ГГц сигнал хорошо поглощается структурой, при этом паразитное прохождение сигнала между входом и выходом очень мало и в силу математической симметрии модели в расчете не превышает - 110 дБ.

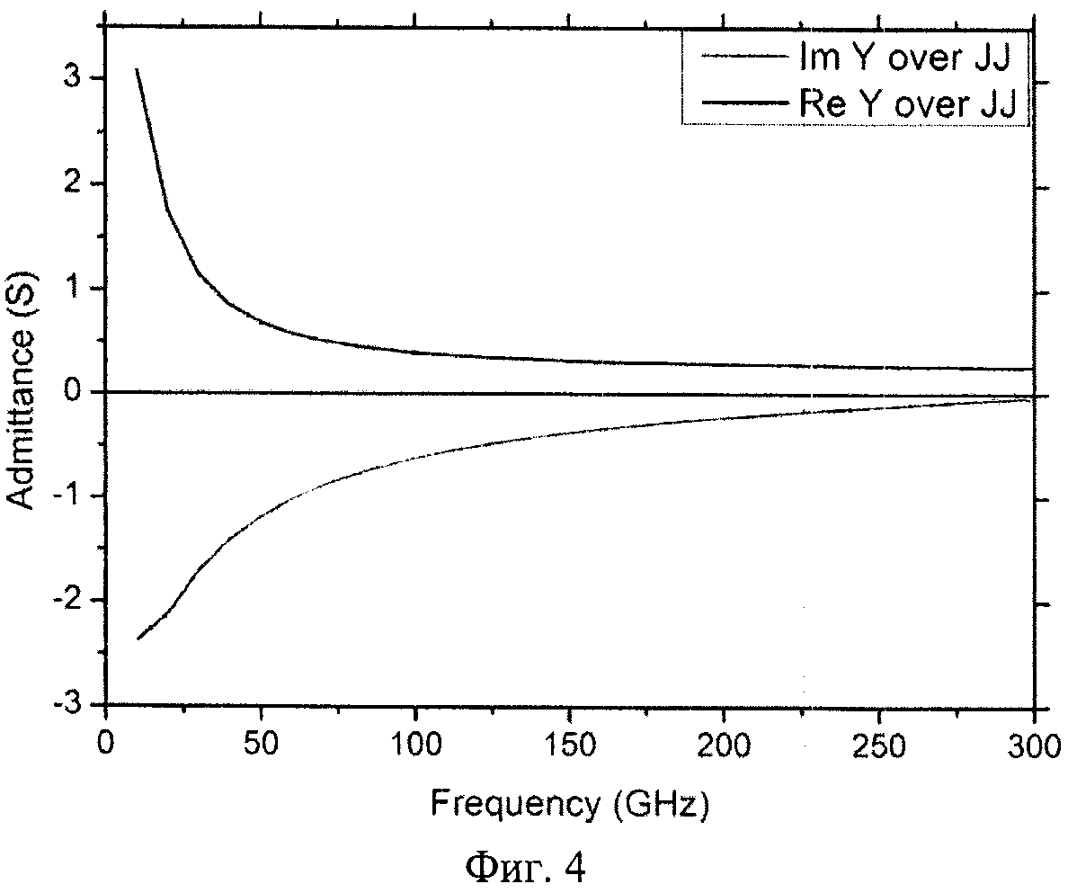
[14]

Фигура 4 показывает адмиттанс портов электромагнитной модели в точках включения джозефсоновских переходов. Приведенные кривые подтверждают отсутствие упомянутых выше паразитных резонансов в системе сквид-сигнальный индуктор, по крайней мере, до частоты 300 ГГц. Это означает гладкость ΒΑΧ джозефсоновских переходов, а максимальная ожидаемая удвоенная амплитуда неискаженного выходного сигнала может достигать 600 мкВ. Это означает мощность насыщения джозефсоновского контакта, нагруженного на 50 Ом около 0,8 нВт. Для всего устройства, имеющего размерность Μ∗Ν=100, мощность насыщения можно оценить в 80 нВт (-41 дБм), что делает такой усилитель сравнимым по этому параметру с сверхмалошумящими слаботочными полупроводниковыми охлаждаемыми усилителями.

[15]

На фигуре 5 показан чертеж устройства чипа: 1 - сигнальный СВЧ вход, подсоединенный к металлическому полоску, 2 - сверхпроводящий электрод подачи смещения и вывода усиленного сигнала, 3 - вывод СВЧ и ПТ заземления, 4 - настроечные конденсаторы, 5 - джозефсоновские контакты, 6 - подложка, 7 - контура квантования магнитного поля сквидов.

[16]

На фигуре 6 представлена безгистерезисная ΒΑΧ типичного джозефсоновского перехода, пригодного для использования в сверхпроводящем усиливающем метаматериале. Ic - критический ток джозефсоновского перехода. Полный ток, текущий через контакт, образуется из сверхпроводящей и нормальной составляющих Is и In, соответственно. Vc - критическое напряжение джозефсоновского контакта (несколько сот микровольт).

[17]

Изобретение осуществляется следующим образом. Методами тонкопленочной технологии изготавливается чип, имеющий несколько специализированных электрических выводов, показанных на фигуре 5: 1 - сигнальный СВЧ вход, подсоединенный к металлическому полоску, 2 - сверхпроводящий электрод подачи смещения и вывода усиленного сигнала, 3 - вывод СВЧ и ПТ заземления, 4 - настроечные конденсаторы, 5 - джозефсоновские контакты, 6 - подложка тонкопленочной структуры, 7 - контуры квантования магнитного поля сквидов. Точки 1 и 2 подсоединены к высокочастотным линиям входа и выхода соответственно. Металлические сверхпроводящие слои, в которых изготовлены геометрические фигуры 2 и 3, разделены слоем диэлектрика везде, кроме специальных окошек, в которых сформированы джозефсоновские контакты 5; в принципе, геометрические фигуры 2 и 3 могут быть изготовлены в одном физическом слое в зависимости от конкретной технологии изготовления (от типа) джозефсоновского перехода. Слои, содержащие геометрические фигуры 2, 3 и джозефсоновские переходы, отделены слоем диэлектрика от геометрической фигуры 1, которая представляет собой металлический полосок, а конденсаторы 4 сформированы между геометрическими фигурами 1 и 3. Видно, что топологически число периодов структуры (число элементарных ячеек) может быть увеличено и по горизонтали, и по вертикали, и таким образом фигура 5 является одним из примеров реализации устройства. Принцип действия устройства состоит в том, что сигнал с СВЧ входа 1 подается в металлический полосок, находящийся в низкодобротном резонансе с конденсаторами 4 и решеткой джозефсоновских переходов. Ток, возникающий в полоске, создает магнитное поле, возбуждающее кольцевые токи в ячейках решетки. Энергия сигнала поглощается решеткой в соответствии импедансами кольцевых токов ячеек (парциальных сквидов), что продемонстрированно на фигуре 3. На электрод смещения 2 подается постоянный ток, обеспечивающий смещение рабочей точки джозефсоновских контактов на напряжение порядка 300 микровольт. Около точки смещения происходит модуляция ΒΑΧ джозефсоновских переходов в соответствии с мгновенным полем сигнала в полосковой линии 1. Вследствие сильной связи соседних ячеек системы будет происходить синхронизация джозефсоновских токов, и при этом устанавливается строгое равенство частот (напряжений) на всех синхронизированных контактах, что позволяет оптимизировать вклад в общее усиление всех ячеек устройства. Усиленный сигнал снимается с электрода 2 в виде высокочастотной модуляции тока смещения. Емкость конденсаторов 4 выбирается в соответствии с заданной центральной частотой усилителя. В устройстве должны быть использованы джозефсоновские переходы с безгистерезисной ΒΑΧ изображенной, как пример, на фигуре 6.

Как компенсировать расходы
на инновационную разработку
Похожие патенты