патент
№ RU 2574711
МПК A61N1/362

СИСТЕМА И СПОСОБ УВЕЛИЧЕНИЯ НАРУЖНОГО ДИАМЕТРА ВЕН

Авторы:
ФРАНАНО Ф. Николас (US)
Номер заявки
2012139420/14
Дата подачи заявки
17.02.2011
Опубликовано
10.02.2016
Страна
RU
Дата приоритета
14.12.2025
Номер приоритета
Страна приоритета
Как управлять
интеллектуальной собственностью
Реферат

[101]

Группа изобретений относится к медицине. Способ постоянного увеличения наружного диаметра и диаметра просвета периферической вены пациента для создания артериовенозной фистулы или артериовенозного трансплантата осуществляют с помощью системы для постоянного увеличения наружного диаметра и диаметра просвета периферической вены. При этом соединяют по текучей среде один конец узла насос-трубка с донорным сосудом. Соединяют по текучей среде другой конец узла насос-трубка с периферической веной. Перекачивают кровь из донорного сосуда в периферическую вену при скорости потока и в течение периода времени, достаточных для того, чтобы вызвать постоянное увеличение наружного диаметра и диаметра просвета периферической вены. Перекачивание крови ведет к напряжению сдвига стенки принимающей вены большему или равному 0,76 Па. Перекачивание крови ведет к среднему пульсовому давлению в принимающей вене ниже 40 мм рт.ст. При завершении перекачивания расширение остается постоянным в течение времени, необходимого для удаления насоса, трубки и для создания артериовенозной фистулы или артериовенозного трансплантата с использованием части периферической вены, содержащей постоянно увеличенный общий диаметр. Применение изобретений обеспечит создание артериовенозной фистулы или артериовенозного трансплантата, который остается в расширенном состоянии в течение времени, достаточного для создания места доступа. 2 н. и 44 з.п. ф-лы, 9 ил.

Формула изобретения

1. Система для постоянного увеличения наружного диаметра и диаметра просвета периферической вены для создания артериовенозной фистулы или артериовенозного трансплантата, причем система содержит:
насос, выполненный с возможностью перекачивания крови;
по меньшей мере одну трубку, соединенную по текучей среде с насосом и выполненную с возможностью переносить кровь из донорного сосуда в периферическую вену, и
блок управления, связанный с насосом и выполненный с возможностью вынуждать насос перекачивать кровь таким образом, что напряжение сдвига стенки периферической вены больше или равно 0,76 Па, а среднее пульсовое давление в принимающей вене ниже 40 мм рт.ст. до тех пор, пока не возникнет постоянное увеличение общего диаметра периферической вены;
при этом при завершении перекачивания расширение остается постоянным в течение времени, необходимого для, по меньшей мере, удаления насоса и по меньшей мере одной трубки, и для создания артериовенозной фистулы или артериовенозного трансплантата, используя по меньшей мере часть периферической вены, содержащую постоянно увеличенный общий диаметр.

2. Система по п. 1, где насос содержит:
впускное отверстие, сообщающееся по текучей среде с первой трубкой из по меньшей мере одной трубки, при этом первая трубка проходит из впускного отверстия; и
выпускное отверстие, сообщающееся по текучей среде со второй трубкой из по меньшей мере одной трубки, при этом вторая трубка проходит из выпускного отверстия, причем первая трубка выполнена с возможностью сообщения по текучей среде с донорным сосудом, а вторая трубка выполнена с возможностью сообщения по текучей среде с периферической веной.

3. Система по п. 2, где по меньшей мере часть первой трубки выполнена с возможностью размещения в просвете донорного сосуда.

4. Система по п. 2, где по меньшей мере часть первой трубки содержит по меньшей мере один материал, выбранный из группы, состоящей из поливинилхлорида, полиэтилена, полиуретана и силикона.

5. Система по п. 2, где по меньшей мере часть второй трубки выполнена с возможностью выполнения хирургического анастомоза с периферической веной.

6. Система по п. 5, где дистальная часть второй труби содержит ПТФЭ.

7. Система по п. 5, где по меньшей мере часть второй трубки содержит по меньшей мере один материал, выбранный из группы, состоящей из поливинилхлорида, полиэтилена, полиуретана и силикона.

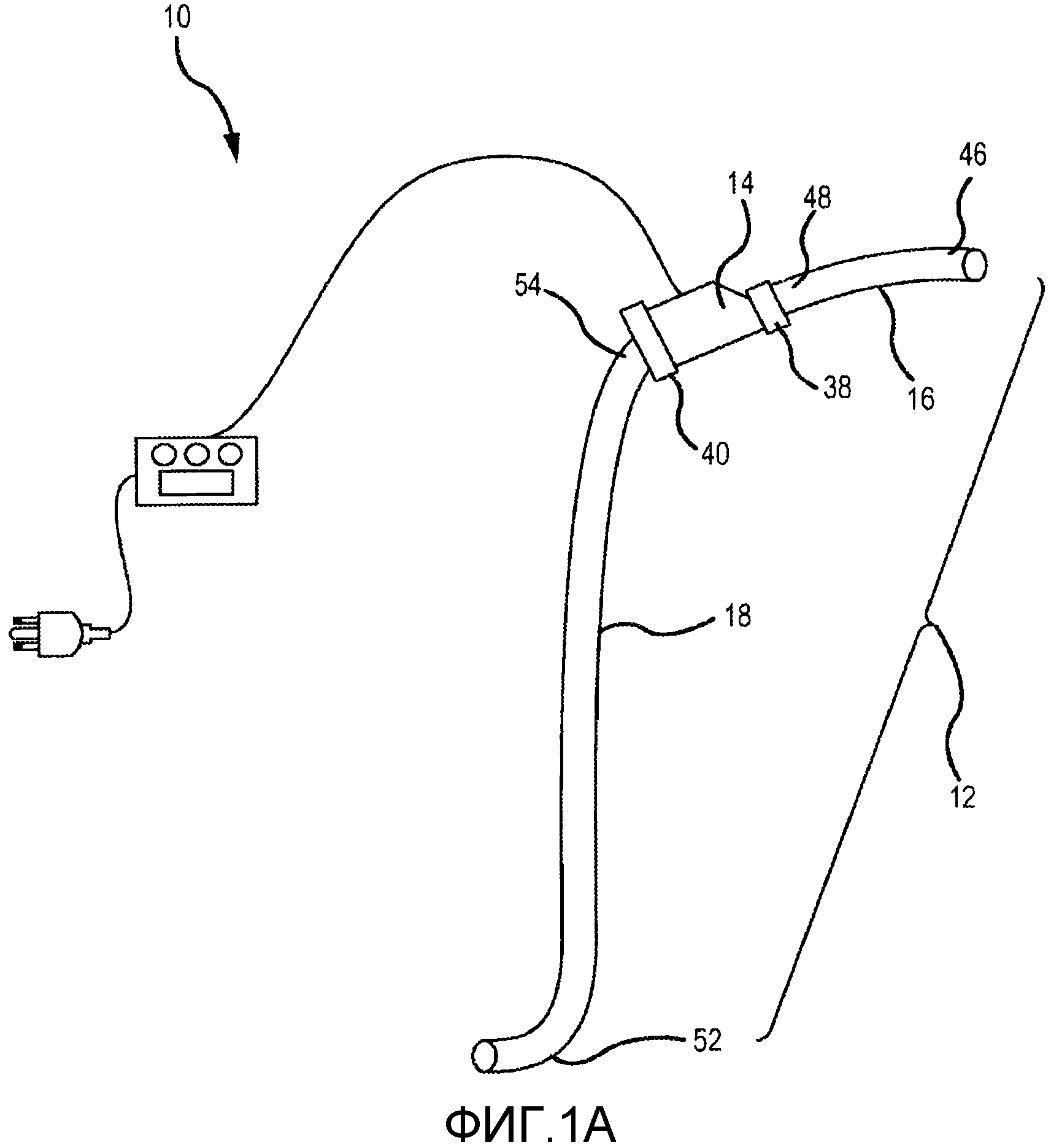
8. Система по п. 2, где по меньшей мере одна из первой трубки и второй трубки имеет длину, варьирующую между приблизительно 10 см и приблизительно 107 см.

9. Система по п. 1 или 2, в которой по меньшей мере одна трубка, соединенная по текучей среде с насосом, присоединена к донорному сосуду, выбранному из внутренней яремной вены, подмышечной вены, подключичной вены, брахицефалической вены, верхней полой вены, бедренной вены, подвздошной вены, нижней полой вены или правого предсердия; или по меньшей мере одна трубка, соединенная по текучей среде с насосом, присоединена к периферической вене, которая выбирается из цефалической вены, лучевой вены, срединной вены, локтевой вены, антекубитальной вены, срединной цефалической вены, срединной базилярной вены, базилярной вены, плечевой вены, малой сафенной вены, большой сафенной вены или бедренной вены.

10. Система по п. 1 или 2, в которой по меньшей мере одна трубка, соединенная по текучей среде с насосом, присоединена к периферической вене в руке или ноге.

11. Система по п. 1 или 2, где система, кроме того, выполнена с возможностью сохранения напряжения сдвига стенки в периферической вене между приблизительно 0,76 Па и приблизительно 23 Па.

12. Система по п. 1 или 2, где система, кроме того, выполнена с возможностью сохранения напряжения сдвига стенки в периферической вене между приблизительно 2,5 Па и приблизительно 7,5 Па.

13. Система по п. 1 или 2, где система, кроме того, выполнена с возможностью сохранения среднего пульсового давления во второй трубке, равного по меньшей мере одному из следующего: менее чем 30 мм рт.ст.; менее чем 20 мм рт.ст.; менее чем 10 мм рт.ст.; или менее чем 5 мм рт.ст.

14. Система по п. 1, где блок управления содержит по меньшей мере один датчик, который измеряет давление крови по меньшей мере в одном из первой трубки, впускного отверстия, выпускного отверстия или второй трубки.

15. Система по п. 1, где блок управления содержит по меньшей мере один датчик, который измеряет поток крови по меньшей мере в одном из первой трубки, впускного отверстия, выпускного отверстия или второй трубки.

16. Система по п. 14 или 15, где блок управления, кроме того, выполнен с возможностью
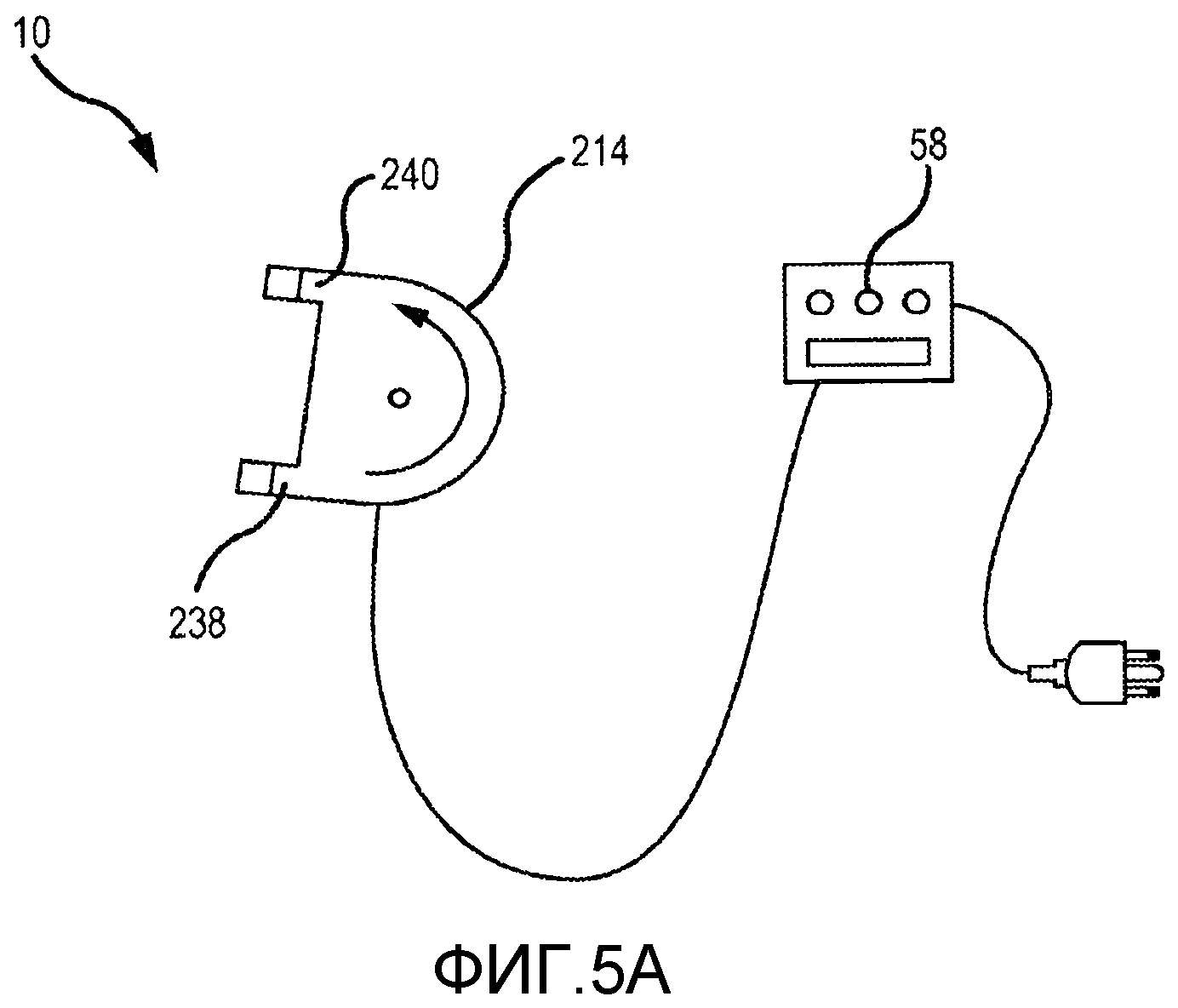
принимать данные по меньшей мере от одного датчика на блоке связи; и
корректировать скорость насоса на основе принятых данных для того, чтобы регулировать по меньшей мере одно из потока крови в первой трубке, второй трубке или периферической вене.

17. Система по п. 14 или 15, где блок управления, кроме того, выполнен с возможностью
приема данных по меньшей мере от одного датчика на блоке связи; и
корректировки скорости насоса на основе принимаемых данных для того, чтобы регулировать напряжение сдвига стенки в периферической вене.

18. Система по п. 1 или 2, где блок управления, кроме того, выполнен с возможностью
управления насосом, при этом период времени для перекачивания крови из донорного сосуда в периферическую вену составляет по меньшей мере от приблизительно 7 суток до приблизительно 84 суток или от приблизительно 7 суток до приблизительно 42 суток; и регулирования насоса для перекачивания крови так, что напряжение сдвига стенки периферической вены находится в диапазоне по меньшей мере одного из от приблизительно 0,7 6 Па до приблизительно 23 Па или от приблизительно 2,5 Па до приблизительно 7,5 Па.

19. Система по п. 1 или 2, где система дополнительно содержит источник питания, соединенный по меньшей мере с одним из блока управления или насоса.

20. Система по п. 19, где источник питания содержит батарею.

21. Система по п. 1 или 2, где блок управления, кроме того, выполнен с возможностью подавать мощность на насос.

22. Система по п. 1 или 2, которая дополнительно содержит устройство корректировки, связанное с устройством управления и выполненное с возможностью корректировать параметры работы насоса, как предусмотрено, для перекачивания посредством устройства управления, причем устройство корректировки выбрано из группы, состоящей из основанной на программном обеспечении автоматической системы корректировки и системы ручного управления.

23. Система по п. 1 или 2, где насос представляет собой ротационный кровяной насос.

24. Система по п. 23, где ротационный кровяной насос содержит контактную опорную систему.

25. Система по п. 2, где по меньшей мере одна из первой трубки и второй трубки имеет по меньшей мере одно из следующего: а) длину в диапазоне между приблизительно 10 см и приблизительно 107 см; b) длину в диапазоне между приблизительно 35 см и приблизительно 50 см; или с) длину в диапазоне между приблизительно 60 см и приблизительно 65 см.

26. Система по п. 1 или 2, выполненная так, что деоксигенированную кровь переносят через по меньшей мере одно из следующего: а) первая трубка; b) впускное отверстие; с) насос; d) выпускное отверстие; или е) вторая трубка.

27. Способ постоянного увеличения наружного диаметра и диаметра просвета периферической вены пациента для создания артериовенозной фистулы или артериовенозного трансплантата, при этом способ включает этапы:
соединяют по текучей среде один конец узла насос-трубка с донорным сосудом;
соединяют по текучей среде другой конец узла насос-трубка с периферической веной; и
перекачивают кровь из донорного сосуда в периферическую вену при скорости потока и в течение периода времени, достаточных для того, чтобы вызвать постоянное увеличение наружного диаметра и диаметра просвета периферической вены, причем
а) перекачивание крови ведет к напряжению сдвига стенки принимающей вены большему или равному 0,76 Па,
б) перекачивание крови ведет к среднему пульсовому давлению в принимающей вене ниже 20 мм рт.ст., и
в) перекачивание крови ведет к увеличению общего диаметра периферической вены, которое остается постоянным после завершения перекачивания и после удаления узла насос-трубка.

28. Способ по п. 27, где по меньшей мере часть трубки узла насос-трубка, удаляющей кровь из донорного сосуда, располагают в просвете донорного сосуда.

29. Способ по п. 27, где дистальную часть трубки узла насос-трубка, переносящую кровь в периферическую вену, соединяют по текучей среде с периферической веной посредством хирургического анастомоза.

30. Способ по п. 27, где донорный сосуд выбирают из группы, состоящей из внутренней яремной вены, подмышечной вены, подключичной вены, брахицефалической вены, бедренной вены, подвздошной вены, верхней полой вены, нижней полой вены или правого предсердия.

31. Способ по п. 27, где периферической веной является вена в руке или ноге.

32. Способ по п. 31, где периферической веной является цефалическая вена, лучевая вена, срединная вена, локтевая вена, антекубитальная вена, срединная цефалическая вена, срединная базилярная вена, базилярная вена, плечевая вена, малая сафенная вена, большая сафенная вена или бедренная вена.

33. Способ по п. 27, где насосная часть узла насос-трубка остается экстракорпоральной по отношению к пациенту.

34. Способ по п. 27, где насосную часть узла насос-трубка имплантируют пациенту.

35. Способ по п. 27, где узел насос-трубка перекачивает кровь со скоростью между приблизительно 50 мл/мин и приблизительно 1500 мл/мин.

36. Способ по п. 27, где напряжение сдвига стенки в периферической вене составляет между приблизительно 0,76 Па и приблизительно 23 Па, когда узел насос-трубка работает.

37. Способ по п. 27, где напряжение сдвига стенки в периферической вене составляет между приблизительно 2,5 Па и приблизительно 7,5 Па, когда узел насос-трубка работает.

38. Способ по п. 27, где кровь перекачивают через узел насос-трубка на расстояние между приблизительно 20 см и приблизительно 200 см.

39. Способ по п. 27, где кровь переносят через по меньшей мере одно из следующего: а) первая трубка; b) впускное отверстие; с) насос; d) выпускное отверстие; или е) вторая трубка.

40. Способ по п. 27, где кровь перекачивают через узел насос-трубка в течение между приблизительно 7 сутками и приблизительно 84 сутками.

41. Способ по п. 27, который дополнительно содержит этапы:
перекачивают кровь в течение по меньшей мере 7 суток;
определяют диаметр просвета периферической вены и скорость потока крови через периферическую вену; и
измеряют скорость насосной части узла насос-трубка для того, чтобы сохранить желаемое напряжение сдвига стенки в периферической вене.

42. Способ по п. 41, где скорость насоса меняют вручную.

43. Способ по п. 27, где узел насос-трубка дополнительно содержит один или несколько датчиков для измерения кровяного давления или потока крови и блок управления:
принимает данные от одного или нескольких датчиков;
принимает информацию относительно диаметра периферической вены; и
корректирует скорость насоса на основе принимаемых данных и информации о диаметре вены для того, чтобы регулировать по меньшей мере одно из а) потока крови в периферической вене; или b) напряжения сдвига стенки в периферической вене.

44. Способ по п. 27, который дополнительно включает использование по меньшей мере части периферической вены с постоянно увеличенным наружным диаметром и диаметром просвета для создания участка сосудистого доступа для гемодиализа.

45. Способ по п. 44, где участок сосудистого доступа для гемодиализа представляет собой артериовенозную фистулу или артериовенозный трансплантат.

46. Способ по п. 27, где донорный сосуд является артерией, а кровь является оксигенированной.

Описание

[1]

ПРЕДПОСЫЛКИ ИЗОБРЕТЕНИЯ

[2]

1. Область изобретения

[3]

Настоящее изобретение относится к системам и способам для постоянного увеличения наружного диаметра и диаметра просвета вен у пациентов. В частности, настоящее изобретение относится к системам и способам, в которых используют кровяной насос для увеличения скорости крови и напряжения сдвига стенки (НСС) на эндотелии периферических вен в течение некоторого периода времени, которое ведет к постоянному увеличению наружного диаметра и диаметра просвета этих вен.

[4]

2. Уровень техники

[5]

У многих пациентов с хронической почечной недостаточностью в конечном счете развивается терминальная стадия почечной недостаточности (ТСПН) и необходима почечная замещающая терапия для того, чтобы удалять текучие вещества и продукты метаболизма из организма и поддерживать их жизнь. Многие пациенты с ТСПН, нуждающиеся в почечной замещающей терапии, получают гемодиализ. Во время гемодиализа кровь удаляют из кровеносной системы, очищают в гемодиализаторе и затем возвращают в кровеносную систему. Хирурги создают отдельные «участки сосудистого доступа», которые можно использовать для быстрого удаления и возвращения крови у пациентов с ТСПН. Несмотря на то, что значительные достижения выполнены в самих гемодиализаторах и других частях процесса гемодиализа, в создании прочных и надежных участков сосудистого доступа, в которых кровь можно удалять и возвращать пациентам во время процедур гемодиализа, наблюдается лишь небольшое улучшение и оно остается ахиллесовой пятой почечной замещающей терапии. Часто это ведет к заболеваниям и смерти пациентов с ТСПН и накладывает большие обязательства на поставщиков медицинских услуг, плательщиков и программы социального обеспечения по всему миру.

[6]

Участки гемодиализного доступа, как правило, имеют три формы: артериовенозные фистулы (АВФ), артериовенозные трансплантаты (АВТ) и катетеры. Каждый тип участка имеет высокую степень отказа и осложнения, как описано ниже.

[7]

АВФ конструируют хирургически посредством создания непосредственного соединения между артерией и веной. Функциональная АВФ на запястье является наиболее долговечной, наиболее желательной формой гемодиализного доступа, со средним раскрытым состоянием приблизительно 3 года. Вену, отводящую от соединения, называют «выходной» веной. Расширение выходной вены является критичным компонентом для «созревания» и использования АВФ. Распространено предположение, что быстрый поток крови в выходной вене, создаваемый посредством АВФ, и НСС, которое он прикладывают к эндотелию вены, является основным фактором, управляющим расширением вены. К сожалению, приблизительно 80% пациентов не подходят для размещения АВФ на запястье, обычно вследствие недостаточного диаметра вены. У подходящих пациентов, где пытаются разместить АВФ, участок нельзя использовать без дополнительного вмешательства приблизительно в 50-60% случаев, проблема известна как «невозможность созревания». Малый диаметр сосуда, в частности малый диаметр вены, идентифицирован в качестве важного фактора невозможности созревания АВФ. Быстрое образование агрессивного рубцевания стенок вен, известное как «гиперплазия интимы», также идентифицировано в качестве важного фактора невозможности созревания АВФ. В целом, полагают, что турбулентность, создаваемая быстрым потоком крови, выходящим из артерии в вену, является основным фактором, вызывающим рубцевание стенки этой вены. Некоторые исследователи также постулируют, что циклическое растягивание вены, обусловленное вхождением пульсирующей артериальной крови, также может играть роль в стимуляции гиперплазии интимы и обструкции выходной вены в АВФ. По существу, имеет место идея о том, что быстрый поток является проблематичным, и предприняты попытки, чтобы снизить поток в участках гемодиализного доступа посредством ограничения диаметра просвета посредством бандажирования для того, чтобы минимизировать степень отказа. В настоящее время не существует способа, который сохраняет положительные эффекты опосредованного потоком расширения, при этом устраняя отрицательные эффекты рубцевания и обструкции стенки вены. Не удивительно, что пациенты со вновь диагностированной ТСПН и нуждающиеся в гемодиализе имеют только 50% шанс иметь функциональную АВФ в течение 6 месяцев после начала гемодиализа. Тем пациентам, которые не имеют функциональную АВФ, приходится проходить диализ с использованием более дорогих форм сосудистого доступа и иметь более высокий риск осложнений, заболеваний и смерти.

[8]

Второй тип сосудистого доступа для гемодиализа известен как артериовенозный трансплантат (АВТ). АВТ конструируют посредством размещения сегмента синтетической трубки между артерией и веной, обычно в руке или ноге. Часть синтетической трубки помещают непосредственно под кожу и используют для игольного доступа. Для АВТ подходит больше пациентов, поскольку вены, которые не видно на поверхности кожи, можно использовать для выходного потока, а степень раннего отказа значительно ниже, чем для АВФ. К сожалению, среднее первичное раскрытое состояние АВТ составляет только приблизительно 4-6 месяцев, в основном, по причине быстрого развития агрессивной гиперплазии интимы и рубцевания в стенке вены рядом с соединением с синтетической трубкой, которые ведут к стенозу и тромбозу. Подобно ситуации с отказом АВФ, полагают, что быстрый и турбулентный поток крови, создаваемый посредством АВТ, управляет гиперплазией интимы и рубцеванием в стенке выходной вены, которые часто ведут к обструкции АВТ. Некоторые исследователи также постулируют, что циклическое растягивание вены, обусловленное вхождением пульсирующей артериальной крови, также может играть роль в формировании гиперплазии интимы и обструкции выходной вены в АВТ. Несмотря на то, что АВТ менее желательны, чем АВФ, приблизительно 25% пациентов проходят диализ с использованием АВТ, в основном потому, что они не подходят для получения АВФ.

[9]

Пациенты, не способные получать гемодиализ через АВФ или АВТ, должны иметь большой катетер, вставленный в шею, грудную клетку или ногу для того, чтобы получать гемодиализ. Часто происходит инфицирование этих катетеров, подвергающее пациента высокому риску сепсиса и смерти. Пациентам с катетерным сепсисом обычно требуется госпитализация, удаление катетера, установка временного катетера, лечение антибиотиками внутривенно и затем размещение нового катетера или другого типа участка доступа, когда инфекция устранена. Катетеры также подвержены обструкции тромбами и отложениями фибрина вокруг кончика. Гемодиализные катетеры имеют среднее раскрытое состояние приблизительно 6 месяцев и, как правило, представляют собой наименее желательную форму гемодиализного доступа. Несмотря на то, что катетеры являются менее желательными, чем АВФ и АВТ, приблизительно 20% пациентов проходят диализ с использованием катетера, в основном, потому, что они еще не способны получать функциональную АВФ или АВТ, или не подходят для получения АВФ или АВТ.

[10]

В последнее время проблеме отказа участка гемодиализного доступа уделяют больше внимания, поскольку в мире возросло число пациентов с ТСПН, подвергающихся регулярному гемодиализу. В 2004 году Centers for Medicare & Medicaid Services (CMS) объявило инициативу «Fistula First» для увеличения использования АВФ в предоставлении гемодиализного доступа для пациентов с терминальной стадией почечной недостаточности. Эта основная инициатива является ответом на опубликованные данные Medicare, которые показывают, что те пациенты, которые проходят диализ с использованием АВФ, имеют сниженную болезненность и смертность по сравнению с пациентами с АВТ или катетером. Затраты, связанные с пациентами с АВФ, по существу, ниже, чем затраты, связанные с пациентами с АВТ в первый год диализа и в последующие годы. Экономия затрат на диализ с использованием АВФ еще выше, если сравнивать с диализом с использованием катетера.

[11]

Чтобы подходить для АВФ или АВТ, пациент должен иметь периферическую вену с диаметром просвета по меньшей мере 2,5 мм или 4 мм, соответственно. Однако, в настоящее время не существует способа постоянного увеличения наружного диаметра и диаметра просвета периферических вен у пациентов с ТСПН, которые не подходят для АВФ или АВТ вследствие неподходящего размера вены. Следовательно, пациентам с венами, которые слишком малы для того, чтобы попробовать АВФ или АВТ, приходится использовать менее желательные формы сосудистого доступа, такие как катетеры. Аналогичным образом, в настоящее время не существует способа лечения невозможности созревания АВФ, которая непропорционально выпадает на долю пациентов с малым диаметром вен. Таким образом, нужны системы и способы увеличения наружного диаметра и диаметра просвета вены перед созданием АВФ или АВТ. Важность этой потребности подчеркнута недавним исследованием, которое демонстрирует, что пациенты с ТСПН, которым приходится использовать менее желательные формы сосудистого доступа, такие как катетеры, имеют, по существу, более высокий риск заболевания или смерти по сравнению с пациентами, которые способны использовать АВФ или АВТ для гемодиализа.

[12]

Также существует потребность постоянно увеличивать диаметр вены для других пациентов, таких как пациенты с атеросклеротическим закупориванием периферических артерий, которые нуждаются в трансплантации периферического шунта. Пациенты с заболеванием периферических артерий (ЗПА), которые имеют обструкцию потока крови в артериях ног, часто страдают от хромоты, образования язв на коже и ишемии тканей, и многим из этих пациентов в конечном итоге требуется ампутация частей пораженной конечности. У некоторых из этих пациентов обструкцию можно облегчить до адекватной степени посредством баллонной ангиопластики или имплантации сосудистого стента. Однако у многих пациентов обструкция является слишком тяжелой для этих типов минимальной инвазивной терапии. Следовательно, хирурги обычно будут создавать трансплантат шунта, который отводит кровь вокруг обструктивных артерий и восстанавливает достаточный поток крови в пораженную конечность. Однако многие пациенты, нуждающиеся в трансплантате периферического шунта, не могут использовать своих собственные вены в качестве шунтирующих трубок вследствие недостаточного диаметра вены, и им приходится использовать синтетические трубки, выполненные из таких материалов, как политетрафторэтилен (ПТФЭ, например, Gore-Tex) или полиэтилентерефталат (ПЭТ, например, Dacron). Исследования показали, что использование собственных вен пациента в качестве шунтирующих трубок ведет к улучшенному длительному раскрытому состоянию, чем использование синтетических шунтирующих трубок, выполненных из таких материалов, как ПТФЭ или Dacron. Использование синтетической шунтирующей трубки повышает риск стеноза в артерии на дистальном конце трансплантата и тромбоза всей трубки, что ведет к отказу трансплантата шутна и возвращению или ухудшению симптомов. Таким образом, необходимы системы и способы увеличения наружного диаметра и диаметра просвета вен перед созданием трансплантата шунта, в частности, для пациентов, которые не подходят для использования своих собственных вен для создания трансплантата шунта вследствие неподходящего диаметра вены.

[13]

Ввиду указанного выше, специалистам в данной области будет очевидно из этого раскрытия, что существует потребность в системе и способе постоянного увеличения диаметра просвета и наружного диаметра периферических вен с тем, чтобы эти вены можно было использовать для создания участков гемодиализного доступа и трансплантатов шунтов. Изобретение, описанное в настоящем документе, направлено на эту потребность в данной области, а также на другие потребности, которые будут очевидны специалистам в данной области из этого раскрытия.

[14]

СУЩНОСТЬ ИЗОБРЕТЕНИЯ

[15]

Настоящее изобретение относится к способам использования кровяного насоса для увеличения наружного диаметра и диаметра просвета периферических вен. Описаны системы и способы, где напряжение сдвига стенки (НСС), прикладываемое к эндотелию периферической вены, увеличивают посредством размещения кровяного насоса выше по потоку относительно периферической вены в течение периода времени, достаточного для того, чтобы привести к расширению периферической вены. Насос направляет кровь в периферическую вену предпочтительно таким образом, при котором кровь имеет пониженное давление по сравнению с пульсовым давлением крови в периферической артерии.

[16]

Исследования показали, что гемодинамические силы и изменения в гемодинамических силах в венах играют жизненно важную роль в определении наружного диаметра и диаметра просвета этих вен. Например, постоянные увеличения скорости крови и НСС могут вести к расширению вены, причем количество расширения зависит как от уровня увеличенной скорости крови и НСС, так и времени, в течение которого скорость крови и НСС повышены. Повышенную скорость крови и НСС воспринимают клетки эндотелия, которые запускают сигнальные механизмы, которые ведут к стимуляции сосудистых гладкомышечных клеток, привлечению моноцитов и макрофагов и синтезу и высвобождению протеаз, способных разрушать компоненты внеклеточного матрикса, такие как коллаген и эластин. По существу, настоящее изобретение относится к увеличению скорости крови и НСС в течение периода времени, достаточного, чтобы привести к ремоделированию и расширению вены, предпочтительно в течение периода времени более чем семь суток. Настоящее изобретение также относится к способам периодической корректировки параметров насоса, чтобы оптимизировать ремоделирование и расширение вены.

[17]

Показано, что напряжение сдвига стенки является ключевым фактором для расширения кровеносного сосуда в ответ на увеличенный поток крови. Если предположить в сосуде поток крови по Хагену-Пуазейлю (т.е. ламинарное течение с полностью развернутым параболическим профилем скоростей), то НСС задается уравнением

[18]

НСС(τ)=4Qμ/πR3,

[19]

где Q = объемная скорость потока, мл/с

[20]

μ = вязкость крови в единицах, П

[21]

R = радиус сосуда, см

[22]

τ = напряжение сдвига стенки, дина/см2

[23]

Системы и способы, описанные в настоящем документе, увеличивают уровень НСС в периферической вене. Нормальное НСС для вен находится в диапазоне между 0,076 Па и 0,76 Па. Системы и способы, описанные в настоящем документе, увеличивают уровень НСС до диапазона между 0,76 Па и 23 Па, предпочтительно до диапазона между 2,5 Па и 7,5 Па. Предпочтительно, НСС увеличивают в течение от 7 суток до 84 суток или предпочтительно от 7 до 42 суток, чтобы вызвать постоянное расширение в периферической принимающей вене так, что вены, которые были изначально непригодны для применения в качестве участка гемодиализного доступа или трансплантата шунта вследствие малого диаметра вены, становятся пригодными. Также это можно выполнять посредством периодического увеличения НСС во время периода лечения, находящегося между периодами нормального НСС.

[24]

Системы и способы, описанные в настоящем документе, также увеличивают скорость крови в периферических венах и в определенных случаях в периферических артериях. В покое средняя скорость крови в цефалической вене у человека, как правило, составляет 5-9 см/с, тогда как скорость крови в плечевой артерии, как правило, составляет 10-15 см/с. Для систем и способов, описанных в настоящем документе, среднюю скорость крови в периферической вене увеличивают до диапазона 15-100 см/с, предпочтительно до диапазона между 25 см/с и 100 см/с, в зависимости от диаметра периферической принимающей вены и длительности времени, в течение которого планируют прокачивание крови в периферическую принимающую вену. Предпочтительно, среднюю скорость крови увеличивают в течение от 7 суток до 84 суток, или предпочтительно от 7 до 42 суток, чтобы вызвать постоянное расширение в периферической принимающей вене так, что вены, которые изначально не подходили для применения в качестве участка гемодиализного доступа или трансплантата шунта вследствие малого диаметра вены, становятся пригодными. Также это можно выполнять посредством периодического повышения средней скорости крови во время периода лечения, находящегося между периодами нормальной средней скорости крови.

[25]

В настоящем документе изложен способ увеличения диаметра просвета и наружного диаметра периферической вены у пациента. Способ включает осуществление первой процедуры для получения доступа к артерии или вене (донорный сосуд) и периферической вене (принимающая вена) и соединение донорного сосуда с принимающей веной с использованием насосной системы. Затем насосную систему приводят в действие, чтобы искусственным образом направлять кровь из донорного сосуда в принимающую вену. Способ также включает мониторинг процесса перекачивания крови в течение определенного периода времени. Способ дополнительно включает корректировку скорости насоса, скорости перекачиваемой крови или НСС на эндотелии принимающей вены и снова мониторинг процесса перекачивания. По истечении определенного периода времени, чтобы сделать возможным расширение вены, диаметр принимающей вены измеряют для того, чтобы определить, достигнуто ли достаточное постоянное увеличение наружного диаметра и диаметра просвета принимающей вены, и, по мере необходимости, снова корректируют процесс перекачивания. Когда достигают достаточного количества постоянного увеличения наружного диаметра и диаметра просвета принимающей вены, осуществляют второе хирургическое вмешательство, чтобы удалить насос. Участок гемодиализного доступа (такой как АВФ или АВТ) или трансплантат шунта можно создавать в этот момент, или в более поздний момент, используя по меньшей мере часть постоянно увеличенной принимающей вены.

[26]

В одном из вариантов осуществления хирургическую процедуру осуществляют для того, чтобы обнажить сегменты двух вен. Один конец первой синтетической трубки соединяют «по текучей среде» (т.е. стыкуют просвет к просвету, чтобы сделать возможной между ними сообщение по текучей среде) с веной, из которой удаляют кровь (донорная вена). Другой конец первой синтетической трубки соединяют по текучей среде с входным портом насоса. Один конец второй синтетической трубки соединяют по текучей среде с веной, в которую следует направлять кровь (принимающая вена). Другой конец второй синтетической трубки соединяют по текучей среде с выходным портом того же насоса. Деоксигенированную кровь перекачивают из донорной вены в принимающую вену, пока вена постоянно расширена до желаемого наружного диаметра и диаметра просвета. Термин «постоянно расширена» используют в настоящем документе для обозначения того, что даже если насос выключают, увеличение наружного диаметра или диаметра просвета сосуда все еще может быть продемонстрировано по сравнению с диаметром вены до периода перекачивания крови. То есть сосуд стал более независимым от давления, создаваемого посредством насоса. После возникновения желаемого количества постоянного увеличения вены осуществляют вторую хирургическую процедуру, чтобы удалить насос и синтетические трубки. Участок гемодиализного доступа (такой как АВФ или АВТ) или трансплантат шунта можно создавать в этот момент или в более поздний момент, используя по меньшей мере часть постоянно увеличенной принимающей вены. В этом варианте осуществления, порт насоса может быть соединен по текучей среде непосредственно с донорной веной или принимающей веной без использования вставляемой синтетической трубки. В вариации этого варианта осуществления принимающая вена может быть расположена в одном местоположении в организме, например цефалическая вена в руке, а донорная вена может быть в другом местоположении, например бедренная вена в ноге. В этом случае два конца узла насос-трубка должны быть расположены в организме, а шунтирующая часть узла насос-трубка может быть экстракорпоральной (за пределами организма, например носимой под одеждой) или интракорпоральной (внутри организма, например проложенной под кожей). Кроме того, в определенных случаях донорный сосуд может быть более периферическим по относительному местоположению в организме, чем принимающая вена.

[27]

В другом варианте осуществления способ включает хирургическую процедуру, которую осуществляют для того, чтобы обнажить сегмент периферической артерии и сегмент периферической вены. Один конец первой синтетической трубки соединяют по текучей среде с периферической артерией. Другой конец первой синтетической трубки соединяют по текучей среде со входным портом насоса. Один конец второй синтетической трубки соединяют по текучей среде с периферической веной. Другой конец второй синтетической трубки соединяют по текучей среде с выходным портом того же насоса. Перекачивание оксигенированной крови из периферической артерии в периферическую вену осуществляют до тех пор, пока вена не будет постоянно расширена до желаемого наружного диаметра и диаметра просвета. Когда происходит желаемое количество увеличения вены, вторую хирургическую процедуру осуществляют для удаления насоса и синтетических трубок. Участок гемодиализного доступа (такой как АВФ или АВТ) или трансплантат шунта можно создавать в этот момент, или в более поздний момент, используя по меньшей мере часть постоянно увеличенной принимающей вены. Предусмотрена вариация этого варианта осуществления, где порт насоса может быть соединен по текучей среде непосредственно с артерией или веной без использования вставляемой синтетической трубки.

[28]

В еще одном другом варианте осуществления, пару специализированных катетеров вставляют в венозную систему. Первый конец одного катетера прикрепляют к входному порту насоса (далее «входной катетер»), тогда как первый конец другого катетера прикрепляют к выходному порту насоса (далее «выходной катетер»). Необязательно, два катетера могут быть соединены вместе, например, с использованием двухпросветного катетера. Катетеры конфигурируют для того, чтобы вставлять в просвет венозной системы. После вставления кончик второго конца входного катетера размещают в любом месте в венозной системе, где достаточное количество крови может быть забрано во входной катетер (например, правое предсердие, верхняя полая вена, подключичная вена, или брахицефалическая вена). После вставления кончик второго конца выходного катетера размещают в сегменте периферической вены (принимающей вены) в венозной системе, куда можно доставлять кровь посредством выходного катетера (например, цефалическая вена). Затем насос засасывает деоксигенированную кровь в просвет входного катетера из донорной вены и выбрасывает кровь из выходного катетера и в просвет принимающей вены. В этом варианте осуществления насос и часть входного катетера и выходные катетеры остаются вне пациента. Насос работает до тех пор, пока в принимающей вене не возникнет желаемое количество постоянного увеличения наружного диаметра и диаметра просвета, после чего насос и катетеры удаляют. Участок гемодиализного доступа (такой как АВФ или АВТ) или трансплантат шунта можно создавать в этот момент, или в более поздний момент, используя по меньшей мере часть постоянно увеличенной принимающей вены.

[29]

Предусмотрена система для увеличения скорости крови и НСС в вене посредством доставки деоксигенированной крови из донорной вены в принимающую вену у пациента, которая содержит две синтетические трубки, каждая с двумя концами, кровяной насос, блок управления и источник питания. Эта система также может содержать один или несколько блоков датчиков. В одном из вариантов осуществления системы синтетические трубки и насос, совместно известные как «узел насос-трубка», выполнены с возможностью засасывать деоксигенированную кровь из донорной вены или правого предсердия и закачивать эту кровь в принимающую вену. Узел насос-трубка выполнен с возможностью перекачивать деоксигенированную кровь. В другом варианте осуществления системы, узел насос-трубка выполнена с возможностью засасывать оксигенированную кровь из периферической артерии и закачивать кровь в периферическую вену. Кровь перекачивают таким образом, который увеличивает скорость крови в артерии и вене и увеличивает НСС, прикладываемое к эндотелию артерии и вены в течение периода времени, достаточного для того, чтобы вызвать постоянное увеличение в наружнем диаметре и диаметре просвета периферической артерии и вены. Предпочтительно, кровь, перекачиваемая в периферическую вену, имеет низкую пульсацию, например более низкую пульсацию, чем кровь в периферической артерии. Предусмотрена вариация этого варианта осуществления, в соответствии с которой насос соединяют по текучей среде непосредственно с артерией или веной (или с обеими) без использования вставляемой синтетической трубки. Насос содержит впускное и выпускное отверстия, и насос выполнен с возможностью доставлять деоксигенированную или оксигенированную кровь в периферическую вену таким образом, который увеличивает скорость крови в вене и НСС, прикладываемое к эндотелию в вене, для того чтобы вызвать постоянное увеличение наружного диаметра и диаметра просвета периферической вены. Кровяной насос может быть имплантирован пациенту, может оставаться вне пациента или может иметь имплантированные и внешние части. Все или некоторые синтетические трубки могут быть имплантированы пациенту, могут быть имплантированы подкожно или могут быть имплантированы внутри просвета венозной системы, или любое их сочетание. Можно периодически осуществлять мониторинг и корректировку имплантированных частей узла насос-трубка, например, каждые семь суток.

[30]

Изобретение содержит также предусмотренные способы увеличения скорости крови в периферической вене и увеличения НСС, которое прикладывают к эндотелию периферической вены пациента-человека, нуждающегося в участке гемодиализного доступа или трансплантате шунта. С этой целью также можно использовать устройство, разработанное для усиления артериального потока крови для лечения сердечной недостаточности. В частности, вспомогательное желудочковое устройство (ВЖУ), которое оптимизировано для слабого потока крови, будет способно перекачивать кровь из донорного сосуда в периферическую вену, чтобы вызвать постоянное увеличение наружного диаметра и диаметра просвета периферической вены. В различных вариантах осуществления можно использовать педиатрическое ВЖУ, или миниатюрное ВЖУ, разработанное для лечения умеренной сердечной недостаточности у взрослых (такое, как насос Synergy компании Circulite). Также можно использовать другие устройства, включая ЛВЖУ или ПВЖУ, которые оптимизированы для слабого потока крови.

[31]

Способ включает соединение по текучей среде слаботочного ВЖУ, его производного или устройства схожего типа с донорным сосудом, засасывание крови из донорного сосуда и закачивание ее в периферическую принимающую вену в течение достаточного количества времени, чтобы вызвать желаемое количество постоянного увеличения наружного диаметра и диаметра просвета периферической вены. Кровяной насос может быть имплантирован пациенту или он может оставаться вне пациента. Когда насос находится вне пациента, он может быть прикреплен к пациенту для непрерывного перекачивания. Альтернативно, насос можно выполнить с возможностью открепления от донорного и принимающего сосудов пациента для периодических и/или прерывистых сеансов перекачивания.

[32]

Можно осуществлять мониторинг диаметра просвета периферических принимающих вен, при этом перекачивая кровь в вену, используя стандартные способы, такие как визуализация с использованием ультразвука или диагностическая ангиография. Узел насос-трубка или узел насос-катетер может содержать признаки, которые облегчают диагностическую ангиографию, например рентгеноконтрастные маркеры, которая идентифицирует участки, к которым можно получить доступ с использованием иглы для инъекции контраста в узел, который впоследствии будет течь в принимающую периферическую вену и делать ее видимой во время флуороскопии с использованием как стандартной, так и цифровой субстракционной ангиографии.

[33]

Когда часть узла насос-трубка или узла насос-катетер* размещают вне организма, тогда противомикробное покрытие или манжета может быть прикреплена к части устройства, которая соединяет имплантированный и внешний компоненты. Например, когда контроллер и/или источник питания, прикрепленный к ремню, прикрепляют ремнем к запястью или носят в сумке или пакете, тогда противомикробное покрытие помещают на или вокруг соединения и/или входной точки, в которой устройство входит в организм пациента.

[34]

Эти и другие цели, признаки, аспекты и преимущества настоящего изобретения станут яснее специалистам в данной области из следующего подробного описания, которое, взятое в сочетании с прилагаемыми чертежами, раскрывает предпочтительные варианты осуществления настоящего изобретения.

[35]

КРАТКОЕ ОПИСАНИИЕ ЧЕРТЕЖЕЙ

[36]

Далее, со ссылкой на приложенные чертежи, которые образуют часть этого оригинального раскрытия:

[37]

на фиг. 1A представлен схематический вид узла насос-трубка системы и способа в соответствии с первым вариантом осуществления настоящего изобретения;

[38]

на фиг. 1B представлен схематический вид узла насос-трубка с фиг. 1A, как применяют к кровеносной системе пациента в соответствии с первым вариантом осуществления настоящего изобретения;

[39]

на фиг. 1С представлен увеличенный вид части фиг. 1B;

[40]

на фиг. 2A представлен схематический вид узла насос-трубка системы и способа в соответствии с вторым вариантом осуществления настоящего изобретения;

[41]

на фиг. 2B представлен схематический вид узла насос-трубка с фиг. 2A, как применяют к кровеносной системе пациента в соответствии с вторым вариантом осуществления настоящего изобретения;

[42]

на фиг. 2C представлен увеличенный вид части фиг. 2B;

[43]

на фиг. 3 представлен схематический вид узла насос-трубка системы и способа, как применяют к кровеносной системе пациента в соответствии с третьим вариантом осуществления настоящего изобретения;

[44]

на фиг. 4A представлен схематический вид узла насос-катетер системы и способа в соответствии с четвертым вариантом осуществления настоящего изобретения;

[45]

на фиг. 4B представлен схематический вид узла насос-катетер с фиг. 4A, как применяют к кровеносной системе пациента в соответствии с четвертым вариантом осуществления настоящего изобретения;

[46]

на фиг. 5A представлен схематический вид узла насос-трубка системы и способа в соответствии с пятым вариантом осуществления настоящего изобретения;

[47]

на фиг. 5B представлен схематический вид узла насос-трубка с фиг. 5A, как применяют к кровеносной системе пациента в соответствии с пятым вариантом осуществления настоящего изобретения;

[48]

на фиг. 6 представлено схематическое изображение насоса, работающего в сочетании с блоком управления, для использования в любом из указанных выше вариантов осуществления;

[49]

на фиг. 7 представлена блок-схема способа в соответствии с первым и третьим вариантам осуществления настоящего изобретения;

[50]

на фиг. 8 представлена блок-схема способа в соответствии со вторым и четвертым вариантами осуществления настоящего изобретения; и

[51]

на фиг. 9 представлена блок-схема способа в соответствии с пятым вариантом осуществления настоящего изобретения.

[52]

ПОДРОБНОЕ ОПИСАНИЕ ПРЕДПОЧТИТЕЛЬНЫХ ВАРИАНТОВ ОСУЩЕСТВЛЕНИЯ

[53]

Далее предпочтительные варианты осуществления настоящего изобретения объяснены со ссылкой на чертежи. Из этого раскрытия специалистам в данной области будет очевидно, что следующее описание вариантов осуществления настоящего изобретения предоставлено только для иллюстрации и не для ограничения изобретения, как определено посредством приложенной формулы изобретения и ее эквивалентов. Сначала, со ссылкой на фиг. 1-4, проиллюстрирована система 10 для увеличения наружного диаметра вен, как используют для пациента 20. Система 10 удаляет деоксигенированную венозную кровь из венозной системы пациента 22 и перенаправляет эту кровь в принимающую периферическую вену 30. Система 10 также увеличивает скорость крови в принимающей периферической вене 30 и увеличивает НСС, прикладываемое к эндотелию принимающей периферической вены 30, для увеличения диаметра принимающей периферической вены 30, которая расположена, например, в руке 24 или ноге 26. Диаметр кровеносных сосудов, таких как периферические вены, можно определять посредством измерения диаметра просвета, который представляет собой открытое пространство в центре кровеносного сосуда, где течет кровь. Для целей этой заявки это измерение обозначают как «диаметр просвета». Диаметр кровеносных сосудов можно определять посредством измерения диаметра таким образом, который включает стенку кровеносного сосуда. Для целей этой заявки это измерение обозначают как «наружный диаметр». Изобретение относится к одновременному и постоянному увеличению наружного диаметра и диаметра просвета периферической вены посредством направления крови (предпочтительно со слабой пульсацией) в периферическую вену, тем самым увеличивая скорость крови в периферической вене и увеличивая НСС на эндотелии периферической вены. Описаны системы и способы, где скорость крови в периферической вене и НСС на эндотелии периферической вены увеличивают посредством использования насоса. Предпочтительно, насос направляет кровь в периферическую вену, где перекачиваемая кровь имеет сниженную пульсацию, например, когда пульсовое давление ниже, чем у крови в периферической артерии.

[54]

Описанные в настоящем документе системы и способы увеличивают уровень НСС в периферической вене. Нормальное НСС для вен варьирует между 0,076 Па и 0,76 Па. Описанные в настоящем документе системы и способы выполнены с возможностью увеличения уровня НСС в принимающей периферической вене до диапазона приблизительно от 0,76 Па до 23 Па, предпочтительно до диапазона от 2,5 Па до 7,5 Па. Поддерживаемое НСС менее чем 0,76 Па может расширять вены, но при скорости, которая сравнительно мала. Поддерживаемое НСС более чем 23 Па вероятно вызовет денудацию (утрату) эндотелия вены, который, как известно, задерживает расширение кровеносных сосудов в ответ на увеличение скорости крови и НСС. Перекачивание крови таким образом, который увеличивает НСС до желаемого диапазона в течение предпочтительно по меньшей мере 7 суток, и более предпочтительно между приблизительно 14 и 84 сутками, например, дает такое количество постоянного расширения в принимающей периферической вене, что вены, которые изначально были непригодны для применения в качестве участка гемодиализного доступа или трансплантата шунта вследствие малого диаметра вены, становятся пригодными. Можно периодически осуществлять мониторинг и коррекцию процесса перекачивания крови. Например, насос можно корректировать каждые семь суток, чтобы учитывать изменения в периферической вене до достижения желаемого постоянного расширения.

[55]

Описанные в настоящем документе системы и способы также увеличивают скорость крови в периферических венах и в определенных случаях, в периферических артериях. В покое средняя скорость крови в цефалической вене у людей, как правило, составляет 5-9 см/с, тогда как скорость крови в плечевой артерии, как правило, составляет 10-15 см/с. Для описанных в настоящем документе систем и способов среднюю скорость крови в периферической вене увеличивают до диапазона 15-100 см/с, предпочтительно до диапазона от 25 см/с до 100 см/с, в зависимости от диаметра периферической принимающей вены и запланированной длительности времени перекачивания крови в периферическую принимающую вену. Предпочтительно, среднюю скорость крови увеличивают в течение между 7 сутками и 84 сутками, или предпочтительно между 7 и 42 сутками, чтобы вызвать такое постоянное расширение периферической принимающей вены, что вены, которые изначально были не пригодны для применения в качестве участка гемодиализного доступа или трансплантата шунта вследствие малого диаметра вены, становятся пригодными. Также это можно выполнять посредством периодического увеличения средней скорости крови во время периода лечения, находящегося между периодами нормальной средней скорости крови.

[56]

Исследования показали, что гемодинамические силы и изменения гемодинамических сил внутри вен играют жизненно важную роль в определении наружного диаметра и диаметра просвета этих вен. Например, постоянное увеличение скорости крови и НСС может вести к расширению вены. Повышенную скорость крови и НСС воспринимают клетки эндотелия, которые запускают сигнальные механизмы, которые ведут к стимуляции сосудистых гладкомышечных клеток, привлечению моноцитов и макрофагов и синтезу и высвобождению протеаз, способных разрушать компоненты внеклеточного матрикса, такие как коллаген и эластин. По существу, настоящее изобретение относится к увеличению скорости крови и НСС в течение периода времени, достаточного, чтобы привести к ремоделированию и расширению вены.

[57]

Если предположить в сосуде поток крови по Хагену-Пуазейля (т.е. ламинарное течение с полностью развернутым параболическим профилем скоростей), то НСС можно определять, используя уравнение

[58]

НСС(τ)=4Qμ/πR3,

[59]

где Q = объемная скорость потока, мл/с

[60]

μ = вязкость крови в единицах, П

[61]

R = радиус сосуда, см

[62]

τ = напряжение сдвига стенки, дина/см2

[63]

Описанные в настоящем документе системы и способы увеличивают уровень НСС в периферической вене. Нормальное НСС для вен находится в диапазоне между 0,076 Па и 0,76 Па. Описанные в настоящем документе системы и способы увеличивают уровень НСС до диапазона между 0,76 Па и 23 Па, предпочтительно до диапазона между 2,5 Па и 7,5 Па. Предпочтительно, НСС увеличивают в течение между 7 сутками и 84 сутками или предпочтительно между 7 и 42 сутками, чтобы вызвать такое постоянное расширение в периферической принимающей вене, что вены, которые изначально были непригодны для применения в качестве участка гемодиализного доступа или трансплантата шунта вследствие малого диаметра вены, становятся пригодными. Также это можно выполнять посредством периодического увеличения НСС во время периода лечения, находящегося между периодами нормального НСС.

[64]

Уровни НСС в принимающей периферической вене ниже чем 0,076 Па могут расширять вены, однако, вероятно, это будет происходить с низкой скоростью. Уровни НСС в принимающих периферических венах, более высокие, чем приблизительно 23 Па, вероятно, вызывают денудацию (утрату) эндотелия вен.

[65]

Известно, что денудация эндотелия кровеносных сосудов задерживает расширение в условиях повышенной скорости крови и НСС. Повышенное НСС вызывает такое достаточное постоянное расширение вен, что те, которые изначально были непригодными для применения в качестве участка гемодиализного доступа или трансплантата шунта вследствие малого диаметра, становятся пригодными. Диаметр принимающей вены можно определять периодически, например, каждые 7-14 суток, например, чтобы предусмотреть корректировку скорости насоса для того, чтобы оптимизировать расширение вены во время периода лечения.

[66]

Описанные в настоящем документе системы и способы также увеличивают скорость крови в периферических венах и в определенных случаях в периферических артериях. В покое средняя скорость крови в цефалической вене у людей, как правило, составляет 5-9 см/с, тогда как скорость крови в плечевой артерии, как правило, составляет 10-15 см/с. Для описанных в настоящем документе систем и способов среднюю скорость крови в периферической вене увеличивают до диапазона 15-100 см/с, предпочтительно до диапазона между 25 см/с и 100 см/с, в зависимости от диаметра периферической принимающей вены и запланированной длительности времени перекачивания крови в периферическую принимающую вену. Предпочтительно, среднюю скорость крови увеличивают в течение между 7 сутками и 84 сутками или предпочтительно между 7 и 42 сутками, чтобы вызвать такое постоянное расширение в периферической принимающей вене, что вены, которые изначально были непригодны для применения в качестве участка гемодиализного доступа или трансплантата шунта вследствие малого диаметра вены, становятся пригодными. Уровни средней скорости крови в принимающей периферической вене ниже, чем 15 см/с, могут расширять вены, однако, вероятно, это будет происходить с низкой скоростью. Уровни средней скорости крови в принимающих периферических венах, более высокие, чем приблизительно 100 см/с, вероятно, вызовут денудацию (утрату) эндотелия вен. Известно, что денудация эндотелия кровеносных сосудов задерживает расширение в условиях увеличенной скорости крови. Увеличенная средняя скорость крови вызывает такое достаточное постоянное расширение вен, что те, которые изначально были непригодны для применения в качестве участка гемодиализного доступа или трансплантата шунта вследствие малого диаметра, становятся пригодными. Диаметр принимающей вены можно определять периодически, например, каждые 7-14 суток, например, чтобы предусмотреть корректировку скорости насоса для того, чтобы оптимизировать расширение вены во время периода лечения.

[67]

Со ссылкой на фиг. 1-3, система 10 содержит узел насос-трубка 12 для того, чтобы направлять деоксигенированную венозную кровь из донорной вены 29 венозной системы 22 пациента 20 в периферическую или принимающую вену 30. В различных вариантах осуществления периферическая или принимающая вена 30 может являться цефалической веной, лучевой веной, срединную вену, локтевую вену, антекубитальную вену, срединную цефалическую вену, срединную базилярную вену, базилярную вену, плечевую вену, малую сафенную вену, большую сафенную вену или бедренную вену. Можно использовать другие вены, которые можно использовать в создании участка гемодиализного доступа или трансплантата шунта, или другие вены, которые можно использовать для других сосудистых хирургических процедур, требующих использования вен. Узел насос-трубка 12 доставляет деоксигенированную кровь в периферическую или принимающую вену 30. Высокая скорость крови 34 и повышенное НСС в периферической вене 30 заставляет периферическую или принимающую вену 30 увеличиваться с течением времени. Таким образом, система 10 и способ 100 (со ссылкой на фиг. 7-9) по настоящему изобретению предпочтительно увеличивают диаметр периферической или принимающей вены 30 с тем, чтобы ее можно было использовать, например, для конструирования участка доступа АВФ или АВТ для гемодиализа или в качестве трансплантата шунта.

[68]

Как используют в настоящем документе, деоксигенированная кровь представляет собой кровь, которая прошла через капиллярную систему и из которой кислород удален окружающими тканями и которая затем прошла в венозную систему 22. Периферическая вена 30, как используют в настоящем документе, обозначает любую вену с частью, находящейся вне грудной клетки, живота или таза. В варианте осуществления, представленном на фиг. 1A и 2A, периферическая или принимающая вена 30 представляет собой цефалическую вену. Однако в других вариантах осуществления периферическая вена 30 может представлять собой лучевую вену, срединную вену, локтевую вену, антекубитальную вену, срединную цефалическую вену, срединную базилярную вену, базилярную вену, плечевую вену, малую сафенную вену, большую сафенную вену или бедренную вену. В дополнение к периферической вене, также можно использовать другие вены, которые могут быть использованы в создании участка гемодиализного доступа или трансплантата шунта, или другие вены, которые можно использовать для других сосудистых хирургических процедур, требующих использования вен, таких как те, что находятся в грудной клетке, животе и тазу.

[69]

Для тог, чтобы снизить пульсацию и/или обеспечить поток со слабой пульсацией, можно использовать множество способов гашения пульсации. В качестве примера, а не ограничения, такие способы включают регулировку характеристик пульсирующего выброса кровяного насоса, добавление податливости выходному потоку насоса и/или модулирование скорости насоса.

[70]

АВФ, созданная с использованием цефалической вены на запястье, является предпочтительной формой сосудистого доступа для гемодиализа, но часто эта вена недостаточного диаметра, чтобы способствовать созданию АВФ в этом местоположении. Таким образом, настоящее изобретение наиболее полезно для создания АВФ на запястье у пациентов с ТСПН и увеличения процентной доли пациентов с ТСПН, которые получают гемодиализ с использованием АВФ на запястье в качестве участка сосудистого доступа.

[71]

Узел насос-трубка 12 содержит кровяной насос 14 и синтетические трубки 16 и 18, т.е. входную трубку 16 и выходную трубку 18. Кровяные насосы разрабатывались в качестве компонента вспомогательных желудочковых устройств (ВЖУ) и миниатюризированы для лечения как взрослых пациентов с умеренной сердечной недостаточностью, так и педиатрических пациентов. Эти насосы можно имплантировать или оставлять вне пациента и обычно их соединяют с контроллером и источником питания. Со ссылкой на фиг. 6, проиллюстрировано схематическое изображение узла насос-трубка 12. Насос 14 может представлять собой ротационный насос, такой как аксиальный, диагональный или центробежный насос. Без учета конкретных ограничений, переноску для насоса 14 можно сконструировать с использованием магнитных полей, с использованием гидродинамических сил или используя переноску с механическим контактом, такую как двухштырьковая переноска. Можно использовать насосы, используемые в педиатрических системах ВЖУ или других слаботочных системах ВЖУ. Альтернативно, насос 14 может представлять собой экстракардиальный насос, такой как тот, что показан и описан в патентах США №№ 6015272 и 6244835, оба они, таким образом, включены в настоящий документ в качестве ссылки. Эти насосы пригодны для использования в системе 10 и способе 100 по настоящему изобретению. Насос 14 имеет впускное отверстие 38 для того, чтобы получать деоксигенированную кровь, засасываемую через входную трубку 16, и выпускное отверстие 40, чтобы поток крови 34 выходил из насоса 14. В отношении насосов, используемых в педиатрических системах ВЖУ или других слаботочных системах ВЖУ, пригодных для использования в качестве насоса 14 по настоящему изобретению, эти насосы могут иметь размеры, приблизительно такие же маленькие, как приблизительно размеры размер батарейки AA или диаметр монеты в половину или четверть доллара Соединенных Штатов, и могут весить всего лишь приблизительно 25-35 г или менее. Эти насосы разрабатывают для перекачивания, например, приблизительно от 0,3 до 1,5 л/мин или от 1 до 2,5 л/мин. Можно создавать модификации этих насосов для уменьшения этого диапазона всего лишь до 0,05 л/мин для использования в венах малого диаметра. Объем заполнения может составлять, например, приблизительно 0,5-0,6 мл. Контактирующие с кровью поверхности насоса 14 предпочтительно включают Ti6Al4V и технически чистые сплавы титана, а также могут включать другие материалы, такие как керамика и полимеры, поддающиеся литьевому формованию, и альтернативные сплавы титана, например Ti6Al7Nb. Контактирующая с кровью поверхность также предпочтительно имеет одно или несколько покрытий и обработок поверхности. По существу, любое из множества насосных устройств можно использовать при условии, что оно может быть соединено с сосудистой системой и может перекачивать такое достаточное количество крови, что достигают желаемого НСС в принимающей вене.

[72]

Насос 14 содержит различные компоненты 42 и двигатель 44, как показано на фиг. 6. Различные компоненты 42 и двигатель 44 могут представлять собой те, которые являются обыкновенными для ВЖУ. Например, компоненты 42 включают одно или несколько из вала, лопаток импеллера, переноски, лопатки статора, ротор или статор. Ротор может быть магнитно левитирующим. Двигатель 44 может содержать статор, ротор, катушку и магниты. Двигатель 44 может представлять собой любой подходящий электрический двигатель, такой как многофазовый двигатель, управляемый посредством тока с модулированной шириной импульса.

[73]

Система 10 и способ 100 могут использовать один или несколько насосов, описанных в следующих публикациях: PediaFlow™ Pediatric Ventricular Assist Device, P. Wearden, et al., Pediatric Cardiac Surgery Annual, стр. 92-98, 2006; J. Wu et al., Designing with Heart, ANSYS Advantage, Vol. 1, выпуск 2, стр. sl2-sl3, 2007; и J. Baldwin, et al., The National Heart, Lung, and Blood Institute Pediatric Circulatory Support Program, Circulation, том 113, стр. 147-155, 2006. Другие примеры насосов, которые можно использовать в качестве насоса 14, включают: Novacor, PediaFlow, Levacor, или MiVAD из World Heart, Inc.; Debakey Heart Assist 1-5 из Micromed, Inc.; HeartMate XVE, HeartMate II, HeartMate III, IVAD или PVAD из Thoratec, Inc.; Impella, BVS5000, AB5000 или Symphony из Abiomed, Inc.; TandemHeart из CardiacAssist, Inc.; VentrAssist из Ventracor, Inc.; Incor или Excor из Berlin Heart, GmbH; Duraheart из Terumo, Inc.; HVAD или MVAD из HeartWare, Inc.; Jarvik 2000 Flowmaker или Pediatric Jarvik 2000 Flowmaker из Jarvik Heart, Inc.; Gyro C1E3 из Kyocera, Inc.; CorAide или PediPump из Cleveland Clinic Foundation; MEDOS HIA VAD из MEDOS Medizintechnik AG; pCAS из Ension, Inc; Synergy из Circulite, Inc; CentriMag, PediMag и UltraMag из Levitronix, LLC; и BP-50 и BP-80 из Medtronic, Inc. Можно осуществлять мониторинг и коррекцию насосов вручную или с использованием программы программного обеспечения, приложения или другой автоматизированной системы. Программа программного обеспечения может автоматически корректировать скорость насоса для поддержания желаемого потока крови и НСС в принимающей вене. Альтернативно, диаметр вены и поток крови можно периодически проверять вручную и можно вручную корректировать насос, например, посредством регулировки характеристик пульсирующего выброса насоса, добавления податливости выходному потоку насоса и/или модулирования скорости насоса. Также можно выполнять другие корректировки.

[74]

Синтетические трубки 16 и 18 состоят из ПТФЭ и/или Dacron, предпочтительно армированного с тем, чтобы синтетические трубки 16 и 18 были менее подвержены скручиванию и обструкции. Все или часть трубок 16 и 18 может состоять из материалов, общеупотребительных в создании гемодиализных катетеров, таких как поливинилхлорид, полиэтилен, полиуретан и/или силикон. Синтетические трубки 16 и 18 могут состоять из любого материала или комбинации материалов при условии, что трубки 16 и 18 проявляют необходимые характеристики, такие как гибкость, стерильность, сопротивление скручиванию и, при необходимости, могут быть соединены с кровеносным сосудом через анастомоз или вставлены в просвет кровеносного сосуда. Вдобавок, синтетические трубки 16 и 18 предпочтительно проявляют характеристики, необходимые для туннелизации (по мере необходимости), и имеют люминальные поверхности, которые устойчивы к тромбозу. В качестве другого примера, синтетические трубки 16 и 18 могут иметь внешний слой, состоящий из материала, отличающегося от люминального слоя. Синтетические трубки 16 и 18 также могут быть покрыты силиконом, чтобы содействовать удалению из организма и избежать аллергии на латекс. В определенных вариантах осуществления соединение между синтетической трубкой 16 или 18 и веной 29 или 30 выполняют с использованием стандартного хирургического анастомоза, используя шов непрерывного или раздельного типа, который в дальнейшем описывают как «анастомозное соединение». Анастомозное соединение также можно выполнять с использованием хирургических скоб и других стандартных путей выполнения анастомозов.

[75]

Со ссылкой на фиг. 1-3, синтетическая входная трубка 16 имеет первый конец 46, выполненный с возможностью соединения по текучей среде с донорной веной 29 или правым предсердием 31 сердца, и второй конец 48, соединенный с впускным отверстием 38 насоса 14. Донорная вена 29 может включать антекубитальную вену, базилярную вену, плечевую вену, подмышечную вену, подключичную вену, яремную вену, брахицефалическую вену, верхнюю полую вену, малую сафенную вену, большую сафенную вену, бедренную вену, общую подвздошную вену, наружную подвздошную вену, верхнюю полую вену, нижнюю полую вену или другие вены, способные обеспечивать достаточный поток крови к насосу с целью вызывать постоянное расширение принимающей периферической вены. Синтетическая выходная трубка 18 имеет первый конец 52, выполненный с возможностью соединения по текучей среде с периферической принимающей веной 30, и второй конец 54, соединенный с выпускным отверстием 40 насоса 14. Узел насос-трубка 12 выполнена с возможностью перенаправлять кровь из донорной вены 29 в периферическую принимающую вену 30 таким образом, который увеличивает скорость крови и НСС в периферической вене до желаемого уровня в течение периода времени, достаточного для того, чтобы вызвать постоянное увеличение наружного диаметра и диаметра просвета периферической вены. В определенных вариантах осуществления часть синтетических трубок 16, 18 может быть экстракорпоральной по отношению к пациенту 20. Со ссылкой на фиг. 1 и 3, первый конец 46 входной трубки 16 и первый конец 52 выходной трубки 18 конфигурируют для анастомозного соединения. Как показано на фиг. 1B и 1С, первый конец 46 соединяют по текучей среде с внутренней яремной веной (которая служит в качестве донорной вены 29) через анастомозное соединение, и первый конец 52 выходной трубки 18 соединяют по текучей среде с цефалической веной (которая выполняет функцию периферической принимающей вены 30) через анастомозное соединение.

[76]

Со ссылкой на фиг. 2A-2C, первый конец 46 синтетической входной трубки 16 сконфигурирован в качестве катетера. Соединение по текучей среде между синтетической входной трубкой 16 и венозной системой выполняют посредством размещения кончика катетерной части 50 синтетической входной трубки в верхнюю полую вену 27, которое в дальнейшем описывают как «катетерное соединение». Когда катетерное соединение выполняют с использованием донорной вены 29 (в этом случае, верхней полой вены 27), катетерная часть 50 синтетической входной трубки 46 может входить в венозную систему в любом местоположении, где диаметр вены просвета достаточен для того, чтобы принять катетерную часть 50. Кончик катетерной части 50 может быть размещен в любом местоположении, где достаточно кровь засосать в катетер, чтобы обеспечить желаемый поток крови 34 в принимающую вену 30. Предпочтительные местоположения для кончика катетерной части 50 включают, но без ограничения брахицефалическую вену, верхнюю полую вену 27 и правое предсердие 31. В варианте осуществления, проиллюстрированном на фиг. 2B-2C, система 10 засасывает деоксигенированную кровь из верхней полой вены 27 пациента 20 и перенаправляет ее в цефалическую вену 30 в руке 24.

[77]

В другом варианте осуществления, представленном на фиг. 3, система 10 перенаправляет деоксигенированную венозную кровь из донорной вены 29 (в этом случае, более центральной части большой сафенной вены) в периферическую принимающую вену 30 (в этом случае, более периферическую часть большой сафенной вены) в ноге 26, тем самым увеличивая скорость крови и НСС в принимающей вене до желаемого уровня и в течение периода времени, достаточного для того, чтобы вызвать постоянное увеличение диаметра просвета и наружного диаметра принимающей большой сафенной вены 30. В варианте осуществления, представленном на фиг. 3, входную трубку 16 соединяют по текучей среде с большой сафенной веной 29 пациента 20 через анастомозное соединение. В некоторых вариантах осуществления кровь перекачивают в принимающую вену с пульсацией, которая снижена по сравнению с пульсацией крови в периферической артерии. Например, среднее пульсовое давление в принимающей вене, смежной с соединением с выходной трубкой, составляет <40 мм рт.ст., <30 мм рт.ст., <20 мм рт.ст., <10 мм рт.ст., или предпочтительно <5 мм рт.ст. при работающем насосе. Перекачивание крови в периферическую вену и увеличение скорости крови и НСС продолжают в течение периода времени, достаточного для того, чтобы вызвать постоянное увеличение наружного диаметра и диаметра просвета принимающего сегмента большой сафенной вены 30 для облегчения выделения и аутотрансплантации в качестве части хирургической операции для создания сердечного или периферического трансплантата шунта или другой хирургической операции, которая требует аутотрансплантации части вены пациента.

[78]

Со ссылкой на фиг. 4A, в другом варианте осуществления экстракорпоральный насос 114 прикрепляют к специализированным катетерам, входному катетеру 55 и выходному катетеру 56, чтобы сформировать узел катетер-насос 13. Насос 114 засасывает деоксигенированную кровь в просвет входного катетера 55 из донорной вены 29 и затем выбрасывает кровь из выходного катетера 56 и в просвет периферической принимающей вены 30, тем самым увеличивая скорость крови и НСС в периферической принимающей вене 30.

[79]

На фиг. 4A и 4B проиллюстрирован другой вариант осуществления системы 10. Узел насос-катетер 13 выполнен с возможностью увеличения скорости крови и НСС в сегменте вены d. Входной катетер 55 и выходной катетер 56 необязательно могут быть соединены во всех или некоторых частях (например, с двухпросветным катетером) и могут быть чрескожно вставлены в просвет принимающей периферической вены 30, устраняя необходимость инвазивной хирургической процедуры. Для этого варианта осуществления часть катетера можно туннелизировать подкожно перед выходом из кожи для того, чтобы снизить риск инфекции. Экстракорпоральные части катетеров 119 и 120 и экстракорпоральный насос 114 можно прикреплять к организму, соединять с источником питания и приводить в действие таким образом, который увеличивает скорость крови 34 и НСС в сегменте d принимающей периферической вены 30 в течение периода времени, достаточного для того, чтобы вызвать постоянное увеличение наружного диаметра и диаметра просвета сегмента d принимающей периферической вены 30. После того, как возникает желаемое количество увеличения диаметра в сегменте d принимающей периферической вены 30, узел насос-катетер 12 удаляют, и можно осуществлять хирургическую процедуру для создания участка гемодиализного доступа или трансплантата шунта с использованием по меньшей мере части увеличенного сегмента d принимающей периферической вены 30, или одновременно или в последующей операции.

[80]

Со ссылкой на фиг. 5A и 5B, проиллюстрирована система 10 для увеличения наружного диаметра вен, как используют для пациента 20. Система 10 удаляет оксигенированную артериальную кровь из периферической артерии 221 пациента и перенаправляет эту кровь в принимающую периферическую вену 30 и выполнена с возможностью и работает для увеличения скорости крови и НСС в принимающей периферической вене 30 в течение периода времени, достаточного для того, чтобы вызвать постоянное увеличение диаметра принимающей периферической вены 30, например, в руке 24 или ноге 26. Проиллюстрирован вариант осуществления системы 10, в которой насос 214 имплантирован в руку 24. Насос 214 имеет впускное отверстие 216, соединенное с артерией 221 в руке 24 через анастомозное соединение. Насос 214 также имеет выпускное отверстие 218, соединенное с периферической веной 30 через анастомозное соединение. Насосом 214 управляют и подают питание с помощью блока управления 58. В работе насос 214 засасывает кровь из артерии 221 и закачивает кровь в периферическую вену 30. Этот вариант осуществления может сделать возможным осуществление хирургической процедуры, которая избегает необходимости в протяженных синтетических трубках, и увеличивает скорость крови и НСС как в периферической вене 30, так и в периферической артерии 221, что ведет, если работает в течение достаточного периода времени, к одновременному расширению вены 30 и артерии 221. В частности, насос 214 имплантируют в предплечье пациента 20. После того как возникает желаемое количество увеличения диаметра в принимающей периферической вене 30, насос 214 можно удалить и можно осуществлять хирургическую процедуру для создания участка гемодиализного доступа или трансплантата шунта с использованием по меньшей мере часть увеличенной артерии 221 или вены 30, или в тот же момент или во время последующей операции.

[81]

В различных вариантах осуществления оксигенированную артериальную кровь можно засасывать из донорной артерии. Донорные артерии могут включать, но без ограничения, лучевую артерию, локтевую артерию, межкостную артерию, плечевую артерию, переднюю большеберцовую артерию, заднюю большеберцовую артерию, малоберцовую артерию, подколенную артерию, глубокую артерию, поверхностную бедренную артерию или бедренную артерию.

[82]

Со ссылкой на фиг. 6, проиллюстрирована схема варианта осуществления системы 10. Блок управления 58 соединен с насосом 14 и выполнен с возможностью управления скоростью насоса 14 и сбора информации о функции насоса 14. Блок управления 58 может быть имплантирован пациенту 20, может оставаться вне пациента 20 или может иметь имплантированные и внешние части. Источник питания реализован в блоке питания 60 и соединен с блоком управления 58 и насосом 14. Блок питания 60 обеспечивает насос 14 и блок управления 58 энергией для стандартной работы. Блок питания 60 может быть имплантирован пациенту 20, может оставаться вне пациента 20 или может иметь имплантированные и внешние части. Блок питания 60 может содержать батарею 61. Батарея 61 предпочтительно является перезаряжаемой и перезаряжается через разъем 69 с источником переменного тока. Такие перезаряжаемые батареи также можно перезаряжать с использованием токопроводящих проводников или через чрескожную передачу энергии. Необязательно разъем 69 может доставлять электрическую мощность на блок питания 60 без помощи батареи 61. Из этого раскрытия специалисту в данной области будет ясно, что блок управления 58 может быть выполнен с возможностью использования альтернативных систем питания-управления.

[83]

Датчики 66 и 67 могут быть встроены в синтетические трубки 17 и 18, насос 14 или блок управления 58. Датчики 66 и 67 соединены с блоком управления 58 через кабель 68 или могут находиться в беспроводной связи с блоком управления 58. Датчики 66 и 67 могут осуществлять мониторинг потока крови, скорости крови, внутрипросветного давления и сопротивления потоку и могут посылать сигналы блоку управления 58 для изменения скорости насоса. Например, по мере расширения периферической вены 30, принимающей закачиваемую кровь, скорость крови в вене снижается, наряду с сопротивлением потоку крови 34 из выходной трубки 18. Для того чтобы сохранять желаемую скорость крови и НСС, скорость насоса нужно корректировать по мене расширения периферической вены 30 с течением времени. Датчики 66 и 67 могут воспринимать скорость крови в периферической вене 30 или сопротивление потоку крови и затем передавать сигнал блоку управления 58, который затем, соответственно, увеличивает скорость насоса 14. Таким образом, настоящее изобретение предпочтительно предусматривает систему мониторинга, образованную блоком управления 58 и датчиками 66 и 67, чтобы корректировать скорость насоса для сохранения желаемой скорости крови и НСС в принимающей периферической вене 30 по мере ее расширения с течением времени. Альтернативно, блок управления может полагаться на измерения, включающие внутренне измерение электрического потока к двигателю 44, в качестве основы для оценки потока крови, скорости крови, внутрипросветного давления или сопротивления потоку, таким образом устраняя необходимость в датчиках 66 и 67. Блок управления 58 также может содержать ручное управление для того, чтобы корректировать скорость насоса или другие параметры перекачивания.

[84]

Блок управления 58 функционально соединен с узлом насос-трубка 12. В частности, блок управления 58 функционально соединен с насосом 14 посредством одного или нескольких кабелей 62. Используя блок питания 60, блок управления 58 предпочтительно подает ток управления двигателем насоса, такой как ток управления двигателем с модулированной шириной импульса на насос 14 через кабель 62. Блок управления 58 также может принимать сигнал обратной связи или другие сигналы от насоса 14. Блок управления 58 дополнительно содержит блок связи 64, который используют для сбора данных и передачи данных, например, через телеметрическую передачу. Кроме того, блок связи 64 выполнен с возможностью принимать инструкции или данные для повторного программирования блока управления 58. Следовательно, блок связи 64 выполнен с возможностью принимать инструкции или данные для управления насосом 14.

[85]

Настоящее изобретение предпочтительно предусматривает систему мониторинга, образованную блоком управления 58 и датчиками 66 и 67, чтобы корректировать работу насоса для сохранения желаемой скорости крови и НСС в принимающей периферической вене 30 по мерее ее расширения с течением времени.

[86]

Предпочтительно, насос 14 выполнен с возможностью обеспечения потока крови 34, например, в диапазоне приблизительно 50-1500 мл/мин и увеличения НСС в принимающей периферической вене до диапазона между 0,76 Па и 23 Па, предпочтительно до диапазона между 2,5 Па и 7,5 Па. Насос 14 выполнен с возможностью сохранения желаемого уровня потока крови и НСС в принимающей периферической вене 30, например, в течение периода приблизительно 7-84 суток и предпочтительно, например, приблизительно 14-42 суток. В определенных ситуациях, где желаемым является большое количество расширения вены или где расширение вены происходит медленно, насос 14 выполнен с возможностью сохранения желаемого потока крови и НСС в принимающей периферической вене 30 в течение более чем 42 суток.

[87]

Узел насос-трубка 12 можно имплантировать пациенту 20 с правой стороны или можно имплантировать с левой стороны, по необходимости. Длины трубок 16 и 18 можно корректировать для желаемого размещения. В частности, для фиг. 1B и 1С, первый конец 46 входной трубки 16 соединяют по текучей среде с местоположением 29 в правой внутренней яремной вене 29, а первый конец 52 выходной трубки 18 соединяют по текучей среде с цефалической веной 30 на правом предплечье. В частности, для фиг. 2B и 2C, первый конец 46 входной трубки 16 соединяют по текучей среде с местоположением 29 в верхней полой вене 27 и первый конец 52 выходной трубки 18 соединяют по текучей среде с цефалической веной 30 на правом предплечье 24. После соединения начинают перекачивание. То есть блок управления 58 начинает приводить двигатель 44 в действие. Насос 14 перекачивает кровь 34 через выпускную трубку 18 и в периферическую вену 30. Блок управления 58 корректирует перекачивание с течением времени посредством использования данных, предоставляемых датчиками 66 и 67. На фиг. 1-4 проиллюстрированы примеры, в которых система 10 перекачивает деоксигенированную кровь. На фиг. 5 проиллюстрирован пример, в котором система 10 перекачивает оксигенированную кровь. В некоторых вариантах осуществления кровь перекачивают в принимающую вену с пульсацией, которая снижена по сравнению с пульсацией крови в периферической артерии. Например, среднее пульсовое давление в принимающей вене составляет <40 мм рт.ст., <30 мм рт.ст., <20 мм рт.ст., <10 мм рт.ст. или предпочтительно <5 мм рт.ст. при насосе, работающем и доставляющем кровь в периферическую вену. В других вариантах осуществления кровь перекачивают в принимающую вену с пульсацией, которая равна или выше по сравнению с пульсацией крови в периферической артерии. Для этих вариантов осуществления среднее пульсовое давление в принимающей вене, смежной с соединением с выходной трубкой, составляет >40 мм рт.ст. при работающем насосе.

[88]

В одном конкретном варианте осуществления, проиллюстрированном на фиг. 1B и 1С, донорной веной 29 является яремная вена 21, предпочтительно внутренняя яремная вена 21. Внутреннюю яремную вену 21, в частности, можно использовать в качестве донорной вены 29 вследствие отсутствия клапанов между внутренней яремной веной 21 и правым предсердием 31, что позволит синтетической входной трубке 16 быть способной засасывать большой объем деоксигенированной крови в единицу времени. Входную трубку 18 соединяют по текучей среде с внутренней яремной веной 21 пациента 20. Деоксигенированную кровь засасывают из внутренней яремной вены 21 и закачивают в периферическую принимающую вену 30 в руке 24 или ноге 26, что ведет к увеличению скорости крови 34 и НСС в периферической принимающей вене. В некоторых вариантах осуществления кровь перекачивают в принимающую вену с пульсацией, которая снижена по сравнению с пульсацией крови в периферической артерии. Например, среднее пульсовое давление в принимающей вене, смежной с соединением с выходной трубкой, составляет <40 мм рт.ст., <30 мм рт.ст., <20 мм рт.ст., <10 мм рт.ст. или предпочтительно <5 мм рт.ст. при работающем насосе.

[89]

Как отмечено ранее, на фиг. 5B проиллюстрирован пример, в котором система 10 засасывает оксигенированную кровь. Входную трубку 216 соединяют по текучей среде с лучевой артерией 221 пациента 20, а выходную трубку 218 соединяют по текучей среде с цефалической веной, в обоих случая используя анастомозное соединение. Таким образом, оксигенированную кровь засасывают из лучевой артерии 221 и закачивают в цефалическую вену 30 в руке 24 таким образом, который ведет к увеличенной скорости крови и НСС в цефалической вене в течение достаточного периода времени, чтобы вызывать постоянное увеличение наружного диаметра и диаметра просвета принимающей периферической вены. В некоторых вариантах осуществления кровь закачивают в принимающую вену с пульсацией, которая снижена по сравнению с пульсацией крови в периферической артерии. Например, среднее пульсовое давление в принимающей вене, смежной с соединением с выходной трубкой, составляет <40 мм рт.ст., <30 мм рт.ст., <20 мм рт.ст., <10 мм рт.ст. или предпочтительно <5 мм рт.ст. при насосе, работающем и доставляющем кровь в периферическую принимающую вену.

[90]

Со ссылкой на фиг. 7-9, различные варианты осуществления способа 100 увеличивают наружный диаметр и диаметр просвета периферической вены 30. Как показано на фиг. 7, терапевт или хирург осуществляет процедуру получения доступа к вене или артерии и соединяет насос, чтобы установить сообщение по текучей среде с веной, несущей деоксигенированную кровь на стадии 101. На стадии 102 насос соединяют с периферической веной. В этом варианте осуществления узел насос-трубка 12 предпочтительно имплантируют в шею, грудную клетку и руку 24 пациента 20. В другом варианте осуществления, где периферической веной 30 является сафенная вена 36, узел насос-трубка 12 имплантируют в ногу 26. В одном из примеров терапевт соединяет по текучей среде первый конец 46 узла насос-трубка 12 с донорной веной 29, а второй конец узла насос-трубка 12 с периферической принимающей веной 30, используя процедуру туннелизации (по мере необходимости) для соединения двух местоположений подкожно. На стадии 103 деоксигенированную кровь закачивают в периферическую принимающую вену. На стадии 104 закачивание продолжают в течение определенного периода времени, в то время как терапевт ждет, пока периферическая принимающая вена расширится. В одном из вариантов осуществления после включения насоса для того, чтобы начать закачивание деоксигенированной крови, по мере необходимости закрывают кожные разрезы.

[91]

В другом варианте осуществления части синтетических трубок 16 и 18 и/или насос 14 размещают экстракорпорально. Затем в этом варианте осуществления насос 14 запускают и управляют им через блок управления 58, чтобы перекачивать деоксигенированную кровь через узел насос-трубка 12 и в периферическую принимающую вену 30 таким образом, который увеличивает скорость крови и НСС в периферической вене 30. Периодически осуществляют мониторинг процесса перекачивания, а блок управления 58 используют для корректировки насоса 14 в ответ на изменения в периферической принимающей вене 30. При периодических корректировках, по мере необходимости, насос продолжает работать в течение количества времени, достаточного для того, чтобы привести к постоянному расширению наружного диаметра и диаметра просвета периферической вены 30. В следующей процедуре узел насос-трубка 12 отсоединяют и удаляют на стадии 105. На стадии 106 постоянно расширенную периферическую вену 30 используют для создания АВФ, АВТ или трансплантата шунта.

[92]

В другом варианте осуществления способа 100, как показано на фиг. 8, терапевт или хирург вставляет одну или несколько катетерных частей 50 узла насос-катетер в венозную систему и размещает их в донорном сосуде и периферической вене 30 на стадии 107. На стадии 108 насос приводят в действие для того, чтобы перекачивать деоксигенированную кровь в деоксигенированную кровь. Затем терапевт ждет, когда периферический сосуд расширится на стадии 109. Узел насос-катетер удаляют и постоянно расширенную вену используют для создания АВФ, АВТ или трансплантата шунта на стадии 110 и 111, соответственно.

[93]

На фиг. 9 показан еще один другой вариант осуществления способа 100. На стадии 112 терапевт или хирург осуществляет процедуру получения доступа к вене и соединяет насос для того, чтобы установить сообщение по текучей среде с периферической веной. На стадии 113 насос соединяют с периферической артерией. На стадии 114 насос работает для того, чтобы перекачивать оксигенированную кровь из периферической артерии в периферическую вену. На стадии 115 перекачивание продолжают в течение периода времени, в то время как терапевт ждет, пока периферическая вена расширится. На стадии 116 насос удаляют, а на стадии 117 постоянно расширенную вену используют для создания АВФ, АВТ или трансплантата шунта.

[94]

В различных вариантах осуществления, способ 100 и/или систему 10 можно использовать в периодических и/или прерывистых процедурах, в противоположность непрерывному лечению. Типично, лечение гемодиализом, которое может продолжаться от 3 до 5 часов, предоставляют в диализном учреждении вплоть до 3 раз в неделю. Следовательно, различные варианты осуществления системы 10 и способа 100 можно использовать для предоставления лечения перекачиванием крови со схожим режимом в течение периода от 4 до 6 недель. Лечение можно осуществлять в любом подходящем местоположении, включая амбулаторные условия.

[95]

В одном из вариантов осуществления лечение перекачиванием крови выполняют периодически в сочетании с лечением гемодиализом. В этом варианте осуществления можно использовать слаботочный насос, стандартный постоянный гемодиализный катетер, выполняющий функцию входного катетера, и минимально травматичную иглу или катетер, размещенный в периферической вене для выполнения функции выходного катетера. Множество кровяных насосов непрерывного потока, работающих с прикроватной консоли [например, катетерные ВЖУ и педиатрический сердечно-легочный шунт (СЛШ) или экстракорпоральные мембранные оксигенационные (ECMO) насосы] можно легко адаптировать для использования со способом 100.

[96]

В различных вариантах осуществления, где перекачивание крови происходит через периодические сеансы перекачивания, доступ к кровеносным сосудам также может происходить через один или несколько портов или хирургически созданные участки доступа. В качестве примера и не ограничения, доступ можно получить через иглу, периферически вставленный центральный катетер, туннелизированный катетер, не туннелизированный катетер и/или подкожно имплантируемый порт.

[97]

В другом варианте осуществления системы 10, слаботочный насос используют для увеличения НСС и скорости крови в кровеносном сосуде. Слаботочный насос имеет впускную трубку, соединенную по текучей среде с кровеносным сосудом, и выпускную трубку, соединенную по текучей среде с веной, перекачивает кровь из кровеносного сосуда в вену в течение периода между приблизительно 7 сутками и 84 сутками. Слаботочный насос перекачивает кровь так, что напряжение сдвига стенки вены варьирует между приблизительно 0,076 Па приблизительно 23 Па. Слаботочный насос также содержит устройство корректировки. Устройство корректировки может находиться в связи с основанной на программном обеспечении автоматической системой корректировки или устройство корректировки может иметь ручное управление. Длина впускной трубки и выпускной трубки может варьировать приблизительно от 10 сантиметров приблизительно до 107 сантиметров.

[98]

Настоящее изобретение также относится к способу сборки и работы системы кровяного насоса, включая различные варианты осуществления системы насос-трубка 10. Способ содержит прикрепление первой трубки в сообщении по текучей среде с системой насос-трубка 10 к артерии и прикрепление второй трубки в сообщении по текучей среде с системой насос-трубка к вене. Затем систему насос-трубка 10 активируют для того, чтобы перекачивать кровь между артерией и веной.

[99]

В понимании объема настоящего изобретения, термин «содержит» и его производные, как используют в настоящем документе, предназначен быть открытым термином, который точно определяет присутствие изложенных признаков, элементов, компонентов, групп, целых чисел и/или стадий, но не исключает присутствие других не изложенных признаков, элементов, компонентов, групп, целых чисел и/или стадий. Указанное выше также применимо к словам, имеющим схожие значения, таким как термины «включает», «имеет» и их производные. Термины степени, такие как «по существу», «приблизительно» и «примерно», как используют в настоящем документе, обозначают целесообразное количество отклонения модифицированного термина так, что конечный результат значительно не изменяется. Например, эти термины можно толковать как включающие отклонение по меньшей мере ±5% модифицированного термина, если это отклонение не будет противоречить значению того слова, которое оно модифицирует.

[100]

Несмотря на то, что только отобранные варианты осуществления выбраны для того, чтобы иллюстрировать настоящее изобретение, из этого раскрытия специалистам в данной области будет ясно, что различные изменения и модификации можно выполнять в настоящем документе, не отступая от объема изобретения, как определено в приложенной формуле изобретения. Например, размер, форма, местоположение или ориентация различных компонентов могут быть изменены при необходимости и/или по желанию. Компоненты, которые показаны непосредственно соединенными или контактирующими друг с другом, могут иметь промежуточные структуры, расположенные между ними. Функции одного элемента можно осуществлять с помощью двух, и наоборот. Структуры и функции одного из вариантов осуществления можно перенимать в другом варианте осуществления. Все преимущества не обязательно должны присутствовать в конкретном варианте осуществления одновременно. Каждый признак, который уникален, из известного уровня техники, отдельно или в комбинации с другими признаками, также должен рассматриваться как отдельное описание дополнительных изобретений заявителя, включая структурные и/или функциональные идеи, осуществляемые посредством таких признаков. Таким образом, указанные выше описания вариантов осуществления в соответствии с настоящим изобретением предоставлены только в качестве иллюстрации, а не в качестве ограничения изобретения, как определено посредством приложенной формулы изобретения и ее эквивалентов.

Как компенсировать расходы
на инновационную разработку
Похожие патенты