патент
№ RU 2572485
МПК E01B27/02

СПОСОБ СТРОИТЕЛЬСТВА И РЕМОНТА БЕССТЫКОВОГО ПУТИ, РЕЛЬСОШПАЛЬНАЯ РЕШЁТКА И ПУТЕУКЛАДОЧНЫЙ ПОЕЗД ДЛЯ ЕГО ОСУЩЕСТВЛЕНИЯ

Авторы:
Пухов Игорь Анатольевич
Правообладатель:
Номер заявки
2014131257/11
Дата подачи заявки
28.07.2014
Опубликовано
10.01.2016
Страна
RU
Как управлять
интеллектуальной собственностью
Реферат

Изобретение относится к железнодорожному транспорту и может быть применено при строительстве, реконструкции и ремонте бесстыкового пути. Для строительства и ремонта бесстыкового пути на земляное основание пути укладывают последовательно рельсошпальные решетки. На решётках меняют рельсы на бесстыковые плети. Рельсошпальные решётки и бесстыковые плети укладывают с одного путеукладочного поезда за один технологический проход. Решетку укладывают захватом под основание с торцов шпал. При перемещении поезда по уложенной колее закрепляют торцы шпал балластом. Со шпал снимают плетьми инвентарные рельсы, а на их место сразу укладывают с поезда бесстыковые плети. При необходимости плети нагревают на поезде до оптимальной температуры закрепления. Достигается повышение безопасности и эффективности железной дороги. 7 н. и 13 з.п. ф-лы, 26 ил.

Формула изобретения

1. Способ строительства и ремонта бесстыкового пути, заключающийся в том, что на земляное основание пути укладывают последовательно рельсошпальные решетки, далее на них меняют рельсы на бесстыковые плети, отличающийся тем, что рельсошпальные решетки и бесстыковые плети укладывают с одного путеукладочного поезда за один технологический проход, при этом решетку укладывают захватом под основание с торцов шпал, далее при перемещении поезда по уложенной колее закрепляют торцы шпал балластом, далее снимают со шпал плетьми инвентарные рельсы, а на их место сразу укладывают с поезда бесстыковые плети, которые при необходимости нагревают на поезде до оптимальной температуры закрепления.

2. Способ по п.1, отличающийся тем, что при ремонте бесстыкового пути, когда выполняют только смену рельсовых плетей, путеукладочным поездом снимают со шпал старые плети или одну плеть, а на их место сразу укладывают с поезда новые бесстыковые плети или одну плеть.

3. Способ по п.1, отличающийся тем, что бесстыковой путь демонтируют в обратном порядке укладке при движении поезда в противоположном направлении.

4. Способ по п.3, отличающийся тем, что перед демонтажом подрельсового основания освобождают от балласта пространство под основанием шпал возле торцов на величину, необходимую для захвата их грузозахватным устройством крана.

5. Способ по п.1 или 2, отличающийся тем, что снятые с подрельсового основания инвентарные рельсы или старые рельсовые плети сразу укладывают на специализированные подвижные единицы для перевозки рельсовых плетей и инвентарных рельсов плетьми.

6. Способ по п.1 или 2, отличающийся тем, что снятые с подрельсового основания инвентарные рельсы или старые рельсовые плети укладывают в середину пути, далее их убирают с пути на специализированные подвижные единицы для совместной перевозки рельсошпальной решетки и рельсовых плетей при движении поезда в противоположном направлении укладки, при этом поезд не комплектуется специализированными подвижными единицами для перевозки рельсовых плетей и инвентарных рельсов плетьми.

7. Способ по п.1 или 2, отличающийся тем, что снятые с подрельсового основания инвентарные рельсы или старые рельсовые плети укладывают в середину пути, далее их убирают с пути при движении поезда по направлению укладки на специализированные подвижные единицы для перевозки рельсовых плетей и инвентарных рельсов плетьми, выделенные из путеукладочного поезда во временный поезд на время уборки плетей.

8. Способ сборки штабеля из рельсошпальных решеток для строительства бесстыкового пути, заключающийся в том, что решетки, состоящие из инвентарных рельсов и шпал с заранее установленным рельсовым скреплением, укладывают в правильный вертикальный ряд, отличающийся тем, что сначала на рольганг сборочного стенда укладывают пару рельсов-полозьев, далее на них попеременно укладывают шпалы по эпюре и инвентарные рельсы без закрепления ко всем шпалам, при этом каждая рельсошпальная решетка до укладки в путь является частью штабеля, который загружают на путеукладочный поезд по рольгангу.

9. Способ по п.8, отличающийся тем, что с наружной стороны инвентарных рельсов и рельсов-полозьев, укладываемых в штабель, заранее устанавливают устройства для фиксации шпал по эпюре укладки.

10. Способ по п.9, отличающийся тем, что часть устройств изготавливают большей высоты для выполнения дополнительных функций.

11. Способ по п.8, отличающийся тем, что на шпалах при изготовлении выполняют на основании пазы, повторяющие профиль головок инвентарных рельсов, на которые ее положат при сборке штабеля, с глубиной, достаточной для фиксации шпалы от смещения.

12. Путеукладочный поезд для строительства и ремонта бесстыкового пути, содержащий самоходный укладочный кран, платформы прикрытия крана, специализированные подвижные единицы для перевозки рельсошпальной решетки, часть из которых самоходные, локомотив, турные вагоны, отличающийся тем, что в состав поезда включают специализированные подвижные единицы для совместной перевозки рельсошпальной решетки и рельсовых плетей, систему из специализированных подвижных единиц для укладки и уборки рельсовых плетей, специализированные подвижные единицы для перевозки рельсовых плетей и инвентарных рельсов плетьми, прицепное устройство для направления плетей при перемещении их из середины пути на поезд.

13. Специализированная подвижная единица для совместной перевозки рельсошпальной решетки и рельсовых плетей в составе путеукладочного поезда для строительства и ремонта бесстыкового пути, отличающаяся тем, что на ограничительных стойках оборудования для перевозки рельсошпальной решетки устанавливают приспособления для размещения рельсовых плетей.

14. Подвижная единица по п.13, отличающаяся тем, что приспособление в виде балки с роликами располагают над штабелем из рельсошпальных решеток.

15. Система из специализированных подвижных единиц для укладки и уборки рельсовых плетей в составе путеукладочного поезда для строительства и ремонта бесстыкового пути, содержащая подвижные единицы, предназначенные для перемещения по рельсовой колее, одна из которых самоходная, отличающаяся тем, что на подвижные единицы устанавливают тоннели для перемещения и нагрева рельсовых плетей, оборудование для транзитного перемещения рельсовых плетей, оборудование для нагрева рельсов, оборудование для перемещения рельсовых плетей и рельсошпальных решеток, лебедки для поднятия концов плетей с подрельсового основания, механизмы для автоматического закрепления рельсов к шпалам рельсовым скреплением, модуль для размещения обслуживающего персонала.

16. Система по п.15, отличающаяся тем, что тоннели устанавливают на тележки для перемещения в горизонтальной плоскости.

17. Система по п.15, отличающаяся тем, что на несамоходных подвижных единицах боковые балки рамы, расположенные между ходовыми тележками, устанавливают по уровню выше роста рабочего, стоящего на земляном основании пути.

18. Укладочный кран в составе путеукладочного поезда для строительства бесстыкового пути, включающий грузоподъемное устройство, грузозахватное устройство, систему ручного управления краном, отличающийся тем, что на кран устанавливают систему для автоматического управления им во время строительства и устройство для ориентации укладываемой рельсошпальной решетки по ранее уложенной.

19. Кран по п.18, отличающийся тем, что датчики в системе автоматического управления ориентируют на устройства, которые задают эпюру укладки шпал, выступающие на большую высоту над головкой инвентарного рельса, чем остальные устройства.

20. Грузозахватное устройство укладочного крана в составе путеукладочного поезда для строительства бесстыкового пути, содержащее раму, захваты для рельсов, отличающееся тем, что на раме устанавливают оборудование для подъема рельсошпальной решетки с захватом под основание с торцов шпал, ролики для направления грузозахватного устройства при укладке рельсошпальной решетки по устройству для ориентации укладываемой рельсошпальной решетки, датчики автоматического управления, оборудование для смещения крайних шпал в сторону центра решетки при демонтаже пути.

Описание

[1]

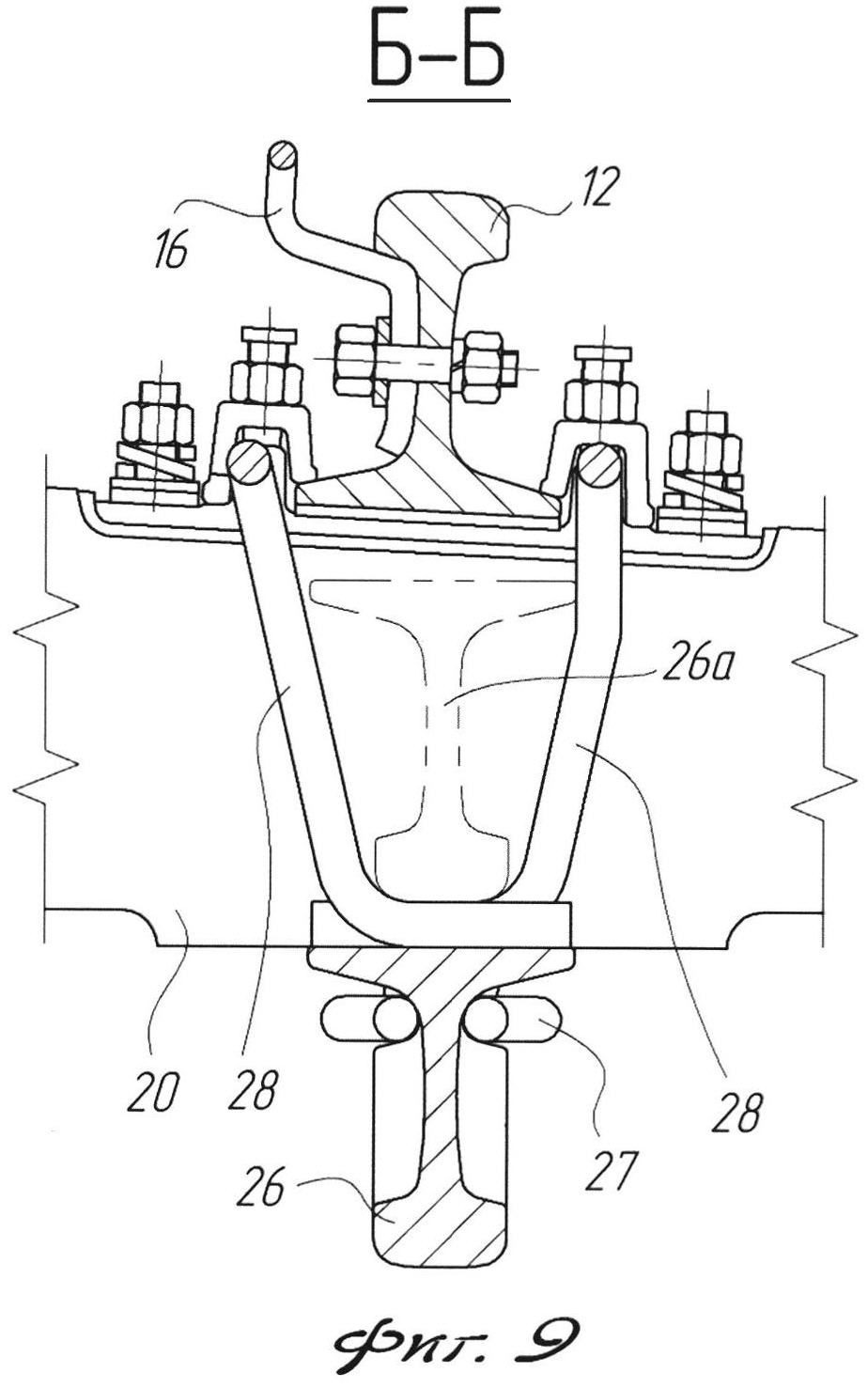
Изобретение относится к железнодорожному транспорту и может быть применено при строительстве, реконструкции и ремонте бесстыкового пути, для укладки на земляное основание пути рельсошпальной решетки и для смены инвентарных рельсов, старых плетей или одной плети на новые бесстыковые плети.

[2]

Из уровня техники бесстыковым принято считать железнодорожный путь, расстояние между рельсовыми стыками которого значительно превосходит длину стандартного рельса (25 метров). Также известно, что бесстыковой путь укладывают двумя способами: раздельным и звеньевым. При раздельном способе на место укладки доставляют шпалы, рельсы и скрепления и эти элементы последовательно укладывают и собирают. Звеньевая укладка предусматривает сборку железнодорожного пути из готовых звеньев. Из уровня техники неизвестен способ укладки бесстыковых плетей одним звеном, поэтому процесс строительства выполняют в два этапа, сначала из готовых звеньев на инвентарных рельсах собирают путь, а затем инвентарные рельсы меняют на бесстыковые плети.

[3]

Из уровня техники известно несколько способов строительства бесстыкового пути с раздельным типом укладки, выполняемых с применением специализированных машин, описанных в патентах RU 2207423, RU 2207424, RU 2225472. Машины при выполнении поштучной уборки и укладки шпал, подготовки земляного полотна, снятия и укладки плетей имеют большую степень механизации и отличаются друг от друга способами перемещения и укладки шпал, подготовкой земляного полотна и элементами конструкций.

[4]

Недостатком способа с поштучной укладкой шпал является низкая скорость производства работ. Такой способ укладки применим на направлениях с развитой сетью железных дорог, когда имеется возможность объезда строящегося участка пути. Высокомеханизированные машины имеют узкую специализацию и не рассчитаны на выполнение ремонтных работ по смене бесстыковых плетей. Из-за единичного производства машины имеют большую стоимость и дорогостоящее обслуживание.

[5]

Из уровня техники известен типовой способ строительства бесстыкового пути звеньевым способом, применяемый на Российских железных дорогах и описанный в ТУ-2012.

[6]

На первом этапе убирают старое верхнее строение пути, подготавливают земляное основание, далее укладывают рельсошпальную решетку, заранее собранную на инвентарных рельсах на специально оборудованных полигонах и доставленную к месту строительства на специализированном поезде. На криволинейных участках пути укладывают рельсошпальную решетку с инвентарными рельсами разной длины. Укладку выполняют с помощью укладочного крана, входящего в состав путеукладочного поезда. После укладки решетки в путь рельсы сдвигают к ранее уложенным и закрепляют стыковыми накладками. После освобождения пути от поезда выполняют рихтовку и выправку пути, принимают путь в эксплуатацию и возобновляют перевозочный процесс.

[7]

Вторым этапом в «окно» на специализированных поездах для перевозки рельсовых плетей доставляют к месту проведения работ и укладывают в середину пути бесстыковые плети. Для предупреждения искривления или выброса выгруженных плетей их закрепляют на деревянных шпалах или полушпалах, временно укладываемых в шпальные ящики. Концы выгруженных плетей защищают башмаками от возможного зацепления за них свисающих с подвижного состава частей.

[8]

В следующее «окно» выполняют смену инвентарных рельсов на бесстыковые плети с операциями открепления, перекладки и закрепления рельсов. Проводят повторную рихтовку и выправку пути, принимают путь в эксплуатацию и возобновляют перевозочный процесс.

[9]

В следующее «окно» убирают инвентарные рельсы с пути и доставляют их к месту сборки рельсошпальной решетки.

[10]

Если бесстыковые плети закреплялись не с нормативной температурой, для ввода плетей в температурный режим эксплуатации выполняют операции открепления, вывешивания плетей, принудительного изменения их длины, укладки плетей на место и закрепления. В некоторых случаях плети удлиняют нагреванием.

[11]

Данный способ строительства бесстыкового пути является наиболее близким аналогом предлагаемого изобретения.

[12]

Недостатками данного способа является необходимость выполнения повторяющихся и дополнительных трудоемких работ, вызывающих значительную потерю времени, финансовых и материальных средств, вывода железной дороги из нормального перевозочного процесса на длительное время. Осуществление перевозочного процесса по инвентарным рельсам снижает безопасность. Неравномерный износ инвентарных рельсов требует дополнительных затрат на их сортировку и дефектоскопию.

[13]

В основу изобретения поставлена задача повысить безопасность и эффективность железной дороги за счет снижения стоимости и времени выполнения строительства (ремонта) бесстыкового пути, изменения элементов верхнего строения пути.

[14]

Предлагается способ строительства бесстыкового пути, выполняемый путеукладочным поездом, который заключается в том, что на земляное основание пути укладывают последовательно рельсошпальные решетки, далее на них меняют инвентарные рельсы на бесстыковые плети, при этом решетки и плети укладывают с одного путеукладочного поезда за один технологический проход. Рельсошпальную решетку укладывают захватом под основание с торцов шпал. Далее, при перемещении поезда по уложенной колее закрепляют торцы шпал балластом при помощи отвалов и катков, установленных на подвижных единицах. После прохождения по уложенному участку пути специализированных подвижных единиц, перевозящих совместно рельсошпальную решетку и рельсовые плети, системой, состоящей из специализированных подвижных единиц для укладки и уборки рельсовых плетей, непрерывно снимают инвентарные рельсы с подрельсового основания и перемещают их на поезд или в середину пути и сразу на освободившееся рельсовое скрепление с поезда укладывают бесстыковые плети, которые при необходимости нагревают на поезде до оптимальной температуры закрепления. Закрепляют рельсы к шпалам на анкерных участках, после освобождения пути от поезда - полностью ко всем шпалам.

[15]

При ремонте бесстыкового пути, когда выполняют только смену плетей, системой из специализированных подвижных единиц для укладки и уборки рельсовых плетей снимают предварительно открепленные от шпал, старые рельсовые плети (или только одну плеть), а на их место сразу укладывают с поезда новые бесстыковые плети (или только одну плеть). Плети также можно нагревать до оптимальной температуры закрепления.

[16]

Для демонтажа верхнего строения пути, ранее снятых плетей или инвентарных рельсов и уложенных в середину пути движение поезда осуществляют в противоположном направлении укладки. Перед демонтажом верхнего строения пути освобождают от балласта пространство под основанием шпал возле торцов при помощи отвалов на величину, необходимую для захвата их грузозахватным устройством крана.

[17]

Для достижения поставленной задачи предлагается сборку штабеля из рельсошпальных решеток, состоящих из инвентарных рельсов и шпал с заранее установленным рельсовым скреплением, выполнять попеременным укладыванием шпал и рельсов слоями. При этом рельсы не закрепляют ко всем шпалам. Перед сборкой в основание штабеля укладывают рельсы-полозья.

[18]

Инвентарные рельсы изготавливают однотипными. Для укладки в прямых и криволинейных участках с радиусом до 1200 метров инвентарные рельсы изготавливают с одинаковой длиной (13,4 метра), для кривых от 1200 до 300 метров - с разной длиной (длина наружного рельса 13,4 метра, внутреннего 13,33). Рельсы-полозья изготавливают одинаковой длины (13,6 метров). С наружной стороны рельсов устанавливают устройства (скобы) для фиксации шпал по эпюре укладки (согласно утвержденных норм). На рельсошпальных решетках, собранных для криволинейных участков пути, шпалы будут располагаться веером. Часть скоб устанавливают большей высоты для выполнения дополнительной функции - флажка для датчика крана. На концах инвентарных рельсов асимметрично приваривают стыковые накладки для быстрого соединения рельсов во время строительства пути. Нижнюю поверхность накладок устанавливают на уровне поверхности подошвы рельса, а верхний торец выравнивают по уровню головки рельса, длину накладок выполняют такой, которая обеспечит перекрытие стыкового зазора наружных рельсов в криволинейном участке пути с минимальным радиусом (300 метров), когда внутренний рельс уложен в стык с соседним.

[19]

Шпалы предлагается изготавливать с пазами на основании для ориентирования их при сборке штабеля по инвентарным рельсам и рельсам-полозьям. Пазы выполняют по профилю головки инвентарного рельса с припуском на изменение ширины колеи и укладки шпал веером.

[20]

Рельсы-полозья, укладываемые в основание штабеля также, как и инвентарные рельсы, оснащаются устройствами (скобами) для фиксации шпал по эпюре укладки (согласно утвержденным нормам). Часть скоб устанавливают большей высоты для выполнения дополнительной функции - фиксации рельса-полоза от опрокидывания при транспортировании штабеля.

[21]

Для достижения поставленной задачи предлагается путеукладочный поезд, содержащий самоходный укладочный кран и специализированные подвижные единицы для перевозки рельсошпальной решетки, модернизировать для возможности перевозить совместно и укладывать последовательно рельсошпальные решетки и далее бесстыковые плети за один технологический проход.

[22]

Для этого на ограничительных стойках оборудования для перевозки рельсошпальной решетки устанавливают приспособления для размещения рельсовых плетей. Приспособление в виде балки с роликами располагают над штабелем из рельсошпальных решеток.

[23]

В состав поезда включают систему из трех специализированных подвижных единиц, одна из которых самоходная, для механизации работ по укладке и уборке рельсовых плетей, нагреванию их до оптимальной температуры, закреплению и перемещению. Для этого подвижные единицы оснащают тоннелями для перемещения и нагрева рельсовых плетей, оборудованием для транзитного перемещения рельсовых плетей, оборудованием для нагрева рельсов, оборудованием для перемещения рельсовых плетей и штабелей из рельсошпальных решеток, лебедками для поднятия концов плетей с подрельсового основания, механизмами для автоматического закрепления (открепления) рельсов к шпалам рельсовым скреплением. Тоннели устанавливают на тележки для перемещения в горизонтальной плоскости. На среднюю подвижную единицу устанавливают модуль для размещения обслуживающего персонала. На несамоходных единицах боковые балки рамы, расположенные между ходовыми тележками, устанавливают по уровню выше роста рабочего, стоящего на земляном основании пути для свободного доступа рабочего к укладываемому, снимаемому, закрепляемому рельсу.

[24]

В состав поезда предлагается также включить специализированные подвижные единицы для перевозки рельсовых плетей, модернизированных для загрузки на них снятых инвентарных рельсов или рельсовых плетей с установленными стыковыми накладками, и прицепное устройство для перемещения на них рельсовых плетей, уложенных в середину пути.

[25]

На всех подвижных единицах поезда бесстыковые плети и плети из инвентарных рельсов перемещают при использовании для направления устройства типа «челнок».

[26]

Так как по инвентарным рельсам передвигается только путеукладочный поезд, они имеют однотипные размеры, открывается возможность для автоматизации процесса укладки рельсошпальной решетки. Для этого предлагается установить на самоходный путеукладочный кран помимо ручного управления всеми механизмами систему автоматического управления краном во время строительства. Управление осуществляют при помощи датчиков, установленных для:

[27]

- точной остановки крана относительно рельсошпальной решетки (флажками для датчиков являются увеличенные скобы, установленные на инвентарных рельсах);

[28]

- автоматического перемещения грузозахватного устройства крана (один из датчиков ориентируют на инвентарные рельсы ранее уложенной рельсошпальной решетки);

[29]

- автоматического захвата рельсошпальной решетки на поезде.

[30]

Предлагается также на кран установить устройство для ориентации рельсошпальной решетки при укладке ее в путь по ранее уложенной.

[31]

На грузозахватное устройство крана устанавливают съемное оборудование для захвата шпал под основание с торцов, ролики для направления грузозахватного устройства при укладке рельсошпальной решетки по устройству для ориентации рельсошпальной решетки, съемное оборудование для смещения крайних шпал к центру во время демонтажа старого подрельсового основания.

[32]

Техническая сущность решений поясняется фигурами.

[33]

На фиг. 1 изображена головная часть путеукладочного поезда при направлении укладки с движением по стрелке 1.

[34]

На фиг. 2 изображена часть путеукладочного поезда для перемещения штабелей от основной части поезда к головной, которая совершает реверсивное перемещение 2.

[35]

На фиг. 3-4 изображена основная часть путеукладочного поезда для строительства бесстыкового пути.

[36]

На фиг. 3 изображены специализированные подвижные единицы для совместной перевозки рельсошпальной решетки и рельсовых плетей.

[37]

На фиг. 4 изображена система из трех подвижных единиц для укладки и уборки плетей.

[38]

На фиг. 5 изображен вспомогательный подвижной состав и концевая подвижная единица для перевозки рельсовых плетей.

[39]

На фиг. 6 показано положение укладываемой рельсошпальной решетки по отношению к уложенной по окончании автоматического цикла укладки, устройство ориентирования 32, датчик 34 для выключения автоматического цикла.

[40]

На фиг. 7 изображены рельсошпальные решетки, сложенные в штабель при захвате верхней грузозахватным устройством крана под основание с торцов шпал.

[41]

На фиг. 8 изображен рельс-полоз с уложенной рельсошпальной решеткой.

[42]

На фиг. 9 изображен разрез Б-Б рельса-полоза в месте установки скоб, которые фиксируют его за инвентарный рельс.

[43]

На фиг. 10 изображено сечение В-В рельса-полоза в месте установки устройств, которые задают эпюру укладки шпал.

[44]

На фиг. 11 изображено устройство (скоба), которое задает эпюру укладки шпал.

[45]

На фиг. 12 изображено сечение инвентарного рельса с контуром колеса подвижного состава в месте установки устройства (скобы).

[46]

На фиг. 13 изображено сечение инвентарного рельса в месте установки устройства (скобы) увеличенной высоты и датчик крана, ориентированный на нее.

[47]

На фиг. 14-15 изображен инвентарный рельс с установленными накладками.

[48]

На фиг. 16 изображено соединение двух инвентарных рельсов в плеть крепежным болтом.

[49]

На фиг. 17-18 изображена подвижная единица для совместной перевозки рельсошпальных решеток и рельсовых плетей.

[50]

На фиг. 19 изображена балка для размещения бесстыковых плетей 9, инвентарных рельсов 12, 13, уравнительных рельсов 8.

[51]

На фиг. 20-21 изображена самоходная подвижная единица из системы специализированных подвижных единиц для укладки и уборки рельсовых плетей, задача которой заключается в перемещении плетей с подвижных единиц 70, на подвижную единицу 90, нагреве их до оптимальной температуры закрепления, перемещении основной части путеукладочного поезда.

[52]

На фиг. 22-23 изображена вторая подвижная единица из системы специализированных подвижных единиц для укладки и уборки рельсовых плетей, задача которой заключается в уборке с подрельсового основания инвентарных рельсов плетьми и укладки на него бесстыковых рельсовых плетей.

[53]

На фиг. 23 показан вид сверху на подвижную единицу (жилой модуль не показан).

[54]

На фиг. 24-25 изображена третья подвижная единица из системы специализированных подвижных единиц для укладки и уборки рельсовых плетей, задача которой заключается в перемещении снятых плетей на подвижные единицы 110 для перевозки рельсовых плетей.

[55]

На фиг. 26 показан состав для уборки ранее снятых и уложенных в середину пути плетей.

[56]

Путеукладочный поезд состоит из: укладочного крана (30); двух платформ прикрытия (40); подвижных единиц для перевозки рельсошпальной решетки (50), часть из которых самоходные (60); подвижных единиц для перевозки рельсошпальной решетки и рельсовых плетей (70) (длина подвижных единиц больше длины бесстыковых плетей 9); системы из трех специализированных подвижных единиц для укладки и уборки рельсовых плетей (80, 90, 100); подвижных единиц для перевозки рельсовых плетей (ПО); локомотива (120); турных вагонов (121).

[57]

Укладочный кран (30) оснащается: устройством ориентации (32); датчиками (39); грузозахватным устройством (31), которое канатами (38) подвешено к крану.

[58]

Грузозахватное устройство (31) оснащается: оборудованием для захвата шпал с торцов (33); датчиками (34); ориентирующими устройствами (35); захватами (36).

[59]

Специализированные подвижные единицы (50) для перевозки рельсошпальной решетки оснащены: стойками (51); рольгангами (52); устройствами, предотвращающими перемещение штабеля (53); отвалами (55); катками (56).

[60]

Специализированные подвижные единицы (70) для совместной перевозки рельсошпальной решетки и рельсовых плетей оснащены: стойками (51), на которых установлены балки (71) с роликами (72); рольгангами (52); устройствами (53).

[61]

Самоходная специализированная подвижная единица (80) оснащается: тоннелями (81), в которых устанавливают оборудование для нагрева (82), ролики (83), ограничители (84), которые устанавливают на тележках (105); модулем (85) для размещения оборудования нагрева рельсов; площадкой (86); лестницами (87) с перилами (88).

[62]

Специализированная подвижная единица (90) оснащается: тоннелями (91), в которых устанавливают ролики (83) и ограничители (84); механизмами (92) для автоматического закрепления (открепления) рельсов к шпалам рельсовым скреплением; оборудованием для транзитного перемещения плетей (93); жилым модулем (94), который устанавливают на стойках (95), усиленных укосинами (96); лебедками (97); роликами для направления плетей (98); роликами для перевода плети в середину пути (99).

[63]

Специализированная подвижная единица (100) оснащается: тоннелями (101), в которых устанавливают ролики (83) и ограничители (84, 104), которые устанавливают на тележках (105); боковые балки (106) рамы устанавливают на стойках (95), усиленных укосинами (96); площадками (102); поручнями (103).

[64]

Состав из специализированных подвижных единиц (110) для перевозки рельсовых плетей оснащается: балками (71) с роликами (72); прицепным устройством для перемещения рельсовых плетей, уложенных в середину пути (112). На головной платформе (110а) устанавливают дополнительно устройства (73) и лебедки (97). На хвостовой платформе (110b) устанавливают дополнительно защитный экран (111) и устройства (73);

[65]

Штабель (10) состоит из: пары рельсов-полозьев (26); рельсошпальных решеток (11) (не более 5 шт.).

[66]

Рельсошпальная решетка (11) состоит из: пары инвентарных рельсов (12, 13); шпал (20), в основании которых имеются пазы (21, 22, 23), с установленным рельсовым скреплением (24).

[67]

Инвентарные рельсы, левый (13) и правый (12) по направлению укладки (1), состоят из: рельсов одинаковой длины, к которым приварены накладки (14, 15); устройств (скоб) (16) (нормальной высоты) и (17) (увеличенной высоты), которые через пластину (18) закреплены на рельсах с наружной стороны.

[68]

Способ строительства бесстыкового пути реализуется следующим образом.

[69]

Перед производством работ по укладке бесстыкового пути на путеукладочный поезд (см. фиг. 1-5) со стороны укладочного крана 30 загружают рельсошпальную решетку 11 штабелями 10. Собранная рельсошпальная решетка является частью штабеля и загружается на поезд только перемещением штабеля 10 по рольгангу 52. При необходимости можно загрузить на поезд рельсошпальную решетку (12,5 метров), собранную на уравнительных рельсах 8.

[70]

Рельсошпальную решетку 11 собирают на стенде на специально оборудованных полигонах либо непосредственно на поезде в свободное от строительства время. Шпалы 20 к месту сборки решетки доставляются с заранее установленным рельсовым скреплением 24. Сборку начинают с укладки на рольганг стенда для сборки рельсошпальной решетки или платформы прикрытия 40 укладочного крана пары рельсов-полозьев 26, на которых установлены устройства (скобы) 16, 28 для фиксации шпал 20 по эпюре укладке. Далее между скоб на рельсы-полозья укладывают шпалы 20, в основании которых выполнены пазы 21, 22, 23. Шипы 29, установленные на рельсах-полозьях, фиксируют шпалы 20 от поперечного смещения за пазы 21. Далее на рельсовое скрепление 24 укладывают пару инвентарных рельсов 12, 13, которые закрепляют 25 на крайних шпалах. Штабель собирают из пяти решеток. На верхней решетке можно устанавливать инвентарные рельсы только со скобами 17 для датчика 39. Верхние инвентарные рельсы 12, 13 дополнительно закрепляют 25 к шпалам 20, которые будут располагаться на подвижной единице 50, 70 возле предохранительных устройств 53, предотвращающих смещение штабеля во время транспортировки.

[71]

С противоположной стороны на поезд загружают бесстыковые плети 9 и плети из уравнительных рельсов 8. Плети загружают со специализированных подвижных единиц для перевозки рельсовых плетей ПО. Плети устройством «челнок» 7 перемещают по тоннелям 81, 101 и роликам 93 системы специализированных подвижных единиц для укладки и уборки рельсовых плетей (см. фиг. 4) с направлением 6 на специализированные подвижные единицы для совместной перевозки рельсошпальной решетки и рельсовых плетей 70. Плети закрепляют устройством 73, препятствующим перемещению рельсовых плетей во время транспортировки на головной подвижной единице 70а.

[72]

Поезд выдвигают к участку строительства (локомотив 120, платформу прикрытия 40 и турные вагоны 121 устанавливают в хвосте). На границе начала укладки поезд разделяют на четыре части. В головной части оставляют укладочный кран 30 и несколько специализированных подвижных единиц для перевозки рельсошпальной решетки 50. В средней части оставляют несколько подвижных единиц для перевозки рельсошпальной решетки 50, одна из которых является самоходной 60. От основной части поезда отцепляют вспомогательный подвижной состав 120, 40, 121. Укладочный кран 30 перемещают к краю пути на границе начала укладки. Подготавливают кран к укладке. На платформу прикрытия крана 40 перемещают штабель 10 из рельсошпальных решеток. Верхняя решетка со стороны поезда не имеет накладок 14 для быстрой стыковки рельсов. Грузозахватное устройство крана 31 опускают до полного совпадения 31а с верхней решеткой, захватом 36 под основание с торцов шпал 20 поднимают решетку, перемещают и укладывают на подготовленное земляное основание пути. Освобождают захват 36а грузозахватного устройства от решетки. Переводят управление краном в автоматический режим и перемещают грузозахватное устройство для захвата новой решетки 31а (через платформу крана грузозахватное устройство перемещают в сжатом состоянии 36). Грузозахватное устройство 31 автоматически захватывает верхнюю решетку на штабеле, при этом автоматический цикл переходит в режим ожидания. Инвентарные рельсы 12, 13 соединяют с рельсами пути временными стыковыми накладками. Открепляют 25а рельсы от шпал кроме последней шпалы. Запускают автоматический цикл. Кран 30 продвигается на длину решетки 11b и автоматически останавливается от сигнала датчика 39 в точной позиции для укладки. Грузозахватное устройство перемещает решетку к месту укладки, при опускании край решетки 11а, ближний к поезду, автоматически ориентируется роликами 37 по устройству 32 на ранее уложенную решетку 11b. При высоте решетки 15-20 см над землей автоматический цикл завершается от сигнала датчика 34, установленного на грузозахватном устройстве 31. Головной край решетки 11а выставляют на ось пути, решетку опускают на землю встык с первой 11b. На криволинейном участке пути в стык укладывают только внутренние рельсы по отношению к радиусу кривой. Освобождают грузозахватное устройство 36а от решетки 11а и запускают автоматический цикл. Соединяют инвентарные рельсы в плеть, фиксируя накладки крепежным болтом 19. Открепляют 25а рельсы от шпал 20 кроме последней шпалы (рельсы не открепляют от шпал, если скрепление допускает раскрепление в автоматическом режиме). Процесс укладки повторяется до последней решетки 11 в штабеле 10. Освободившиеся рельсы-полозья 26 укладывают на платформу крана 30. В дальнейшем рельсы-полозья 26а укладывают на ранее уложенные. Перемещают новый штабель 10 и продолжают процесс укладки. В процессе перемещения крана 30 торцы шпал 20 закрепляются балластом при помощи отвалов 55 и катков 56, которые установлены на подвижных единицах 50. По мере расходования штабелей 10 на головной части поезда (см. фиг. 1) они доставляются средней частью (см. фиг. 2) с основной части поезда (см. фиг. 3 и 4). Когда система специализированных подвижных единиц для укладки и уборки рельсовых плетей (см. фиг. 4) подойдет к началу укладки, начинают процесс уборки инвентарных рельсов 12, 13. Снимают временные стыковые накладки, соединяющие инвентарные рельсы с рельсами пути. Поднимают лебедками 97, установленными на подвижной единице 90, инвентарные рельсы и соединяют их с приспособлениями типа «челнок» 7 для ориентации перемещаемой плети или укладывают на ролики 99, с которых инвентарные рельсы будут укладываться в середину пути. Начинают движение поезда, и инвентарные рельсы перемещаются на специализированные подвижные единицы для перевозки рельсовых плетей 110 или в середину пути. При подходе к месту укладки бесстыковые плети 9 стягивают по направлению 4 по тоннелю 81 и нагревают 82 при необходимости до оптимальной температуры закрепления. Перемещают поезд (см. фиг. 3, 4), укладывают плети 9 на рельсовое скрепление 24, соединяют с рельсами пути рельсовыми накладками и закрепляют уложенные плети на анкерном участке. Далее процесс выполняют при постоянном движении основной части поезда (см. фиг. 3, 4) с остановками для закрепления рельсов на анкерных участках с подвижной единицы 100. При использовании рельсового скрепления 24, обеспечивающего закрепление рельсов 92 в движении, поезд (см. фиг. 3, 4) останавливают только по окончанию рельсовой плети 9. После прохождения поезда рельсы закрепляют окончательно и начинают выполнять рихтовку и выправку пути до эксплуатационных показателей.

[73]

Для замены только рельсовых плетей процесс выполняют аналогично, только вместо уборки инвентарных рельсов 12, 13 убирают старые рельсовые плети. Из состава поезда исключают укладочный кран 30, платформы прикрытия 40 и специализированные подвижные единицы для перевозки рельсошпальной решетки 50, 60.

[74]

Для реализации способа в короткие «окна» допускается укладывать снятые рельсовые плети или инвентарные рельсы плетьми в середину пути. Из поезда исключают специализированные подвижные единицы для перевозки рельсовых плетей 110. При движении поезда в противоположном направлении ранее снятые и уложенные в середину пути плети загружают в обратном порядке укладки 1. Либо плети убирают по направлению укладки 1 с середины пути на подвижные единицы для перевозки рельсовых плетей 110 при помощи прицепного устройства 112 и специализированной подвижной единицы 100 (последней, по направлению укладки, из системы специализированных подвижных единиц для укладки и уборки рельсовых плетей путеукладочного поезда). Последний способ уборки применим, когда необходимо в короткий промежуток времени закрепить рельсы 9 к шпалам 20.

[75]

Процесс демонтажа верхнего строения пути выполняют в обратном порядке при движении поезда в противоположном направлении. Предварительно поезд загружают плетьми из инвентарных рельсов и рельсами-полозьями, на которых нет приспособлений для ориентации шпал по эпюре укладки. При движении поезда отвалами 55 освобождают от балласта пространство под основанием шпал 20 возле торцов для возможности захвата их грузозахватным устройством крана 31.

[76]

При невозможности применения устройства для нагревания рельсов 82 используют типовую технологию с удлинением рельсовой плети 9. Для этого между плетьми во время укладки вставляют расчетный отрезок рельса, который после прохождения поезда удаляют, а плети стягивают и соединяют свариванием или стыковыми накладками.

[77]

Технический результат, заключающийся в значительном сокращение времени и стоимости строительства бесстыкового пути, достигается за счет последовательной укладки рельсошпальных решеток и далее бесстыковых плетей с одного путеукладочного поезда за один технологический проход, автоматизации процесса укладки рельсошпальной решетки, однократного закрепления рельсов к шпалам, использования инвентарных рельсов только для перемещения путеукладочного поезда, применения шпал, устойчивых к смещению поперек пути, применения оригинальной стыковой накладки для инвентарных рельсов, модернизации путеукладочного поезда для перевозки и укладки плетей. Небольшие затраты на модернизацию поезда значительно расширяют его применяемость.

[78]

Путеукладочный поезд можно задействовать для:

[79]

- укладки рельсошпальной решетки и бесстыковых плетей за один проход;

[80]

- смены старых плетей на новые бесстыковые плети (или одной плети);

[81]

- укладки звеньевого пути типовой рельсошпальной решеткой (25 метров);

[82]

- строительства пути с закрытием перегона;

[83]

- строительства пути небольшими «окнами» (выполнение отдельных операций строительства в одно «окно»);

[84]

- укладки бесстыковых плетей с нагревом до оптимальной температуры закрепления;

[85]

- укладки бесстыковых плетей с принудительным изменением их длины.

[86]

Список используемых источников:

[87]

RU 2207423Машина и способ для удаления старого и укладки нового рельсового пути.
RU 2207424Машина для разборки старого и укладки нового рельсового пути.
RU 2225472Машина для реконструкции рельсового пути.
ТУ-2012Инструкция по устройству, укладке, содержанию и ремонту бесстыкового пути. Утверждена распоряжением ОАО "РЖД" 29.12.2012. №2788р.
ГОСТ Ρ 54747-2011Шпалы железобетонные для железных дорог колеи 1520 мм. Общие технические условия.
ГОСТ Ρ 51685-2000Рельсы железнодорожные. Общие технические условия.

Как компенсировать расходы
на инновационную разработку
Похожие патенты